Наша группа Вконтакте vk.com/4ertimcom

ГОСТ 25001-30000

ГОСТ 25920-83

E-mail автора: 

Штампы для листовой штамповки. Плиты-заготовки промежуточные для штампов с четырьмя направляющими узлами скольжения. Конструкция и размеры

Обозначение: ГОСТ 25920-83
Статус: действующий
Название рус.: Штампы для листовой штамповки. Плиты-заготовки промежуточные для штампов с четырьмя направляющими узлами скольжения. Конструкция и размеры
Название англ.: Sheet stamping dies. Intermediate plates-blanks for dies with four guide sliding assemblies. Design and dimensions
Дата актуализации текста: 19.06.2012
Дата актуализации описания: 19.06.2012
Дата введения в действие: 01.07.1984
Область и условия применения: Настоящий стандарт распространяется на заготовки промежуточных плит из чугунного и стального литья для штампов с четырьмя направляющими узлами скольжения


ГОСТ 25920-83
ГОСТ 25920-83
ГОСТ 25920-83
Автор: 
Домашняя страница автора: 

ГОСТ 25617-83

E-mail автора: 

Ткани и изделия льняные, полульняные, хлопчатобумажные и смешанные. Методы химических испытаний

Обозначение: ГОСТ 25617-83
Статус: действующий
Название рус.: Ткани и изделия льняные, полульняные, хлопчатобумажные и смешанные. Методы химических испытаний
Название англ.: Linen, semilinen, cotton and mixed fabrics and pice-goods. Methods of chemical tests
Дата актуализации текста: 19.06.2012
Дата актуализации описания: 19.06.2012
Дата введения в действие: 01.01.1984
Область и условия применения: Настоящий стандарт распространяется на льняные, полульняные, хлопчатобумажные, смешанные ткани и изделия (штучные изделия, пряжа, нитки, шпагат, шнуры, веревочные и другие крученые изделия), а также на текстильно-галантерейные изделия тканые, плетеные, вязаные, гардинно-тюлевые, кружевные и др., и устанавливает методы химических испытаний
Взамен: ГОСТ 6303-72
Взамен в части: ГОСТ 15160-69 в части разд. 3
Список изменений: №1 от 01.01.1989 (рег. 17.08.1988) «Срок действия продлен»
№2 от 01.07.1990 (рег. 26.12.1989) «Срок действия продлен»
№3 от 01.12.1992 (рег. 25.06.1992) «Срок действия продлен»


ГОСТ 25617-83
ГОСТ 25617-83
ГОСТ 25617-83
ГОСТ 25617-83
ГОСТ 25617-83
ГОСТ 25617-83
ГОСТ 25617-83
ГОСТ 25617-83
ГОСТ 25617-83
ГОСТ 25617-83
ГОСТ 25617-83
ГОСТ 25617-83
ГОСТ 25617-83
ГОСТ 25617-83
ГОСТ 25617-83
ГОСТ 25617-83
ГОСТ 25617-83
ГОСТ 25617-83
ГОСТ 25617-83
ГОСТ 25617-83
ГОСТ 25617-83
ГОСТ 25617-83
ГОСТ 25617-83
ГОСТ 25617-83
ГОСТ 25617-83
ГОСТ 25617-83
ГОСТ 25617-83
ГОСТ 25617-83
ГОСТ 25617-83
ГОСТ 25617-83
ГОСТ 25617-83
ГОСТ 25617-83
ГОСТ 25617-83
Автор: 
Домашняя страница автора: 

ГОСТ 25599.3-83

E-mail автора: 

Сплавы твердые спеченные. Методы определения титана

Обозначение: ГОСТ 25599.3-83
Статус: действующий
Название рус.: Сплавы твердые спеченные. Методы определения титана
Название англ.: Sintered hardmetals. Methods for the determination of titanium
Дата актуализации текста: 19.06.2012
Дата актуализации описания: 19.06.2012
Дата введения в действие: 01.01.1984
Область и условия применения: Настоящий стандарт устанавливает методы определения титана: фотоколориметрический при массовой доле его от 1 до 20% и дифференциальный фотоколориметрический при массовой доле его от 10 до 40% в твердых спеченных сплавах, твердосплавных карбидных смесях и сложных карбидах
Список изменений: №1 от 01.01.1989 (рег. 27.04.1988) «Срок действия продлен»


ГОСТ 25599.3-83
ГОСТ 25599.3-83
ГОСТ 25599.3-83
ГОСТ 25599.3-83
ГОСТ 25599.3-83
ГОСТ 25599.3-83
Автор: 
Домашняя страница автора: 

ГОСТ 25635-83

E-mail автора: 

Материалы фотографические на прозрачной подложке. Метод определения температур деформации, отслаивания и плавления

Обозначение: ГОСТ 25635-83
Статус: действующий
Название рус.: Материалы фотографические на прозрачной подложке. Метод определения температур деформации, отслаивания и плавления
Название англ.: Photographic materials on transparent base. Method for determination of deformation and delamination temperature and melting point
Дата актуализации текста: 19.06.2012
Дата актуализации описания: 19.06.2012
Дата введения в действие: 01.01.1984
Область и условия применения: Настоящий стандарт устанавливает метод определения температур деформации, отслаивания и плавления эмульсионных и вспомогательных слоев фотографических материалов на прозрачной подложке


ГОСТ 25635-83
ГОСТ 25635-83
ГОСТ 25635-83
ГОСТ 25635-83
ГОСТ 25635-83
ГОСТ 25635-83
ГОСТ 25635-83
ГОСТ 25635-83
Автор: 
Домашняя страница автора: 

ГОСТ 25753-83

E-mail автора: 

Животные сельскохозяйственные. Методы лабораторной диагностики болезни Ауески

Обозначение: ГОСТ 25753-83
Статус: действующий
Название рус.: Животные сельскохозяйственные. Методы лабораторной диагностики болезни Ауески
Название англ.: Agricultural animals. Methods of laboratory diagnostics for morbus Aujeski
Дата актуализации текста: 19.06.2012
Дата актуализации описания: 19.06.2012
Дата введения в действие: 01.07.1984
Область и условия применения: Настоящий стандарт распространяется на крупный рогатый скот, овец, свиней и других животных (пушных зверей, собак и кошек), неакцинированных живыми вакцинами, и устанавливает методы лабораторной диагностики болезни Ауески


ГОСТ 25753-83
ГОСТ 25753-83
ГОСТ 25753-83
ГОСТ 25753-83
ГОСТ 25753-83
ГОСТ 25753-83
ГОСТ 25753-83
ГОСТ 25753-83
ГОСТ 25753-83
ГОСТ 25753-83
Автор: 
Домашняя страница автора: 

ГОСТ 25826-83

E-mail автора: 

Тракторы промышленные. Техническое обслуживание

Обозначение: ГОСТ 25826-83
Статус: действующий
Название рус.: Тракторы промышленные. Техническое обслуживание
Название англ.: Industrial tractors. Technical service
Дата актуализации текста: 19.06.2012
Дата актуализации описания: 19.06.2012
Дата введения в действие: 01.01.1985
Область и условия применения: Настоящий стандарт распространяется на промышленные, лесопромышленные, в том числе лесохозяйственные тракторы, а также промышленные модификации сельскохозяйственных тракторов и устанавливает виды, периодичность технического обслуживания и основные требования к его проведению


ГОСТ 25826-83
ГОСТ 25826-83
ГОСТ 25826-83
ГОСТ 25826-83
Автор: 
Домашняя страница автора: 

ГОСТ 25640-83

E-mail автора: 

Изделия из пенорезины для промышленного, сельскохозяйственного и транспортного машиностроения. Технические условия

Обозначение: ГОСТ 25640-83
Статус: действующий
Название рус.: Изделия из пенорезины для промышленного, сельскохозяйственного и транспортного машиностроения. Технические условия
Название англ.: Foam rubber products for industrial, agricultural and transport engineering. Specifications
Дата актуализации текста: 19.06.2012
Дата актуализации описания: 19.06.2012
Дата введения в действие: 01.01.1985
Область и условия применения: Настоящий стандарт распространяется на формовые изделия из пенорезины, предназначенные для комплектации машин и оборудования промышленного, сельскохозяйственного и транспортного назначения, эксплуатируемых при температурах от минус 45 до плюс 70 град. С
Список изменений: №0 от 16.03.1984 (рег. 16.03.1984) «Утратил силу в РФ»
№1 от 01.08.1985 (рег. 13.03.1985) «Срок действия продлен»
№2 от 01.11.1986 (рег. 22.05.1986) «Срок действия продлен»
№3 от 01.01.1990 (рег. 27.06.1989) «Срок действия продлен»


ГОСТ 25640-83
ГОСТ 25640-83
ГОСТ 25640-83
ГОСТ 25640-83
ГОСТ 25640-83
ГОСТ 25640-83
ГОСТ 25640-83
ГОСТ 25640-83
ГОСТ 25640-83
ГОСТ 25640-83
ГОСТ 25640-83
ГОСТ 25640-83
ГОСТ 25640-83
ГОСТ 25640-83
ГОСТ 25640-83
ГОСТ 25640-83
ГОСТ 25640-83
ГОСТ 25640-83
ГОСТ 25640-83
ГОСТ 25640-83
Автор: 
Домашняя страница автора: 

ГОСТ 25683-83

E-mail автора: 

Соединения трубопроводов резьбовые поворотные с полым болтом. Конструкция

Обозначение: ГОСТ 25683-83
Статус: действующий
Название рус.: Соединения трубопроводов резьбовые поворотные с полым болтом. Конструкция
Название англ.: Rotary threaded pipeline connections with a hollow bolt. Construction
Дата актуализации текста: 19.06.2012
Дата актуализации описания: 19.06.2012
Дата введения в действие: 01.01.1984
Область и условия применения: Настоящий стандарт распространяется на резьбовые поворотные соединения трубопроводов с полым болтом
Список изменений: №1 от 01.01.1989 (рег. 31.05.1988) «Поправка»


ГОСТ 25683-83
ГОСТ 25683-83
ГОСТ 25683-83
ГОСТ 25683-83
Автор: 
Домашняя страница автора: 

ГОСТ 25600-83

E-mail автора: 

Удлинители. Основные размеры

Обозначение: ГОСТ 25600-83
Статус: действующий
Название рус.: Удлинители. Основные размеры
Название англ.: Extensions. Basic dimensions
Дата актуализации текста: 19.06.2012
Дата актуализации описания: 19.06.2012
Дата введения в действие: 01.01.1984
Область и условия применения: Настоящий стандарт распространяется на удлинители к торцовым ключам с наружными и внутренними присоединительными квадратами и внутренними шестигранниками, изготовляемые для нужд народного хозяйства и для экспорта
Взамен: ГОСТ 22403-77


ГОСТ 25600-83
ГОСТ 25600-83
ГОСТ 25600-83
ГОСТ 25600-83
ГОСТ 25600-83
Автор: 
Домашняя страница автора: 

ГОСТ 25671-83

E-mail автора: 

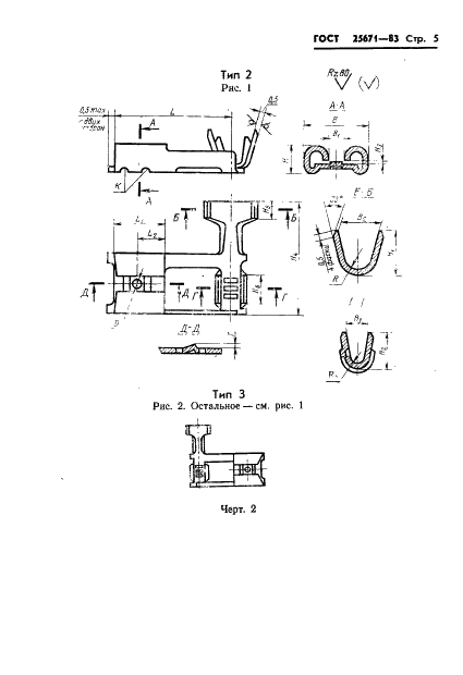
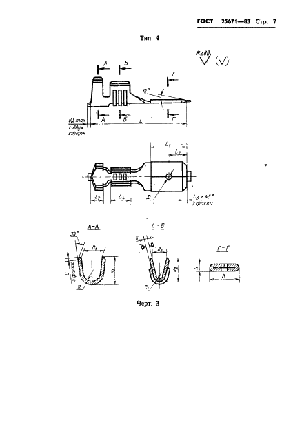
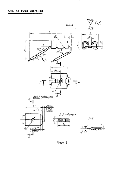
Соединители плоские втычные. Типы, конструкция и размеры

Обозначение: ГОСТ 25671-83
Статус: действующий
Название рус.: Соединители плоские втычные. Типы, конструкция и размеры
Название англ.: Flat pluq-in connectors. Types, construction and sizes
Дата актуализации текста: 19.06.2012
Дата актуализации описания: 19.06.2012
Дата введения в действие: 01.01.1985
Область и условия применения: Настоящий стандарт распространяется на плоские втычные соединители, предназначенные для разъемного контакта соединения проводов, шнуров и кабелей с медными многопроволочными жилами сечением от 0,35 до 10 мм кв. между собой и присоединеиия указанных проводов к электрическим устройствам
Список изменений: №1 от 01.03.1989 (рег. 04.11.1988) «Поправка»


ГОСТ 25671-83
ГОСТ 25671-83
ГОСТ 25671-83
ГОСТ 25671-83
ГОСТ 25671-83
ГОСТ 25671-83
ГОСТ 25671-83
ГОСТ 25671-83
ГОСТ 25671-83
ГОСТ 25671-83
ГОСТ 25671-83
ГОСТ 25671-83
ГОСТ 25671-83
ГОСТ 25671-83
ГОСТ 25671-83
ГОСТ 25671-83
ГОСТ 25671-83
ГОСТ 25671-83
ГОСТ 25671-83
ГОСТ 25671-83
ГОСТ 25671-83
Автор: 
Домашняя страница автора: 

Страницы