Наша группа Вконтакте vk.com/4ertimcom

ГОСТ 25001-30000

ГОСТ 25179-90

E-mail автора: 

Молоко. Методы определения белка

Обозначение: ГОСТ 25179-90
Статус: действующий
Название рус.: Молоко. Методы определения белка
Название англ.: Milk. Methods for determination of protein
Дата актуализации текста: 19.06.2012
Дата актуализации описания: 19.06.2012
Дата введения в действие: 01.01.1991
Область и условия применения: Настоящий стандарт распространяется на непастеризованное молоко с кислотностью не выше 20 град. Т и устанавливает следующие методы измерения массовой доли белка: колориметрический, рефрактометрический и формольного титрования
Взамен: ГОСТ 25179-82


ГОСТ 25179-90
ГОСТ 25179-90
ГОСТ 25179-90
ГОСТ 25179-90
ГОСТ 25179-90
ГОСТ 25179-90
Автор: 
Домашняя страница автора: 

ГОСТ 28706-90

E-mail автора: 

Хвостовики цилиндрические с лыской для сверл. Размеры

Обозначение: ГОСТ 28706-90
Статус: действующий
Название рус.: Хвостовики цилиндрические с лыской для сверл. Размеры
Название англ.: Cylindrical shanks with flats for drills. Dimensions
Дата актуализации текста: 19.06.2012
Дата актуализации описания: 19.06.2012
Дата введения в действие: 01.07.1991
Область и условия применения: Настоящий стандарт распространяется на цилиндрические хвостовики с горизонтальной лыской для крепления сборных сверл


ГОСТ 28706-90
ГОСТ 28706-90
ГОСТ 28706-90
Автор: 
Домашняя страница автора: 

ГОСТ 28587-90

E-mail автора: 

Цветы срезанные. Фрезия. Технические условия

Обозначение: ГОСТ 28587-90
Статус: действующий
Название рус.: Цветы срезанные. Фрезия. Технические условия
Название англ.: Cut flowers freesia. Specifications
Дата актуализации текста: 19.06.2012
Дата актуализации описания: 19.06.2012
Дата введения в действие: 01.01.1991
Область и условия применения: Настоящий стандарт распространяется на срезанную фрезию гибридную, выращенную в защищенном грунте


ГОСТ 28587-90
ГОСТ 28587-90
ГОСТ 28587-90
ГОСТ 28587-90
Автор: 
Домашняя страница автора: 

ГОСТ 25699.6-90

E-mail автора: 

Углерод технический для производства резины. Методы определения рН водной суспензии

Обозначение: ГОСТ 25699.6-90
Статус: действующий
Название рус.: Углерод технический для производства резины. Методы определения рН водной суспензии
Название англ.: Carbon black for rubber industry. Methods for determination of pH value
Дата актуализации текста: 19.06.2012
Дата актуализации описания: 19.06.2012
Дата введения в действие: 01.07.1991
Область и условия применения: Настоящий стандарт устанавливает методы определения рН водной суспензии технического углерода для производства резины.
Экспресс-метод не распространяется на канальный технический углерод
Взамен: ГОСТ 25699.6-83


ГОСТ 25699.6-90
ГОСТ 25699.6-90
ГОСТ 25699.6-90
ГОСТ 25699.6-90
Автор: 
Домашняя страница автора: 

ГОСТ 28866-90

E-mail автора: 

Манекены для одежды мальчиков. Основные параметры и размеры

Обозначение: ГОСТ 28866-90
Статус: действующий
Название рус.: Манекены для одежды мальчиков. Основные параметры и размеры
Название англ.: Dummies for boys' clothes. Basic parameters and dimensions
Дата актуализации текста: 19.06.2012
Дата актуализации описания: 19.06.2012
Дата введения в действие: 01.01.1992
Область и условия применения: Настоящий стандарт распространяется на манекены типовых фигур мальчиков, предназначенные для изготовления одежды для мальчиков и для контроля ее качества


ГОСТ 28866-90
ГОСТ 28866-90
ГОСТ 28866-90
ГОСТ 28866-90
ГОСТ 28866-90
ГОСТ 28866-90
ГОСТ 28866-90
ГОСТ 28866-90
ГОСТ 28866-90
ГОСТ 28866-90
ГОСТ 28866-90
ГОСТ 28866-90
ГОСТ 28866-90
ГОСТ 28866-90
ГОСТ 28866-90
ГОСТ 28866-90
Автор: 
Домашняя страница автора: 

ГОСТ 28607-90

E-mail автора: 

Сырье эфиромасличное цветочно-травянистое. Методы определения примесей

Обозначение: ГОСТ 28607-90
Статус: утратил силу в РФ
Название рус.: Сырье эфиромасличное цветочно-травянистое. Методы определения примесей
Название англ.: Essential oil floral-herbal raw material. Methods of impurity determination
Дата актуализации текста: 19.06.2012
Дата актуализации описания: 19.06.2012
Дата введения в действие: 10.02.1991
Область и условия применения: Настоящий стандарт распространяется на эфиромасличное цветочное и травянистое сырье, предназначенное для промышленной переработки, и устанавливает методы определения примесей
Список изменений: №0 от 01.01.2012 (рег. 29.11.2010) «Поправка к изменению»


ГОСТ 28607-90
ГОСТ 28607-90
ГОСТ 28607-90
ГОСТ 28607-90
ГОСТ 28607-90
ГОСТ 28607-90
Автор: 
Домашняя страница автора: 

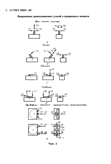
ГОСТ 28627-90

E-mail автора: 

Электромеханические переключатели, используемые в электронной аппаратуре. Общие технические условия

Обозначение: ГОСТ 28627-90
Статус: действующий
Название рус.: Электромеханические переключатели, используемые в электронной аппаратуре. Общие технические условия
Название англ.: Electromechanical components for electronic equipment. General specifications
Дата актуализации текста: 19.06.2012
Дата актуализации описания: 19.06.2012
Дата введения в действие: 01.07.1991
Область и условия применения: Настоящий стандарт распространяется на электромеханические переключатели, которые:
- представляют собой устройства размыкающие, замыкающие или переключающие электрическую цепь путем механического перемещения токопроводящих частей (контактов);
- рассчитаны на максимальное напряжение 500 В;
- рассчитаны на максимальный ток 63 А;
- предназначены для использования в электронной аппаратуре
Список изменений: №0 от 01.10.2006 (рег. 01.10.2006) «Дата введения перенесена»
Приложение №1: Поправка к ГОСТ 28627-90


ГОСТ 28627-90
ГОСТ 28627-90
ГОСТ 28627-90
ГОСТ 28627-90
ГОСТ 28627-90
ГОСТ 28627-90
ГОСТ 28627-90
ГОСТ 28627-90
ГОСТ 28627-90
ГОСТ 28627-90
ГОСТ 28627-90
ГОСТ 28627-90
ГОСТ 28627-90
ГОСТ 28627-90
ГОСТ 28627-90
ГОСТ 28627-90
ГОСТ 28627-90
ГОСТ 28627-90
ГОСТ 28627-90
ГОСТ 28627-90
ГОСТ 28627-90
ГОСТ 28627-90
ГОСТ 28627-90
ГОСТ 28627-90
ГОСТ 28627-90
ГОСТ 28627-90
ГОСТ 28627-90
ГОСТ 28627-90
ГОСТ 28627-90
ГОСТ 28627-90
ГОСТ 28627-90
ГОСТ 28627-90
ГОСТ 28627-90
ГОСТ 28627-90
ГОСТ 28627-90
ГОСТ 28627-90
ГОСТ 28627-90
ГОСТ 28627-90
ГОСТ 28627-90
ГОСТ 28627-90
ГОСТ 28627-90
ГОСТ 28627-90
ГОСТ 28627-90
ГОСТ 28627-90
ГОСТ 28627-90
ГОСТ 28627-90


Поправка к ГОСТ 28627-90

Обозначение: Поправка к ГОСТ 28627-90
Дата введения в действие: 01.10.2006
Дата актуализации: 15.01.2008


Поправка к ГОСТ 28627-90
Автор: 
Домашняя страница автора: 

ГОСТ 28645-90

E-mail автора: 

Резина. Определение содержания общей серы. Часть 3. Метод сжигания в печи

Обозначение: ГОСТ 28645-90
Статус: действующий
Название рус.: Резина. Определение содержания общей серы. Часть 3. Метод сжигания в печи
Название англ.: Rubber. Determination of total sulfur content. Part 3. Furnace combustion method
Дата актуализации текста: 19.06.2012
Дата актуализации описания: 19.06.2012
Дата введения в действие: 01.01.1992
Область и условия применения: Настоящий стандарт устанавливает метод определения содержания серы сжиганием в печи в каучуках, резиновых смесях и вулканизатах, включая серу, присутствующую в виде сульфата бария, сульфата кальция и литопона


ГОСТ 28645-90
ГОСТ 28645-90
ГОСТ 28645-90
ГОСТ 28645-90
ГОСТ 28645-90
ГОСТ 28645-90
ГОСТ 28645-90
ГОСТ 28645-90
ГОСТ 28645-90
ГОСТ 28645-90
Автор: 
Домашняя страница автора: 

ГОСТ 28826-90

E-mail автора: 

Ленты конвейерные. Список эквивалентных терминов

Обозначение: ГОСТ 28826-90
Статус: действующий
Название рус.: Ленты конвейерные. Список эквивалентных терминов
Название англ.: Conveyor belts. List of equivalent terms
Дата актуализации текста: 19.06.2012
Дата актуализации описания: 19.06.2012
Дата введения в действие: 01.01.1992
Область и условия применения: Настоящий стандарт устанавливает эквивалентные термины понятий в области конвейерных лент


ГОСТ 28826-90
ГОСТ 28826-90
ГОСТ 28826-90
ГОСТ 28826-90
ГОСТ 28826-90
ГОСТ 28826-90
ГОСТ 28826-90
ГОСТ 28826-90
ГОСТ 28826-90
ГОСТ 28826-90
ГОСТ 28826-90
ГОСТ 28826-90
ГОСТ 28826-90
ГОСТ 28826-90
ГОСТ 28826-90
ГОСТ 28826-90
ГОСТ 28826-90
ГОСТ 28826-90
ГОСТ 28826-90
ГОСТ 28826-90
ГОСТ 28826-90
ГОСТ 28826-90
ГОСТ 28826-90
ГОСТ 28826-90
ГОСТ 28826-90
ГОСТ 28826-90
ГОСТ 28826-90
ГОСТ 28826-90
ГОСТ 28826-90
ГОСТ 28826-90
ГОСТ 28826-90
ГОСТ 28826-90
ГОСТ 28826-90
ГОСТ 28826-90
ГОСТ 28826-90
ГОСТ 28826-90
ГОСТ 28826-90
ГОСТ 28826-90
ГОСТ 28826-90
ГОСТ 28826-90
ГОСТ 28826-90
ГОСТ 28826-90
ГОСТ 28826-90
ГОСТ 28826-90
ГОСТ 28826-90
ГОСТ 28826-90
ГОСТ 28826-90
ГОСТ 28826-90
ГОСТ 28826-90
ГОСТ 28826-90
ГОСТ 28826-90
ГОСТ 28826-90
ГОСТ 28826-90
ГОСТ 28826-90
ГОСТ 28826-90
ГОСТ 28826-90
ГОСТ 28826-90
ГОСТ 28826-90
ГОСТ 28826-90
ГОСТ 28826-90
ГОСТ 28826-90
ГОСТ 28826-90
Автор: 
Домашняя страница автора: 

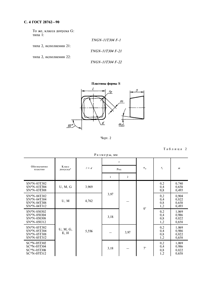
ГОСТ 28762-90

E-mail автора: 

Пластины режущие сменные из сверхтвердых материалов. Технические условия

Обозначение: ГОСТ 28762-90
Статус: действующий
Название рус.: Пластины режущие сменные из сверхтвердых материалов. Технические условия
Название англ.: Throw away (indexable) cutting superhard inserts. Specifications
Дата актуализации текста: 19.06.2012
Дата актуализации описания: 19.06.2012
Дата введения в действие: 01.07.1991
Область и условия применения: Настоящий стандарт распространяется на режущие сменные пластины из поликристаллических сверхтвердых материалов на основе нитрида бора, предназначенные для механического закрепления в корпусе инструмента


ГОСТ 28762-90
ГОСТ 28762-90
ГОСТ 28762-90
ГОСТ 28762-90
ГОСТ 28762-90
ГОСТ 28762-90
ГОСТ 28762-90
ГОСТ 28762-90
ГОСТ 28762-90
ГОСТ 28762-90
ГОСТ 28762-90
ГОСТ 28762-90
ГОСТ 28762-90
ГОСТ 28762-90
ГОСТ 28762-90
ГОСТ 28762-90
ГОСТ 28762-90
ГОСТ 28762-90
ГОСТ 28762-90
ГОСТ 28762-90
ГОСТ 28762-90
ГОСТ 28762-90
ГОСТ 28762-90
ГОСТ 28762-90
ГОСТ 28762-90
ГОСТ 28762-90
ГОСТ 28762-90
Автор: 
Домашняя страница автора: 

Страницы