Наша группа Вконтакте vk.com/4ertimcom

ГОСТ 2001-3000

ГОСТ 2013-75

E-mail автора: 

Угли каменные. Ускоренный метод определения спекаемости

Обозначение: ГОСТ 2013-75
Статус: действующий
Название рус.: Угли каменные. Ускоренный метод определения спекаемости
Название англ.: Hard coals. Accelerated method for the determination of clinkering
Дата актуализации текста: 19.06.2012
Дата актуализации описания: 19.06.2012
Дата введения в действие: 01.01.1976
Область и условия применения: Настоящий стандарт распространяется на каменные угли и устанавливает ускоренный метод определения спекаемости. Сущность метода заключается в нагревании смеси угля с песком при температуре 500-500 град.С и определении спекающей способности угля по степени его размягчения
Взамен: ГОСТ 2013-49


ГОСТ 2013-75
ГОСТ 2013-75
ГОСТ 2013-75
ГОСТ 2013-75
ГОСТ 2013-75
ГОСТ 2013-75
ГОСТ 2013-75
ГОСТ 2013-75
ГОСТ 2013-75
ГОСТ 2013-75
Автор: 
Домашняя страница автора: 

ГОСТ 2156-76

E-mail автора: 

Натрий двууглекислый. Технические условия

Обозначение: ГОСТ 2156-76
Статус: действующий
Название рус.: Натрий двууглекислый. Технические условия
Название англ.: Sodium bicarbonate. Specifications
Дата актуализации текста: 19.06.2012
Дата актуализации описания: 19.06.2012
Дата введения в действие: 01.01.1977
Область и условия применения: Настоящий стандарт распространяется на двууглекислый натрий (бикарбонат), предназначенный для химической, пищевой, легкой, медицинской, фармацевтической промышленности, цветной металлургии и розничной торговли. Настоящий стандарт устанавливает требования к двууглекислому натрию, изготовляемому для нужд народного хозяйства и для экспорта
Взамен: ГОСТ 2156-68
Список изменений: №1 от 01.04.1979 (рег. 24.11.1978) «Срок действия продлен»
№2 от 01.09.1986 (рег. 28.03.1986) «Срок действия продлен»
№3 от 01.12.1989 (рег. 27.06.1989) «Срок действия продлен»
№4 от 01.11.1992 (рег. 19.05.1992) «Срок действия продлен»


ГОСТ 2156-76
ГОСТ 2156-76
ГОСТ 2156-76
ГОСТ 2156-76
ГОСТ 2156-76
ГОСТ 2156-76
ГОСТ 2156-76
ГОСТ 2156-76
ГОСТ 2156-76
ГОСТ 2156-76
ГОСТ 2156-76
ГОСТ 2156-76
ГОСТ 2156-76
ГОСТ 2156-76
ГОСТ 2156-76
ГОСТ 2156-76
ГОСТ 2156-76
ГОСТ 2156-76
Автор: 
Домашняя страница автора: 

ГОСТ 2829-76

E-mail автора: 

Магнето автотракторные с фланцевым креплением. Присоединительные размеры

Обозначение: ГОСТ 2829-76
Статус: действующий
Название рус.: Магнето автотракторные с фланцевым креплением. Присоединительные размеры
Название англ.: Spigot-mounted magnetos for automobiles and tractors. Fixing dimensions
Дата актуализации текста: 19.06.2012
Дата актуализации описания: 19.06.2012
Дата введения в действие: 01.07.1977
Область и условия применения: Настоящий стандарт распространяется на автотракторные магнето с фланцевым креплением для двигателей внутреннего сгорания
Взамен: ГОСТ 2829-60


ГОСТ 2829-76
ГОСТ 2829-76
ГОСТ 2829-76
ГОСТ 2829-76
Автор: 
Домашняя страница автора: 

ГОСТ 2144-76

E-mail автора: 

Передачи червячные цилиндрические. Основные параметры

Обозначение: ГОСТ 2144-76
Статус: действует только в РФ
Название рус.: Передачи червячные цилиндрические. Основные параметры
Название англ.: Cylindrical worm gear pairs. Basic parameters
Дата актуализации текста: 19.06.2012
Дата актуализации описания: 19.06.2012
Дата введения в действие: 01.07.1977
Область и условия применения: Настоящий стандарт распространяется на ортогональные цилиндрические червячные передачи для редукторов, в том числе и комбинированных (червячно-цилиндрических и др.), выполняемых в виде самостоятельных агрегатов, и устанавливает: межосевые расстояния Аw; номинальные значения передаточных чисел Unom.
Стандарт не распространяется на червячные цилиндрические передачи для редукторов специального назначения и специальной конструкции (изменяющийся шаг червяка, гарантированное обеспечение сомоторможения и др.)
Взамен: ГОСТ 2144-66
Список изменений: №1 от 01.04.1978 (рег. 21.04.1978) «Срок действия продлен»
№2 от 01.07.1982 (рег. 15.12.1981) «Срок действия продлен»
№3 от 01.01.1991 (рег. 15.05.1990) «Срок действия продлен»


ГОСТ 2144-76
ГОСТ 2144-76
ГОСТ 2144-76
ГОСТ 2144-76
Автор: 
Домашняя страница автора: 

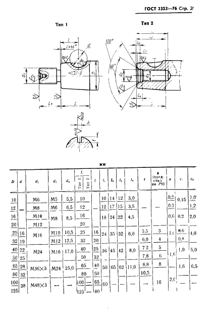
ГОСТ 2323-76

E-mail автора: 

Концы шлифовальных шпинделей с наружным базирующим конусом. Присоединительные размеры

Обозначение: ГОСТ 2323-76
Статус: действующий
Название рус.: Концы шлифовальных шпинделей с наружным базирующим конусом. Присоединительные размеры
Название англ.: Noses of grinding spindles with outside taper. Coupling dimensions
Дата актуализации текста: 19.06.2012
Дата актуализации описания: 19.06.2012
Дата введения в действие: 01.01.1978
Область и условия применения: Настоящий стандарт распространяется на концы шлифовальных шпинделей с наружным базирующим конусом для посадки фланцев шлифовального инструмента
Взамен: ГОСТ 2323-67
Список изменений: №1 от 01.03.1983 (рег. 11.10.1982) «Срок действия продлен»
№2 от 01.03.1986 (рег. 06.01.1986) «Срок действия продлен»


ГОСТ 2323-76
ГОСТ 2323-76
ГОСТ 2323-76
ГОСТ 2323-76
Автор: 
Домашняя страница автора: 

ГОСТ 2198-76

E-mail автора: 

Полотно асбестовое армированное и прокладки из него. Технические условия

Обозначение: ГОСТ 2198-76
Статус: действующий
Название рус.: Полотно асбестовое армированное и прокладки из него. Технические условия
Название англ.: Reinforced asbestos cloth and gaskets of it. Specifications
Дата актуализации текста: 19.06.2012
Дата актуализации описания: 19.06.2012
Дата введения в действие: 01.01.1979
Область и условия применения: Настоящий стандарт распространяется на армированное асбестовое полотно и прокладки из него, применяемые для уплотнения соединений деталей, работающих в воде, нефрасе, керосине, масле и других нефтепродуктах, а также в продуктах их сгорания при температуре до 250 град.С
Взамен: ГОСТ 2198-66
Список изменений: №1 от 01.04.1984 (рег. 18.10.1983) «Срок действия продлен»
№2 от 01.09.1988 (рег. 28.03.1988) «Срок действия продлен»
№3 от 01.01.1991 (рег. 04.07.1990) «Срок действия продлен»


ГОСТ 2198-76
ГОСТ 2198-76
ГОСТ 2198-76
ГОСТ 2198-76
ГОСТ 2198-76
ГОСТ 2198-76
ГОСТ 2198-76
ГОСТ 2198-76
Автор: 
Домашняя страница автора: 

ГОСТ 2917-76

E-mail автора: 

Масла и присадки. Метод определения коррозионного воздействия на металлы

Обозначение: ГОСТ 2917-76
Статус: действующий
Название рус.: Масла и присадки. Метод определения коррозионного воздействия на металлы
Название англ.: Oils and additives. Method of test for corrosion influence on metals
Дата актуализации текста: 19.06.2012
Дата актуализации описания: 19.06.2012
Дата введения в действие: 01.01.1979
Область и условия применения: Настоящий стандарт распространяется на смазочные масла, в том числе на гидравлические масла, масла с присадками и присадки и устанавливает метод определения коррозионного воздействия их на металлы.
Сущность метода заключается в выдерживании металлической пластинки в испытуемом продукте при повышенной температуре и фиксировании изменения внешнего вида пластинки, характеризующего коррозионное воздействие продукта на металл
Взамен: ГОСТ 2917-45
Список изменений: №1 от 01.07.1983 (рег. 19.01.1983) «Срок действия продлен»
№2 от 01.01.1989 (рег. 28.06.1988) «Срок действия продлен»


ГОСТ 2917-76
ГОСТ 2917-76
ГОСТ 2917-76
ГОСТ 2917-76
ГОСТ 2917-76
Автор: 
Домашняя страница автора: 

ГОСТ 2092-77

E-mail автора: 

Сверла спиральные удлиненные с коническим хвостовиком. Основные размеры

Обозначение: ГОСТ 2092-77
Статус: действующий
Название рус.: Сверла спиральные удлиненные с коническим хвостовиком. Основные размеры
Название англ.: Lengthened twist drills with taper shanks. Basic dimensions
Дата актуализации текста: 19.06.2012
Дата актуализации описания: 19.06.2012
Дата введения в действие: 01.01.1979
Область и условия применения: Настоящий стандарт распространяется на спиральные удлиненные сверла с коническим хвостовиком диаметром от 6 до 30 мм
Взамен: ГОСТ 2092-64 МН 558-65
Список изменений: №1 от 01.01.1983 (рег. 22.07.1982) «Срок действия продлен»


ГОСТ 2092-77
ГОСТ 2092-77
ГОСТ 2092-77
ГОСТ 2092-77
ГОСТ 2092-77
Автор: 
Домашняя страница автора: 

ГОСТ 2062-77

E-mail автора: 

Реактивы. Кислота бромистоводородная. Технические условия

Обозначение: ГОСТ 2062-77
Статус: действующий
Название рус.: Реактивы. Кислота бромистоводородная. Технические условия
Название англ.: Reagents. Hydrobromic acid. Specifications
Дата актуализации текста: 19.06.2012
Дата актуализации описания: 19.06.2012
Дата введения в действие: 01.01.1979
Область и условия применения: Настоящий стандарт распространяется на реактив - бромистоводородную кислоту, которая представляет собой бесцветную или слегка желтоватую жидкость плотностью 1,38 г/см.куб. (40%-ный раствор) и 1,46 г/см.куб. (46%-ный раствор)
Взамен: ГОСТ 2062-67
Список изменений: №0 от 28.07.2010 (рег. 28.07.2010) «Дата введения перенесена»
№1 от 01.11.1983 (рег. 13.07.1983) «Срок действия продлен»
№2 от 01.05.1988 (рег. 16.11.1987) «Срок действия продлен»
№3 от 01.01.1994 (рег. 18.05.1993) «Срок действия продлен»
Приложение №1: Поправка к ГОСТ 2062-77


ГОСТ 2062-77
ГОСТ 2062-77
ГОСТ 2062-77
ГОСТ 2062-77
ГОСТ 2062-77
ГОСТ 2062-77
ГОСТ 2062-77
ГОСТ 2062-77
ГОСТ 2062-77
ГОСТ 2062-77
ГОСТ 2062-77
ГОСТ 2062-77
ГОСТ 2062-77
ГОСТ 2062-77
ГОСТ 2062-77
ГОСТ 2062-77
ГОСТ 2062-77
ГОСТ 2062-77
ГОСТ 2062-77


Поправка к ГОСТ 2062-77

Обозначение: Поправка к ГОСТ 2062-77
Дата введения в действие: 28.07.2010
Дата актуализации: 15.02.2011


Поправка к ГОСТ 2062-77
Автор: 
Домашняя страница автора: 

ГОСТ 2833-77

E-mail автора: 

Кольца пружинные для стопорения винтов и канавки для них. Конструкция и размеры

Обозначение: ГОСТ 2833-77
Статус: действующий
Название рус.: Кольца пружинные для стопорения винтов и канавки для них. Конструкция и размеры
Название англ.: Spring rings for screw stoppering and grooves for them. Construction and dimensions
Дата актуализации текста: 19.06.2012
Дата актуализации описания: 19.06.2012
Дата введения в действие: 01.07.1978
Область и условия применения: Настоящий стандарт распространяется на пружинные кольца, применяемые для стопорения винтов, расположенных радиально на деталях с наружным диаметров D от 20 до 170 мм и канавки для них
Взамен: ГОСТ 2833-65
Список изменений: №1 от 01.01.1984 (рег. 22.06.1983) «Срок действия продлен»
№2 от 01.01.1989 (рег. 20.06.1988) «Срок действия продлен»


ГОСТ 2833-77
ГОСТ 2833-77
ГОСТ 2833-77
ГОСТ 2833-77
Автор: 
Домашняя страница автора: 

Страницы