Наша группа Вконтакте vk.com/4ertimcom

ГОСТ 1000-1999

ГОСТ 1062-80

E-mail автора: 

Размерения надводных кораблей и судов главные. Термины, определения и буквенные обозначения

Обозначение: ГОСТ 1062-80
Статус: действующий
Название рус.: Размерения надводных кораблей и судов главные. Термины, определения и буквенные обозначения
Название англ.: Principal ship dimensions. Terms, definitions and symbols
Дата актуализации текста: 19.06.2012
Дата актуализации описания: 19.06.2012
Дата введения в действие: 01.07.1981
Область и условия применения: Настоящий стандарт устанавливает применяемые в науке, технике и производстве термины, определения и буквенные обозначения главных размерений надводных кораблей и судов
Взамен: ГОСТ 1062-68


ГОСТ 1062-80
ГОСТ 1062-80
ГОСТ 1062-80
ГОСТ 1062-80
ГОСТ 1062-80
ГОСТ 1062-80
ГОСТ 1062-80
ГОСТ 1062-80
ГОСТ 1062-80
ГОСТ 1062-80
ГОСТ 1062-80
Автор: 
Домашняя страница автора: 

ГОСТ 1758-81

E-mail автора: 

Основные нормы взаимозаменяемости. Передачи зубчатые конические и гипоидные. Допуски

Обозначение: ГОСТ 1758-81
Статус: действующий
Название рус.: Основные нормы взаимозаменяемости. Передачи зубчатые конические и гипоидные. Допуски
Название англ.: Basic norms of interchangeability. Bevel and hyppoid gears. Tolerances
Дата актуализации текста: 19.06.2012
Дата актуализации описания: 19.06.2012
Дата введения в действие: 01.01.1982
Область и условия применения: Настоящий стандарт распространяется на конические и гипоидные зубчатые передачи и пары внешнего зацепления с прямыми, тангенциальными и криволинейными зубьями со средним делительным диаметром зубчатых колес от 4000 мм, средним нормальным модулем от 1 до 55 мм с прямолинейным профилем исходного контура и номинальным углом его профиля 20 град.
Взамен: ГОСТ 1758-56


ГОСТ 1758-81
ГОСТ 1758-81
ГОСТ 1758-81
ГОСТ 1758-81
ГОСТ 1758-81
ГОСТ 1758-81
ГОСТ 1758-81
ГОСТ 1758-81
ГОСТ 1758-81
ГОСТ 1758-81
ГОСТ 1758-81
ГОСТ 1758-81
ГОСТ 1758-81
ГОСТ 1758-81
ГОСТ 1758-81
ГОСТ 1758-81
ГОСТ 1758-81
ГОСТ 1758-81
ГОСТ 1758-81
ГОСТ 1758-81
ГОСТ 1758-81
ГОСТ 1758-81
ГОСТ 1758-81
ГОСТ 1758-81
ГОСТ 1758-81
ГОСТ 1758-81
ГОСТ 1758-81
ГОСТ 1758-81
ГОСТ 1758-81
ГОСТ 1758-81
ГОСТ 1758-81
ГОСТ 1758-81
ГОСТ 1758-81
ГОСТ 1758-81
ГОСТ 1758-81
ГОСТ 1758-81
ГОСТ 1758-81
ГОСТ 1758-81
ГОСТ 1758-81
ГОСТ 1758-81
ГОСТ 1758-81
ГОСТ 1758-81
ГОСТ 1758-81
Автор: 
Домашняя страница автора: 

ГОСТ 1663-81

E-mail автора: 

Стекла для указателей уровня жидкости. Технические условия

Обозначение: ГОСТ 1663-81
Статус: действующий
Название рус.: Стекла для указателей уровня жидкости. Технические условия
Название англ.: Glasses for liquid level indicators. Specifications
Дата актуализации текста: 19.06.2012
Дата актуализации описания: 19.06.2012
Дата введения в действие: 01.01.1982
Область и условия применения: Настоящий стандарт распространяется на плоские термически закаленные стекла, изготовляемые из термостойкого стекла и применяемые в указателях уровня жидкости в паровых котлах и в сосудах, содержащих нефтехимические продукты
Взамен: ГОСТ 1663-57
Список изменений: №1 от 01.10.1985 (рег. 15.04.1985) «Срок действия продлен»
№2 от 01.04.1988 (рег. 28.10.1987) «Срок действия продлен»
№3 от 01.09.1990 (рег. 12.03.1990) «Срок действия продлен»


ГОСТ 1663-81
ГОСТ 1663-81
ГОСТ 1663-81
ГОСТ 1663-81
ГОСТ 1663-81
ГОСТ 1663-81
ГОСТ 1663-81
Автор: 
Домашняя страница автора: 

ГОСТ 1904-81

E-mail автора: 

Кожа шорно-седельная. Технические условия

Обозначение: ГОСТ 1904-81
Статус: действующий
Название рус.: Кожа шорно-седельная. Технические условия
Название англ.: Leather for saddlery. Specifications
Дата актуализации текста: 19.06.2012
Дата актуализации описания: 19.06.2012
Дата введения в действие: 01.01.1983
Область и условия применения: Настоящий стандарт распространяется на кожу для изготовления шорно-седельных изделий, людского и конского снаряжения, ремешков и других мелких изделий
Взамен: ГОСТ 1904-70
Список изменений: №1 от 01.07.1987 (рег. 13.02.1987) «Срок действия продлен»


ГОСТ 1904-81
ГОСТ 1904-81
ГОСТ 1904-81
ГОСТ 1904-81
ГОСТ 1904-81
ГОСТ 1904-81
ГОСТ 1904-81
ГОСТ 1904-81
ГОСТ 1904-81
ГОСТ 1904-81
ГОСТ 1904-81
ГОСТ 1904-81
ГОСТ 1904-81
Автор: 
Домашняя страница автора: 

ГОСТ 1523-81

E-mail автора: 

Развертки цилиндрические. Технические условия

Обозначение: ГОСТ 1523-81
Статус: действующий
Название рус.: Развертки цилиндрические. Технические условия
Название англ.: Cylindrical reamers. Technical requirements
Дата актуализации текста: 19.06.2012
Дата актуализации описания: 19.06.2012
Дата введения в действие: 01.01.1982
Область и условия применения: Настоящий стандарт распространяется на цилиндрические развертки машинные и ручные, цельные и сборные из быстрорежущей и легированной стали, чистовые и с припуском под доводку, предназначенные для обработки отверстий с допусками по 6...11 квалитетам в деталях из углеродистой, конструкционной и легированной стали твердостью 163...229 НВ, серых и ковких чугунов твердостью 120...229 НВ, а также для обработки отверстий с допусками по 7...11 квалитетам в деталях из легких сплавов на сверлильных, токарных, универсально-расточных станках, в том числе с числовым программным управлением
Взамен: ГОСТ 1523-65
Список изменений: №1 от 01.09.1987 (рег. 10.04.1987) «Срок действия продлен»
№2 от 01.01.1992 (рег. 06.08.1991) «Срок действия продлен»


ГОСТ 1523-81
ГОСТ 1523-81
ГОСТ 1523-81
ГОСТ 1523-81
ГОСТ 1523-81
ГОСТ 1523-81
ГОСТ 1523-81
ГОСТ 1523-81
ГОСТ 1523-81
ГОСТ 1523-81
ГОСТ 1523-81
ГОСТ 1523-81
ГОСТ 1523-81
ГОСТ 1523-81
Автор: 
Домашняя страница автора: 

ГОСТ 1978-81

E-mail автора: 

Втулки подшипников скольжения металлические. Типы и основные размеры

Обозначение: ГОСТ 1978-81
Статус: заменён
Название рус.: Втулки подшипников скольжения металлические. Типы и основные размеры
Название англ.: Plain bearing metal bushes. Types and basic dimensions
Дата актуализации текста: 19.06.2012
Дата актуализации описания: 19.06.2012
Дата введения в действие: 01.01.1982
Область и условия применения: Настоящий стандарт распространяется на сплошные металлические втулки подшипников скольжения общего назначения.
Стандарт не распространяется на втулки, применяемые при высоких нагрузках и скоростях скольжения, втулки, к которым предъявляются особые требования (в двигателях внутреннего сгорания и т.п.) и не устанавливает конструктивные элементы втулок
Взамен: ГОСТ 1978-73
Заменяющий: ГОСТ ИСО 4379-2006


ГОСТ 1978-81
ГОСТ 1978-81
ГОСТ 1978-81
ГОСТ 1978-81
ГОСТ 1978-81
ГОСТ 1978-81
Автор: 
Домашняя страница автора: 

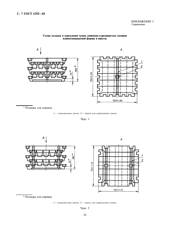
ГОСТ 1292-81

E-mail автора: 

Сплавы свинцово-сурьмянистые. Технические условия

Обозначение: ГОСТ 1292-81
Статус: действующий
Название рус.: Сплавы свинцово-сурьмянистые. Технические условия
Название англ.: Lead-antimony alloys. Specifications
Дата актуализации текста: 19.06.2012
Дата актуализации описания: 19.06.2012
Дата введения в действие: 01.01.1982
Область и условия применения: Настоящий стандарт распространяется на свинцово-сурьмянистые сплавы, изготовляемые в виде чушек и блоков, предназначенные для производства оболочек кабелей, аккумуляторов и изделий общего назначения, и устанавливает требования к свинцово-сурьмянистым сплавам, изготовляемым для нужд народного хозяйства СССР и для экспорта
Взамен: ГОСТ 1292-74
Список изменений: №1 от 01.01.1987 (рег. 30.04.1986) «Срок действия продлен»
№2 от 01.09.1989 (рег. 28.03.1989) «Срок действия продлен»
№3 от 01.01.1992 (рег. 26.12.1990) «Срок действия продлен»
№4 от 01.07.1999 (рег. 26.01.1999) «Срок действия продлен»


ГОСТ 1292-81
ГОСТ 1292-81
ГОСТ 1292-81
ГОСТ 1292-81
ГОСТ 1292-81
ГОСТ 1292-81
ГОСТ 1292-81
ГОСТ 1292-81
ГОСТ 1292-81
ГОСТ 1292-81
Автор: 
Домашняя страница автора: 

ГОСТ 1089-82

E-mail автора: 

Сурьма. Технические условия

Обозначение: ГОСТ 1089-82
Статус: действующий
Название рус.: Сурьма. Технические условия
Название англ.: Antimony. Specifications
Дата актуализации текста: 19.06.2012
Дата актуализации описания: 19.06.2012
Дата введения в действие: 01.01.1983
Область и условия применения: Настоящий стандарт распространяется на сурьму, применяемую в полупроводниковой и электронной технике, а также для изготовления сплавов, эмалей, керамических красителей и других целей, и устанавливает требования к сурьме, изготовляемой для нужд народного хозяйства и экспорта
Взамен: ГОСТ 1089-73
Список изменений: №1 от 01.05.1986 (рег. 25.10.1985) «Срок действия продлен»
№2 от 01.01.1988 (рег. 29.06.1987) «Срок действия продлен»
№3 от 01.01.1990 (рег. 26.06.1989) «Срок действия продлен»
№4 от 01.07.1991 (рег. 24.01.1991) «Срок действия продлен»


ГОСТ 1089-82
ГОСТ 1089-82
ГОСТ 1089-82
ГОСТ 1089-82
ГОСТ 1089-82
ГОСТ 1089-82
ГОСТ 1089-82
ГОСТ 1089-82
Автор: 
Домашняя страница автора: 

ГОСТ 1293.10-83

E-mail автора: 

Сплавы свинцово-сурьмянистые. Метод определения олова

Обозначение: ГОСТ 1293.10-83
Статус: действующий
Название рус.: Сплавы свинцово-сурьмянистые. Метод определения олова
Название англ.: Antimonous lead alloys. Method for the determination of tin
Дата актуализации текста: 19.06.2012
Дата актуализации описания: 19.06.2012
Дата введения в действие: 01.07.1983
Область и условия применения: Настоящий стандарт устанавливает фотометрический метод определения олова при массовой доле олова от 0,001 до 0,6% в свинцово-сурьмянистых сплавах
Взамен: ГОСТ 1293.10-74
Список изменений: №1 от 01.07.1988 (рег. 20.11.1987) «Срок действия продлен»
№2 от 01.01.2002 (рег. 11.04.2001) «Срок действия продлен»
Приложение №1: Изменение №2 к ГОСТ 1293.10-83


ГОСТ 1293.10-83
ГОСТ 1293.10-83
ГОСТ 1293.10-83
ГОСТ 1293.10-83
ГОСТ 1293.10-83
ГОСТ 1293.10-83
ГОСТ 1293.10-83
ГОСТ 1293.10-83
ГОСТ 1293.10-83
ГОСТ 1293.10-83
ГОСТ 1293.10-83


Изменение №2 к ГОСТ 1293.10-83

Обозначение: Изменение №2 к ГОСТ 1293.10-83
Дата введения в действие: 01.01.2002
Дата актуализации: 15.01.2008


Изменение №2 к ГОСТ 1293.10-83
Изменение №2 к ГОСТ 1293.10-83
Изменение №2 к ГОСТ 1293.10-83
Изменение №2 к ГОСТ 1293.10-83
Автор: 
Домашняя страница автора: 

ГОСТ 1367.11-83

E-mail автора: 

Сурьма. Химико-спектральный метод анализа

Обозначение: ГОСТ 1367.11-83
Статус: действующий
Название рус.: Сурьма. Химико-спектральный метод анализа
Название англ.: Antimony. Chemical-spectral method of analysis
Дата актуализации текста: 19.06.2012
Дата актуализации описания: 19.06.2012
Дата введения в действие: 01.01.1985
Область и условия применения: Настоящий стандарт устанавливает химико-спектральный метод определения свинца, железа, цинка, висмута, никеля, меди, кадмия, магния, марганца и серебра в сурьме
Список изменений: №1 от 01.01.1990 (рег. 24.03.1989) «Срок действия продлен»


ГОСТ 1367.11-83
ГОСТ 1367.11-83
ГОСТ 1367.11-83
ГОСТ 1367.11-83
ГОСТ 1367.11-83
ГОСТ 1367.11-83
ГОСТ 1367.11-83
Автор: 
Домашняя страница автора: 

Страницы