Наша группа Вконтакте vk.com/4ertimcom

ГОСТ 3001-4000

ГОСТ 3619-89

E-mail автора: 

Котлы паровые стационарные. Типы и основные параметры

Обозначение: ГОСТ 3619-89
Статус: действующий
Название рус.: Котлы паровые стационарные. Типы и основные параметры
Название англ.: Stationary steam boilers. Types and basic parameters
Дата актуализации текста: 19.06.2012
Дата актуализации описания: 19.06.2012
Дата введения в действие: 01.01.1990
Область и условия применения: Настоящий стандарт распространяется на стационарные паровые котлы паропроизводительностью от 0,16 до 3950 т/ч и с абсолютным давлением пара от 0,9 до 25,0 МПа, включая котлы для парогазовых и магнитогидродинамических (МГД) установок при работе в автономном режиме.
Настоящий стандарт не распространяется на котлы для пиковых, локомобильных установок, энерготехнологические, пароводогрейные котлы, котлы-утилизаторы тепла технологических и газотурбинных установок, высоконапроные парогенераторы парогазовых установок, котлы для интенсификации нефтедобычи, другие котлы специального назначения
Взамен: ГОСТ 3619-82


ГОСТ 3619-89
ГОСТ 3619-89
ГОСТ 3619-89
ГОСТ 3619-89
ГОСТ 3619-89
ГОСТ 3619-89
ГОСТ 3619-89
ГОСТ 3619-89
ГОСТ 3619-89
ГОСТ 3619-89
ГОСТ 3619-89
ГОСТ 3619-89
Автор: 
Домашняя страница автора: 

ГОСТ Р ИСО 3385-93

E-mail автора: 

Материалы полимерные эластичные ячеистые. Определение усталости при вдавливании индентора с постоянной нагрузкой

Обозначение: ГОСТ Р ИСО 3385-93
Статус: действующий
Название рус.: Материалы полимерные эластичные ячеистые. Определение усталости при вдавливании индентора с постоянной нагрузкой
Название англ.: Flexible cellular polymeric materials. Determination of fatigue by constant-load pounding
Дата актуализации текста: 19.06.2012
Дата актуализации описания: 19.06.2012
Дата введения в действие: 01.01.1994
Область и условия применения: Настоящий стандарт устанавливает метод определения изменения толщины и твердости полимерных эластичных ячеистых материалов, применяемых в качестве обивки.
Метод позволяет оценивать эксплуатационные качества эластичных ячеистых материалов на основе латекса и пенополиуретана, применяемых в качестве обивки для несущих нагрузку поверхностей.
Метод применяют для образцов стандартных размеров, вырезанных из материала и формовых деталей


ГОСТ Р ИСО 3385-93
ГОСТ Р ИСО 3385-93
ГОСТ Р ИСО 3385-93
ГОСТ Р ИСО 3385-93
ГОСТ Р ИСО 3385-93
ГОСТ Р ИСО 3385-93
ГОСТ Р ИСО 3385-93
ГОСТ Р ИСО 3385-93
Автор: 
Домашняя страница автора: 

ГОСТ 3594.3-93

E-mail автора: 

Глины формовочные огнеупорные. Метод определения концентрации обменных катионов натрия и калия

Обозначение: ГОСТ 3594.3-93
Статус: действующий
Название рус.: Глины формовочные огнеупорные. Метод определения концентрации обменных катионов натрия и калия
Название англ.: Moulding refractory clays. Method for the determination of exchange cations content of sodium and patassium
Дата актуализации текста: 19.06.2012
Дата актуализации описания: 19.06.2012
Дата введения в действие: 01.01.1995
Область и условия применения: Настоящий стандарт распространяется на комовые и порошкообразные огнеупорные глины каолинитового и каолинитогидрослюдистого состава (далее - глины), применяемые в литейном производстве в качестве минеральных связующих в составах формовочных и стержневых смесей и устанавливает фотометрический метод определения концентрации обменных катионов кальция и магния
Взамен в части: ГОСТ 3594.3-77 в части формовочных глин


ГОСТ 3594.3-93
ГОСТ 3594.3-93
ГОСТ 3594.3-93
ГОСТ 3594.3-93
ГОСТ 3594.3-93
ГОСТ 3594.3-93
Автор: 
Домашняя страница автора: 

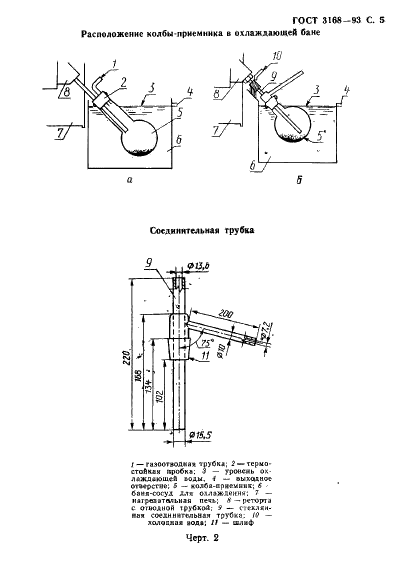
ГОСТ 3168-93

E-mail автора: 

Топливо твердое минеральное. Методы определения выхода продуктов полукоксования

Обозначение: ГОСТ 3168-93
Статус: действующий
Название рус.: Топливо твердое минеральное. Методы определения выхода продуктов полукоксования
Название англ.: Solid mineral fuels. Methods for determination of the yield of products by low temperature distillation
Дата актуализации текста: 19.06.2012
Дата актуализации описания: 19.06.2012
Дата введения в действие: 01.01.1995
Область и условия применения: Настоящий стандарт распространяется на бурые и каменные угли, лигниты, горючие сланцы и торф и устанавливает два метода определения выхода смолы, пирогенетической воды, полукокса и газа при полукоксовании: медленный и ускоренный
Взамен: ГОСТ 3168-66


ГОСТ 3168-93
ГОСТ 3168-93
ГОСТ 3168-93
ГОСТ 3168-93
ГОСТ 3168-93
ГОСТ 3168-93
ГОСТ 3168-93
ГОСТ 3168-93
ГОСТ 3168-93
ГОСТ 3168-93
ГОСТ 3168-93
ГОСТ 3168-93
ГОСТ 3168-93
ГОСТ 3168-93
ГОСТ 3168-93
ГОСТ 3168-93
ГОСТ 3168-93
ГОСТ 3168-93
ГОСТ 3168-93
ГОСТ 3168-93
Автор: 
Домашняя страница автора: 

ГОСТ 3815.3-93

E-mail автора: 

Материалы ворсовые. Метод определения прочности закрепления ворса

Обозначение: ГОСТ 3815.3-93
Статус: действующий
Название рус.: Материалы ворсовые. Метод определения прочности закрепления ворса
Название англ.: Pile materials. Methods for determination of pile fastening strength
Дата актуализации текста: 19.06.2012
Дата актуализации описания: 19.06.2012
Дата введения в действие: 01.01.1995
Область и условия применения: Настоящий стандарт распространяется на тканый искусственный мех, ворсовые ткани и штучные изделия с разрезным ворсом из натуральных и химических нитей и пряжи, а также пряжи из смеси натуральных и химических волокон и устанавливает метод определения поверхностной прочности закрепления ворса.
Стандарт не распространяется на ткани типа бархат
Взамен: ГОСТ 3815.3-77


ГОСТ 3815.3-93
ГОСТ 3815.3-93
ГОСТ 3815.3-93
ГОСТ 3815.3-93
Автор: 
Домашняя страница автора: 

ГОСТ Р ИСО 3411-99

E-mail автора: 

Машины землеройные. Антропометрические данные операторов и минимальное рабочее пространство вокруг оператора

Обозначение: ГОСТ Р ИСО 3411-99
Статус: действующий
Название рус.: Машины землеройные. Антропометрические данные операторов и минимальное рабочее пространство вокруг оператора
Название англ.: Earth-moving machinery. Human physical dimensions of operators and minimum operator space envelope
Дата актуализации текста: 19.06.2012
Дата актуализации описания: 19.06.2012
Дата введения в действие: 01.07.2000
Область и условия применения: Настоящий стандарт устанавливает антропометрические данные операторов землеройных машин и минимальное рабочее пространство вокруг оператора, ограниченное внутренними размерами кабин и устройствами ROPS, FOPS, применяемыми на землеройных машинах.
Стандарт распространяется на землеройные машины по ГОСТ Р ИСО 6165


ГОСТ Р ИСО 3411-99
ГОСТ Р ИСО 3411-99
ГОСТ Р ИСО 3411-99
ГОСТ Р ИСО 3411-99
ГОСТ Р ИСО 3411-99
ГОСТ Р ИСО 3411-99
ГОСТ Р ИСО 3411-99
ГОСТ Р ИСО 3411-99
ГОСТ Р ИСО 3411-99
ГОСТ Р ИСО 3411-99
ГОСТ Р ИСО 3411-99
Автор: 
Домашняя страница автора: 

ГОСТ 3040-55

E-mail автора: 

Зерно. Методы определения качества

Обозначение: ГОСТ 3040-55
Статус: действующий
Название рус.: Зерно. Методы определения качества
Название англ.: Grain. Methods for determination of quality
Дата актуализации текста: 19.06.2012
Дата актуализации описания: 19.06.2012
Дата введения в действие: 01.05.1956
Область и условия применения: Настоящий стандарт устанавливает метод определения влажности. Основным методом определения влажности является высушивание навесок размолотого зерна в электрических сушильных шкафах СЭШ-1 и СЭШ-3М при температуре 130 град. в течение 40 мин
Взамен: ГОСТ 3040-45
Заменяющий в части: ГОСТ 10839-64 в части методов отбора образцов и выделения навесок зерна (пп. 1 - 18, 21 - 25, 85 и 90); ГОСТ 10840-64 в части методов определения натуры (пп. 32 - 34); ГОСТ 10841-64 в части методов определения зараженности и поврежденности зерна вредителями (пп. 20, 65, 80 - 84 и 87); ГОСТ 10842-64 в части метода определения веса 1000 зерен (п. 54); ГОСТ 10843-64 в части метода определения пленчатости (пп. 55 - 58); ГОСТ 10844-64 в части метода определения кислотности по болтушке (п. 62); ГОСТ 10846-64 в части метода определения содержания белка (п. 60); ГОСТ 10847-64 в части метода определения зольности (п. 61); ГОСТ 10852-64 в части методов отбора образцов масличных семян (разд. I, II и пп. 23 - 25); ГОСТ 10853-64 в части методов определения зараженности масличных семян амбарными вредителями (разд. V); ГОСТ 10854-64 в части методов определения засоренности, запаха, вкуса и цвета масличных семян (пп. 29 - 31, 44, 46, 48 и 53); ГОСТ 10855-64 в части методов определения лузжистости масличных семян (пп. 55 и 59); ГОСТ 10856-64 в части методов определения влажности масличных семян (разд. III, подраздел Д); ГОСТ 10857-64 в части определения содержания сырого жира в масличных семенах (п. 76); ГОСТ 10939-64 в части методов определения засоренности, прохода мелких зерен и выравненности (пп. 19, 44 - 53, 67, 72 и 89); ГОСТ 10940-64 в части методов определения типового состава (пп. 63, 67 - 69, 71, 72, 74, 75 и 88); ГОСТ 10966-64 в части методов определения количества и качества сырой клейковины (п. 66); ГОСТ 10967-64 в части методов определения запаха, вкуса и цвета (пп. 29 - 31); ГОСТ 10968-64 в части методов определения энергии прорастания и способности прорастания (п. 67); ГОСТ 10986-64 в части методов определения содержания испорченных и поврежденных зерен (пп. 68 - 70 и 72); ГОСТ 10987-64 в части методов определения стекловидности (пп. 64 и 72); ГОСТ 11091-64 в части методов определения крупности семян бобовых культур (пп. 73 и 74)


ГОСТ 3040-55
ГОСТ 3040-55
ГОСТ 3040-55
ГОСТ 3040-55
ГОСТ 3040-55
Автор: 
Домашняя страница автора: 

ГОСТ 3047-66

E-mail автора: 

Допуски и посадки размеров менее 1 мм

Обозначение: ГОСТ 3047-66
Статус: действующий
Название рус.: Допуски и посадки размеров менее 1 мм
Название англ.: Tolerances and fits in dimensions less than 1 mm
Дата актуализации текста: 19.06.2012
Дата актуализации описания: 19.06.2012
Дата введения в действие: 01.01.1967
Область и условия применения: Настоящий стандарт распространяется на допуски и посадки деталей при размерах от 0,1 до 1 мм
Взамен: ГОСТ 3047-54
Список изменений: №1 от 01.01.1972 (рег. 19.08.1971) «Срок действия продлен»
№2 от 01.01.1980 (рег. 16.07.1980) «Срок действия продлен»


ГОСТ 3047-66
ГОСТ 3047-66
ГОСТ 3047-66
ГОСТ 3047-66
ГОСТ 3047-66
ГОСТ 3047-66
ГОСТ 3047-66
ГОСТ 3047-66
ГОСТ 3047-66
ГОСТ 3047-66
ГОСТ 3047-66
ГОСТ 3047-66
Автор: 
Домашняя страница автора: 

ГОСТ 3964-69

E-mail автора: 

Фрезы дисковые пазовые. Основные размеры

Обозначение: ГОСТ 3964-69
Статус: действующий
Название рус.: Фрезы дисковые пазовые. Основные размеры
Название англ.: Slot mitting cutters. Basic dimensions
Дата актуализации текста: 19.06.2012
Дата актуализации описания: 19.06.2012
Дата введения в действие: 01.01.1970
Область и условия применения: Настоящий стандарт распространяется на фрезы дисковые пазовые
Взамен: ГОСТ 3964-59
Список изменений: №1 от 01.07.1980 (рег. 06.06.1980) «Срок действия продлен»
№2 от 01.12.1984 (рег. 22.08.1984) «Срок действия продлен»
№3 от 01.07.1988 (рег. 26.10.1987) «Срок действия продлен»


ГОСТ 3964-69
ГОСТ 3964-69
ГОСТ 3964-69
ГОСТ 3964-69
ГОСТ 3964-69
ГОСТ 3964-69
ГОСТ 3964-69
ГОСТ 3964-69
Автор: 
Домашняя страница автора: 

ГОСТ 3839-70

E-mail автора: 

Лампы электронные маломощные. Методы испытаний на долговечность

Обозначение: ГОСТ 3839-70
Статус: действующий
Название рус.: Лампы электронные маломощные. Методы испытаний на долговечность
Название англ.: Low-power electronic tubes. Test methods for life cycle
Дата актуализации текста: 19.06.2012
Дата актуализации описания: 19.06.2012
Дата введения в действие: 01.01.1971
Область и условия применения: Настоящий стандарт распространяется на лампы электронные усилительные и выпрямительные мощностью, продолжительно выделяемой на аноде, до 25 Вт и устанавливает общие методы испытаний на долговечность усилительных ламп в статическом режиме, выпрямительных ламп в режиме выпрямления тока при нормальной и повышенной температурах окружающей среды, а также требования к испытательным установкам
Взамен: ГОСТ 3839-47
Список изменений: №0 от 01.07.1988 (рег. 23.12.1987) «Текстовое изменение; Изменено заглавие»
№1 от 01.03.1979 (рег. 01.11.1978) «Срок действия продлен»


ГОСТ 3839-70
ГОСТ 3839-70
ГОСТ 3839-70
ГОСТ 3839-70
ГОСТ 3839-70
ГОСТ 3839-70
ГОСТ 3839-70
ГОСТ 3839-70
ГОСТ 3839-70
ГОСТ 3839-70
ГОСТ 3839-70
ГОСТ 3839-70
Автор: 
Домашняя страница автора: 

Страницы