Наша группа Вконтакте vk.com/4ertimcom

ГОСТ 5001-6000

ГОСТ ИСО 5682-3-2004

E-mail автора: 

Оборудование для защиты растений. Оборудование распылительное. Часть 3. Метод испытания дозирующих систем сельскохозяйственных гидравлических распылителей

Обозначение: ГОСТ ИСО 5682-3-2004
Статус: действующий
Название рус.: Оборудование для защиты растений. Оборудование распылительное. Часть 3. Метод испытания дозирующих систем сельскохозяйственных гидравлических распылителей
Название англ.: Equipment for crop protection. Spraying equipment. Part 3. Test method for volume/hectare adjustment systems of agricultural hydraulic pressure sprayers
Дата актуализации текста: 19.06.2012
Дата актуализации описания: 19.06.2012
Дата введения в действие: 01.01.2008
Область и условия применения: Настоящий стандарт устанавливает метод испытаний дозирующих систем распылителей для определения точности распыления и рабочих характеристик.
Стандарт распространяется на навесные, прицепные и самоходные сельскохозяйственные гидравлические распылители, используемые для защиты сельскохозяйственных культур и/или внесения удобрений


ГОСТ ИСО 5682-3-2004
ГОСТ ИСО 5682-3-2004
ГОСТ ИСО 5682-3-2004
ГОСТ ИСО 5682-3-2004
ГОСТ ИСО 5682-3-2004
ГОСТ ИСО 5682-3-2004
ГОСТ ИСО 5682-3-2004
ГОСТ ИСО 5682-3-2004
Автор: 
Домашняя страница автора: 

ГОСТ 5734-76

E-mail автора: 

Смазки пластичные. Метод определения стабильности против окисления

Обозначение: ГОСТ 5734-76
Статус: действующий
Название рус.: Смазки пластичные. Метод определения стабильности против окисления
Название англ.: Greases method for the determination of oxidation stability
Дата актуализации текста: 19.06.2012
Дата актуализации описания: 19.06.2012
Дата введения в действие: 01.01.1977
Область и условия применения: Настоящий стандарт распространяется на пластичные смазки и устанавливает метод определения стабильности против окисления.
Сущность метода заключается в окислении смазки, нанесенной тонким слоем на медную пластинку (катализатор), и определении свободных кислот или свободных щелочей, образующихся при окислении смазки, выраженных кислотным числом и характеризующих стабильность смазки
Взамен: ГОСТ 5734-62
Список изменений: №1 от 01.08.1987 (рег. 23.03.1987) «Срок действия продлен»
№2 от 01.07.1989 (рег. 06.02.1989) «Срок действия продлен»
№3 от 01.07.1995 (рег. 27.03.1995) «Срок действия продлен»


ГОСТ 5734-76
ГОСТ 5734-76
ГОСТ 5734-76
ГОСТ 5734-76
Автор: 
Домашняя страница автора: 

ГОСТ 5667-65

E-mail автора: 

Хлеб и хлебобулочные изделия. Правила приемки, методы отбора образцов, методы определения органолептических показателей и массы изделий

Обозначение: ГОСТ 5667-65
Статус: действующий
Название рус.: Хлеб и хлебобулочные изделия. Правила приемки, методы отбора образцов, методы определения органолептических показателей и массы изделий
Название англ.: Bread and bakery products. Rules of acceptance, methods of sampling, methods for determination of organoleptic characteristics and mass
Дата актуализации текста: 19.06.2012
Дата актуализации описания: 19.06.2012
Дата введения в действие: 01.01.1996
Область и условия применения: Настоящий стандарт распространяется на хлеб, булочные, сдобные и диетические изделия и устанавливает правила приемки продукции, методы отбора образцов для контроля органолептических и физико-химических показателей и методы определения органолептических показателей и массы
Взамен: ГОСТ 5667-51
Список изменений: №1 от 01.02.1981 (рег. 10.10.1980) «Срок действия продлен»
№2 от 01.12.1985 (рег. 03.07.1985) «Поправка»
№3 от 01.05.1992 (рег. 27.11.1991) «Срок действия продлен»


ГОСТ 5667-65
ГОСТ 5667-65
ГОСТ 5667-65
ГОСТ 5667-65
ГОСТ 5667-65
Автор: 
Домашняя страница автора: 

ГОСТ 5985-79

E-mail автора: 

Нефтепродукты. Метод определения кислотности и кислотного числа

Обозначение: ГОСТ 5985-79
Статус: действующий
Название рус.: Нефтепродукты. Метод определения кислотности и кислотного числа
Название англ.: Petroleum products. Method for determination of acidity and acid number
Дата актуализации текста: 19.06.2012
Дата актуализации описания: 19.06.2012
Дата введения в действие: 01.01.1980
Область и условия применения: Настоящий стандарт распространяется на светлые нефтепродукты (этилированные и неэтилированные бензины, лигроины, керосины, дизельное топливо, топливо для реактивных двигателей), нелегированные масла, специальные масла и углеводородные пластичные смазки и устанавливает методы определения кислотности и кислотного числа
Взамен: ГОСТ 5985-59
Список изменений: №0 от 20.09.2011 (рег. 20.09.2011) «Дата введения перенесена»
№1 от 01.04.1985 (рег. 28.04.1984) «Срок действия продлен»
№2 от 01.07.1992 (рег. 28.12.1991) «Срок действия продлен»
Приложение №1: Поправка к ГОСТ 5985-79


ГОСТ 5985-79
ГОСТ 5985-79
ГОСТ 5985-79
ГОСТ 5985-79
ГОСТ 5985-79
ГОСТ 5985-79
ГОСТ 5985-79
ГОСТ 5985-79


Поправка к ГОСТ 5985-79

Обозначение: Поправка к ГОСТ 5985-79
Дата введения в действие: 20.09.2011
Дата актуализации: 12.02.2012


Поправка к ГОСТ 5985-79
Автор: 
Домашняя страница автора: 

ГОСТ 5862-79

E-mail автора: 

Изоляторы и покрышки керамические на напряжение свыше 1000 В. Общие технические условия

Обозначение: ГОСТ 5862-79
Статус: действующий
Название рус.: Изоляторы и покрышки керамические на напряжение свыше 1000 В. Общие технические условия
Название англ.: Ceramic insulators and covers for voltage over 1000 V. General specifications
Дата актуализации текста: 19.06.2012
Дата актуализации описания: 19.06.2012
Дата введения в действие: 01.01.1980
Область и условия применения: Настоящий стандарт распространяется на керамические неармированные изоляторы (покрышки), применяемые для трансформаторов, аппаратов, распределительных устройств и других установок (кроме линейных изоляторов), предназначенных для эксплуатации в условиях, нормированных для всех климатических исполнений, категорий размещения 1-5 по ГОСТ 15150 в нормальном и усиленном исполнении по длине пути утечки, в масле. а также под избыточным давлением при переменном напряжении св. 1000 В частотой до 100 Гц
Взамен: ГОСТ 5862-68
Заменяющий в части: ГОСТ 26093-84 в части методов испытаний
Список изменений: №1 от 01.01.1983 (рег. 18.09.1981) «Срок действия продлен»
№2 от 01.01.1986 (рег. 31.01.1983) «Срок действия продлен»
№3 от 01.01.1986 (рег. 24.05.1985) «Срок действия продлен»
№4 от 01.01.1987 (рег. 27.06.1986) «Срок действия продлен»
№5 от 01.02.1988 (рег. 17.08.1987) «Срок действия продлен»
№6 от 01.07.1989 (рег. 09.01.1989) «Срок действия продлен»


ГОСТ 5862-79
ГОСТ 5862-79
ГОСТ 5862-79
ГОСТ 5862-79
ГОСТ 5862-79
ГОСТ 5862-79
ГОСТ 5862-79
Автор: 
Домашняя страница автора: 

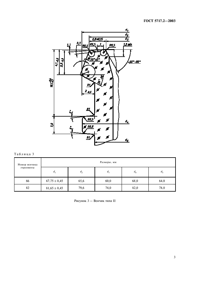
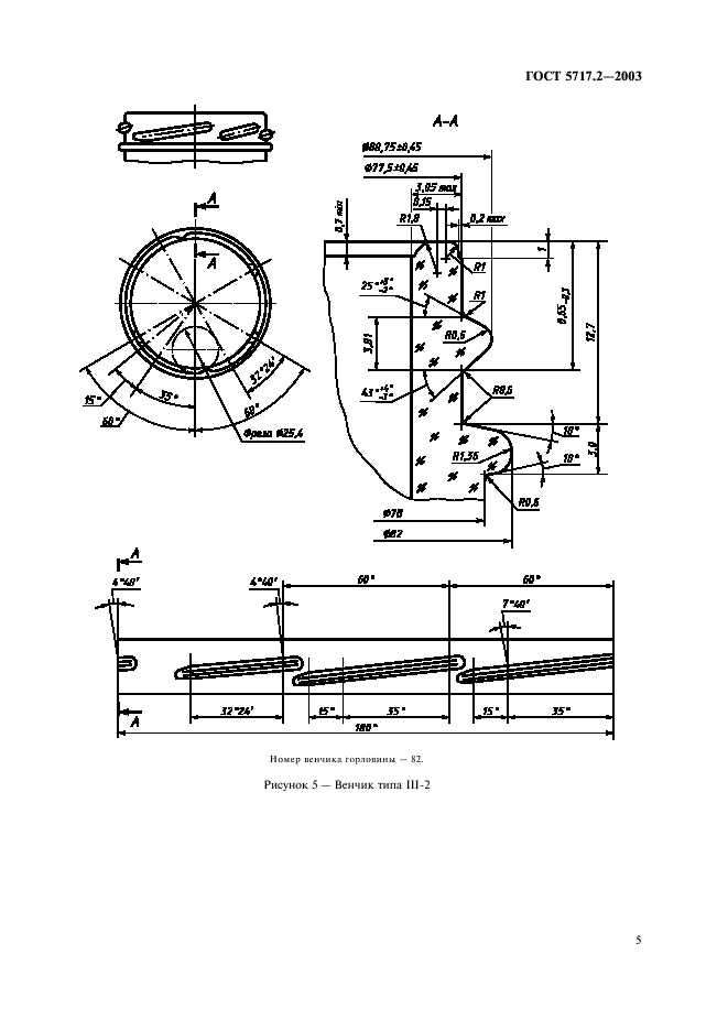
ГОСТ 5717.2-2003

E-mail автора: 

Банки стеклянные для консервов. Основные параметры и размеры

Обозначение: ГОСТ 5717.2-2003
Статус: действующий
Название рус.: Банки стеклянные для консервов. Основные параметры и размеры
Название англ.: Glass jars canned food. Basic parameters and dimensions
Дата актуализации текста: 19.06.2012
Дата актуализации описания: 19.06.2012
Дата введения в действие: 01.07.2004
Область и условия применения: Настоящий стандарт распространяется на стеклянные банки круглой формы для консервов и устанавливает их основные параметры и размеры
Взамен в части: ГОСТ 5717-91 в части разд. 1


ГОСТ 5717.2-2003
ГОСТ 5717.2-2003
ГОСТ 5717.2-2003
ГОСТ 5717.2-2003
ГОСТ 5717.2-2003
ГОСТ 5717.2-2003
ГОСТ 5717.2-2003
ГОСТ 5717.2-2003
ГОСТ 5717.2-2003
ГОСТ 5717.2-2003
ГОСТ 5717.2-2003
ГОСТ 5717.2-2003
ГОСТ 5717.2-2003
ГОСТ 5717.2-2003
Автор: 
Домашняя страница автора: 

ГОСТ 5669-96

E-mail автора: 

Хлебобулочные изделия. Метод определения пористости

Обозначение: ГОСТ 5669-96
Статус: действующий
Название рус.: Хлебобулочные изделия. Метод определения пористости
Название англ.: Bakery products. Method for determination of porosity
Дата актуализации текста: 19.06.2012
Дата актуализации описания: 19.06.2012
Дата введения в действие: 01.08.1997
Область и условия применения: Настоящий стандарт распространяется на хлебобулочные изделия массой 0,2 кг и более и устанавливает метод определения пористости мякиша
Взамен: ГОСТ 5669-51


ГОСТ 5669-96
ГОСТ 5669-96
ГОСТ 5669-96
ГОСТ 5669-96
ГОСТ 5669-96
Автор: 
Домашняя страница автора: 

ГОСТ 5670-96

E-mail автора: 

Хлебобулочные изделия. Методы определения кислотности

Обозначение: ГОСТ 5670-96
Статус: действующий
Название рус.: Хлебобулочные изделия. Методы определения кислотности
Название англ.: Bread, rolls and buns. Methods for determination of acidity
Дата актуализации текста: 19.06.2012
Дата актуализации описания: 19.06.2012
Дата введения в действие: 01.08.1997
Область и условия применения: Настоящий стандарт распространяется на хлебобулочные изделия, а также на хлебобулочные изделия пониженной влажности и устанавливает методы определения кислотности
Взамен: ГОСТ 5670-51
Взамен в части: ГОСТ 7128-91 в части п. 3.7


ГОСТ 5670-96
ГОСТ 5670-96
ГОСТ 5670-96
ГОСТ 5670-96
ГОСТ 5670-96
ГОСТ 5670-96
ГОСТ 5670-96
ГОСТ 5670-96
Автор: 
Домашняя страница автора: 

ГОСТ Р ИСО 5485-2005

E-mail автора: 

Судостроение. Суда внутреннего плавания. Трапы стальные наклонные стационарные палубные

Обозначение: ГОСТ Р ИСО 5485-2005
Статус: действующий
Название рус.: Судостроение. Суда внутреннего плавания. Трапы стальные наклонные стационарные палубные
Название англ.: Shipbuilding. Inland vessels. Fixed steel deck stairs
Дата актуализации текста: 19.06.2012
Дата актуализации описания: 19.06.2012
Дата введения в действие: 01.01.2007
Область и условия применения: Настоящий стандарт устанавливает технические требования к наклонным стационарным стальным палубным трапам, применяемым на судах внутреннего плавания, и их основные размеры.
Стандарт не распространяется на трапы для внутренних помещений, забортные трапы, аварийные трапы и трапы особого назначения


ГОСТ Р ИСО 5485-2005
ГОСТ Р ИСО 5485-2005
ГОСТ Р ИСО 5485-2005
ГОСТ Р ИСО 5485-2005
ГОСТ Р ИСО 5485-2005
ГОСТ Р ИСО 5485-2005
Автор: 
Домашняя страница автора: 

ГОСТ ИСО 5088-2001

E-mail автора: 

Материалы текстильные. Методы количественного анализа трехкомпонентных смесей волокон

Обозначение: ГОСТ ИСО 5088-2001
Статус: действующий
Название рус.: Материалы текстильные. Методы количественного анализа трехкомпонентных смесей волокон
Название англ.: Textile materials. Methods of quantitative analysis of ternary fibre mixtures
Дата актуализации текста: 19.06.2012
Дата актуализации описания: 19.06.2012
Дата введения в действие: 01.06.2006
Область и условия применения: Настоящий стандарт распространяется на текстильные материалы и устанавливает методы количественного анализа трехкомпонентных смесей волокон


ГОСТ ИСО 5088-2001
ГОСТ ИСО 5088-2001
ГОСТ ИСО 5088-2001
ГОСТ ИСО 5088-2001
ГОСТ ИСО 5088-2001
ГОСТ ИСО 5088-2001
ГОСТ ИСО 5088-2001
ГОСТ ИСО 5088-2001
ГОСТ ИСО 5088-2001
ГОСТ ИСО 5088-2001
ГОСТ ИСО 5088-2001
ГОСТ ИСО 5088-2001
ГОСТ ИСО 5088-2001
ГОСТ ИСО 5088-2001
ГОСТ ИСО 5088-2001
ГОСТ ИСО 5088-2001
Автор: 
Домашняя страница автора: 

Страницы