Наша группа Вконтакте vk.com/4ertimcom

ГОСТ 5001-6000

ГОСТ 5845-79

E-mail автора: 

Реактивы. Калий-натрий виннокислый 4-водный. Технические условия

Обозначение: ГОСТ 5845-79
Статус: действующий
Название рус.: Реактивы. Калий-натрий виннокислый 4-водный. Технические условия
Название англ.: Reagents. Potassium-sodium tartrate 4-aqueous. Specifications
Дата актуализации текста: 19.06.2012
Дата актуализации описания: 19.06.2012
Дата введения в действие: 01.01.1980
Область и условия применения: Настоящий стандарт распространяется на 4-водный виннокислый калий-натрий (сегнетова соль), который предоставляет собой бесцветные прозрачные кристаллы, легкорастворимые в воде. Реактивен не токсичен и не взрывоопасен
Взамен: ГОСТ 5845-70
Список изменений: №1 от 01.01.1990 (рег. 01.06.1989) «Срок действия продлен»


ГОСТ 5845-79
ГОСТ 5845-79
ГОСТ 5845-79
ГОСТ 5845-79
ГОСТ 5845-79
ГОСТ 5845-79
ГОСТ 5845-79
ГОСТ 5845-79
Автор: 
Домашняя страница автора: 

ГОСТ 5264-80

E-mail автора: 

Ручная дуговая сварка. Соединения сварные. Основные типы, конструктивные элементы и размеры

Обозначение: ГОСТ 5264-80
Статус: действующий
Название рус.: Ручная дуговая сварка. Соединения сварные. Основные типы, конструктивные элементы и размеры
Название англ.: Manual arc welding. Welding joints. Main types, design elements and dimensions
Дата актуализации текста: 19.06.2012
Дата актуализации описания: 19.06.2012
Дата введения в действие: 01.07.1981
Область и условия применения: Настоящий стандарт устанавливает основные типы, конструктивные элементы и размеры сварных соединений из сталей, а также сплавов на железоникелевой и никелевой основах, выполняемых ручной дуговой сваркой.
Стандарт не распространяется на сварные соединения стальных трубопроводов по ГОСТ 16037-80
Взамен: ГОСТ 5264-69
Список изменений: №0 от 01.09.2009 (рег. 01.09.2009) «Дата введения перенесена»
№1 от 01.03.1989 (рег. 03.01.1989) «Срок действия продлен»
Приложение №1: Поправка к ГОСТ 5264-80


ГОСТ 5264-80
ГОСТ 5264-80
ГОСТ 5264-80
ГОСТ 5264-80
ГОСТ 5264-80
ГОСТ 5264-80
ГОСТ 5264-80
ГОСТ 5264-80
ГОСТ 5264-80
ГОСТ 5264-80
ГОСТ 5264-80
ГОСТ 5264-80
ГОСТ 5264-80
ГОСТ 5264-80
ГОСТ 5264-80
ГОСТ 5264-80
ГОСТ 5264-80
ГОСТ 5264-80
ГОСТ 5264-80
ГОСТ 5264-80
ГОСТ 5264-80
ГОСТ 5264-80
ГОСТ 5264-80
ГОСТ 5264-80
ГОСТ 5264-80
ГОСТ 5264-80
ГОСТ 5264-80
ГОСТ 5264-80
ГОСТ 5264-80
ГОСТ 5264-80
ГОСТ 5264-80
ГОСТ 5264-80
ГОСТ 5264-80
ГОСТ 5264-80
ГОСТ 5264-80


Поправка к ГОСТ 5264-80

Обозначение: Поправка к ГОСТ 5264-80
Дата введения в действие: 01.09.2009
Дата актуализации: 10.11.2009


Поправка к ГОСТ 5264-80
Автор: 
Домашняя страница автора: 

ГОСТ 5368-81

E-mail автора: 

Приборы для измерения цилиндрических зубчатых колес. Типы и основные параметры. Нормы точности

Обозначение: ГОСТ 5368-81
Статус: действующий
Название рус.: Приборы для измерения цилиндрических зубчатых колес. Типы и основные параметры. Нормы точности
Название англ.: Cylindrical gear checking machines. Types. Basic parameters. Accuracy limits
Дата актуализации текста: 19.06.2012
Дата актуализации описания: 19.06.2012
Дата введения в действие: 01.01.1982
Область и условия применения: Настоящий стандарт распространяется на приборы для измерения цилиндрических зубчатых колес с модулем от 1 мм
Взамен: ГОСТ 5368-73
Список изменений: №1 от 01.01.1986 (рег. 29.07.1985) «Срок действия продлен»
№2 от 01.02.1990 (рег. 14.07.1989) «Срок действия продлен»


ГОСТ 5368-81
ГОСТ 5368-81
ГОСТ 5368-81
ГОСТ 5368-81
ГОСТ 5368-81
ГОСТ 5368-81
ГОСТ 5368-81
ГОСТ 5368-81
ГОСТ 5368-81
ГОСТ 5368-81
ГОСТ 5368-81
ГОСТ 5368-81
ГОСТ 5368-81
ГОСТ 5368-81
ГОСТ 5368-81
ГОСТ 5368-81
ГОСТ 5368-81
ГОСТ 5368-81
ГОСТ 5368-81
ГОСТ 5368-81
ГОСТ 5368-81
ГОСТ 5368-81
ГОСТ 5368-81
ГОСТ 5368-81
ГОСТ 5368-81
ГОСТ 5368-81
Автор: 
Домашняя страница автора: 

ГОСТ 5551-82

E-mail автора: 

Сырье вторичное текстильное сортированное. Правила приемки, методы испытаний, упаковка, маркировка, транспортирование и хранение

Обозначение: ГОСТ 5551-82
Статус: действующий
Название рус.: Сырье вторичное текстильное сортированное. Правила приемки, методы испытаний, упаковка, маркировка, транспортирование и хранение
Название англ.: Secondary textile raw materials (sorted). Fules for acceptance, method of tests, packing, marking, transportation and storage
Дата актуализации текста: 19.06.2012
Дата актуализации описания: 19.06.2012
Дата введения в действие: 01.07.1983
Область и условия применения: Настоящий стандарт распространяется на вторичное текстильное сортированное сырье: отходы потребления (тряпье, старые шубные, валяльно-войлочные и стеганые изделия, крученые материалы), отходы производства (обрезки тканей, трикотажа, нетканых полотен) и обтирочные материалы; устанавливает правила их приемки, методы испытаний и требования к упаковке, маркировке, транспортированию и хранению
Взамен: ГОСТ 5551-69
Список изменений: №1 от 01.08.1988 (рег. 03.03.1988) «Срок действия продлен»


ГОСТ 5551-82
ГОСТ 5551-82
ГОСТ 5551-82
ГОСТ 5551-82
ГОСТ 5551-82
ГОСТ 5551-82
ГОСТ 5551-82
ГОСТ 5551-82
Автор: 
Домашняя страница автора: 

ГОСТ 5237-83

E-mail автора: 

Аппаратура электросвязи. Напряжения питания и методы измерений

Обозначение: ГОСТ 5237-83
Статус: действующий
Название рус.: Аппаратура электросвязи. Напряжения питания и методы измерений
Название англ.: Electric communication equipment. Supply voltages and methods of measurement
Дата актуализации текста: 19.06.2012
Дата актуализации описания: 19.06.2012
Дата введения в действие: 01.01.1985
Область и условия применения: Настоящий стандарт распространяется на стационарную аппаратуру электросвязи и устанавливает значения постоянного и переменного напряжений на ее входе, а также методы их измерений.
Стандарт не устанавливает значения выходных напряжений источников вторичного питания, входящих в аппаратуру
Взамен: ГОСТ 5237-69
Список изменений: №1 от 01.01.1990 (рег. 15.06.1989) «Срок действия продлен»


ГОСТ 5237-83
ГОСТ 5237-83
ГОСТ 5237-83
ГОСТ 5237-83
ГОСТ 5237-83
ГОСТ 5237-83
ГОСТ 5237-83
ГОСТ 5237-83
ГОСТ 5237-83
Автор: 
Домашняя страница автора: 

ГОСТ 5152-84

E-mail автора: 

Набивки сальниковые. Технические условия

Обозначение: ГОСТ 5152-84
Статус: действующий
Название рус.: Набивки сальниковые. Технические условия
Название англ.: Packings. Specifications
Дата актуализации текста: 19.06.2012
Дата актуализации описания: 19.06.2012
Дата введения в действие: 01.07.1985
Область и условия применения: Настоящий стандарт распространяется на волокнистые и комбинированные сальниковые набивки, применяемые для заполнения сальниковых камер с целью герметизации подвижных и неподвижных соединений различных машин и аппаратов.
Стандарт распространяется на сальниковые набивки, изготовляемые для нужд народного хозяйства и для экспорта.
Стандарт не распространяется на набивки специальных конструкций
Взамен: ГОСТ 5152-77
Список изменений: №1 от 01.09.1980 (рег. 23.06.1980) «Срок действия продлен»
№1 от 01.10.1989 (рег. 27.03.1989) «Срок действия продлен»


ГОСТ 5152-84
ГОСТ 5152-84
ГОСТ 5152-84
ГОСТ 5152-84
ГОСТ 5152-84
ГОСТ 5152-84
ГОСТ 5152-84
ГОСТ 5152-84
ГОСТ 5152-84
ГОСТ 5152-84
ГОСТ 5152-84
ГОСТ 5152-84
ГОСТ 5152-84
ГОСТ 5152-84
ГОСТ 5152-84
ГОСТ 5152-84
ГОСТ 5152-84
ГОСТ 5152-84
ГОСТ 5152-84
Автор: 
Домашняя страница автора: 

ГОСТ 5744-85

E-mail автора: 

Материалы шлифовальные из карбида бора. Технические условия

Обозначение: ГОСТ 5744-85
Статус: действующий
Название рус.: Материалы шлифовальные из карбида бора. Технические условия
Название англ.: Abrasive grains from boron carbide. Specifications
Дата актуализации текста: 19.06.2012
Дата актуализации описания: 19.06.2012
Дата введения в действие: 01.01.1987
Область и условия применения: Настоящий стандарт распространяется на шлифовальные материалы из карбида бора, предназначенные для использования на операциях обработки абразивными зернами и других целей
Взамен: ГОСТ 5744-74
Список изменений: №1 от 01.07.1989 (рег. 29.12.1988) «Срок действия продлен»
№2 от 01.01.1992 (рег. 27.12.1990) «Срок действия продлен»


ГОСТ 5744-85
ГОСТ 5744-85
ГОСТ 5744-85
ГОСТ 5744-85
ГОСТ 5744-85
ГОСТ 5744-85
ГОСТ 5744-85
ГОСТ 5744-85
ГОСТ 5744-85
ГОСТ 5744-85
ГОСТ 5744-85
ГОСТ 5744-85
Автор: 
Домашняя страница автора: 

ГОСТ 5627-87

E-mail автора: 

Автоматы проволочно-гвоздильные.Параметры и размеры. Нормы точности

Обозначение: ГОСТ 5627-87
Статус: действующий
Название рус.: Автоматы проволочно-гвоздильные.Параметры и размеры. Нормы точности
Название англ.: Automatic wire nail machines. Parameters and dimensions. Norms of accuracy
Дата актуализации текста: 19.06.2012
Дата актуализации описания: 19.06.2012
Дата введения в действие: 01.07.1989
Область и условия применения: Настоящий стандарт распространяется на проволочно-гвоздильные одноударные автоматы для изготовления строительных, толевых, кровельных, отделочных, обойных и тарных гвоздей из проволоки различного сечения, изготовляемые для нужд народного хозяйства и экспорта
Взамен: ГОСТ 5627-80 ГОСТ 6967-70


ГОСТ 5627-87
ГОСТ 5627-87
ГОСТ 5627-87
ГОСТ 5627-87
ГОСТ 5627-87
ГОСТ 5627-87
ГОСТ 5627-87
ГОСТ 5627-87
Автор: 
Домашняя страница автора: 

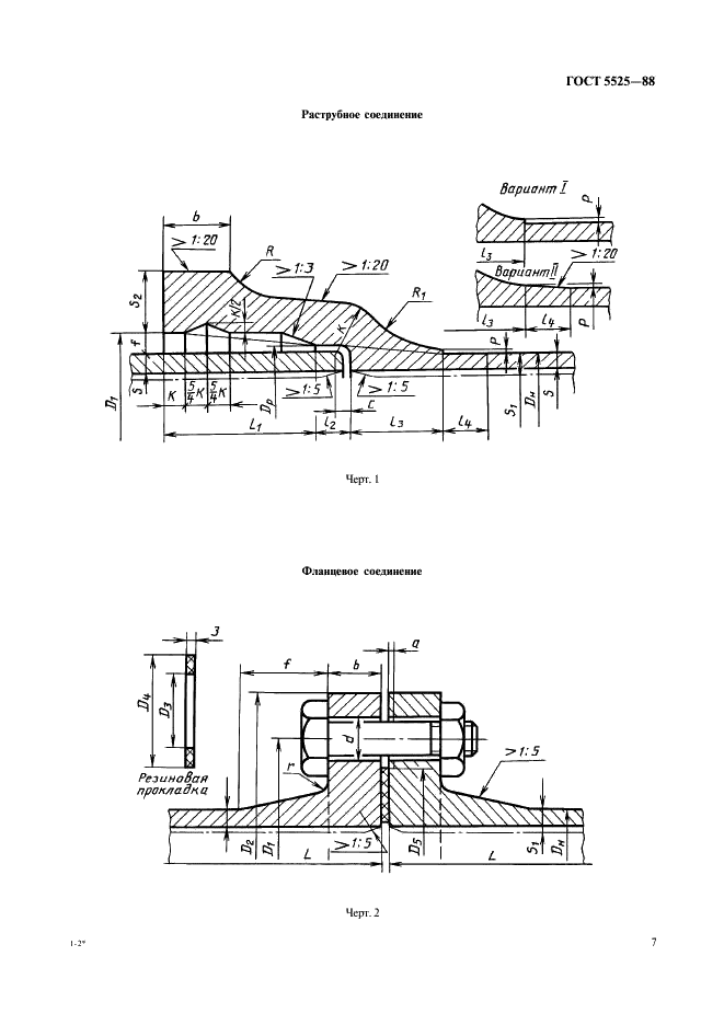
ГОСТ 5525-88

E-mail автора: 

Части соединительные чугунные, изготовленные литьем в песчаные формы для трубопроводов. Технические условия

Обозначение: ГОСТ 5525-88
Статус: действующий
Название рус.: Части соединительные чугунные, изготовленные литьем в песчаные формы для трубопроводов. Технические условия
Название англ.: Pig iron connecting parts manufactured by pouring into sand moulds for pipelines. Specifications
Дата актуализации текста: 19.06.2012
Дата актуализации описания: 19.06.2012
Дата введения в действие: 01.01.1990
Область и условия применения: Настоящий стандарт распространяется на части соединительные чугунные, изготовленные литьем в песчаные формы для трубопроводов
Взамен в части: ГОСТ 5525-61, кроме условных графических обозначений


ГОСТ 5525-88
ГОСТ 5525-88
ГОСТ 5525-88
ГОСТ 5525-88
ГОСТ 5525-88
ГОСТ 5525-88
ГОСТ 5525-88
ГОСТ 5525-88
ГОСТ 5525-88
ГОСТ 5525-88
ГОСТ 5525-88
ГОСТ 5525-88
ГОСТ 5525-88
ГОСТ 5525-88
ГОСТ 5525-88
ГОСТ 5525-88
ГОСТ 5525-88
ГОСТ 5525-88
ГОСТ 5525-88
ГОСТ 5525-88
ГОСТ 5525-88
ГОСТ 5525-88
ГОСТ 5525-88
ГОСТ 5525-88
ГОСТ 5525-88
ГОСТ 5525-88
ГОСТ 5525-88
ГОСТ 5525-88
ГОСТ 5525-88
ГОСТ 5525-88
ГОСТ 5525-88
ГОСТ 5525-88
ГОСТ 5525-88
ГОСТ 5525-88
ГОСТ 5525-88
ГОСТ 5525-88
ГОСТ 5525-88
ГОСТ 5525-88
ГОСТ 5525-88
ГОСТ 5525-88
ГОСТ 5525-88
ГОСТ 5525-88
ГОСТ 5525-88
ГОСТ 5525-88
Автор: 
Домашняя страница автора: 

ГОСТ 5468-88

E-mail автора: 

Проволока игольная. Технические условия

Обозначение: ГОСТ 5468-88
Статус: действующий
Название рус.: Проволока игольная. Технические условия
Название англ.: Needle wire. Specifications
Дата актуализации текста: 19.06.2012
Дата актуализации описания: 19.06.2012
Дата введения в действие: 01.01.1991
Область и условия применения: Настоящий стандарт распространяется на стальную углеродистую проволоку круглого сечения для изготовления изделий, применяемых в текстильной, легкой промышленности и для технических игл
Взамен: ГОСТ 5468-60
Список изменений: №0 от 01.05.2004 (рег. 01.05.2004) «Ограничение срока действия снято»
№1 от 01.01.1991 (рег. 27.02.1990) «Текстовое изменение; Дата введения перенесена»
№2 от 01.01.1993 (рег. 29.12.1991) «Срок действия продлен»
Приложение №1: Изменение к ГОСТ 5468-88. Поправка к изменению


ГОСТ 5468-88
ГОСТ 5468-88
ГОСТ 5468-88
ГОСТ 5468-88
ГОСТ 5468-88
ГОСТ 5468-88
ГОСТ 5468-88
ГОСТ 5468-88
ГОСТ 5468-88
ГОСТ 5468-88
ГОСТ 5468-88
ГОСТ 5468-88


Изменение к ГОСТ 5468-88. Поправка к изменению

Обозначение: Изменение к ГОСТ 5468-88. Поправка к изменению
Дата введения в действие: 01.05.2004
Дата актуализации: 15.01.2008


Изменение к ГОСТ 5468-88. Поправка к изменению
Автор: 
Домашняя страница автора: 

Страницы