Наша группа Вконтакте vk.com/4ertimcom

ГОСТ 6001-10000

ГОСТ 8090-73

E-mail автора: 

Лампы приемно-усилительные и генераторные мощностью, продолжительно рассеиваемой анодом, до 25 Вт . Методы измерения тока и напряжения накала

Обозначение: ГОСТ 8090-73
Статус: действующий
Название рус.: Лампы приемно-усилительные и генераторные мощностью, продолжительно рассеиваемой анодом, до 25 Вт . Методы измерения тока и напряжения накала
Название англ.: Receiving and transmitting tubes and valves with long anode dissipation up to 25 W. Method of measurement of filament or heater voltage and current
Дата актуализации текста: 19.06.2012
Дата актуализации описания: 19.06.2012
Дата введения в действие: 01.07.1974
Область и условия применения: Настоящий стандарт распространяется на лампы приемно-усилительные, электрометрические и генераторные мощностью, продолжительно рассеиваемой анодом, до 25 Вт и устанавливает методы измерения тока и напряжения накала
Взамен: ГОСТ 8090-63
Список изменений: №1 от 01.05.1982 (рег. 22.12.1981) «Срок действия продлен»


ГОСТ 8090-73
ГОСТ 8090-73
ГОСТ 8090-73
ГОСТ 8090-73
Автор: 
Домашняя страница автора: 

ГОСТ 7197-73

E-mail автора: 

4-нитротолуол технический. Технические условия

Обозначение: ГОСТ 7197-73
Статус: действующий
Название рус.: 4-нитротолуол технический. Технические условия
Название англ.: Technical 4-nitrotoluol. Specifications
Дата актуализации текста: 19.06.2012
Дата актуализации описания: 19.06.2012
Дата введения в действие: 01.01.1975
Область и условия применения: Настоящий стандарт распространяется на технический 4-нитротолуол, применяемый в качестве исходного вещества в производстве промежуточных продуктов для красителей и фармацевтических препаратов
Взамен: ГОСТ 7197-61
Список изменений: №1 от 01.07.1981 (рег. 30.03.1981) «Срок действия продлен»
№2 от 01.10.1986 (рег. 25.03.1986) «Срок действия продлен»
№3 от 01.10.1991 (рег. 03.04.1991) «Срок действия продлен»


ГОСТ 7197-73
ГОСТ 7197-73
ГОСТ 7197-73
ГОСТ 7197-73
ГОСТ 7197-73
ГОСТ 7197-73
ГОСТ 7197-73
Автор: 
Домашняя страница автора: 

ГОСТ 7480-73

E-mail автора: 

Проволока полиграфическая. Технические условия

Обозначение: ГОСТ 7480-73
Статус: действующий
Название рус.: Проволока полиграфическая. Технические условия
Название англ.: Polygraphic wire. Specifications
Дата актуализации текста: 19.06.2012
Дата актуализации описания: 19.06.2012
Дата введения в действие: 01.01.1975
Область и условия применения: Настоящий стандарт распространяется на круглую стальную проволоку, предназначенную для сшивания полиграфической, беловой и картонажной продукции
Взамен: ГОСТ 7480-55
Список изменений: №1 от 01.01.1982 (рег. 02.09.1981) «Срок действия продлен»
№2 от 01.11.1984 (рег. 29.04.1984) «Срок действия продлен»
№3 от 01.01.1990 (рег. 14.12.1988) «Срок действия продлен»


ГОСТ 7480-73
ГОСТ 7480-73
ГОСТ 7480-73
ГОСТ 7480-73
ГОСТ 7480-73
ГОСТ 7480-73
Автор: 
Домашняя страница автора: 

ГОСТ 7180-73

E-mail автора: 

Огурцы соленые. Технические условия

Обозначение: ГОСТ 7180-73
Статус: утратил силу в РФ
Название рус.: Огурцы соленые. Технические условия
Название англ.: Pickled cucumbers. Specifications
Дата актуализации текста: 19.06.2012
Дата актуализации описания: 19.06.2012
Дата введения в действие: 01.07.1975
Область и условия применения: Настоящий стандарт распространяется на соленые огурцы, приготовленные из свежих огурцов с прибавлением к ним приправ и пряностей, залитых раствором поваренной соли и подвергнутых молочнокислому брожению
Взамен: ГОСТ 7180-54
Список изменений: №0 от 01.01.2012 (рег. 26.11.2010) «Поправка к изменению»
№1 от 01.09.1985 (рег. 15.03.1996) «Срок действия продлен»
№2 от 01.03.1987 (рег. 23.10.1986) «Срок действия продлен»
№3 от 01.07.1990 (рег. 02.02.1990) «Срок действия продлен»


ГОСТ 7180-73
ГОСТ 7180-73
ГОСТ 7180-73
ГОСТ 7180-73
ГОСТ 7180-73
ГОСТ 7180-73
ГОСТ 7180-73
Автор: 
Домашняя страница автора: 

ГОСТ 6611.0-73

E-mail автора: 

Нити текстильные. Правила приемки

Обозначение: ГОСТ 6611.0-73
Статус: действующий
Название рус.: Нити текстильные. Правила приемки
Название англ.: Textile threads. Rules of acceptance
Дата актуализации текста: 19.06.2012
Дата актуализации описания: 19.06.2012
Дата введения в действие: 01.01.1976
Область и условия применения: Настоящий стандарт распространяется на пряжу (одиночную и крученую) из натуральных, химических волокон и смешанную и нити (мононити, комплексные, крученые комплексные, крученые комбинированные, текстурированные) натуральные, химические и неоднородные и устанавливает правила приемки партии текстильных нитей.
Стандарт не распространяется на стеклянные и металлические нити и асбестовую пряжу
Взамен: ГОСТ 6611.0-69 ГОСТ 6611.6-69
Взамен в части: ГОСТ 6611.1-69 в части разд. 1
Список изменений: №1 от 01.03.1981 (рег. 17.11.1980) «Срок действия продлен»
№2 от 01.01.1983 (рег. 20.11.1981) «Срок действия продлен»
№3 от 01.02.1986 (рег. 27.09.1985) «Срок действия продлен»
№4 от 01.03.1991 (рег. 26.09.1990) «Срок действия продлен»


ГОСТ 6611.0-73
ГОСТ 6611.0-73
ГОСТ 6611.0-73
ГОСТ 6611.0-73
ГОСТ 6611.0-73
ГОСТ 6611.0-73
ГОСТ 6611.0-73
Автор: 
Домашняя страница автора: 

ГОСТ 9428-73

E-mail автора: 

Реактивы. Кремний (IV) оксид. Технические условия

Обозначение: ГОСТ 9428-73
Статус: действующий
Название рус.: Реактивы. Кремний (IV) оксид. Технические условия
Название англ.: Reagents. Silicon dioxide. Specifications
Дата актуализации текста: 19.06.2012
Дата актуализации описания: 19.06.2012
Дата введения в действие: 01.01.1975
Область и условия применения: Настоящий стандарт распространяется на оксид кремния (IV) (безводную кремневую кислоту), представляющий собой белый кристаллический порошок со сростками кристаллов различной формы и размеров, нерастворим в азотной, серной и соляной кислотах, растворим во фтористо-водородной кислоте и в растворах щелочей
Взамен: ГОСТ 9428-60
Список изменений: №1 от 01.01.1980 (рег. 09.08.1979) «Срок действия продлен»
№2 от 01.01.1990 (рег. 28.06.1989) «Поправка»


ГОСТ 9428-73
ГОСТ 9428-73
ГОСТ 9428-73
ГОСТ 9428-73
ГОСТ 9428-73
ГОСТ 9428-73
ГОСТ 9428-73
ГОСТ 9428-73
ГОСТ 9428-73
ГОСТ 9428-73
ГОСТ 9428-73
Автор: 
Домашняя страница автора: 

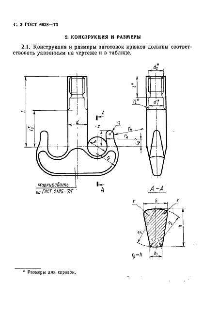
ГОСТ 6628-73

E-mail автора: 

Крюки двурогие. Заготовки. Типы. Конструкция и размеры

Обозначение: ГОСТ 6628-73
Статус: действующий
Название рус.: Крюки двурогие. Заготовки. Типы. Конструкция и размеры
Название англ.: Ramshorn hooks. Blanks. Type. Construction and dimensions
Дата актуализации текста: 19.06.2012
Дата актуализации описания: 19.06.2012
Дата введения в действие: 01.01.1975
Область и условия применения: Настоящий стандарт распространяется на заготовки двурогих кованых и штампованных крюков с цилиндрическим хвостовиком, применяемых в грузоподъемных машинах
Взамен: ГОСТ 6628-63
Список изменений: №1 от 01.06.1992 (рег. 25.12.1991) «Срок действия продлен»


ГОСТ 6628-73
ГОСТ 6628-73
ГОСТ 6628-73
ГОСТ 6628-73
ГОСТ 6628-73
ГОСТ 6628-73
ГОСТ 6628-73
ГОСТ 6628-73
Автор: 
Домашняя страница автора: 

ГОСТ 7676-73

E-mail автора: 

Канаты стальные. Канат закрытый несущий с двумя слоями клиновидной и одним слоем зетобразной проволоки и сердечником типа ТК. Сортамент

Обозначение: ГОСТ 7676-73
Статус: действующий
Название рус.: Канаты стальные. Канат закрытый несущий с двумя слоями клиновидной и одним слоем зетобразной проволоки и сердечником типа ТК. Сортамент
Название англ.: Steel wire ropes. Locked conveying wire rope with two layers of V-shaped wire, one layer of Z-wire and type TK core. Dimensions
Дата актуализации текста: 19.06.2012
Дата актуализации описания: 19.06.2012
Дата введения в действие: 01.01.1975
Область и условия применения: Настоящий стандарт распространяется на стальные закрытые несущие канаты с двумя слоями клиновидной и одним слоем зетобразной проволоки и сердечниками из круглых проволок с точечным касанием типа ТК конструкции 1+6+12, 1+6+12+18 и 1+6+12+18+24
Взамен: ГОСТ 7676-55
Список изменений: №1 от 01.09.1985 (рег. 25.03.1985) «Срок действия продлен»
№2 от 01.07.1990 (рег. 19.12.1989) «Срок действия продлен»


ГОСТ 7676-73
ГОСТ 7676-73
ГОСТ 7676-73
Автор: 
Домашняя страница автора: 

ГОСТ 8818-73

E-mail автора: 

Металлы. Метод испытания на расплющивание

Обозначение: ГОСТ 8818-73
Статус: действующий
Название рус.: Металлы. Метод испытания на расплющивание
Название англ.: Flattening test of metals
Дата актуализации текста: 19.06.2012
Дата актуализации описания: 19.06.2012
Дата введения в действие: 01.01.1974
Область и условия применения: Настоящий стандарт распространяется на прутки и готовые заклепки и устанавливает метод испытания металла на расплющивание для определения способности металла к деформации и для выявления дефектов поверхности изделий
Взамен: ГОСТ 8818-58
Список изменений: №1 от 01.10.1987 (рег. 27.04.1987) «Срок действия продлен»


ГОСТ 8818-73
ГОСТ 8818-73
ГОСТ 8818-73
ГОСТ 8818-73
ГОСТ 8818-73
ГОСТ 8818-73
ГОСТ 8818-73
Автор: 
Домашняя страница автора: 

ГОСТ 9181-74

E-mail автора: 

Приборы электроизмерительные. Упаковка, маркировка, транспортирование и хранение

Обозначение: ГОСТ 9181-74
Статус: действующий
Название рус.: Приборы электроизмерительные. Упаковка, маркировка, транспортирование и хранение
Название англ.: Electrical measuring instruments. Packing, marking, transport and storage
Дата актуализации текста: 19.06.2012
Дата актуализации описания: 19.06.2012
Дата введения в действие: 01.01.1975
Область и условия применения: Настоящий стандарт распространяется на электроизмерительные приборы и их вспомогательные части .
Стандарт не распространяется на изделия, предназначенные для выставок, и изделия с использованием радиоактивных изотопов
Взамен: ГОСТ 9181-59
Список изменений: №1 от 01.10.1983 (рег. 06.05.1983) «Срок действия продлен»
№2 от 01.07.1988 (рег. 16.12.1987) «Срок действия продлен»


ГОСТ 9181-74
ГОСТ 9181-74
ГОСТ 9181-74
ГОСТ 9181-74
ГОСТ 9181-74
ГОСТ 9181-74
ГОСТ 9181-74
ГОСТ 9181-74
ГОСТ 9181-74
ГОСТ 9181-74
ГОСТ 9181-74
ГОСТ 9181-74
Автор: 
Домашняя страница автора: 

Страницы