Наша группа Вконтакте vk.com/4ertimcom

ГОСТ 6001-10000

ГОСТ 9090-2000

E-mail автора: 

Парафины нефтяные. Метод определения содержания масла

Обозначение: ГОСТ 9090-2000
Статус: действующий
Название рус.: Парафины нефтяные. Метод определения содержания масла
Название англ.: Petroleum paraffins. Method for determination of oil content
Дата актуализации текста: 19.06.2012
Дата актуализации описания: 19.06.2012
Дата введения в действие: 01.07.2001
Область и условия применения: Настоящий стандарт устанавливает метод определения масла в нефтяных парафинах с температурой плавления 30 град. С и выше и массовой долей масла не более 15 %
Взамен: ГОСТ 9090-81
Список изменений: №0 от 15.07.2001 (рег. 15.07.2001) «Дата введения перенесена»
Приложение №1: Поправка к ГОСТ 9090-2000


ГОСТ 9090-2000
ГОСТ 9090-2000
ГОСТ 9090-2000
ГОСТ 9090-2000
ГОСТ 9090-2000
ГОСТ 9090-2000
ГОСТ 9090-2000
ГОСТ 9090-2000
ГОСТ 9090-2000
ГОСТ 9090-2000
ГОСТ 9090-2000


Поправка к ГОСТ 9090-2000

Обозначение: Поправка к ГОСТ 9090-2000
Дата введения в действие: 15.07.2001
Дата актуализации: 15.01.2008


Поправка к ГОСТ 9090-2000
Автор: 
Домашняя страница автора: 

ГОСТ 6674.2-96

E-mail автора: 

Сплавы медно-фосфористые. Метод определения меди

Обозначение: ГОСТ 6674.2-96
Статус: действующий
Название рус.: Сплавы медно-фосфористые. Метод определения меди
Название англ.: Copper-phosphorus alloys. Method for determination of copper
Дата актуализации текста: 19.06.2012
Дата актуализации описания: 19.06.2012
Дата введения в действие: 01.07.2001
Область и условия применения: Настоящий стандарт устанавливает электрогравиметрический метод определения меди при ее содержании свыше 80 % в медно-фосфористых сплавах
Взамен: ГОСТ 6674.2-74


ГОСТ 6674.2-96
ГОСТ 6674.2-96
ГОСТ 6674.2-96
ГОСТ 6674.2-96
Автор: 
Домашняя страница автора: 

ГОСТ 9479-98

E-mail автора: 

Блоки из горных пород для производства облицовочных, архитектурно-строительных, мемориальных и других изделий. Технические условия

Обозначение: ГОСТ 9479-98
Статус: действующий
Название рус.: Блоки из горных пород для производства облицовочных, архитектурно-строительных, мемориальных и других изделий. Технические условия
Название англ.: Rock bloks used for manufacture of facing, architectural and building, memorial and other products. Specifications
Дата актуализации текста: 19.06.2012
Дата актуализации описания: 19.06.2012
Дата введения в действие: 01.01.2001
Область и условия применения: Настоящий стандарт распространяется на блоки, добываемые из массива горных пород и предназначенные для изготовления облицовочных плит, архитектурно-строительных изделий, бортовых камней, брусчатых камней, заготовок для реставрационных работ, мемориальных изделий.
Стандарт не распространяется на стеновые блоки из природного камня
Взамен: ГОСТ 9479-84
Список изменений: №0 от 17.03.2003 (рег. 17.03.2003) «Дата введения перенесена»
Приложение №1: Поправка к ГОСТ 9479-98


ГОСТ 9479-98
ГОСТ 9479-98
ГОСТ 9479-98
ГОСТ 9479-98
ГОСТ 9479-98
ГОСТ 9479-98
ГОСТ 9479-98
ГОСТ 9479-98
ГОСТ 9479-98
ГОСТ 9479-98
ГОСТ 9479-98
ГОСТ 9479-98
ГОСТ 9479-98
ГОСТ 9479-98
ГОСТ 9479-98
ГОСТ 9479-98
ГОСТ 9479-98
ГОСТ 9479-98
ГОСТ 9479-98
ГОСТ 9479-98


Поправка к ГОСТ 9479-98

Обозначение: Поправка к ГОСТ 9479-98
Дата введения в действие: 17.03.2003
Дата актуализации: 15.01.2008


Поправка к ГОСТ 9479-98
Поправка к ГОСТ 9479-98
Автор: 
Домашняя страница автора: 

ГОСТ Р ИСО 9706-2000

E-mail автора: 

Информация документная. Бумага для документов. Требования к долговечности и методам испытаний

Обозначение: ГОСТ Р ИСО 9706-2000
Статус: действующий
Название рус.: Информация документная. Бумага для документов. Требования к долговечности и методам испытаний
Название англ.: Information for documents. Paper for documents. Requirements for permanence and test methods
Дата актуализации текста: 19.06.2012
Дата актуализации описания: 19.06.2012
Дата введения в действие: 01.07.2001
Область и условия применения: Настоящий стандарт распространяется на бумагу для документов многолетнего срока хранения в библиотеках, архивах и других специально предназначенных для этой цели помещениях без значительного изменения ее свойств и устанавливает требования к показателям, характеризующим долговечность бумаги, и методам их определения


ГОСТ Р ИСО 9706-2000
ГОСТ Р ИСО 9706-2000
ГОСТ Р ИСО 9706-2000
ГОСТ Р ИСО 9706-2000
ГОСТ Р ИСО 9706-2000
ГОСТ Р ИСО 9706-2000
ГОСТ Р ИСО 9706-2000
ГОСТ Р ИСО 9706-2000
ГОСТ Р ИСО 9706-2000
ГОСТ Р ИСО 9706-2000
ГОСТ Р ИСО 9706-2000
ГОСТ Р ИСО 9706-2000
Автор: 
Домашняя страница автора: 

ГОСТ 7076-99

E-mail автора: 

Материалы и изделия строительные. Метод определения теплопроводности и термического сопротивления при стационарном тепловом режиме

Обозначение: ГОСТ 7076-99
Статус: действующий
Название рус.: Материалы и изделия строительные. Метод определения теплопроводности и термического сопротивления при стационарном тепловом режиме
Название англ.: Building materials and products. Method of determination of steady-state thermal conductivity and thermal resistance
Дата актуализации текста: 19.06.2012
Дата актуализации описания: 19.06.2012
Дата введения в действие: 01.04.2000
Область и условия применения: Настоящий стандарт распространяется на строительные материалы и изделия, а также на материалы и изделия, предназначенные для тепловой изоляции промышленного оборудования и трубопроводов, и устанавливает метод определения их эффективной теплопроводности и термического сопротивления при средней температуре образца от минус 40 до + 200 град. С.
Стандарт не распространяется на материалы и изделия с теплопроводностью более 1,5 Вт/(м.К)
Взамен: ГОСТ 7076-87


ГОСТ 7076-99
ГОСТ 7076-99
ГОСТ 7076-99
ГОСТ 7076-99
ГОСТ 7076-99
ГОСТ 7076-99
ГОСТ 7076-99
ГОСТ 7076-99
ГОСТ 7076-99
ГОСТ 7076-99
ГОСТ 7076-99
ГОСТ 7076-99
ГОСТ 7076-99
ГОСТ 7076-99
ГОСТ 7076-99
ГОСТ 7076-99
ГОСТ 7076-99
ГОСТ 7076-99
ГОСТ 7076-99
ГОСТ 7076-99
ГОСТ 7076-99
ГОСТ 7076-99
ГОСТ 7076-99
ГОСТ 7076-99
ГОСТ 7076-99
ГОСТ 7076-99
ГОСТ 7076-99
Автор: 
Домашняя страница автора: 

ГОСТ 8262-90

E-mail автора: 

Решетки литейные выбивные. Основные параметры и размеры

Обозначение: ГОСТ 8262-90
Статус: действующий
Название рус.: Решетки литейные выбивные. Основные параметры и размеры
Название англ.: Shake-out foundry grids. Basic parameters and dimensions
Дата актуализации текста: 19.06.2012
Дата актуализации описания: 19.06.2012
Дата введения в действие: 01.07.1991
Область и условия применения: Настоящий стандарт распространяется на выбивные инерционные решетки, предназначенные для вибивки ьтливок из песчаных форм и отделения отливок и опок от формовочной и стержневой смесей
Взамен: ГОСТ 8262-75


ГОСТ 8262-90
ГОСТ 8262-90
ГОСТ 8262-90
ГОСТ 8262-90
Автор: 
Домашняя страница автора: 

ГОСТ 8286-90

E-mail автора: 

Консервы мясорастительные "Каша с мясом". Технические условия

Обозначение: ГОСТ 8286-90
Статус: действующий
Название рус.: Консервы мясорастительные "Каша с мясом". Технические условия
Название англ.: Canned meat with porridge. Specifications
Дата актуализации текста: 19.06.2012
Дата актуализации описания: 19.06.2012
Дата введения в действие: 01.01.1992
Область и условия применения: Настоящий стандарт распространяется на мясорастительные консервы, выработанные из крупы с мясом, герметически укупоренные и стерилизованные
Взамен: ГОСТ 8286-57


ГОСТ 8286-90
ГОСТ 8286-90
ГОСТ 8286-90
ГОСТ 8286-90
ГОСТ 8286-90
ГОСТ 8286-90
ГОСТ 8286-90
ГОСТ 8286-90
Автор: 
Домашняя страница автора: 

ГОСТ 7600-90

E-mail автора: 

Оборудование кузнечно-прессовое. Общие технические условия

Обозначение: ГОСТ 7600-90
Статус: действующий
Название рус.: Оборудование кузнечно-прессовое. Общие технические условия
Название англ.: Forging and pressing equipment. General specifications
Дата актуализации текста: 19.06.2012
Дата актуализации описания: 19.06.2012
Дата введения в действие: 01.07.1991
Область и условия применения: Настоящий стандарт распространяется на кузнечно-прессовое оборудование для всех климатических исполнений, предназначенное для нужд народного хозяйства и экспорта
Взамен: ГОСТ 7600-85
Список изменений: №1 от 01.05.1993 (рег. 15.10.1992) «Срок действия продлен»


ГОСТ 7600-90
ГОСТ 7600-90
ГОСТ 7600-90
ГОСТ 7600-90
ГОСТ 7600-90
ГОСТ 7600-90
ГОСТ 7600-90
ГОСТ 7600-90
ГОСТ 7600-90
ГОСТ 7600-90
ГОСТ 7600-90
ГОСТ 7600-90
ГОСТ 7600-90
ГОСТ 7600-90
ГОСТ 7600-90
Автор: 
Домашняя страница автора: 

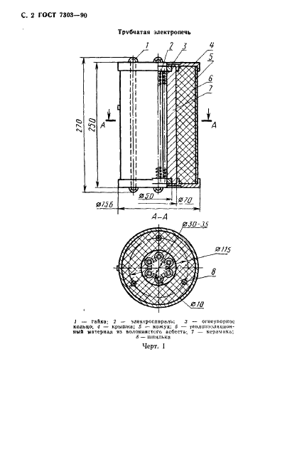
ГОСТ 7303-90

E-mail автора: 

Антрацит. Метод определения объемного выхода летучих веществ

Обозначение: ГОСТ 7303-90
Статус: действующий
Название рус.: Антрацит. Метод определения объемного выхода летучих веществ
Название англ.: Anthracite. Method for the determination of volatile matter volume yield
Дата актуализации текста: 19.06.2012
Дата актуализации описания: 19.06.2012
Дата введения в действие: 01.07.1991
Область и условия применения: Настоящий стандарт распространяется на антрацит и продукты термической переработки топлив, в которых выход летучих веществ составляет менее 8%
Взамен: ГОСТ 7303-77


ГОСТ 7303-90
ГОСТ 7303-90
ГОСТ 7303-90
ГОСТ 7303-90
ГОСТ 7303-90
ГОСТ 7303-90
ГОСТ 7303-90
ГОСТ 7303-90
ГОСТ 7303-90
ГОСТ 7303-90
ГОСТ 7303-90
Автор: 
Домашняя страница автора: 

ГОСТ 8024-90

E-mail автора: 

Аппараты и электротехнические устройства переменного тока на напряжение свыше 1000 В. Нормы нагрева при продолжительном режиме работы и методы испытаний

Обозначение: ГОСТ 8024-90
Статус: действующий
Название рус.: Аппараты и электротехнические устройства переменного тока на напряжение свыше 1000 В. Нормы нагрева при продолжительном режиме работы и методы испытаний
Название англ.: Alternating current apparatus and devices for voltages above 1000 V. Temperature rise at continuous duty. Norms and test methods
Дата актуализации текста: 19.06.2012
Дата актуализации описания: 19.06.2012
Дата введения в действие: 01.01.1991
Область и условия применения: Настоящий стандарт распространяется на электрические аппараты и электротехнические устройства переменного тока частоты 50 и 60 Гц на напряжение свыше 100 В, а именно: выключатели, разъединители, отделители, контакторы; комплектные распределительные устройства; трансформаторы тока (в том числе и трансформаторы напряжением 0,66 кВ в части методов испытаний, если это установлено в стандартах на трансформаторы тока конкретных типов); токопроводы; проходные изоляторы.
Стандарт не распространяется на аппараты специального назначения, например, подвергающиеся воздействию химически активной среды, взрывозащищенные и др.
Взамен: ГОСТ 8024-84


ГОСТ 8024-90
ГОСТ 8024-90
ГОСТ 8024-90
ГОСТ 8024-90
ГОСТ 8024-90
ГОСТ 8024-90
ГОСТ 8024-90
ГОСТ 8024-90
ГОСТ 8024-90
ГОСТ 8024-90
ГОСТ 8024-90
ГОСТ 8024-90
ГОСТ 8024-90
ГОСТ 8024-90
ГОСТ 8024-90
ГОСТ 8024-90
ГОСТ 8024-90
ГОСТ 8024-90
ГОСТ 8024-90
Автор: 
Домашняя страница автора: 

Страницы