Наша группа Вконтакте vk.com/4ertimcom

ГОСТ 6001-10000

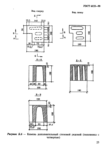
ГОСТ 6133-99

E-mail автора: 

Камни бетонные стеновые. Технические условия

Обозначение: ГОСТ 6133-99
Статус: действующий
Название рус.: Камни бетонные стеновые. Технические условия
Название англ.: Concrete wall stone. Specifications
Дата актуализации текста: 19.06.2012
Дата актуализации описания: 19.06.2012
Дата введения в действие: 01.01.2002
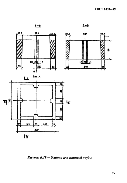
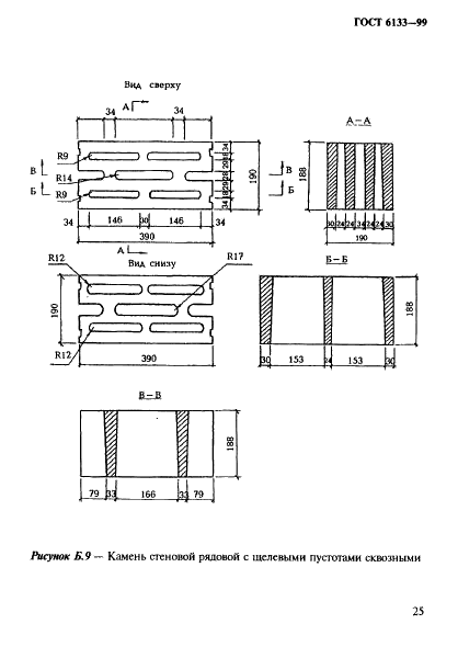
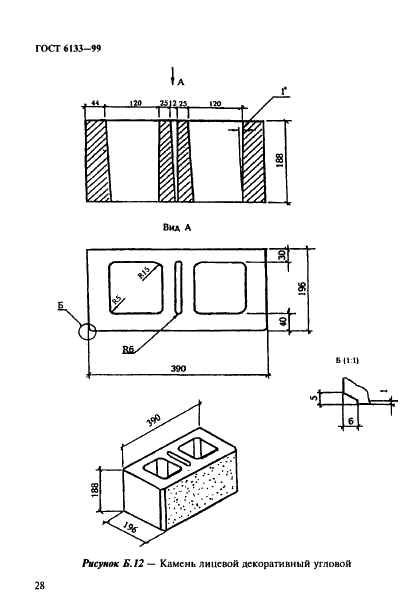
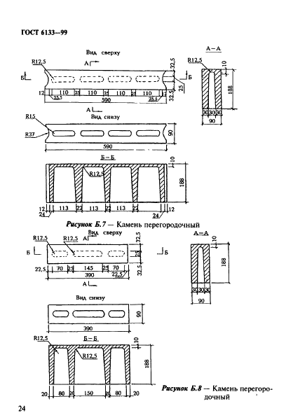
Область и условия применения: Настоящий стандарт распространяется на стеновые бетонные камни, изготовленные вибропрессованием, прессованием, формованием или другими способами из легких, тяжелых и мелкозернистых бетонов.
Камни применяют в соответствии с действующими строительными нормами и правилами при возведении стен и других конструкций зданий и сооружений различного назначения
Взамен: ГОСТ 6133-84
Список изменений: №0 от 01.07.2002 (рег. 01.07.2002) «Дата введения перенесена»
Приложение №1: Поправка к ГОСТ 6133-99


ГОСТ 6133-99
ГОСТ 6133-99
ГОСТ 6133-99
ГОСТ 6133-99
ГОСТ 6133-99
ГОСТ 6133-99
ГОСТ 6133-99
ГОСТ 6133-99
ГОСТ 6133-99
ГОСТ 6133-99
ГОСТ 6133-99
ГОСТ 6133-99
ГОСТ 6133-99
ГОСТ 6133-99
ГОСТ 6133-99
ГОСТ 6133-99
ГОСТ 6133-99
ГОСТ 6133-99
ГОСТ 6133-99
ГОСТ 6133-99
ГОСТ 6133-99
ГОСТ 6133-99
ГОСТ 6133-99
ГОСТ 6133-99
ГОСТ 6133-99
ГОСТ 6133-99
ГОСТ 6133-99
ГОСТ 6133-99
ГОСТ 6133-99
ГОСТ 6133-99
ГОСТ 6133-99
ГОСТ 6133-99
ГОСТ 6133-99
ГОСТ 6133-99
ГОСТ 6133-99
ГОСТ 6133-99
ГОСТ 6133-99
ГОСТ 6133-99
ГОСТ 6133-99
ГОСТ 6133-99
ГОСТ 6133-99
ГОСТ 6133-99
ГОСТ 6133-99
ГОСТ 6133-99


Поправка к ГОСТ 6133-99

Обозначение: Поправка к ГОСТ 6133-99
Дата введения в действие: 01.07.2002
Дата актуализации: 15.01.2008


Поправка к ГОСТ 6133-99
Автор: 
Домашняя страница автора: 

ГОСТ 8047-2001

E-mail автора: 

Бумага и картон. Отбор проб для определения среднего качества

Обозначение: ГОСТ 8047-2001
Статус: действующий
Название рус.: Бумага и картон. Отбор проб для определения среднего качества
Название англ.: Paper and board. Sampling to determine average quality
Дата актуализации текста: 19.06.2012
Дата актуализации описания: 19.06.2012
Дата введения в действие: 01.01.2003
Область и условия применения: Настоящий стандарт устанавливает методы отбора проб от партии бумаги или картона, или изделий из них, включая тарный, плоский склеенный и гофрированный картон, для определения соответствия среднего качества продукции установленным требованиям.
Настоящий метод не пригоден для определения колебаний значений показателей качества продукции в одной партии
Взамен: ГОСТ 8047-93


ГОСТ 8047-2001
ГОСТ 8047-2001
ГОСТ 8047-2001
ГОСТ 8047-2001
ГОСТ 8047-2001
ГОСТ 8047-2001
ГОСТ 8047-2001
ГОСТ 8047-2001
Автор: 
Домашняя страница автора: 

ГОСТ 8335-96

E-mail автора: 

Пирометры визуальные с исчезающей нитью. Общие технические условия

Обозначение: ГОСТ 8335-96
Статус: действующий
Название рус.: Пирометры визуальные с исчезающей нитью. Общие технические условия
Название англ.: Visual disappearing filament pyrometers. General specifications
Дата актуализации текста: 19.06.2012
Дата актуализации описания: 19.06.2012
Дата введения в действие: 01.01.2004
Область и условия применения: Настоящий стандарт распространяется на визуальные общепромышленные пирометры, а также пирометры для измерения температуры малых объектов, измеряющие яркостную температуру жидких и твердых тел по их тепловому излучению в видимой и инфракрасной областях спектра и использующие принцип исчезающей нити пирометрической лампочки накала
Взамен: ГОСТ 8335-81
Список изменений: №0 от 01.05.2004 (рег. 01.05.2004) «Дата введения перенесена»
№0 от 01.07.2005 (рег. 01.07.2005) «Дата введения перенесена»
Приложение №1: Поправка к ГОСТ 8335-96
Приложение №2: Поправка к ГОСТ 8335-96


ГОСТ 8335-96
ГОСТ 8335-96
ГОСТ 8335-96
ГОСТ 8335-96
ГОСТ 8335-96
ГОСТ 8335-96
ГОСТ 8335-96
ГОСТ 8335-96
ГОСТ 8335-96
ГОСТ 8335-96
ГОСТ 8335-96
ГОСТ 8335-96
ГОСТ 8335-96
ГОСТ 8335-96


Поправка к ГОСТ 8335-96

Обозначение: Поправка к ГОСТ 8335-96
Дата введения в действие: 01.07.2005
Дата актуализации: 12.10.2010


Поправка к ГОСТ 8335-96


Поправка к ГОСТ 8335-96

Обозначение: Поправка к ГОСТ 8335-96
Дата введения в действие: 01.05.2004
Дата актуализации: 12.10.2010


Поправка к ГОСТ 8335-96
Автор: 
Домашняя страница автора: 

ГОСТ 7006-72

E-mail автора: 

Покровы защитные кабелей. Конструкция и типы, технические требования и методы испытаний

Обозначение: ГОСТ 7006-72
Статус: действующий
Название рус.: Покровы защитные кабелей. Конструкция и типы, технические требования и методы испытаний
Название англ.: Protective coverings of cables. Design and types, technical requirements and test methods
Дата актуализации текста: 19.06.2012
Дата актуализации описания: 19.06.2012
Дата введения в действие: 01.01.1975
Область и условия применения: Настоящий стандарт распространяется на защитные покровы, предназначенные для защиты кабелей от механических повреждений и от коррозии в течение срока службы кабелей, установленного в нормативно-технической документации на конкретные изделия.
Стандарт не распространяется на защитные покровы маслонаполненных кабелей
Взамен: ГОСТ 7006-62
Список изменений: №1 от 01.06.1979 (рег. 24.01.1979) «Срок действия продлен»
№2 от 01.01.1984 (рег. 25.07.1983) «Срок действия продлен»
№3 от 01.01.1989 (рег. 22.06.1988) «Поправка»
№4 от 01.06.1990 (рег. 28.12.1989) «Поправка»
№5 от 01.01.2004 (рег. 27.06.2003) «Текстовое изменение; Изменены ссылочные НД»
Приложение №1: Изменение №5 к ГОСТ 7006-72


ГОСТ 7006-72
ГОСТ 7006-72
ГОСТ 7006-72
ГОСТ 7006-72
ГОСТ 7006-72
ГОСТ 7006-72
ГОСТ 7006-72
ГОСТ 7006-72
ГОСТ 7006-72
ГОСТ 7006-72
ГОСТ 7006-72
ГОСТ 7006-72
ГОСТ 7006-72
ГОСТ 7006-72
ГОСТ 7006-72
ГОСТ 7006-72


Изменение №5 к ГОСТ 7006-72

Обозначение: Изменение №5 к ГОСТ 7006-72
Дата введения в действие: 01.01.2004
Дата актуализации: 15.01.2008


Изменение №5 к ГОСТ 7006-72
Изменение №5 к ГОСТ 7006-72
Изменение №5 к ГОСТ 7006-72
Изменение №5 к ГОСТ 7006-72
Автор: 
Домашняя страница автора: 

ГОСТ 8714-72

E-mail автора: 

Жир пищевой из рыбы и морских млекопитающих. Технические условия

Обозначение: ГОСТ 8714-72
Статус: действующий
Название рус.: Жир пищевой из рыбы и морских млекопитающих. Технические условия
Название англ.: Fish and marine mammals food fat. Specifications
Дата актуализации текста: 19.06.2012
Дата актуализации описания: 19.06.2012
Дата введения в действие: 01.07.1973
Область и условия применения: Настоящий стандарт распространяется на жиры морских млекопитающих и рыб, предназначенные для производства твердых гидрированных жиров (саломасов) и других пищевых продуктов
Взамен: ГОСТ 8714-58
Заменяющий в части: ГОСТ 7631-85 в части правил приемки и методов отбора проб; ГОСТ 7636-85 в части разд. 3, пп. 3.3 - 3.8
Список изменений: №1 от 01.01.1985 (рег. 23.07.1984) «Срок действия продлен»
№2 от 01.01.1990 (рег. 13.06.1989) «Срок действия продлен»


ГОСТ 8714-72
ГОСТ 8714-72
ГОСТ 8714-72
ГОСТ 8714-72
Автор: 
Домашняя страница автора: 

ГОСТ 8117-74

E-mail автора: 

Колокола судовые. Технические условия

Обозначение: ГОСТ 8117-74
Статус: действующий
Название рус.: Колокола судовые. Технические условия
Название англ.: Ship's bells. Specifications
Дата актуализации текста: 19.06.2012
Дата актуализации описания: 19.06.2012
Дата введения в действие: 01.01.1975
Область и условия применения: Настоящий стандарт распространяется на колокола, применяемые для звуковой сигнализации на кораблях, судах и плавсредствах.
Стандарт устанавливает требования к колоколам, изготовляемым для нужд народного хозяйства и экспорта
Взамен: ГОСТ 8117-56
Список изменений: №1 от 01.08.1976 (рег. 20.05.1976) «Срок действия продлен»
№2 от 01.01.1980 (рег. 29.11.1979) «Срок действия продлен»
№3 от 01.01.1985 (рег. 17.07.1984) «Срок действия продлен»
№4 от 01.03.1988 (рег. 12.10.1987) «Срок действия продлен»
№5 от 01.01.2002 (рег. 28.09.2001) «Текстовое изменение; Изменены ссылочные НД»
Приложение №1: Изменение №5 к ГОСТ 8117-74


ГОСТ 8117-74
ГОСТ 8117-74
ГОСТ 8117-74
ГОСТ 8117-74
ГОСТ 8117-74
ГОСТ 8117-74
ГОСТ 8117-74


Изменение №5 к ГОСТ 8117-74

Обозначение: Изменение №5 к ГОСТ 8117-74
Дата введения в действие: 01.01.2002
Дата актуализации: 15.01.2008


Изменение №5 к ГОСТ 8117-74
Изменение №5 к ГОСТ 8117-74
Автор: 
Домашняя страница автора: 

ГОСТ 7703-74

E-mail автора: 

Фигуры сигнальные судовые. Технические условия

Обозначение: ГОСТ 7703-74
Статус: действующий
Название рус.: Фигуры сигнальные судовые. Технические условия
Название англ.: Signalling shapes of ship. Specifications
Дата актуализации текста: 19.06.2012
Дата актуализации описания: 19.06.2012
Дата введения в действие: 01.01.1976
Область и условия применения: Настоящий стандарт распространяется на сигнальные фигуры, применяемые для зрительной связи на кораблях, судах и плавсредствах
Взамен: ГОСТ 7703-67
Список изменений: №1 от 01.01.1981 (рег. 17.01.1980) «Срок действия продлен»
№2 от 01.01.1983 (рег. 25.08.1982) «Срок действия продлен»
№3 от 01.01.1986 (рег. 17.07.1985) «Срок действия продлен»
№4 от 01.03.1988 (рег. 12.10.1987) «Срок действия продлен»
№5 от 01.07.2001 (рег. 14.03.2001) «Срок действия продлен»
Приложение №1: Изменение №5 к ГОСТ 7703-74


ГОСТ 7703-74
ГОСТ 7703-74
ГОСТ 7703-74
ГОСТ 7703-74
ГОСТ 7703-74
ГОСТ 7703-74
ГОСТ 7703-74


Изменение №5 к ГОСТ 7703-74

Обозначение: Изменение №5 к ГОСТ 7703-74
Дата введения в действие: 01.07.2001
Дата актуализации: 15.01.2008


Изменение №5 к ГОСТ 7703-74
Изменение №5 к ГОСТ 7703-74
Автор: 
Домашняя страница автора: 

ГОСТ 9812-74

E-mail автора: 

Битумы нефтяные изоляционные. Технические условия

Обозначение: ГОСТ 9812-74
Статус: действующий
Название рус.: Битумы нефтяные изоляционные. Технические условия
Название англ.: Petroleum insulating bitumens. Specifications
Дата актуализации текста: 19.06.2012
Дата актуализации описания: 19.06.2012
Дата введения в действие: 01.01.1976
Область и условия применения: Настоящий стандарт распространяется на нефтяные битумы, применяемые для изоляции трубопроводов от грунтовой коррозии.
Битумы получают окислением остаточных продуктов прямой перегонки нефти или их смесей с асфальтами и экстрактами масляного производства, применение продуктов крекинга не допускается
Взамен: ГОСТ 9812-61
Список изменений: №1 от 01.01.1981 (рег. 05.11.1980) «Срок действия продлен»
№2 от 01.01.1986 (рег. 01.03.1985) «Срок действия продлен»
№3 от 01.04.1990 (рег. 18.09.1989) «Срок действия продлен»
№4 от 01.07.2002 (рег. 17.10.2001) «Текстовое изменение; Изменены ссылочные НД»
Приложение №1: Изменение №4 к ГОСТ 9812-74


ГОСТ 9812-74
ГОСТ 9812-74
ГОСТ 9812-74
ГОСТ 9812-74
ГОСТ 9812-74
ГОСТ 9812-74
ГОСТ 9812-74


Изменение №4 к ГОСТ 9812-74

Обозначение: Изменение №4 к ГОСТ 9812-74
Дата введения в действие: 01.07.2002
Дата актуализации: 15.01.2008


Изменение №4 к ГОСТ 9812-74
Изменение №4 к ГОСТ 9812-74
Изменение №4 к ГОСТ 9812-74
Автор: 
Домашняя страница автора: 

ГОСТ 9389-75

E-mail автора: 

Проволока стальная углеродистая пружинная. Технические условия

Обозначение: ГОСТ 9389-75
Статус: действующий
Название рус.: Проволока стальная углеродистая пружинная. Технические условия
Название англ.: Carbon steel spring wire. Specifications
Дата актуализации текста: 19.06.2012
Дата актуализации описания: 19.06.2012
Дата введения в действие: 01.01.1977
Область и условия применения: Настоящий стандарт распространяется на стальную углеродистую холоднотянутую проволоку, применяемую для изготовления пружин, навиваемых в холодном состоянии и не подвергаемых закалке
Взамен: ГОСТ 9389-60
Список изменений: №0 от 16.04.2003 (рег. 16.04.2003) «Дата введения перенесена»
№0 от 01.09.1997 (рег. 01.09.1997) «Дата введения перенесена»
№0 от 03.04.2007 (рег. 03.04.2007) «Дата введения перенесена»
№1 от 01.05.1983 (рег. 09.02.1983) «Срок действия продлен»
№2 от 01.05.1985 (рег. 06.12.1984) «Срок действия продлен»
№3 от 01.01.1989 (рег. 21.12.1987) «Срок действия продлен»
№4 от 01.07.1990 (рег. 24.01.1990) «Срок действия продлен»
№5 от 01.09.2002 (рег. 14.03.2002) «Текстовое изменение; Изменены ссылочные НД»
Приложение №1: Изменение №5 к ГОСТ 9389-75
Приложение №2: Поправка к ГОСТ 9389-75
Приложение №3: Поправка к ГОСТ 9389-75


ГОСТ 9389-75
ГОСТ 9389-75
ГОСТ 9389-75
ГОСТ 9389-75
ГОСТ 9389-75
ГОСТ 9389-75
ГОСТ 9389-75
ГОСТ 9389-75
ГОСТ 9389-75
ГОСТ 9389-75
ГОСТ 9389-75
ГОСТ 9389-75
ГОСТ 9389-75
ГОСТ 9389-75


Изменение №5 к ГОСТ 9389-75

Обозначение: Изменение №5 к ГОСТ 9389-75
Дата введения в действие: 01.09.2002
Дата актуализации: 15.01.2008


Изменение №5 к ГОСТ 9389-75


Поправка к ГОСТ 9389-75

Обозначение: Поправка к ГОСТ 9389-75
Дата введения в действие: 03.04.2007
Дата актуализации: 12.10.2010


Поправка к ГОСТ 9389-75


Поправка к ГОСТ 9389-75

Обозначение: Поправка к ГОСТ 9389-75
Дата введения в действие: 16.04.2003
Дата актуализации: 12.10.2010


Поправка к ГОСТ 9389-75
Автор: 
Домашняя страница автора: 

ГОСТ 8273-75

E-mail автора: 

Бумага оберточная. Технические условия

Обозначение: ГОСТ 8273-75
Статус: действующий
Название рус.: Бумага оберточная. Технические условия
Название англ.: Packing paper. Specifications
Дата актуализации текста: 19.06.2012
Дата актуализации описания: 19.06.2012
Дата введения в действие: 01.01.1976
Область и условия применения: Настоящий стандарт распространяется на бумагу, предназначенную для упаковывания пищевых продуктов, медикаментов и промышленных изделий
Взамен: ГОСТ 8273-57
Список изменений: №0 от 15.10.2001 (рег. 15.10.2001) «Дата введения перенесена»
№1 от 01.01.1982 (рег. 19.09.1981) «Срок действия продлен»
№2 от 01.10.1985 (рег. 27.03.1985) «Срок действия продлен»
№3 от 01.11.1990 (рег. 27.03.1990) «Срок действия продлен»
Приложение №1: Поправка к ГОСТ 8273-75


ГОСТ 8273-75
ГОСТ 8273-75
ГОСТ 8273-75
ГОСТ 8273-75
ГОСТ 8273-75
ГОСТ 8273-75
ГОСТ 8273-75
ГОСТ 8273-75


Поправка к ГОСТ 8273-75

Обозначение: Поправка к ГОСТ 8273-75
Дата введения в действие: 15.10.2001
Дата актуализации: 15.01.2008


Поправка к ГОСТ 8273-75
Автор: 
Домашняя страница автора: 

Страницы