Наша группа Вконтакте vk.com/4ertimcom

ГОСТ 25001-30000

ГОСТ 27862-88

E-mail автора: 

Электрооборудование автомобилей. Выводы высокого напряжения для катушек и распределителей зажигания. Основные размеры

Обозначение: ГОСТ 27862-88
Статус: действующий
Название рус.: Электрооборудование автомобилей. Выводы высокого напряжения для катушек и распределителей зажигания. Основные размеры
Название англ.: Vehicle electrical equipment. High tension terminals for ignition coils and distributors. Basis dimensions
Дата актуализации текста: 19.06.2012
Дата актуализации описания: 19.06.2012
Дата введения в действие: 01.01.1989
Область и условия применения: Настоящий стандарт распространяется на катушки и распределители зажигания автомобильных двигателей внутреннего сгорания и устанавливает размеры выводов высокого напряжения


ГОСТ 27862-88
ГОСТ 27862-88
ГОСТ 27862-88
ГОСТ 27862-88
ГОСТ 27862-88
ГОСТ 27862-88
ГОСТ 27862-88
Автор: 
Домашняя страница автора: 

ГОСТ 27895-88

E-mail автора: 

Машины электрические вращающиеся. Встроенная температурная защита. Основные правила, распространяющиеся на температурно-токовые реле, используемые в системах температурной защиты

Обозначение: ГОСТ 27895-88
Статус: действующий
Название рус.: Машины электрические вращающиеся. Встроенная температурная защита. Основные правила, распространяющиеся на температурно-токовые реле, используемые в системах температурной защиты
Название англ.: Rotating electrical machines. Built-in thermal protection. General rules for thermal protectors used in thermal protection systems
Дата актуализации текста: 19.06.2012
Дата актуализации описания: 19.06.2012
Дата введения в действие: 01.01.1990
Область и условия применения: Настоящий стандарт распространяется на температурно-токовые реле, предназначенные для использования во вращающихся электрических машинах номинальным напряжением до 660 В включ., номинальной мощностью до 11 кВт включ. и соответствующих требованиям ГОСТ 183-74


ГОСТ 27895-88
ГОСТ 27895-88
ГОСТ 27895-88
ГОСТ 27895-88
ГОСТ 27895-88
ГОСТ 27895-88
ГОСТ 27895-88
ГОСТ 27895-88
ГОСТ 27895-88
ГОСТ 27895-88
ГОСТ 27895-88
ГОСТ 27895-88
ГОСТ 27895-88
ГОСТ 27895-88
ГОСТ 27895-88
ГОСТ 27895-88
ГОСТ 27895-88
ГОСТ 27895-88
ГОСТ 27895-88
ГОСТ 27895-88
ГОСТ 27895-88
ГОСТ 27895-88
ГОСТ 27895-88
ГОСТ 27895-88
Автор: 
Домашняя страница автора: 

ГОСТ 27579-88

E-mail автора: 

Фермы стальные стропильные из гнутосварных профилей прямоугольного сечения. Технические условия

Обозначение: ГОСТ 27579-88
Статус: утратил силу в РФ
Название рус.: Фермы стальные стропильные из гнутосварных профилей прямоугольного сечения. Технические условия
Название англ.: Rectangular formed-welded section roof trusses. Specifications
Дата актуализации текста: 19.06.2012
Дата актуализации описания: 19.06.2012
Дата введения в действие: 01.07.1988
Область и условия применения: Настоящий стандарт распространяется на стальные сварные стропильные фермы из гнутосварных профилей прямоугольного сечения (типа “Молодечно“) с уклоном верхнего пояса 1,5 %, предназначенные для отапливаемых зданий пролетами 18, 24 и 30 м, с рулонной или мастичной кровлей по стальным профилированным листам; с неагрессивными или слабоагрессивными средами; возводимые в любых климатических районах по ГОСТ 16350-80 и с сейсмичностью до 9 баллов включительно. Стандарт также распространяется на фермы для зданий с мостовыми кранами групп режимов работы 1К-6К по ГОСТ 25546-82 и подвесными кранами грузоподъемностью до 5 т. На фермах допускается располагать зенитные фонари, крышные вентиляторы, а в межферменном пространстве прокладывать воздуховоды и другие коммуникации
Список изменений: №0 от 01.01.2010 (рег. 06.04.2009) «Поправка к изменению»


ГОСТ 27579-88
ГОСТ 27579-88
ГОСТ 27579-88
ГОСТ 27579-88
ГОСТ 27579-88
ГОСТ 27579-88
ГОСТ 27579-88
ГОСТ 27579-88
ГОСТ 27579-88
ГОСТ 27579-88
ГОСТ 27579-88
ГОСТ 27579-88
ГОСТ 27579-88
ГОСТ 27579-88
ГОСТ 27579-88
ГОСТ 27579-88
ГОСТ 27579-88
ГОСТ 27579-88
ГОСТ 27579-88
Автор: 
Домашняя страница автора: 

ГОСТ 27774-88

E-mail автора: 

Свиноводство. Термины и определения

Обозначение: ГОСТ 27774-88
Статус: действующий
Название рус.: Свиноводство. Термины и определения
Название англ.: Pig-breeding. Terms and definitions
Дата актуализации текста: 19.06.2012
Дата актуализации описания: 19.06.2012
Дата введения в действие: 01.09.1988
Область и условия применения: Настоящий стандарт устанавливает термины и определения понятий в области свиноводства


ГОСТ 27774-88
ГОСТ 27774-88
ГОСТ 27774-88
ГОСТ 27774-88
ГОСТ 27774-88
ГОСТ 27774-88
ГОСТ 27774-88
ГОСТ 27774-88
ГОСТ 27774-88
ГОСТ 27774-88
ГОСТ 27774-88
ГОСТ 27774-88
ГОСТ 27774-88
ГОСТ 27774-88
ГОСТ 27774-88
Автор: 
Домашняя страница автора: 

ГОСТ 27620-88

E-mail автора: 

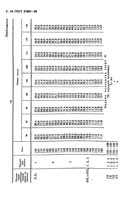
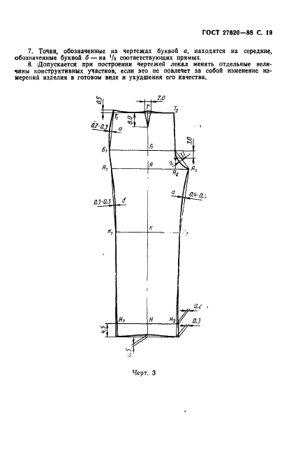
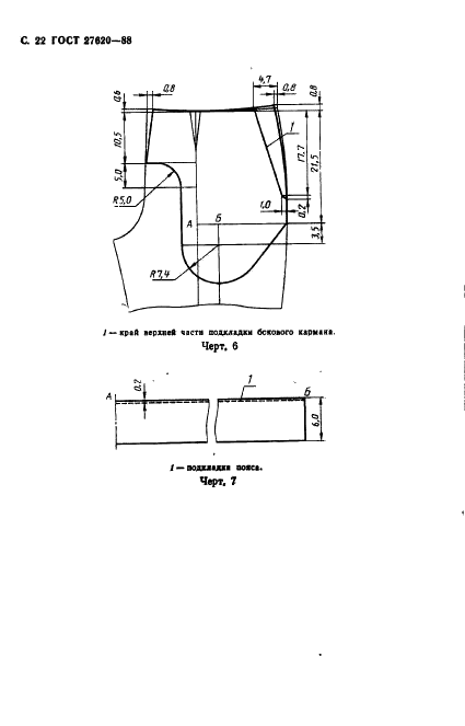
Брюки прямого покроя для военнослужащих срочной службы. Технические условия

Обозначение: ГОСТ 27620-88
Статус: действующий
Название рус.: Брюки прямого покроя для военнослужащих срочной службы. Технические условия
Название англ.: Trousers of straight cut for military men of urgent service. Specifications
Дата актуализации текста: 19.06.2012
Дата актуализации описания: 19.06.2012
Дата введения в действие: 01.07.1989
Область и условия применения: Настоящий стандарт распространяется на форменные брюки прямого покроя для военнослужащих срочной службы и курсантов военных училищ Советской Армии, Комитета государственной безопасности СССР и Министерства внутренних дел СССР


ГОСТ 27620-88
ГОСТ 27620-88
ГОСТ 27620-88
ГОСТ 27620-88
ГОСТ 27620-88
ГОСТ 27620-88
ГОСТ 27620-88
ГОСТ 27620-88
ГОСТ 27620-88
ГОСТ 27620-88
ГОСТ 27620-88
ГОСТ 27620-88
ГОСТ 27620-88
ГОСТ 27620-88
ГОСТ 27620-88
ГОСТ 27620-88
ГОСТ 27620-88
ГОСТ 27620-88
ГОСТ 27620-88
ГОСТ 27620-88
ГОСТ 27620-88
ГОСТ 27620-88
ГОСТ 27620-88
ГОСТ 27620-88
ГОСТ 27620-88
ГОСТ 27620-88
ГОСТ 27620-88
ГОСТ 27620-88
ГОСТ 27620-88
Автор: 
Домашняя страница автора: 

ГОСТ 27917-88

E-mail автора: 

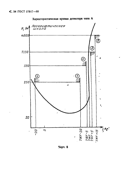
Машины электрические вращающиеся. Встроенная температурная защита. Термодетекторы и вспомогательная аппаратура управления, используемые в системах температурной защиты

Обозначение: ГОСТ 27917-88
Статус: действующий
Название рус.: Машины электрические вращающиеся. Встроенная температурная защита. Термодетекторы и вспомогательная аппаратура управления, используемые в системах температурной защиты
Название англ.: Rotating electrical machines. Built in thermal protection. Thermal detector and control units used in thermal protection systems
Дата актуализации текста: 19.06.2012
Дата актуализации описания: 19.06.2012
Дата введения в действие: 01.01.1990
Область и условия применения: Настоящий стандарт распространяется на вращающиеся электрические машины со встроенной температурной защитой


ГОСТ 27917-88
ГОСТ 27917-88
ГОСТ 27917-88
ГОСТ 27917-88
ГОСТ 27917-88
ГОСТ 27917-88
ГОСТ 27917-88
ГОСТ 27917-88
ГОСТ 27917-88
ГОСТ 27917-88
ГОСТ 27917-88
ГОСТ 27917-88
ГОСТ 27917-88
ГОСТ 27917-88
ГОСТ 27917-88
ГОСТ 27917-88
ГОСТ 27917-88
ГОСТ 27917-88
ГОСТ 27917-88
ГОСТ 27917-88
ГОСТ 27917-88
ГОСТ 27917-88
ГОСТ 27917-88
ГОСТ 27917-88
ГОСТ 27917-88
ГОСТ 27917-88
ГОСТ 27917-88
ГОСТ 27917-88
ГОСТ 27917-88
ГОСТ 27917-88
ГОСТ 27917-88
ГОСТ 27917-88
ГОСТ 27917-88
ГОСТ 27917-88
ГОСТ 27917-88
ГОСТ 27917-88
ГОСТ 27917-88
ГОСТ 27917-88
Автор: 
Домашняя страница автора: 

ГОСТ 27821-88

E-mail автора: 

Почвы. Определение суммы поглощенных оснований по методу Каппена

Обозначение: ГОСТ 27821-88
Статус: действующий
Название рус.: Почвы. Определение суммы поглощенных оснований по методу Каппена
Название англ.: Soils. Determination of base absorption sum by Kappen method
Дата актуализации текста: 19.06.2012
Дата актуализации описания: 19.06.2012
Дата введения в действие: 01.01.1990
Область и условия применения: Настоящий стандарт устанавливает метод определения суммы поглощенных оснований по Каппену в почвах при выполнении почвенно-агрохимических и мелиоративных обследований.
Стандарт не распространяется на карбонатные, засоленные и гипсосодержащие почвы


ГОСТ 27821-88
ГОСТ 27821-88
ГОСТ 27821-88
ГОСТ 27821-88
ГОСТ 27821-88
ГОСТ 27821-88
ГОСТ 27821-88
Автор: 
Домашняя страница автора: 

ГОСТ 27925-88

E-mail автора: 

Характеристики рабочие и конструкция электрических вентиляторов и регуляторов скорости к ним

Обозначение: ГОСТ 27925-88
Статус: действующий
Название рус.: Характеристики рабочие и конструкция электрических вентиляторов и регуляторов скорости к ним
Название англ.: Performances and construction of electric circulating fans and regulators
Дата актуализации текста: 19.06.2012
Дата актуализации описания: 19.06.2012
Дата введения в действие: 01.01.1990
Область и условия применения: Настоящий стандарт распространяется на вентиляторы с приводом от электродвигателя и регулятором скорости, используемые в цепях однофазного переменного или постоянного тока при напряжении, не превышающем 250 В: 1) вентиляторы для бытового и аналогичного применения: - потолочные, - настольные, - напольные, - настенные, - для вентиляционных каналов, - для перегородок (оконные и др.); 2) судовые вентиляторы: - потолочные, каютные.
Стандарт не распространяется на струйные и вытяжные вентиляторы, а также вентиляторы, предназначенные для работы в специфических условиях, таких, как коррозионная и взрывоопасная среды (пыль, пар или газ)
Список изменений: №1 от 01.07.1990 (рег. 04.10.1989) «Срок действия продлен»
№2 от 01.01.1993 (рег. 07.09.1992) «Срок действия продлен»


ГОСТ 27925-88
ГОСТ 27925-88
ГОСТ 27925-88
ГОСТ 27925-88
ГОСТ 27925-88
ГОСТ 27925-88
ГОСТ 27925-88
ГОСТ 27925-88
ГОСТ 27925-88
ГОСТ 27925-88
ГОСТ 27925-88
ГОСТ 27925-88
ГОСТ 27925-88
ГОСТ 27925-88
ГОСТ 27925-88
ГОСТ 27925-88
ГОСТ 27925-88
ГОСТ 27925-88
ГОСТ 27925-88
ГОСТ 27925-88
ГОСТ 27925-88
ГОСТ 27925-88
Автор: 
Домашняя страница автора: 

ГОСТ 27989-88

E-mail автора: 

Сосуды из стекла к бытовым термосам. Типы, параметры и размеры

Обозначение: ГОСТ 27989-88
Статус: действующий
Название рус.: Сосуды из стекла к бытовым термосам. Типы, параметры и размеры
Название англ.: Glass fillers for the domestic vacuum flasks. Types, parameters and sizes
Дата актуализации текста: 19.06.2012
Дата актуализации описания: 19.06.2012
Дата введения в действие: 01.01.1990
Область и условия применения: Настоящий стандарт распространяется на сосуды из стекла к бытовым термосам


ГОСТ 27989-88
ГОСТ 27989-88
ГОСТ 27989-88
ГОСТ 27989-88
ГОСТ 27989-88
ГОСТ 27989-88
ГОСТ 27989-88
Автор: 
Домашняя страница автора: 

ГОСТ 27876-88

E-mail автора: 

Оборудование приготовительное ткацкого и трикотажного производств и машины ткацкие. Термины и определения

Обозначение: ГОСТ 27876-88
Статус: действующий
Название рус.: Оборудование приготовительное ткацкого и трикотажного производств и машины ткацкие. Термины и определения
Название англ.: Machines for preparatory weaving and knitting industries and weaving machines, terms and definitions
Дата актуализации текста: 19.06.2012
Дата актуализации описания: 19.06.2012
Дата введения в действие: 01.07.1989
Область и условия применения: Настоящий стандарт устанавливает термины и определения понятий в области мотальных, сновальных, перегонных, шлихтовальных и ткацких машин
Список изменений: №1 от 01.01.1992 (рег. 26.04.1991) «Срок действия продлен»


ГОСТ 27876-88
ГОСТ 27876-88
ГОСТ 27876-88
ГОСТ 27876-88
ГОСТ 27876-88
ГОСТ 27876-88
ГОСТ 27876-88
ГОСТ 27876-88
ГОСТ 27876-88
ГОСТ 27876-88
ГОСТ 27876-88
ГОСТ 27876-88
ГОСТ 27876-88
ГОСТ 27876-88
ГОСТ 27876-88
ГОСТ 27876-88
ГОСТ 27876-88
ГОСТ 27876-88
ГОСТ 27876-88
ГОСТ 27876-88
ГОСТ 27876-88
ГОСТ 27876-88
ГОСТ 27876-88
ГОСТ 27876-88
ГОСТ 27876-88
ГОСТ 27876-88
ГОСТ 27876-88
ГОСТ 27876-88
ГОСТ 27876-88
ГОСТ 27876-88
ГОСТ 27876-88
ГОСТ 27876-88
ГОСТ 27876-88
Автор: 
Домашняя страница автора: 

Страницы