Наша группа Вконтакте vk.com/4ertimcom

ГОСТ 14990-69

E-mail автора: 

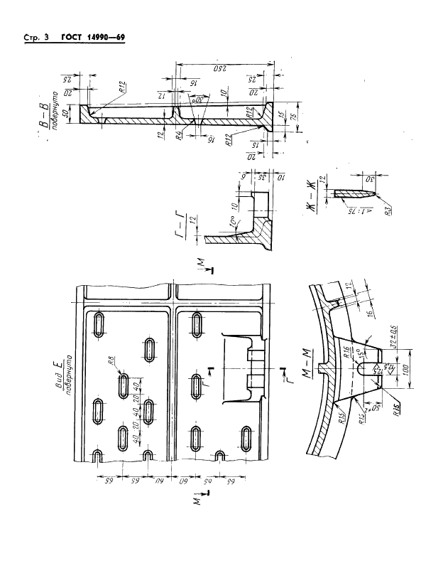
Опока литейная цельнолитая стальная круглая диаметром в свету 1200 мм, высотой 500 мм. Конструкция и размеры

Обозначение: ГОСТ 14990-69
Статус: действующий
Название рус.: Опока литейная цельнолитая стальная круглая диаметром в свету 1200 мм, высотой 500 мм. Конструкция и размеры
Название англ.: Circular steel all-cast moulding boxes having inside diameter 1200 mm, height 500 mm. Construction and dimensions
Дата актуализации текста: 19.06.2012
Дата актуализации описания: 19.06.2012
Дата введения в действие: 01.01.1971
Область и условия применения: Настоящий стандарт распространяется на литейную цельнолитую стальную круглую опоку, предназначенную для изготовления песчаных литейных форм при машинной, пескометной и ручной формовке.
Стандарт не распространяется на опоки, применяемые при формовке методом прессования под высоким удельным давлением
Взамен: МН 1995-61
Список изменений: №1 от 01.11.1980 (рег. 10.07.1980) «Срок действия продлен»


ГОСТ 14990-69
ГОСТ 14990-69
ГОСТ 14990-69
ГОСТ 14990-69
Автор: 
Домашняя страница автора: