Наша группа Вконтакте vk.com/4ertimcom

ГОСТ 2001-3000

ГОСТ 2603-79

E-mail автора: 

Реактивы. Ацетон. Технические условия

Обозначение: ГОСТ 2603-79
Статус: действующий
Название рус.: Реактивы. Ацетон. Технические условия
Название англ.: Reagents. Acetone. Specifications
Дата актуализации текста: 19.06.2012
Дата актуализации описания: 19.06.2012
Дата введения в действие: 01.07.1980
Область и условия применения: Настоящий стандарт распространяется на ацетон, который представляет собой прозрачную, бесцветную, легковоспламеняющуюся жидкость с характерным запахом, смешивающуюся в любых соотношениях с водой, спиртом и эфиром; растворяется в хлороформе
Взамен: ГОСТ 2603-71
Список изменений: №1 от 01.07.1985 (рег. 13.12.1984) «Срок действия продлен»
№2 от 01.02.1991 (рег. 17.08.1990) «Срок действия продлен»
№3 от 01.01.1993 (рег. 16.09.1992) «Срок действия продлен»


ГОСТ 2603-79
ГОСТ 2603-79
ГОСТ 2603-79
ГОСТ 2603-79
ГОСТ 2603-79
ГОСТ 2603-79
ГОСТ 2603-79
ГОСТ 2603-79
ГОСТ 2603-79
ГОСТ 2603-79
ГОСТ 2603-79
ГОСТ 2603-79
ГОСТ 2603-79
ГОСТ 2603-79
ГОСТ 2603-79
Автор: 
Домашняя страница автора: 

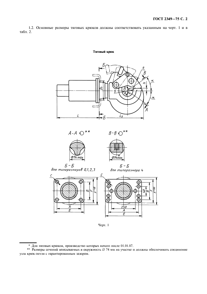
ГОСТ 2349-75

E-mail автора: 

Устройства тягово-сцепные системы "крюк-петля" автомобильных и тракторных поездов. Основные параметры и размеры. Технические требования

Обозначение: ГОСТ 2349-75
Статус: действующий
Название рус.: Устройства тягово-сцепные системы "крюк-петля" автомобильных и тракторных поездов. Основные параметры и размеры. Технические требования
Название англ.: System "hook-eye"drawbar couplings for road- and tractor-trailer trains. Basic parameters and dimensions. Technical requirements
Дата актуализации текста: 19.06.2012
Дата актуализации описания: 19.06.2012
Дата введения в действие: 01.01.1976
Область и условия применения: Настоящий стандарт распространяется на тягово-сцепные устройства, устанавливаемые на автомобилях, тракторах, гусеничных и колесных тягачах и на прицепах. Тягово-сцепным устройством для тягачей является тяговый крюк, для прицепов - сцепная петля и дышло.
Стандарт не распространяется на тягово-сцепные устройства:
а) автопоездов в составе тягача и прицепа-роспуска со складывающимся дышлом;
б) пассажирских автопоездов
Взамен: ГОСТ 2349-54
Список изменений: №1 от 01.07.1982 (рег. 07.04.1982) «Срок действия продлен»
№2 от 01.07.1986 (рег. 27.09.1985) «Срок действия продлен»
№3 от 01.01.1991 (рег. 08.06.1990) «Срок действия продлен»


ГОСТ 2349-75
ГОСТ 2349-75
ГОСТ 2349-75
ГОСТ 2349-75
ГОСТ 2349-75
ГОСТ 2349-75
ГОСТ 2349-75
ГОСТ 2349-75
ГОСТ 2349-75
ГОСТ 2349-75
ГОСТ 2349-75
Автор: 
Домашняя страница автора: 

ГОСТ 2712-75

E-mail автора: 

Смазка АМС. Технические условия

Обозначение: ГОСТ 2712-75
Статус: действующий
Название рус.: Смазка АМС. Технические условия
Название англ.: Grease АМС. Specifications
Дата актуализации текста: 19.06.2012
Дата актуализации описания: 19.06.2012
Дата введения в действие: 01.01.1977
Область и условия применения: Настоящий стандарт распространяется на рабоче-консервационную смазку АМС, предназначенную для смазывания различных механизмов, работающих в воде, в том числе в морской, в интервале температур от минус 15 до плюс 70 град. С.
Насносить смазку рекомендуется намазыванием при температуре не ниже 0 град. С
Взамен: ГОСТ 2712-52
Список изменений: №1 от 01.11.1978 (рег. 27.07.1978) «Срок действия продлен»
№2 от 01.01.1981 (рег. 16.10.1980) «Срок действия продлен»
№3 от 01.07.1985 (рег. 29.01.1985) «Срок действия продлен»
№4 от 01.06.1990 (рег. 27.11.1989) «Срок действия продлен»


ГОСТ 2712-75
ГОСТ 2712-75
ГОСТ 2712-75
ГОСТ 2712-75
Автор: 
Домашняя страница автора: 

ГОСТ 2209-90

E-mail автора: 

Пластины твердосплавные напаиваемые для режущего инструмента. Технические условия

Обозначение: ГОСТ 2209-90
Статус: действующий
Название рус.: Пластины твердосплавные напаиваемые для режущего инструмента. Технические условия
Название англ.: Hard metal brazed tips for cutting tools. Specifications
Дата актуализации текста: 19.06.2012
Дата актуализации описания: 19.06.2012
Дата введения в действие: 01.07.1993
Область и условия применения: Настоящий стандарт распространяется на твердосплавные пластины напаиваемые на режущий инструмент для обработки резанием металлов и неметаллических материалов
Взамен: ГОСТ 2209-82


ГОСТ 2209-90
ГОСТ 2209-90
ГОСТ 2209-90
ГОСТ 2209-90
ГОСТ 2209-90
ГОСТ 2209-90
Автор: 
Домашняя страница автора: 

ГОСТ 2070-82

E-mail автора: 

Нефтепродукты светлые. Методы определения йодных чисел и содержания непредельных углеводородов

Обозначение: ГОСТ 2070-82
Статус: действующий
Название рус.: Нефтепродукты светлые. Методы определения йодных чисел и содержания непредельных углеводородов
Название англ.: Light petroleum products. Methods for determination of iodine numbers and content of unsaturated hydrocarbons
Дата актуализации текста: 19.06.2012
Дата актуализации описания: 19.06.2012
Дата введения в действие: 01.07.1983
Область и условия применения: Настоящий стандарт устанавливает два метода определения йодных чисел и массовой доли непредельных углеводородов в бензинах, топливах для реактивных двигателей, дизельных топливах и других светлых нефтепродуктах
Взамен: ГОСТ 2070-55
Список изменений: №1 от 01.07.1988 (рег. 21.12.1987) «Срок действия продлен»
№2 от 01.07.1995 (рег. 15.11.1994) «Срок действия продлен»


ГОСТ 2070-82
ГОСТ 2070-82
ГОСТ 2070-82
ГОСТ 2070-82
ГОСТ 2070-82
ГОСТ 2070-82
Автор: 
Домашняя страница автора: 

ГОСТ 2077-84

E-mail автора: 

Хлеб ржаной, ржано-пшеничный и пшенично-ржаной. Общие технические условия

Обозначение: ГОСТ 2077-84
Статус: действующий
Название рус.: Хлеб ржаной, ржано-пшеничный и пшенично-ржаной. Общие технические условия
Название англ.: Rye bread and rye-and-wheat bread. Specifications
Дата актуализации текста: 19.06.2012
Дата актуализации описания: 19.06.2012
Дата введения в действие: 01.01.1986
Область и условия применения: Настоящий стандарт распространяется на хлеб, вырабатываемый из ржаной обойной, обдирной, сеяной муки или из смеси различных сортов ржаной и пшеничной муки, с добавлением солода, сахара, патоки и другого сырья в соответствии с рецептурой для каждого вида хлеба
Взамен: ГОСТ 2077-54 ГОСТ 2079-59 ГОСТ 4580-49 ГОСТ 4581-49 ГОСТ 5309-50 ГОСТ 6696-53 ГОСТ 7039-54 ГОСТ 7185-73 ГОСТ 10012-62 ГОСТ 14697-69
Список изменений: №1 от 01.12.1988 (рег. 14.06.1988) «Срок действия продлен»
№2 от 01.01.1992 (рег. 09.09.1991) «Срок действия продлен»


ГОСТ 2077-84
ГОСТ 2077-84
ГОСТ 2077-84
ГОСТ 2077-84
ГОСТ 2077-84
ГОСТ 2077-84
Автор: 
Домашняя страница автора: 

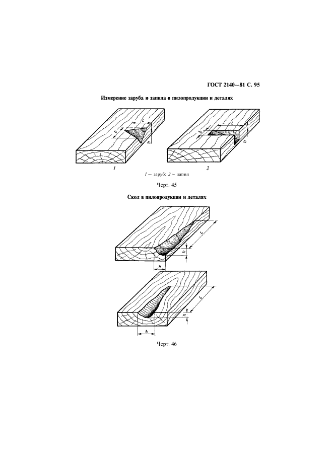
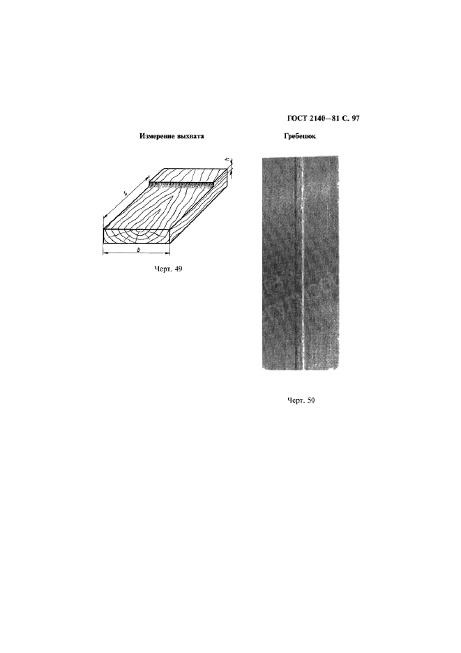
ГОСТ 2140-81

E-mail автора: 

Видимые пороки древесины. Классификация, термины и определения, способы измерения

Обозначение: ГОСТ 2140-81
Статус: действующий
Название рус.: Видимые пороки древесины. Классификация, термины и определения, способы измерения
Название англ.: Visible defects, of wood. Classification, terms and definitions, methods of measurement
Дата актуализации текста: 19.06.2012
Дата актуализации описания: 19.06.2012
Дата введения в действие: 01.01.1982
Область и условия применения: Настоящий стандарт устанавливает классификацию, термины, определения и способы измерения пороков древесины.
Видимыми пороками считают недостатки отдельных участков древесины, снижающие ее качество и ограничивающие возможность ее использования.
В стандарт включены видимые пороки, встречающиеся у древесных пород СССР
Взамен: ГОСТ 2140-71
Список изменений: №1 от 01.07.1983 (рег. 19.01.1983) «Срок действия продлен»
№2 от 01.08.1990 (рег. 28.03.1990) «Поправка»


ГОСТ 2140-81
ГОСТ 2140-81
ГОСТ 2140-81
ГОСТ 2140-81
ГОСТ 2140-81
ГОСТ 2140-81
ГОСТ 2140-81
ГОСТ 2140-81
ГОСТ 2140-81
ГОСТ 2140-81
ГОСТ 2140-81
ГОСТ 2140-81
ГОСТ 2140-81
ГОСТ 2140-81
ГОСТ 2140-81
ГОСТ 2140-81
ГОСТ 2140-81
ГОСТ 2140-81
ГОСТ 2140-81
ГОСТ 2140-81
ГОСТ 2140-81
ГОСТ 2140-81
ГОСТ 2140-81
ГОСТ 2140-81
ГОСТ 2140-81
ГОСТ 2140-81
ГОСТ 2140-81
ГОСТ 2140-81
ГОСТ 2140-81
ГОСТ 2140-81
ГОСТ 2140-81
ГОСТ 2140-81
ГОСТ 2140-81
ГОСТ 2140-81
ГОСТ 2140-81
ГОСТ 2140-81
ГОСТ 2140-81
ГОСТ 2140-81
ГОСТ 2140-81
ГОСТ 2140-81
ГОСТ 2140-81
ГОСТ 2140-81
ГОСТ 2140-81
ГОСТ 2140-81
ГОСТ 2140-81
ГОСТ 2140-81
ГОСТ 2140-81
ГОСТ 2140-81
ГОСТ 2140-81
ГОСТ 2140-81
ГОСТ 2140-81
ГОСТ 2140-81
ГОСТ 2140-81
ГОСТ 2140-81
ГОСТ 2140-81
ГОСТ 2140-81
ГОСТ 2140-81
ГОСТ 2140-81
ГОСТ 2140-81
ГОСТ 2140-81
ГОСТ 2140-81
ГОСТ 2140-81
ГОСТ 2140-81
ГОСТ 2140-81
ГОСТ 2140-81
ГОСТ 2140-81
ГОСТ 2140-81
ГОСТ 2140-81
ГОСТ 2140-81
ГОСТ 2140-81
ГОСТ 2140-81
ГОСТ 2140-81
ГОСТ 2140-81
ГОСТ 2140-81
ГОСТ 2140-81
ГОСТ 2140-81
ГОСТ 2140-81
ГОСТ 2140-81
ГОСТ 2140-81
ГОСТ 2140-81
ГОСТ 2140-81
ГОСТ 2140-81
ГОСТ 2140-81
ГОСТ 2140-81
ГОСТ 2140-81
ГОСТ 2140-81
ГОСТ 2140-81
ГОСТ 2140-81
ГОСТ 2140-81
ГОСТ 2140-81
ГОСТ 2140-81
ГОСТ 2140-81
ГОСТ 2140-81
ГОСТ 2140-81
ГОСТ 2140-81
ГОСТ 2140-81
ГОСТ 2140-81
ГОСТ 2140-81
ГОСТ 2140-81
ГОСТ 2140-81
ГОСТ 2140-81
ГОСТ 2140-81
ГОСТ 2140-81
ГОСТ 2140-81
ГОСТ 2140-81
ГОСТ 2140-81
ГОСТ 2140-81
ГОСТ 2140-81
ГОСТ 2140-81
ГОСТ 2140-81
ГОСТ 2140-81
ГОСТ 2140-81
ГОСТ 2140-81
ГОСТ 2140-81
ГОСТ 2140-81
ГОСТ 2140-81
ГОСТ 2140-81
ГОСТ 2140-81
ГОСТ 2140-81
ГОСТ 2140-81
ГОСТ 2140-81
Автор: 
Домашняя страница автора: 

ГОСТ 2260-2006

E-mail автора: 

Пух козий немытый классированный. Технические условия

Обозначение: ГОСТ 2260-2006
Статус: действующий
Название рус.: Пух козий немытый классированный. Технические условия
Название англ.: Unwashed classed goat down. Specifications
Дата актуализации текста: 19.06.2012
Дата актуализации описания: 19.06.2012
Дата введения в действие: 01.11.2007
Область и условия применения: Настоящий стандарт распространяется на классированный немытый пух, получаемый с пуховых коз всех пород и их помесей с грубошерстными козами, разводимых в странах СНГ, а также местных аборигенных коз и их помесей, и устанавливает на него технические требования
Взамен: ГОСТ 2260-78
Список изменений: №0 от 03.12.2007 (рег. 03.12.2007) «Дата введения перенесена»
Приложение №1: Поправка к ГОСТ 2260-2006


ГОСТ 2260-2006
ГОСТ 2260-2006
ГОСТ 2260-2006
ГОСТ 2260-2006
ГОСТ 2260-2006
ГОСТ 2260-2006
ГОСТ 2260-2006
ГОСТ 2260-2006
ГОСТ 2260-2006
ГОСТ 2260-2006
ГОСТ 2260-2006


Поправка к ГОСТ 2260-2006

Обозначение: Поправка к ГОСТ 2260-2006
Дата введения в действие: 03.12.2007
Дата актуализации: 15.01.2008


Поправка к ГОСТ 2260-2006
Автор: 
Домашняя страница автора: 

ГОСТ 2770-74

E-mail автора: 

Масло каменноугольное для пропитки древесины. Технические условия

Обозначение: ГОСТ 2770-74
Статус: действующий
Название рус.: Масло каменноугольное для пропитки древесины. Технические условия
Название англ.: Goal-tar oil for wood impregnation. Specifications
Дата актуализации текста: 19.06.2012
Дата актуализации описания: 19.06.2012
Дата введения в действие: 01.01.1976
Область и условия применения: Настоящий стандарт распространяется на каменноугольное масло для пропитки древесины, представляющее собой продукт переработки фракций каменноугольной смолы
Взамен: ГОСТ 2770-59
Список изменений: №0 от 01.12.2007 (рег. 01.12.2007) «Дата введения перенесена»
№1 от 01.10.1980 (рег. 20.05.1980) «Срок действия продлен»
№2 от 01.01.1986 (рег. 15.07.1985) «Срок действия продлен»
№3 от 01.07.1988 (рег. 30.12.1987) «Срок действия продлен»
№4 от 01.01.2008 (рег. 07.06.2007) «Текстовое изменение; Изменены ссылочные НД»
Приложение №1: Изменение №4 к ГОСТ 2770-74
Приложение №2: Поправка к ГОСТ 2770-74


ГОСТ 2770-74
ГОСТ 2770-74
ГОСТ 2770-74
ГОСТ 2770-74
ГОСТ 2770-74
ГОСТ 2770-74
ГОСТ 2770-74
ГОСТ 2770-74
ГОСТ 2770-74
ГОСТ 2770-74


Изменение №4 к ГОСТ 2770-74

Обозначение: Изменение №4 к ГОСТ 2770-74
Дата введения в действие: 01.01.2008
Дата актуализации: 15.01.2008


Изменение №4 к ГОСТ 2770-74
Изменение №4 к ГОСТ 2770-74
Изменение №4 к ГОСТ 2770-74
Изменение №4 к ГОСТ 2770-74


Поправка к ГОСТ 2770-74

Обозначение: Поправка к ГОСТ 2770-74
Дата введения в действие: 01.12.2007
Дата актуализации: 15.01.2008


Поправка к ГОСТ 2770-74
Автор: 
Домашняя страница автора: 

ГОСТ 2184-77

E-mail автора: 

Кислота серная техническая. Технические условия

Обозначение: ГОСТ 2184-77
Статус: действующий
Название рус.: Кислота серная техническая. Технические условия
Название англ.: Sulphuric acid for industrial use. Specifications
Дата актуализации текста: 19.06.2012
Дата актуализации описания: 19.06.2012
Дата введения в действие: 01.07.1978
Область и условия применения: Настоящий стандарт распространяется на техническую серную кислоту следующих видов: контактную (улучшенную и техническую); олеум (улучшенный и технический); башенную и регенерированную.
Техническая серная кислота предназначается для производства удобрений, искусственного волокна, капролактама, двуокиси титана, этилового спирта, анилиновых красителей и целого ряда других производств
Взамен: ГОСТ 2184-67 ГОСТ 5.556-70
Список изменений: №1 от 01.10.1979 (рег. 24.04.1979) «Срок действия продлен»
№2 от 01.11.1982 (рег. 19.07.1982) «Срок действия продлен»
№3 от 01.04.1988 (рег. 21.10.1987) «Срок действия продлен»
№4 от 01.01.1991 (рег. 28.06.1990) «Срок действия продлен»


ГОСТ 2184-77
ГОСТ 2184-77
ГОСТ 2184-77
ГОСТ 2184-77
ГОСТ 2184-77
ГОСТ 2184-77
ГОСТ 2184-77
ГОСТ 2184-77
ГОСТ 2184-77
ГОСТ 2184-77
ГОСТ 2184-77
ГОСТ 2184-77
ГОСТ 2184-77
ГОСТ 2184-77
ГОСТ 2184-77
ГОСТ 2184-77
ГОСТ 2184-77
ГОСТ 2184-77
ГОСТ 2184-77
ГОСТ 2184-77
ГОСТ 2184-77
Автор: 
Домашняя страница автора: 

Страницы