Наша группа Вконтакте vk.com/4ertimcom

ГОСТ 4001-5000

ГОСТ 4032-63

E-mail автора: 

Гвозди отделочные круглые. Конструкция и размеры

Обозначение: ГОСТ 4032-63
Статус: действующий
Название рус.: Гвозди отделочные круглые. Конструкция и размеры
Название англ.: Round finishing nails. Construction and dimensions
Дата актуализации текста: 19.06.2012
Дата актуализации описания: 19.06.2012
Дата введения в действие: 01.07.1964
Область и условия применения: Настоящий стандарт устанавливает конструкцию и размеры отделочных гвоздей
Взамен: ГОСТ 4032-48
Список изменений: №1 от 01.05.1981 (рег. 28.11.1980) «Срок действия продлен»
№2 от 01.06.1988 (рег. 24.12.1987) «Срок действия продлен»


ГОСТ 4032-63
ГОСТ 4032-63
Автор: 
Домашняя страница автора: 

ГОСТ 4028-63

E-mail автора: 

Гвозди строительные. Конструкция и размеры

Обозначение: ГОСТ 4028-63
Статус: действующий
Название рус.: Гвозди строительные. Конструкция и размеры
Название англ.: Building nails. Construction and dimensions
Дата актуализации текста: 19.06.2012
Дата актуализации описания: 19.06.2012
Дата введения в действие: 01.07.1964
Область и условия применения: Настоящий стандарт устанавливает конструкцию и размеры строительных гвоздей
Взамен: ГОСТ 3886-47 ГОСТ 3887-47 ГОСТ 4028-48 ГОСТ 4031-48
Список изменений: №1 от 01.01.1966 (рег. 22.11.1965) «Срок действия продлен»
№2 от 01.05.1981 (рег. 28.11.1980) «Срок действия продлен»
№3 от 01.06.1988 (рег. 24.12.1987) «Срок действия продлен»


ГОСТ 4028-63
ГОСТ 4028-63
ГОСТ 4028-63
ГОСТ 4028-63
Автор: 
Домашняя страница автора: 

ГОСТ 4741-68

E-mail автора: 

Втулки резьбовые переходные для станочных приспособлений. Конструкция

Обозначение: ГОСТ 4741-68
Статус: действующий
Название рус.: Втулки резьбовые переходные для станочных приспособлений. Конструкция
Название англ.: Thread ransitional bushes for machine retaining devices. Design
Дата актуализации текста: 19.06.2012
Дата актуализации описания: 19.06.2012
Дата введения в действие: 01.01.1969
Область и условия применения: Настоящий стандарт распространяется на втулки резьбовые переходные для станочных приспособлений
Взамен: ГОСТ 4741-57
Список изменений: №1 от 01.12.1980 (рег. 30.06.1980) «Срок действия продлен»
№2 от 01.01.1990 (рег. 16.05.1989) «Поправка»


ГОСТ 4741-68
ГОСТ 4741-68
ГОСТ 4741-68
ГОСТ 4741-68
ГОСТ 4741-68
ГОСТ 4741-68
ГОСТ 4741-68
ГОСТ 4741-68
Автор: 
Домашняя страница автора: 

ГОСТ 4743-68

E-mail автора: 

Пластины опорные для станочных приспособлений. Конструкция

Обозначение: ГОСТ 4743-68
Статус: действующий
Название рус.: Пластины опорные для станочных приспособлений. Конструкция
Название англ.: Rest plates for machine retaining devices. Design
Дата актуализации текста: 19.06.2012
Дата актуализации описания: 19.06.2012
Дата введения в действие: 01.01.1969
Область и условия применения: Настоящий стандарт распространяется на пластины опорные для станочных приспособлений
Взамен: ГОСТ 4743-57
Список изменений: №1 от 01.12.1980 (рег. 30.06.1980) «Срок действия продлен»
№2 от 01.01.1990 (рег. 16.05.1989) «Поправка»


ГОСТ 4743-68
ГОСТ 4743-68
ГОСТ 4743-68
ГОСТ 4743-68
ГОСТ 4743-68
ГОСТ 4743-68
ГОСТ 4743-68
Автор: 
Домашняя страница автора: 

ГОСТ 4740-68

E-mail автора: 

Опоры регулируемые усиленные для станочных приспособлений. Конструкция

Обозначение: ГОСТ 4740-68
Статус: действующий
Название рус.: Опоры регулируемые усиленные для станочных приспособлений. Конструкция
Название англ.: Adjustable forced rests for machine retaining devices. Design
Дата актуализации текста: 19.06.2012
Дата актуализации описания: 19.06.2012
Дата введения в действие: 01.01.1969
Область и условия применения: Настоящий стандарт распространяется на опоры регулируемые усиленные для станочных приспособлений
Взамен: ГОСТ 4740-57
Список изменений: №1 от 01.12.1980 (рег. 30.06.1980) «Срок действия продлен»
№2 от 01.01.1990 (рег. 16.05.1989) «Поправка»


ГОСТ 4740-68
ГОСТ 4740-68
ГОСТ 4740-68
ГОСТ 4740-68
ГОСТ 4740-68
Автор: 
Домашняя страница автора: 

ГОСТ 4069-69

E-mail автора: 

Огнеупоры и огнеупорное сырье. Методы определения огнеупорности

Обозначение: ГОСТ 4069-69
Статус: действующий
Название рус.: Огнеупоры и огнеупорное сырье. Методы определения огнеупорности
Название англ.: Refractories and refractory raw materials. Methods of refractoriness determination
Дата актуализации текста: 19.06.2012
Дата актуализации описания: 19.06.2012
Дата введения в действие: 01.01.1970
Область и условия применения: Настоящий стандарт распространяется на огнеупоры и огнеупорное сырье и устанавливает методы определения огнеупорности в пределах 1580-2000 град. С: метод пирометрических конусов и инструментальный метод
Взамен: ГОСТ 4069-48
Список изменений: №1 от 01.01.1981 (рег. 31.12.1980) «Срок действия продлен»
№2 от 01.07.1992 (рег. 09.03.1992) «Поправка»


ГОСТ 4069-69
ГОСТ 4069-69
ГОСТ 4069-69
ГОСТ 4069-69
ГОСТ 4069-69
ГОСТ 4069-69
ГОСТ 4069-69
ГОСТ 4069-69
ГОСТ 4069-69
ГОСТ 4069-69
ГОСТ 4069-69
ГОСТ 4069-69
ГОСТ 4069-69
ГОСТ 4069-69
ГОСТ 4069-69
ГОСТ 4069-69
Автор: 
Домашняя страница автора: 

ГОСТ 4044-70

E-mail автора: 

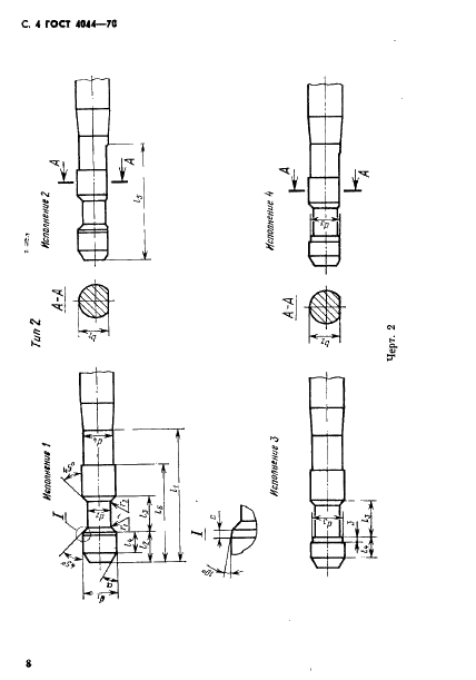
Хвостовики круглые для протяжек. Типы и основные размеры

Обозначение: ГОСТ 4044-70
Статус: действующий
Название рус.: Хвостовики круглые для протяжек. Типы и основные размеры
Название англ.: Round shanks for broaches. Types and main dimensions
Дата актуализации текста: 19.06.2012
Дата актуализации описания: 19.06.2012
Дата введения в действие: 01.07.1971
Область и условия применения: Настоящий стандарт распространяется на хвостовики круглые с плоской опорной поверхностью и боковыми лысками и с круговой выточкой для протяжек
Взамен: ГОСТ 4044-61
Список изменений: №1 от 01.10.1973 (рег. 30.08.1973) «Срок действия продлен»
№2 от 01.04.1981 (рег. 30.12.1980) «Срок действия продлен»


ГОСТ 4044-70
ГОСТ 4044-70
ГОСТ 4044-70
ГОСТ 4044-70
ГОСТ 4044-70
ГОСТ 4044-70
Автор: 
Домашняя страница автора: 

ГОСТ 4543-71

E-mail автора: 

Прокат из легированной конструкционной стали. Технические условия

Обозначение: ГОСТ 4543-71
Статус: действующий
Название рус.: Прокат из легированной конструкционной стали. Технические условия
Название англ.: Structural alloy steel bars. Specifications
Дата актуализации текста: 19.06.2012
Дата актуализации описания: 19.06.2012
Дата введения в действие: 01.01.1973
Область и условия применения: Настоящий стандарт распространяется на прокат горячекатаный и кованый диаметром или толщиной до 250 мм, калиброванный и со специальной отделкой поверхности из легированной конструкционной стали, применяемый в термически обработанном состоянии.
В части норм химического состава стандарт распространяется на все другие виды проката, слитки, поковки и штамповки
Взамен: ГОСТ 4543-61
Взамен в части: ГОСТ 1050-60 в части марок 15Г, 20Г, 25Г, 30Г, 35Г, 40Г, 45Г, 50Г
Список изменений: №1 от 01.04.1977 (рег. 30.03.1977) «Срок действия продлен»
№2 от 01.01.1983 (рег. 28.02.1982) «Срок действия продлен»
№3 от 01.07.1987 (рег. 11.02.1987) «Срок действия продлен»
№4 от 01.01.1988 (рег. 25.06.1987) «Срок действия продлен»
№5 от 01.07.1990 (рег. 14.12.1989) «Срок действия продлен»


ГОСТ 4543-71
ГОСТ 4543-71
ГОСТ 4543-71
ГОСТ 4543-71
ГОСТ 4543-71
ГОСТ 4543-71
ГОСТ 4543-71
ГОСТ 4543-71
ГОСТ 4543-71
ГОСТ 4543-71
ГОСТ 4543-71
ГОСТ 4543-71
ГОСТ 4543-71
ГОСТ 4543-71
ГОСТ 4543-71
ГОСТ 4543-71
ГОСТ 4543-71
ГОСТ 4543-71
ГОСТ 4543-71
ГОСТ 4543-71
ГОСТ 4543-71
ГОСТ 4543-71
ГОСТ 4543-71
ГОСТ 4543-71
ГОСТ 4543-71
ГОСТ 4543-71
ГОСТ 4543-71
ГОСТ 4543-71
ГОСТ 4543-71
ГОСТ 4543-71
ГОСТ 4543-71
ГОСТ 4543-71
ГОСТ 4543-71
ГОСТ 4543-71
ГОСТ 4543-71
ГОСТ 4543-71
ГОСТ 4543-71
ГОСТ 4543-71
ГОСТ 4543-71
ГОСТ 4543-71
ГОСТ 4543-71
Автор: 
Домашняя страница автора: 

ГОСТ 4389-72

E-mail автора: 

Вода питьевая. Методы определения содержания сульфатов

Обозначение: ГОСТ 4389-72
Статус: действующий
Название рус.: Вода питьевая. Методы определения содержания сульфатов
Название англ.: Drinking water. Methods for determination of sulfate content
Дата актуализации текста: 19.06.2012
Дата актуализации описания: 19.06.2012
Дата введения в действие: 01.01.1974
Область и условия применения: Настоящий стандарт распространяется на питьевую воду и устанавливает методы опрнделения содержания сульфатов
Взамен: ГОСТ 4389-48
Список изменений: №0 от 08.06.1988 (рег. 08.06.1988) «Срок действия продлен»
№0 от 01.01.2010 (рег. 29.09.2008) «Поправка к изменению»


ГОСТ 4389-72
ГОСТ 4389-72
ГОСТ 4389-72
ГОСТ 4389-72
ГОСТ 4389-72
ГОСТ 4389-72
ГОСТ 4389-72
Автор: 
Домашняя страница автора: 

ГОСТ 4208-72

E-mail автора: 

Реактивы. Соль закиси железа и аммония двойная сернокислая (соль Мора). Технические условия

Обозначение: ГОСТ 4208-72
Статус: действующий
Название рус.: Реактивы. Соль закиси железа и аммония двойная сернокислая (соль Мора). Технические условия
Название англ.: Reagents. Ammonium ferrous sulphate. Specifications
Дата актуализации текста: 19.06.2012
Дата актуализации описания: 19.06.2012
Дата введения в действие: 01.07.1973
Область и условия применения: Настоящий стандарт распространяется на двойную сернокислую соль закиси железа и аммония (соль Мора)
Взамен: ГОСТ 4208-66
Список изменений: №1 от 01.06.1985 (рег. 17.12.1984) «Срок действия продлен»
№2 от 01.06.1990 (рег. 11.12.1989) «Срок действия продлен»


ГОСТ 4208-72
ГОСТ 4208-72
ГОСТ 4208-72
ГОСТ 4208-72
ГОСТ 4208-72
ГОСТ 4208-72
ГОСТ 4208-72
ГОСТ 4208-72
ГОСТ 4208-72
ГОСТ 4208-72
ГОСТ 4208-72
Автор: 
Домашняя страница автора: 

Страницы