Наша группа Вконтакте vk.com/4ertimcom

ГОСТ 4001-5000

ГОСТ 4039-88

E-mail автора: 

Бензины автомобильные. Методы определения индукционного периода

Обозначение: ГОСТ 4039-88
Статус: действующий
Название рус.: Бензины автомобильные. Методы определения индукционного периода
Название англ.: Automobile gasolines. Methods of test for induction period
Дата актуализации текста: 19.06.2012
Дата актуализации описания: 19.06.2012
Дата введения в действие: 01.01.1989
Область и условия применения: Настоящий стандарт устанавливает методы (А и Б) определения индукционного периода, характеризующие склонность бензинов к окислению и смолообразованию при длительном хранении.
Сущность методов заключается в определении времени, в течение которого испытуемый бензин, находящийся в среде кислорода под давлением 700 кПа (7 кгс/кв. см) и при температуре 100 град. С, практически не подвергается окислению
Взамен: ГОСТ 4039-48


ГОСТ 4039-88
ГОСТ 4039-88
ГОСТ 4039-88
ГОСТ 4039-88
ГОСТ 4039-88
ГОСТ 4039-88
ГОСТ 4039-88
ГОСТ 4039-88
ГОСТ 4039-88
ГОСТ 4039-88
ГОСТ 4039-88
ГОСТ 4039-88
ГОСТ 4039-88
ГОСТ 4039-88
ГОСТ 4039-88
ГОСТ 4039-88
ГОСТ 4039-88
ГОСТ 4039-88
Автор: 
Домашняя страница автора: 

ГОСТ 4570-93

E-mail автора: 

Конфеты. Общие технические условия

Обозначение: ГОСТ 4570-93
Статус: действующий
Название рус.: Конфеты. Общие технические условия
Название англ.: Sweets. General specifications
Дата актуализации текста: 19.06.2012
Дата актуализации описания: 19.06.2012
Дата введения в действие: 01.01.1995
Область и условия применения: Настоящий стандарт распространяется на конфеты, изготовляемые для нужд народного хозяйства и экспорта
Взамен: ГОСТ 4570-73
Список изменений: №1 от 01.07.1994 (рег. 30.06.1994) «Срок действия продлен»


ГОСТ 4570-93
ГОСТ 4570-93
ГОСТ 4570-93
ГОСТ 4570-93
ГОСТ 4570-93
ГОСТ 4570-93
ГОСТ 4570-93
ГОСТ 4570-93
ГОСТ 4570-93
ГОСТ 4570-93
ГОСТ 4570-93
ГОСТ 4570-93
Автор: 
Домашняя страница автора: 

ГОСТ 4156-93

E-mail автора: 

Ножовки садовые. Технические условия

Обозначение: ГОСТ 4156-93
Статус: действующий
Название рус.: Ножовки садовые. Технические условия
Название англ.: Garden cutter knives. Specifications
Дата актуализации текста: 19.06.2012
Дата актуализации описания: 19.06.2012
Дата введения в действие: 01.01.1995
Область и условия применения: Настоящий стандарт распространяется на садовые ножовки, предназначенные для обрезки плодовых деревьев, ягодных кустарников и виноградной лозы
Взамен: ГОСТ 4156-79


ГОСТ 4156-93
ГОСТ 4156-93
ГОСТ 4156-93
ГОСТ 4156-93
ГОСТ 4156-93
ГОСТ 4156-93
ГОСТ 4156-93
ГОСТ 4156-93
ГОСТ 4156-93
ГОСТ 4156-93
ГОСТ 4156-93
ГОСТ 4156-93
ГОСТ 4156-93
ГОСТ 4156-93
Автор: 
Домашняя страница автора: 

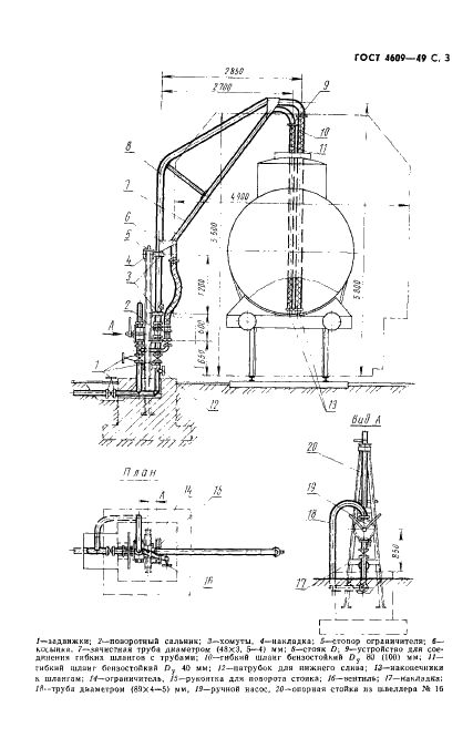
ГОСТ 4609-49

E-mail автора: 

Оборудование сливо-наливное для горючих и легковоспламеняющихся жидкостей. Стояк сливно-наливной одиночный с ручным насосом

Обозначение: ГОСТ 4609-49
Статус: действующий
Название рус.: Оборудование сливо-наливное для горючих и легковоспламеняющихся жидкостей. Стояк сливно-наливной одиночный с ручным насосом
Название англ.: Filling-draining equipment for flammable and highly inflammable liquids. Single filling-draining standpipe with manual pump
Дата актуализации текста: 19.06.2012
Дата актуализации описания: 19.06.2012
Дата введения в действие: 01.05.1949
Область и условия применения: Настоящий стандарт распространяется на одиночные сливо-наливные стояки, служащие для ручного, механизированного или самотечного слива горючих и легковоспламеняющихся жидкостей из вагонов-цистерн с помощью ручного насоса, а также для налива в вагоны-цистерны перекачивающими средствами базы или склада горючего.
Настоящий стандарт устанавливает внешние строительные и монтажные размеры стояков


ГОСТ 4609-49
ГОСТ 4609-49
ГОСТ 4609-49
ГОСТ 4609-49
ГОСТ 4609-49
ГОСТ 4609-49
ГОСТ 4609-49
Автор: 
Домашняя страница автора: 

ГОСТ 4033-63

E-mail автора: 

Гвозди обойные круглые. Конструкция и размеры

Обозначение: ГОСТ 4033-63
Статус: действующий
Название рус.: Гвозди обойные круглые. Конструкция и размеры
Название англ.: Round coat nails. Construction and dimensions
Дата актуализации текста: 19.06.2012
Дата актуализации описания: 19.06.2012
Дата введения в действие: 01.07.1964
Область и условия применения: Настоящий стандарт устанавливает конструкцию и размеры обойных гвоздей
Взамен: ГОСТ 4033-48
Список изменений: №1 от 01.05.1981 (рег. 28.11.1980) «Срок действия продлен»
№2 от 01.06.1988 (рег. 24.12.1987) «Срок действия продлен»


ГОСТ 4033-63
ГОСТ 4033-63
Автор: 
Домашняя страница автора: 

ГОСТ 4004-64

E-mail автора: 

Слитки алюминиевые для проволоки. Технические условия

Обозначение: ГОСТ 4004-64
Статус: действующий
Название рус.: Слитки алюминиевые для проволоки. Технические условия
Название англ.: Aluminium ingots for wire. Specifications
Дата актуализации текста: 19.06.2012
Дата актуализации описания: 19.06.2012
Дата введения в действие: 01.01.1966
Область и условия применения: Настоящий стандарт распространяется на слитки, отливаемые из первичного алюминия и предназначаемые для изготовления проволоки для проводов и кабелей, а также проволоки для сварочных и других целей
Взамен: ГОСТ 4004-52
Список изменений: №1 от 01.07.1980 (рег. 28.03.1980) «Срок действия продлен»
№2 от 01.11.1984 (рег. 29.06.1984) «Срок действия продлен»
№3 от 01.09.1986 (рег. 25.04.1986) «Срок действия продлен»
№4 от 01.04.1988 (рег. 02.10.1987) «Срок действия продлен»
№5 от 01.10.1989 (рег. 28.03.1989) «Срок действия продлен»


ГОСТ 4004-64
ГОСТ 4004-64
ГОСТ 4004-64
ГОСТ 4004-64
ГОСТ 4004-64
ГОСТ 4004-64
ГОСТ 4004-64
ГОСТ 4004-64
Автор: 
Домашняя страница автора: 

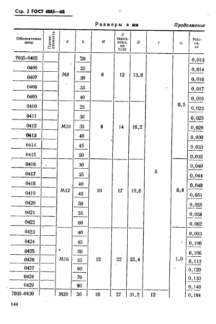
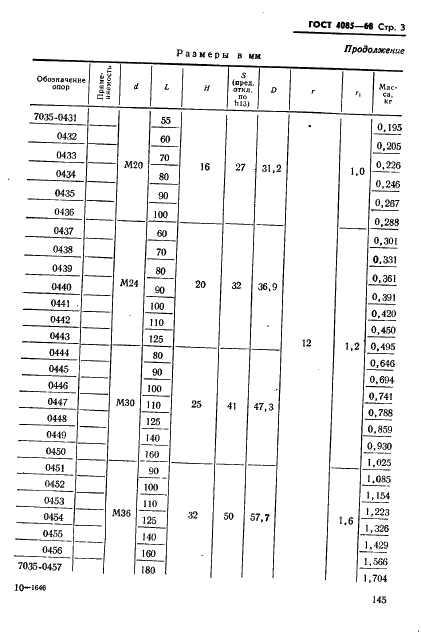
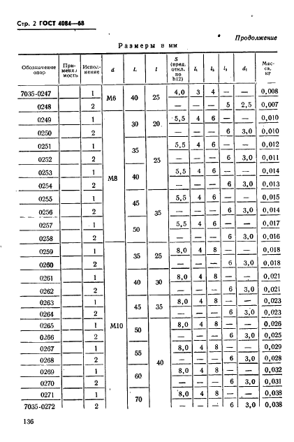
ГОСТ 4085-68

E-mail автора: 

Опоры регулируемые с шестигранной головкой для станочных приспособлений. Конструкция

Обозначение: ГОСТ 4085-68
Статус: действующий
Название рус.: Опоры регулируемые с шестигранной головкой для станочных приспособлений. Конструкция
Название англ.: Adjustable hexagon head rests for machine retaining devices. Design
Дата актуализации текста: 19.06.2012
Дата актуализации описания: 19.06.2012
Дата введения в действие: 01.01.1969
Область и условия применения: Настоящий стандарт устанавливает конструкцию регулируемых опор с шестигранной головкой для станочных приспособлений
Взамен: ГОСТ 4085-57
Список изменений: №1 от 01.12.1980 (рег. 30.06.1980) «Срок действия продлен»
№2 от 01.01.1990 (рег. 16.05.1989) «Поправка»


ГОСТ 4085-68
ГОСТ 4085-68
ГОСТ 4085-68
ГОСТ 4085-68
ГОСТ 4085-68
ГОСТ 4085-68
ГОСТ 4085-68
Автор: 
Домашняя страница автора: 

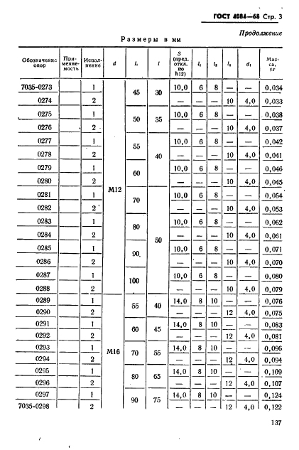
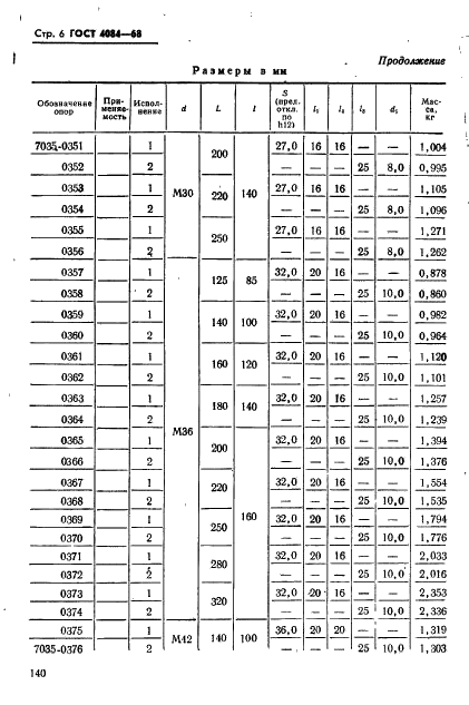
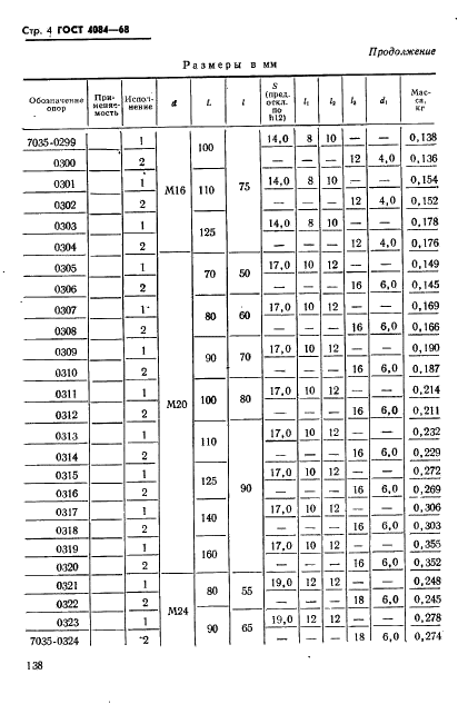
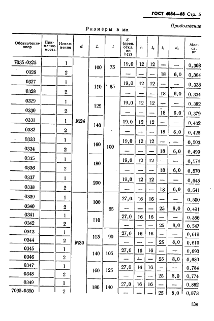
ГОСТ 4084-68

E-mail автора: 

Опоры регулируемые для станочных приспособлений. Конструкция

Обозначение: ГОСТ 4084-68
Статус: действующий
Название рус.: Опоры регулируемые для станочных приспособлений. Конструкция
Название англ.: Adjustable rests for machine retaining devices. Design
Дата актуализации текста: 19.06.2012
Дата актуализации описания: 19.06.2012
Дата введения в действие: 01.01.1969
Область и условия применения: Настоящий стандарт устанавливает конструкцию регулируемых для станочных приспособлений опор
Взамен: ГОСТ 4084-57
Список изменений: №1 от 01.12.1980 (рег. 30.06.1980) «Срок действия продлен»
№2 от 01.01.1990 (рег. 16.05.1989) «Поправка»


ГОСТ 4084-68
ГОСТ 4084-68
ГОСТ 4084-68
ГОСТ 4084-68
ГОСТ 4084-68
ГОСТ 4084-68
ГОСТ 4084-68
ГОСТ 4084-68
ГОСТ 4084-68
ГОСТ 4084-68
ГОСТ 4084-68
ГОСТ 4084-68
Автор: 
Домашняя страница автора: 

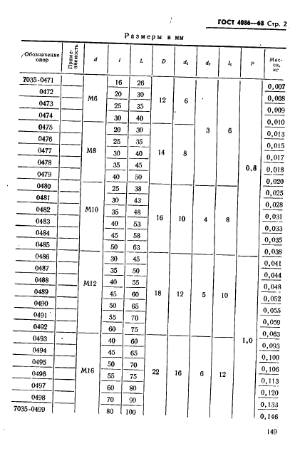
ГОСТ 4086-68

E-mail автора: 

Опоры регулируемые с круглой головкой для станочных приспособлений. Конструкция

Обозначение: ГОСТ 4086-68
Статус: действующий
Название рус.: Опоры регулируемые с круглой головкой для станочных приспособлений. Конструкция
Название англ.: Adjustable round head rests for machine retaining devices. Design
Дата актуализации текста: 19.06.2012
Дата актуализации описания: 19.06.2012
Дата введения в действие: 01.01.1969
Область и условия применения: Настоящий стандарт устанавливает конструкцию регулируемых опор с круглой головкой для станочных приспособлений
Взамен: ГОСТ 4086-57
Список изменений: №1 от 01.12.1980 (рег. 30.06.1980) «Срок действия продлен»
№2 от 01.01.1990 (рег. 16.05.1989) «Поправка»


ГОСТ 4086-68
ГОСТ 4086-68
ГОСТ 4086-68
ГОСТ 4086-68
ГОСТ 4086-68
ГОСТ 4086-68
Автор: 
Домашняя страница автора: 

ГОСТ 4541-70

E-mail автора: 

Машины электрические вращающиеся. Обозначения буквенные установочно-присоединительных и габаритных размеров

Обозначение: ГОСТ 4541-70
Статус: действующий
Название рус.: Машины электрические вращающиеся. Обозначения буквенные установочно-присоединительных и габаритных размеров
Название англ.: Rotating electrical machines. Letter symbols of fixing and overall dimensions
Дата актуализации текста: 19.06.2012
Дата актуализации описания: 19.06.2012
Дата введения в действие: 01.01.1971
Область и условия применения: Настоящий стандарт распространяется на вновь проектируемые и модернизируемые вращающиеся электрические машины и преобразовательные агрегаты и устанавливает буквенные обозначения установочно-присоединительных и габаритных размеров
Взамен: ГОСТ 4541-48
Список изменений: №1 от 01.03.1985 (рег. 27.09.1984) «Срок действия продлен»


ГОСТ 4541-70
ГОСТ 4541-70
ГОСТ 4541-70
ГОСТ 4541-70
ГОСТ 4541-70
ГОСТ 4541-70
ГОСТ 4541-70
ГОСТ 4541-70
ГОСТ 4541-70
ГОСТ 4541-70
ГОСТ 4541-70
ГОСТ 4541-70
ГОСТ 4541-70
ГОСТ 4541-70
ГОСТ 4541-70
Автор: 
Домашняя страница автора: 

Страницы