Наша группа Вконтакте vk.com/4ertimcom

ГОСТ 5001-6000

ГОСТ 5312-90

E-mail автора: 

Горох овощной свежий для консервирования. Технические условия

Обозначение: ГОСТ 5312-90
Статус: действующий
Название рус.: Горох овощной свежий для консервирования. Технические условия
Название англ.: Fresh green peas for conservation. Specifications
Дата актуализации текста: 19.06.2012
Дата актуализации описания: 19.06.2012
Дата введения в действие: 01.01.1991
Область и условия применения: Настоящий стандарт распространяется свежий обмолоченный овощной горох мозговых сортов, предназначенный для консервирования
Взамен: ГОСТ 5312-74


ГОСТ 5312-90
ГОСТ 5312-90
ГОСТ 5312-90
ГОСТ 5312-90
ГОСТ 5312-90
ГОСТ 5312-90
ГОСТ 5312-90
ГОСТ 5312-90
ГОСТ 5312-90
ГОСТ 5312-90
ГОСТ 5312-90
ГОСТ 5312-90
Автор: 
Домашняя страница автора: 

ГОСТ 5382-91

E-mail автора: 

Цементы и материалы цементного производства. Методы химического анализа

Обозначение: ГОСТ 5382-91
Статус: действующий
Название рус.: Цементы и материалы цементного производства. Методы химического анализа
Название англ.: Cements and materials for cement production. Chemical analysis methods
Дата актуализации текста: 19.06.2012
Дата актуализации описания: 19.06.2012
Дата введения в действие: 01.07.1991
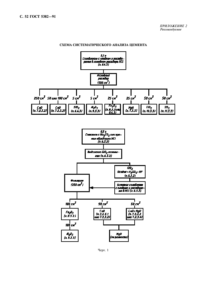
Область и условия применения: Настоящий стандарт распространяется на цементы, клинкер, сырьевые смеси, минеральные добавки и сырье, применяемые в цементном производстве, и устанавливает нормы точности выполения анализов химического состава, а также методы определения массовой доли влаги, потери при прокаливании, нерастворимого остатка, оксидов кремния, кальция (в том числе свободного), магния, железа, алюминия, титана, серы, калия, натрия, марганца, хрома, фосфора, бария, хлор-иона, фтор-иона
Взамен: ГОСТ 5382-73 ГОСТ 9552-76


ГОСТ 5382-91
ГОСТ 5382-91
ГОСТ 5382-91
ГОСТ 5382-91
ГОСТ 5382-91
ГОСТ 5382-91
ГОСТ 5382-91
ГОСТ 5382-91
ГОСТ 5382-91
ГОСТ 5382-91
ГОСТ 5382-91
ГОСТ 5382-91
ГОСТ 5382-91
ГОСТ 5382-91
ГОСТ 5382-91
ГОСТ 5382-91
ГОСТ 5382-91
ГОСТ 5382-91
ГОСТ 5382-91
ГОСТ 5382-91
ГОСТ 5382-91
ГОСТ 5382-91
ГОСТ 5382-91
ГОСТ 5382-91
ГОСТ 5382-91
ГОСТ 5382-91
ГОСТ 5382-91
ГОСТ 5382-91
ГОСТ 5382-91
ГОСТ 5382-91
ГОСТ 5382-91
ГОСТ 5382-91
ГОСТ 5382-91
ГОСТ 5382-91
ГОСТ 5382-91
ГОСТ 5382-91
ГОСТ 5382-91
ГОСТ 5382-91
ГОСТ 5382-91
ГОСТ 5382-91
ГОСТ 5382-91
ГОСТ 5382-91
ГОСТ 5382-91
ГОСТ 5382-91
ГОСТ 5382-91
ГОСТ 5382-91
ГОСТ 5382-91
ГОСТ 5382-91
ГОСТ 5382-91
ГОСТ 5382-91
ГОСТ 5382-91
ГОСТ 5382-91
ГОСТ 5382-91
ГОСТ 5382-91
ГОСТ 5382-91
ГОСТ 5382-91
ГОСТ 5382-91
ГОСТ 5382-91
Автор: 
Домашняя страница автора: 

ГОСТ 5813-93

E-mail автора: 

Ремни вентиляторные клиновые и шкивы для двигателей автомобилей, тракторов и комбайнов. Технические условия

Обозначение: ГОСТ 5813-93
Статус: действующий
Название рус.: Ремни вентиляторные клиновые и шкивы для двигателей автомобилей, тракторов и комбайнов. Технические условия
Название англ.: Fan V-belts and pulleys for engines of cars, tractors and combines. Specifications
Дата актуализации текста: 19.06.2012
Дата актуализации описания: 19.06.2012
Дата введения в действие: 01.01.1995
Область и условия применения: Настоящий стандарт распространяется на клиновые вентиляторные ремни и шкивы, предназначенные для передачи движения от вала двигателя к агрегатам автомобилей, тракторов и комбайнов
Взамен: ГОСТ 5813-76


ГОСТ 5813-93
ГОСТ 5813-93
ГОСТ 5813-93
ГОСТ 5813-93
ГОСТ 5813-93
ГОСТ 5813-93
ГОСТ 5813-93
ГОСТ 5813-93
ГОСТ 5813-93
ГОСТ 5813-93
ГОСТ 5813-93
ГОСТ 5813-93
ГОСТ 5813-93
ГОСТ 5813-93
ГОСТ 5813-93
ГОСТ 5813-93
ГОСТ 5813-93
ГОСТ 5813-93
ГОСТ 5813-93
ГОСТ 5813-93
ГОСТ 5813-93
ГОСТ 5813-93
ГОСТ 5813-93
ГОСТ 5813-93
ГОСТ 5813-93
ГОСТ 5813-93
ГОСТ 5813-93
ГОСТ 5813-93
ГОСТ 5813-93
ГОСТ 5813-93
ГОСТ 5813-93
ГОСТ 5813-93
ГОСТ 5813-93
ГОСТ 5813-93
ГОСТ 5813-93
ГОСТ 5813-93
ГОСТ 5813-93
ГОСТ 5813-93
ГОСТ 5813-93
ГОСТ 5813-93
ГОСТ 5813-93
ГОСТ 5813-93
ГОСТ 5813-93
ГОСТ 5813-93
ГОСТ 5813-93
ГОСТ 5813-93
ГОСТ 5813-93
Автор: 
Домашняя страница автора: 

ГОСТ 5477-93

E-mail автора: 

Масла растительные. Методы определения цветности

Обозначение: ГОСТ 5477-93
Статус: действующий
Название рус.: Масла растительные. Методы определения цветности
Название англ.: Vegetable oils. Methods for the determination of colour
Дата актуализации текста: 19.06.2012
Дата актуализации описания: 19.06.2012
Дата введения в действие: 01.01.1995
Область и условия применения: Настоящий стандарт распространяется на растительные масла и устанавливает методы определения цветности растительных масел
Взамен: ГОСТ 5477-69


ГОСТ 5477-93
ГОСТ 5477-93
ГОСТ 5477-93
ГОСТ 5477-93
ГОСТ 5477-93
ГОСТ 5477-93
ГОСТ 5477-93
ГОСТ 5477-93
Автор: 
Домашняя страница автора: 

ГОСТ 5686-94

E-mail автора: 

Грунты. Методы полевых испытаний сваями

Обозначение: ГОСТ 5686-94
Статус: действующий
Название рус.: Грунты. Методы полевых испытаний сваями
Название англ.: Soils. Field test methods by piles
Дата актуализации текста: 19.06.2012
Дата актуализации описания: 19.06.2012
Дата введения в действие: 01.01.1996
Область и условия применения: Настоящий стандарт распространяется на талые и вечномерзлые дисперсные грунты и устанавливает методы их полевых испытаний сваями (натурными, эталонными, сваями-зондами), проводимых при инженерных изысканиях для строительства, а также на контрольные испытания свай при строительстве.
Стандарт не распространяется на набухающие и засоленные грунты при необходимости их исследования с замачиванием, на грунты, содержащие крупнообломочные включения более 40% по массе при испытании их эталонными сваями и сваями-зондами, кроме случаев их залегания под нижними концами этих свай, а также на испытания, имитирующие сейсмические и динамические воздействия
Взамен: ГОСТ 5686-78 ГОСТ 24546-81 ГОСТ 24942-81


ГОСТ 5686-94
ГОСТ 5686-94
ГОСТ 5686-94
ГОСТ 5686-94
ГОСТ 5686-94
ГОСТ 5686-94
ГОСТ 5686-94
ГОСТ 5686-94
ГОСТ 5686-94
ГОСТ 5686-94
ГОСТ 5686-94
ГОСТ 5686-94
ГОСТ 5686-94
ГОСТ 5686-94
ГОСТ 5686-94
ГОСТ 5686-94
ГОСТ 5686-94
ГОСТ 5686-94
ГОСТ 5686-94
ГОСТ 5686-94
ГОСТ 5686-94
ГОСТ 5686-94
ГОСТ 5686-94
ГОСТ 5686-94
ГОСТ 5686-94
ГОСТ 5686-94
ГОСТ 5686-94
ГОСТ 5686-94
ГОСТ 5686-94
ГОСТ 5686-94
ГОСТ 5686-94
ГОСТ 5686-94
ГОСТ 5686-94
ГОСТ 5686-94
ГОСТ 5686-94
ГОСТ 5686-94
ГОСТ 5686-94
ГОСТ 5686-94
ГОСТ 5686-94
ГОСТ 5686-94
ГОСТ 5686-94
ГОСТ 5686-94
ГОСТ 5686-94
ГОСТ 5686-94
ГОСТ 5686-94
ГОСТ 5686-94
ГОСТ 5686-94
ГОСТ 5686-94
ГОСТ 5686-94
ГОСТ 5686-94
ГОСТ 5686-94
ГОСТ 5686-94
ГОСТ 5686-94
ГОСТ 5686-94
ГОСТ 5686-94
ГОСТ 5686-94
Автор: 
Домашняя страница автора: 

ГОСТ Р ИСО 5355-96

E-mail автора: 

Ботинки горнолыжные. Требования безопасности и методы испытаний

Обозначение: ГОСТ Р ИСО 5355-96
Статус: действующий
Название рус.: Ботинки горнолыжные. Требования безопасности и методы испытаний
Название англ.: Alpine ski-boots. Safety requirements and test methods
Дата актуализации текста: 19.06.2012
Дата актуализации описания: 19.06.2012
Дата введения в действие: 01.07.1996
Область и условия применения: Настоящий стандарт устанавливает требования безопасности, методы испытаний и правила маркировки лыжных ботинок, применяемых с распространенными системами горнолыжных креплений для прикрепления носка и пятки ботинка, функция расцепления которых зависит от размеров и конструкций.
Для систем лыжных креплений, которые функционируют независимо от формы подошвы или которые имеют отличительные требования к размерам подошвы, соответствие подошв лыжных ботинок требованиям настоящего стандарта не является обязательным для достижения необходимой степени безопасности.
Стандарт распространяется на лыжные ботинки, начиная с размера 15,0 (типов А и С) по всемирной системе


ГОСТ Р ИСО 5355-96
ГОСТ Р ИСО 5355-96
ГОСТ Р ИСО 5355-96
ГОСТ Р ИСО 5355-96
ГОСТ Р ИСО 5355-96
ГОСТ Р ИСО 5355-96
ГОСТ Р ИСО 5355-96
ГОСТ Р ИСО 5355-96
ГОСТ Р ИСО 5355-96
ГОСТ Р ИСО 5355-96
ГОСТ Р ИСО 5355-96
ГОСТ Р ИСО 5355-96
ГОСТ Р ИСО 5355-96
ГОСТ Р ИСО 5355-96
ГОСТ Р ИСО 5355-96
ГОСТ Р ИСО 5355-96
ГОСТ Р ИСО 5355-96
ГОСТ Р ИСО 5355-96
ГОСТ Р ИСО 5355-96
ГОСТ Р ИСО 5355-96
ГОСТ Р ИСО 5355-96
ГОСТ Р ИСО 5355-96
ГОСТ Р ИСО 5355-96
ГОСТ Р ИСО 5355-96
ГОСТ Р ИСО 5355-96
ГОСТ Р ИСО 5355-96
Автор: 
Домашняя страница автора: 

ГОСТ 5778-2000

E-mail автора: 

Шерсть сортированная мытая. Упаковка, маркировка, транспортирование и хранение

Обозначение: ГОСТ 5778-2000
Статус: действующий
Название рус.: Шерсть сортированная мытая. Упаковка, маркировка, транспортирование и хранение
Название англ.: Sorted scoured wool. Packing, labelling, transportation and storage
Дата актуализации текста: 19.06.2012
Дата актуализации описания: 19.06.2012
Дата введения в действие: 01.07.2001
Область и условия применения: Настоящий стандарт распространяется на прессованную овечью (тонкую и полутонкую, полугрубую и грубую, весеннюю, осеннюю и поярковую), верблюжью и козью шерсть, сортированную, мытую горячим способом, шерсть, очищенную органическими растворителями, а также шерсть сухой обработки и устанавливает требования к упаковке, маркировке, транспортированию и хранению
Взамен: ГОСТ 5778-73
Список изменений: №0 от 15.12.2001 (рег. 15.12.2001) «Дата введения перенесена»
Приложение №1: Поправка к ГОСТ 5778-2000


ГОСТ 5778-2000
ГОСТ 5778-2000
ГОСТ 5778-2000
ГОСТ 5778-2000
ГОСТ 5778-2000
ГОСТ 5778-2000
ГОСТ 5778-2000
ГОСТ 5778-2000


Поправка к ГОСТ 5778-2000

Обозначение: Поправка к ГОСТ 5778-2000
Дата введения в действие: 15.12.2001
Дата актуализации: 15.01.2008


Поправка к ГОСТ 5778-2000
Автор: 
Домашняя страница автора: 

ГОСТ 5485-50

E-mail автора: 

Масла растительные и натуральные жирные кислоты. Метод определения минеральных кислот

Обозначение: ГОСТ 5485-50
Статус: действующий
Название рус.: Масла растительные и натуральные жирные кислоты. Метод определения минеральных кислот
Название англ.: Vegetable oils and natural fatty acids. Method for determination of mineral acids
Дата актуализации текста: 19.06.2012
Дата актуализации описания: 19.06.2012
Дата введения в действие: 01.11.1950
Область и условия применения: Настоящий стандарт устанавливает метод определения содержания минеральных кислот в растительном масле качественной реакцией
Взамен в части: ОСТ ВКС 8531 в части метода определения минеральных кислот
Список изменений: №1 от 01.11.1980 (рег. 08.10.1980) «Срок действия продлен»
№2 от 01.01.1991 (рег. 18.06.1990) «Поправка»


ГОСТ 5485-50
ГОСТ 5485-50
Автор: 
Домашняя страница автора: 

ГОСТ 5896-51

E-mail автора: 

Кондитерские изделия. Метод определения спирта

Обозначение: ГОСТ 5896-51
Статус: действующий
Название рус.: Кондитерские изделия. Метод определения спирта
Название англ.: Confectionery. Method for determination of alcohol
Дата актуализации текста: 19.06.2012
Дата актуализации описания: 19.06.2012
Дата введения в действие: 15.10.1951
Область и условия применения: Настоящий стандарт распространяется на кондитерские изделия и устанавливает метод опеределения этилового спирта в ликерных начинках и корпусах конфет
Список изменений: №1 от 01.01.1986 (рег. 25.07.1985) «Поправка»


ГОСТ 5896-51
ГОСТ 5896-51
ГОСТ 5896-51
Автор: 
Домашняя страница автора: 

ГОСТ 5111-55

E-mail автора: 

Овцы и козы для убоя. Определение упитанности

Обозначение: ГОСТ 5111-55
Статус: утратил силу в РФ
Название рус.: Овцы и козы для убоя. Определение упитанности
Название англ.: Sloughter sheep and goats. Determination of fatness
Дата актуализации текста: 19.06.2012
Дата актуализации описания: 19.06.2012
Дата введения в действие: 01.01.1956
Область и условия применения: Настоящий стандарт применяется при определении упитанности овец и коз, заготовляемых и сдаваемых для убоя
Взамен: ГОСТ 5111-49 ГОСТ 6366-52
Список изменений: №0 от 01.01.2009 (рег. 27.12.2007) «Поправка к изменению»
№1 от 01.01.1987 (рег. 07.08.1986) «Срок действия продлен»


ГОСТ 5111-55
ГОСТ 5111-55
ГОСТ 5111-55
ГОСТ 5111-55
Автор: 
Домашняя страница автора: 

Страницы