Наша группа Вконтакте vk.com/4ertimcom

ГОСТ 5001-6000

ГОСТ 5091-78

E-mail автора: 

Изделия скобяные вспомогательные для деревянных окон и дверей. Типы

Обозначение: ГОСТ 5091-78
Статус: действующий
Название рус.: Изделия скобяные вспомогательные для деревянных окон и дверей. Типы
Название англ.: Auxillary builders hardware for wooden windows and doors. Tupes
Дата актуализации текста: 19.06.2012
Дата актуализации описания: 19.06.2012
Дата введения в действие: 01.01.1980
Область и условия применения: Настоящий стандарт распространяется на вспомогательные изделия для деревянных окон и дверей, применяемых в массовом строительстве жилых и общественных зданий
Взамен: ГОСТ 5091-72
Список изменений: №1 от 01.07.1982 (рег. 31.05.1982) «Срок действия продлен»
№2 от 01.03.1987 (рег. 20.12.1986) «Поправка»


ГОСТ 5091-78
ГОСТ 5091-78
ГОСТ 5091-78
ГОСТ 5091-78
ГОСТ 5091-78
ГОСТ 5091-78
ГОСТ 5091-78
ГОСТ 5091-78
ГОСТ 5091-78
ГОСТ 5091-78
ГОСТ 5091-78
ГОСТ 5091-78
ГОСТ 5091-78
ГОСТ 5091-78
ГОСТ 5091-78
ГОСТ 5091-78
ГОСТ 5091-78
ГОСТ 5091-78
ГОСТ 5091-78
Автор: 
Домашняя страница автора: 

ГОСТ 5362-78

E-mail автора: 

Полосы латунные. Технические условия

Обозначение: ГОСТ 5362-78
Статус: действующий
Название рус.: Полосы латунные. Технические условия
Название англ.: Brass ribbons. Specifications
Дата актуализации текста: 19.06.2012
Дата актуализации описания: 19.06.2012
Дата введения в действие: 01.01.1980
Область и условия применения: Настоящий стандарт распространяется на холоднокатаные латунные полосы, предназначенные для изготовления изделий способом глубокой вытяжки
Взамен: ГОСТ 5362-50
Список изменений: №1 от 01.09.1984 (рег. 28.03.1984) «Срок действия продлен»
№2 от 01.01.1987 (рег. 07.08.1986) «Срок действия продлен»
№3 от 01.10.1989 (рег. 29.03.1989) «Срок действия продлен»


ГОСТ 5362-78
ГОСТ 5362-78
ГОСТ 5362-78
ГОСТ 5362-78
ГОСТ 5362-78
ГОСТ 5362-78
ГОСТ 5362-78
Автор: 
Домашняя страница автора: 

ГОСТ 5202-78

E-mail автора: 

Материал переплетный с крахмально-каолиновым покрытием. Технические условия

Обозначение: ГОСТ 5202-78
Статус: действующий
Название рус.: Материал переплетный с крахмально-каолиновым покрытием. Технические условия
Название англ.: Binding material with starch and kaolin coating. Specifications
Дата актуализации текста: 19.06.2012
Дата актуализации описания: 19.06.2012
Дата введения в действие: 01.07.1979
Область и условия применения: Настоящий стандарт распространяется на переплетный материал с крахмально-каолиновым покрытием, предназначенный для изготовления переплетных крышек и фальчиков при выпуске изданий, рассчитанных на длительную или интенсивную эксплуатацию
Взамен: ГОСТ 5202-57
Список изменений: №1 от 01.01.1986 (рег. 19.07.1985) «Срок действия продлен»
№2 от 01.03.1987 (рег. 05.09.1986) «Срок действия продлен»


ГОСТ 5202-78
ГОСТ 5202-78
ГОСТ 5202-78
ГОСТ 5202-78
ГОСТ 5202-78
ГОСТ 5202-78
ГОСТ 5202-78
ГОСТ 5202-78
Автор: 
Домашняя страница автора: 

ГОСТ 5445-79

E-mail автора: 

Продукты коксования химические. Правила приемки и методы отбора проб

Обозначение: ГОСТ 5445-79
Статус: действующий
Название рус.: Продукты коксования химические. Правила приемки и методы отбора проб
Название англ.: Chemical products of coking. Regulations for acceptance, methods of sampling
Дата актуализации текста: 19.06.2012
Дата актуализации описания: 19.06.2012
Дата введения в действие: 01.01.1981
Область и условия применения: Настоящий стандарт распространяется на химические продукты коксования (жидкие, сыпучие, в кусках и плитах) и устанавливает правила приемки и методы отбора проб у изготовителей и потребителей указанных продуктов
Взамен: ГОСТ 5445-69
Список изменений: №0 от 01.09.2009 (рег. 01.09.2009) «Дата введения перенесена»
№1 от 01.10.1985 (рег. 24.04.1985) «Срок действия продлен»
№2 от 01.07.1992 (рег. 24.12.1991) «Срок действия продлен»
Приложение №1: Поправка к ГОСТ 5445-79


ГОСТ 5445-79
ГОСТ 5445-79
ГОСТ 5445-79
ГОСТ 5445-79
ГОСТ 5445-79
ГОСТ 5445-79
ГОСТ 5445-79
ГОСТ 5445-79
ГОСТ 5445-79
ГОСТ 5445-79
ГОСТ 5445-79


Поправка к ГОСТ 5445-79

Обозначение: Поправка к ГОСТ 5445-79
Дата введения в действие: 01.09.2009
Дата актуализации: 10.11.2009


Поправка к ГОСТ 5445-79
Автор: 
Домашняя страница автора: 

ГОСТ 5534-79

E-mail автора: 

Краны плавучие. Технические условия

Обозначение: ГОСТ 5534-79
Статус: действующий
Название рус.: Краны плавучие. Технические условия
Название англ.: Floating cranes. Specifications
Дата актуализации текста: 19.06.2012
Дата актуализации описания: 19.06.2012
Дата введения в действие: 01.01.1983
Область и условия применения: Настоящий стандарт распространяется на плавучие несамоходные стреловые грейферно-крюковые не перемещающиеся по понтону полноповоротные краны, предназначенные для перегрузки на внутренних водных путях генеральных , штучных и навалочных грузов и погрузки в суда из-под воды нерудных минерально-строительных материалов
Взамен: ГОСТ 5534-70
Список изменений: №1 от 01.01.1988 (рег. 27.04.1987) «Срок действия продлен»


ГОСТ 5534-79
ГОСТ 5534-79
ГОСТ 5534-79
ГОСТ 5534-79
ГОСТ 5534-79
ГОСТ 5534-79
ГОСТ 5534-79
ГОСТ 5534-79
ГОСТ 5534-79
Автор: 
Домашняя страница автора: 

ГОСТ 5852-79

E-mail автора: 

Реактивы. Медь (II) уксуснокислая 1-водная. Технические условия

Обозначение: ГОСТ 5852-79
Статус: действующий
Название рус.: Реактивы. Медь (II) уксуснокислая 1-водная. Технические условия
Название англ.: Reagents. Cooper (II) acetate monohydrate. Specifications
Дата актуализации текста: 19.06.2012
Дата актуализации описания: 19.06.2012
Дата введения в действие: 01.01.1980
Область и условия применения: Настоящий стандарт распространяется на 1-водную уксусно-кислую медь (II), представляющую собой темные сине-зеленые кристаллы или порошок; растворима в воде и слабо растворима в спирте, выветривается в сухом воздухе
Взамен: ГОСТ 5852-70
Список изменений: №1 от 01.01.1990 (рег. 26.06.1989) «Срок действия продлен»


ГОСТ 5852-79
ГОСТ 5852-79
ГОСТ 5852-79
ГОСТ 5852-79
ГОСТ 5852-79
ГОСТ 5852-79
ГОСТ 5852-79
ГОСТ 5852-79
ГОСТ 5852-79
ГОСТ 5852-79
ГОСТ 5852-79
ГОСТ 5852-79
Автор: 
Домашняя страница автора: 

ГОСТ 5377-79

E-mail автора: 

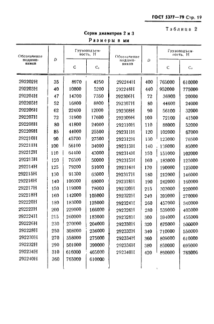
Подшипники роликовые радиальные с короткими цилиндрическими роликами без внутреннего или наружного кольца. Типы и основные размеры

Обозначение: ГОСТ 5377-79
Статус: действующий
Название рус.: Подшипники роликовые радиальные с короткими цилиндрическими роликами без внутреннего или наружного кольца. Типы и основные размеры
Название англ.: Cylindrical roller bearings with short rollers without inner or outer ring. Types and basic dimensions
Дата актуализации текста: 19.06.2012
Дата актуализации описания: 19.06.2012
Дата введения в действие: 01.01.1980
Область и условия применения: Настоящий стандарт распространяется на радиальные роликовые подшипники с короткими цилиндрическими роликами без внутреннего или наружного кольца и на дорожки качения для них на валу или в корпусе
Взамен: ГОСТ 5377-60
Список изменений: №1 от 01.07.1984 (рег. 22.11.1983) «Срок действия продлен»


ГОСТ 5377-79
ГОСТ 5377-79
ГОСТ 5377-79
ГОСТ 5377-79
ГОСТ 5377-79
ГОСТ 5377-79
ГОСТ 5377-79
ГОСТ 5377-79
ГОСТ 5377-79
ГОСТ 5377-79
ГОСТ 5377-79
ГОСТ 5377-79
ГОСТ 5377-79
ГОСТ 5377-79
ГОСТ 5377-79
ГОСТ 5377-79
ГОСТ 5377-79
ГОСТ 5377-79
ГОСТ 5377-79
ГОСТ 5377-79
ГОСТ 5377-79
ГОСТ 5377-79
ГОСТ 5377-79
ГОСТ 5377-79
ГОСТ 5377-79
ГОСТ 5377-79
Автор: 
Домашняя страница автора: 

ГОСТ 5087-80

E-mail автора: 

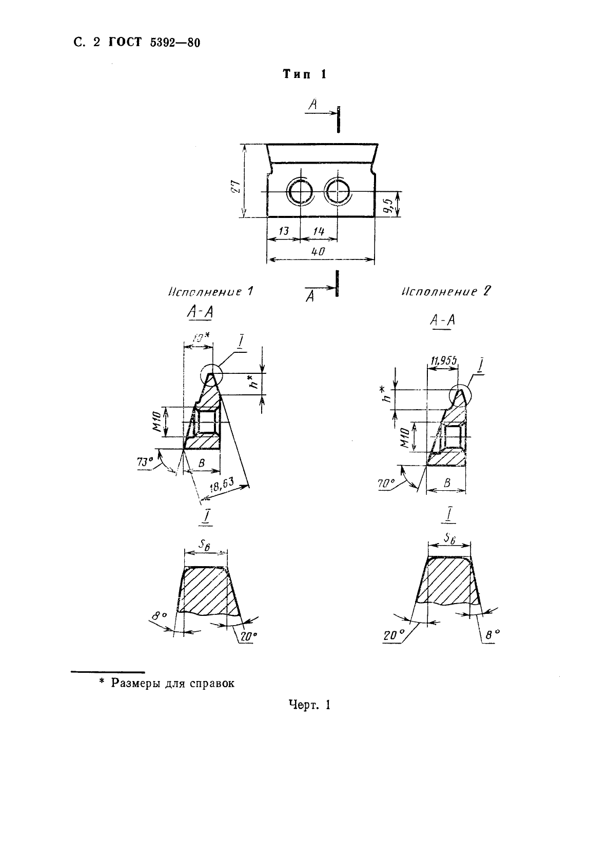
Ручки для окон и дверей. Типы и основные размеры

Обозначение: ГОСТ 5087-80
Статус: действующий
Название рус.: Ручки для окон и дверей. Типы и основные размеры
Название англ.: Window and door handles. Types and principal dimensions
Дата актуализации текста: 19.06.2012
Дата актуализации описания: 19.06.2012
Дата введения в действие: 01.01.1981
Область и условия применения: Настоящий стандарт распространяется на ручки-скобы и ручки-кнопки для деревянных окон и дверей, применяемых в массовом строительстве жилых и общественных зданий
Взамен: ГОСТ 5087-72


ГОСТ 5087-80
ГОСТ 5087-80
ГОСТ 5087-80
ГОСТ 5087-80
ГОСТ 5087-80
ГОСТ 5087-80
Автор: 
Домашняя страница автора: 

ГОСТ 5392-80

E-mail автора: 

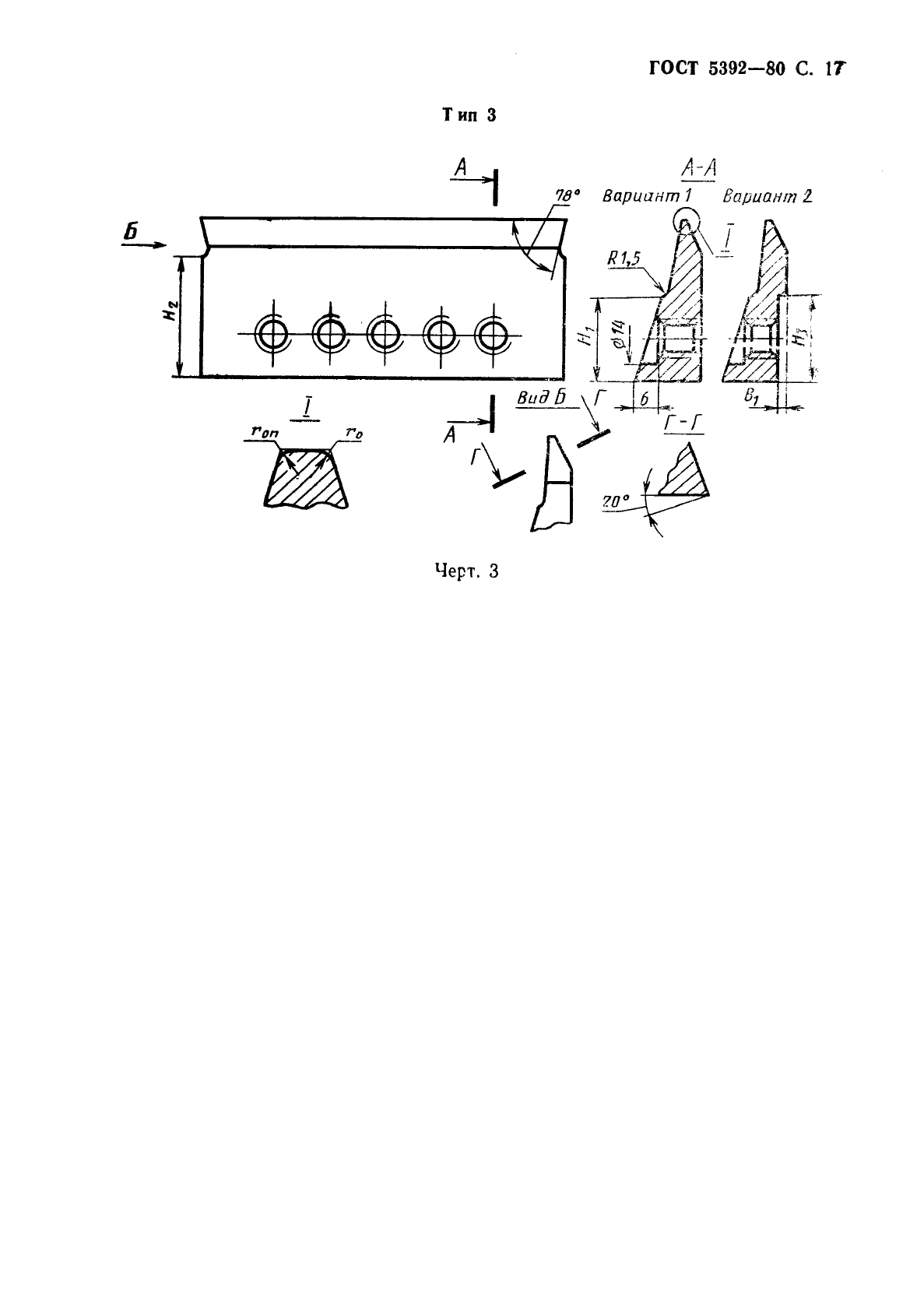
Резцы зубострогальные для прямозубых конических колес. Технические условия

Обозначение: ГОСТ 5392-80
Статус: действующий
Название рус.: Резцы зубострогальные для прямозубых конических колес. Технические условия
Название англ.: Straight bevel gear-generating tools. Specifications
Дата актуализации текста: 19.06.2012
Дата актуализации описания: 19.06.2012
Дата введения в действие: 01.01.1982
Область и условия применения: Настоящий стандарт распространяется на зубострогальные резцы для обработки конических колес с прямыми зубьями с исходным контуром по ГОСТ 13754-81 и ГОСТ 9587-81 и модулями от 0,3 до 20 мм, изготовляемые для нужд народного хозяйства и на экспорт
Взамен: ГОСТ 5392-64
Список изменений: №1 от 01.07.1987 (рег. 20.12.1986) «Срок действия продлен»


ГОСТ 5392-80
ГОСТ 5392-80
ГОСТ 5392-80
ГОСТ 5392-80
ГОСТ 5392-80
ГОСТ 5392-80
ГОСТ 5392-80
ГОСТ 5392-80
ГОСТ 5392-80
ГОСТ 5392-80
ГОСТ 5392-80
ГОСТ 5392-80
ГОСТ 5392-80
ГОСТ 5392-80
ГОСТ 5392-80
ГОСТ 5392-80
ГОСТ 5392-80
ГОСТ 5392-80
ГОСТ 5392-80
ГОСТ 5392-80
ГОСТ 5392-80
ГОСТ 5392-80
Автор: 
Домашняя страница автора: 

ГОСТ 5975-80

E-mail автора: 

Красители органические. Хризофенин. Технические условия

Обозначение: ГОСТ 5975-80
Статус: действующий
Название рус.: Красители органические. Хризофенин. Технические условия
Название англ.: Organic dyestuffs. Chrysophenine. Specifications
Дата актуализации текста: 19.06.2012
Дата актуализации описания: 19.06.2012
Дата введения в действие: 01.07.1981
Область и условия применения: Настоящий стандарт распространяется на органический краситель хризофенин, выпускаемый в виде напыляющего однородного порошка желтого цвета с красноватым оттенком и предназначенный для крашения хлопкового и вискозного волокон и изделий из них, а также полиамидного волокна и натурального шелка
Ассортимент волокон и изделий из них, подлежащих окрашиванию данным красителем, устанавливается в зависимости от их назначения, в соответствии с показателями устойчивости окраски, которые обеспечиваются этим красителем
Взамен: ГОСТ 5975-73
Список изменений: №1 от 01.03.1986 (рег. 27.09.1985) «Срок действия продлен»
№2 от 01.05.1991 (рег. 29.11.1990) «Срок действия продлен»


ГОСТ 5975-80
ГОСТ 5975-80
ГОСТ 5975-80
ГОСТ 5975-80
ГОСТ 5975-80
ГОСТ 5975-80
ГОСТ 5975-80
ГОСТ 5975-80
ГОСТ 5975-80
ГОСТ 5975-80
ГОСТ 5975-80
ГОСТ 5975-80
ГОСТ 5975-80
Автор: 
Домашняя страница автора: 

Страницы