Наша группа Вконтакте vk.com/4ertimcom

ГОСТ 5001-6000

ГОСТ 5384-89

E-mail автора: 

Прессы холодноштамповочные кривошипно-коленные. Параметры и размеры. Размеры и расположение пазов и отверстий для крепления штампов. Нормы точности

Обозначение: ГОСТ 5384-89
Статус: действующий
Название рус.: Прессы холодноштамповочные кривошипно-коленные. Параметры и размеры. Размеры и расположение пазов и отверстий для крепления штампов. Нормы точности
Название англ.: Knuckle-joint cold stamping presses. Parameters and dimensions. Dimensions and arrangement of the slots and openings for fixing the tools. Norms of accuracy
Дата актуализации текста: 19.06.2012
Дата актуализации описания: 19.06.2012
Дата введения в действие: 01.07.1990
Область и условия применения: Настоящий стандарт распространяется на холодноштамповочные кривошипно-коленные прессы чеканочные и для холодного выдавливания, предназначенные для выполнения различных операций холодной объемной штамповки и изготавливаемые для нужд народного хозяйства и экспорта
Взамен: ГОСТ 5384-84 ГОСТ 5793-70 ГОСТ 16433-81
Список изменений: №1 от 01.01.1993 (рег. 24.04.1992) «Срок действия продлен»


ГОСТ 5384-89
ГОСТ 5384-89
ГОСТ 5384-89
ГОСТ 5384-89
ГОСТ 5384-89
ГОСТ 5384-89
ГОСТ 5384-89
ГОСТ 5384-89
ГОСТ 5384-89
ГОСТ 5384-89
ГОСТ 5384-89
ГОСТ 5384-89
ГОСТ 5384-89
ГОСТ 5384-89
ГОСТ 5384-89
ГОСТ 5384-89
ГОСТ 5384-89
ГОСТ 5384-89
ГОСТ 5384-89
ГОСТ 5384-89
Автор: 
Домашняя страница автора: 

ГОСТ 5402.1-2000

E-mail автора: 

Изделия огнеупорные с общей пористостью менее 45%. Метод определения остаточных изменений размеров при нагреве

Обозначение: ГОСТ 5402.1-2000
Статус: действующий
Название рус.: Изделия огнеупорные с общей пористостью менее 45%. Метод определения остаточных изменений размеров при нагреве
Название англ.: Refractory products with a true porosity of less than 45%. Method for determination of permanent change in dimensions on heating
Дата актуализации текста: 19.06.2012
Дата актуализации описания: 19.06.2012
Дата введения в действие: 01.06.2001
Область и условия применения: Настоящий стандарт устанавливает объемный метод определения остаточных изменений размеров (дополнительной линейной усадки или роста) обожженных огнеупорных изделий с общей пористостью менее 45% при нагреве при высоких температурах.
Стандарт не распространяется на углеродсодержащие изделия
Взамен в части: ГОСТ 5402-81 в части изделий с общей пористостью менее 45 %
Список изменений: №0 от 15.09.2001 (рег. 15.09.2001) «Дата введения перенесена»
Приложение №1: Поправка к ГОСТ 5402.1-2000


ГОСТ 5402.1-2000
ГОСТ 5402.1-2000
ГОСТ 5402.1-2000
ГОСТ 5402.1-2000
ГОСТ 5402.1-2000
ГОСТ 5402.1-2000
ГОСТ 5402.1-2000
ГОСТ 5402.1-2000
ГОСТ 5402.1-2000
ГОСТ 5402.1-2000
ГОСТ 5402.1-2000
ГОСТ 5402.1-2000


Поправка к ГОСТ 5402.1-2000

Обозначение: Поправка к ГОСТ 5402.1-2000
Дата введения в действие: 15.09.2001
Дата актуализации: 15.01.2008


Поправка к ГОСТ 5402.1-2000
Автор: 
Домашняя страница автора: 

ГОСТ 5984-99

E-mail автора: 

Вещества взрывчатые. Методы определения бризантности

Обозначение: ГОСТ 5984-99
Статус: действующий
Название рус.: Вещества взрывчатые. Методы определения бризантности
Название англ.: Explosives. Methods for determination of brisance
Дата актуализации текста: 19.06.2012
Дата актуализации описания: 19.06.2012
Дата введения в действие: 01.01.2001
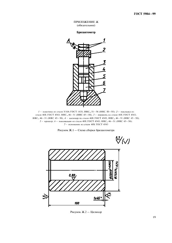
Область и условия применения: Настоящий стандарт распространяется на взрывчатые вещества и устанавливает следующие методы определения бризантности:
по обжатию свинцовых цилиндров;
по импульсу взрыва на баллистическом маятнике;
по обжатию медных крешерных цилиндрических столбиков
Взамен: ГОСТ 5984-80


ГОСТ 5984-99
ГОСТ 5984-99
ГОСТ 5984-99
ГОСТ 5984-99
ГОСТ 5984-99
ГОСТ 5984-99
ГОСТ 5984-99
ГОСТ 5984-99
ГОСТ 5984-99
ГОСТ 5984-99
ГОСТ 5984-99
ГОСТ 5984-99
ГОСТ 5984-99
ГОСТ 5984-99
ГОСТ 5984-99
ГОСТ 5984-99
ГОСТ 5984-99
ГОСТ 5984-99
ГОСТ 5984-99
ГОСТ 5984-99
ГОСТ 5984-99
ГОСТ 5984-99
ГОСТ 5984-99
ГОСТ 5984-99
ГОСТ 5984-99
Автор: 
Домашняя страница автора: 

ГОСТ 5267.10-90

E-mail автора: 

Профиль для бандажных колец. Сортамент

Обозначение: ГОСТ 5267.10-90
Статус: действующий
Название рус.: Профиль для бандажных колец. Сортамент
Название англ.: Section of tread rings. Dimensions
Дата актуализации текста: 19.06.2012
Дата актуализации описания: 19.06.2012
Дата введения в действие: 01.07.1991
Область и условия применения: Настоящий стандарт распространяется на горячекатаный профиль для бандажных колец
Взамен: ГОСТ 5267.10-78


ГОСТ 5267.10-90
ГОСТ 5267.10-90
Автор: 
Домашняя страница автора: 

ГОСТ 5267.4-90

E-mail автора: 

Профиль для верхней обвязки. Сортамент

Обозначение: ГОСТ 5267.4-90
Статус: действующий
Название рус.: Профиль для верхней обвязки. Сортамент
Название англ.: Section of upper binding. Dimensions
Дата актуализации текста: 19.06.2012
Дата актуализации описания: 19.06.2012
Дата введения в действие: 01.07.1991
Область и условия применения: Настоящий стандарт распространяется на горячекатаный профиль для верхней обвязки полувагонов
Взамен: ГОСТ 5267.14-78


ГОСТ 5267.4-90
ГОСТ 5267.4-90
Автор: 
Домашняя страница автора: 

ГОСТ 5267.13-90

E-mail автора: 

Профиль для обвязки двери. Сортамент

Обозначение: ГОСТ 5267.13-90
Статус: действующий
Название рус.: Профиль для обвязки двери. Сортамент
Название англ.: Section for door binding. Dimensions
Дата актуализации текста: 19.06.2012
Дата актуализации описания: 19.06.2012
Дата введения в действие: 01.07.1991
Область и условия применения: Настоящий стандарт распространяется на горячекатанный профиль для обвязки двери вагона
Взамен: ГОСТ 5267.13-78


ГОСТ 5267.13-90
ГОСТ 5267.13-90
Автор: 
Домашняя страница автора: 

ГОСТ 5773-90

E-mail автора: 

Издания книжные и журнальные. Форматы

Обозначение: ГОСТ 5773-90
Статус: действующий
Название рус.: Издания книжные и журнальные. Форматы
Название англ.: Book and magazine editions. Sizes
Дата актуализации текста: 19.06.2012
Дата актуализации описания: 19.06.2012
Дата введения в действие: 01.07.1991
Область и условия применения: Настоящий стандарт устанавливает форматы книжных и журнальных изданий, далее - “изданий“.
Стандарт не распространяется на форматы альбомов, атласов, книжек-игрушек, буклетов, факсимильных, библиофильских, нотных изданий, календарей, изданий, выпускаемых на экспорт, изданий, печатаемых на зарубежной базе, а также миниатюрных, уникальных и экспериментальных изданий.
Взамен: ГОСТ 5773-76


ГОСТ 5773-90
ГОСТ 5773-90
ГОСТ 5773-90
ГОСТ 5773-90
Автор: 
Домашняя страница автора: 

ГОСТ 5976-90

E-mail автора: 

Вентиляторы радиальные общего назначения. Общие технические условия

Обозначение: ГОСТ 5976-90
Статус: действующий
Название рус.: Вентиляторы радиальные общего назначения. Общие технические условия
Название англ.: Radial fans for general use. General specifications
Дата актуализации текста: 19.06.2012
Дата актуализации описания: 19.06.2012
Дата введения в действие: 01.01.1992
Область и условия применения: Настоящий стандарт распространяется на радиальные вентиляторы общего назначения для обычных сред, одноступенчатые, с горизонтально расположенной осью вращения, со спиральными корпусами, с рабочими колесами диаметром от 200 до 3150 мм, создающие полные давления до 12000 Па при плотности перемещаемой газообразной среды 1,2 кг/куб.м и предназначенные для перемещения воздуха и других газовых смесей, агрессивность которых по отношению к углеродистым сталям обыкновенного качества не выше агрессивности воздуха, с температурой до 80 град.С, не содержащих липких веществ, волокнистых материалов, с содержанием пыли и других твердых примесей не более 100 мг/куб.м. Для вентиляторов двустороннего всасывания (двусторонних) с расположением ременной передачи в перемещаемой среде температура перемещаемой среды не должна превышать 60 град.С .
Стандарт не распространяется на вентиляторы специального исполнения (пылевые, взрывозащищенные, коррозионностойкие и др.) и вентиляторы, встроенные в агрегаты и машины, в т. ч. кондиционеры
Взамен: ГОСТ 5976-73
Заменяющий в части: ГОСТ 31351-2007 в части проверки вибрационных характеристик вентиляторов; ГОСТ 31350-2007 в части предельных значений вибрации и допустимых значений дисбалансов


ГОСТ 5976-90
ГОСТ 5976-90
ГОСТ 5976-90
ГОСТ 5976-90
ГОСТ 5976-90
ГОСТ 5976-90
ГОСТ 5976-90
ГОСТ 5976-90
ГОСТ 5976-90
ГОСТ 5976-90
ГОСТ 5976-90
ГОСТ 5976-90
ГОСТ 5976-90
ГОСТ 5976-90
ГОСТ 5976-90
ГОСТ 5976-90
ГОСТ 5976-90
ГОСТ 5976-90
ГОСТ 5976-90
ГОСТ 5976-90
ГОСТ 5976-90
ГОСТ 5976-90
ГОСТ 5976-90
ГОСТ 5976-90
Автор: 
Домашняя страница автора: 

ГОСТ 5267.3-90

E-mail автора: 

Профиль зетовый для хребтовой балки. Сортамент

Обозначение: ГОСТ 5267.3-90
Статус: действующий
Название рус.: Профиль зетовый для хребтовой балки. Сортамент
Название англ.: Z-section for centre girder. Dimensions
Дата актуализации текста: 19.06.2012
Дата актуализации описания: 19.06.2012
Дата введения в действие: 01.07.1991
Область и условия применения: Настоящий стандарт распространяется на горячекатаный зетовый профиль для хребтовой балки вагонов
Взамен: ГОСТ 5267.3-78


ГОСТ 5267.3-90
ГОСТ 5267.3-90
Автор: 
Домашняя страница автора: 

ГОСТ 5267.7-90

E-mail автора: 

Профиль верхнего листа поперечной балки рамы полувагона. Сортамент

Обозначение: ГОСТ 5267.7-90
Статус: действующий
Название рус.: Профиль верхнего листа поперечной балки рамы полувагона. Сортамент
Название англ.: Section of upper sheet of open-box car frame cross beam. Dimensions
Дата актуализации текста: 19.06.2012
Дата актуализации описания: 19.06.2012
Дата введения в действие: 01.07.1991
Область и условия применения: Настоящий стандарт распространяется на горячекатаный профиль верхнего листа поперечной балки рамы полувагона
Взамен: ГОСТ 5267.7-78


ГОСТ 5267.7-90
ГОСТ 5267.7-90
Автор: 
Домашняя страница автора: 

Страницы