Наша группа Вконтакте vk.com/4ertimcom

ГОСТ 6001-10000

ГОСТ 7619.3-81

E-mail автора: 

Шпат плавиковый. Метод определения фтористого кальция

Обозначение: ГОСТ 7619.3-81
Статус: действующий
Название рус.: Шпат плавиковый. Метод определения фтористого кальция
Название англ.: Fluorite. Method for the determination of calcium fluoride content
Дата актуализации текста: 19.06.2012
Дата актуализации описания: 19.06.2012
Дата введения в действие: 01.01.1982
Область и условия применения: Настоящий стандарт распространяется на плавиковый шпат и устанавливает титриметрический метод определения фтористого кальция при массовой доле свыше 1 %, а также потенциометрический метод определения фтористого кальция.
Метод основан на разложении смесью борной и соляной кислот остатка, полученного после обработки навески уксусной кислотой при определении углекислого кальция. Кальций в фильтрате титруют трилоном Б
Взамен: ГОСТ 7619.3-70
Список изменений: №1 от 01.01.1987 (рег. 21.07.1986) «Срок действия продлен»
№2 от 01.07.1992 (рег. 26.12.1991) «Срок действия продлен»


ГОСТ 7619.3-81
ГОСТ 7619.3-81
ГОСТ 7619.3-81
ГОСТ 7619.3-81
ГОСТ 7619.3-81
ГОСТ 7619.3-81
ГОСТ 7619.3-81
ГОСТ 7619.3-81
ГОСТ 7619.3-81
ГОСТ 7619.3-81
ГОСТ 7619.3-81
ГОСТ 7619.3-81
ГОСТ 7619.3-81
Автор: 
Домашняя страница автора: 

ГОСТ 9377-81

E-mail автора: 

Наконечники и бойки алмазные к приборам для измерения твердости металлов и сплавов. Технические условия

Обозначение: ГОСТ 9377-81
Статус: действующий
Название рус.: Наконечники и бойки алмазные к приборам для измерения твердости металлов и сплавов. Технические условия
Название англ.: Diamond indenters and hammers for metal and alloys hardness testing machines. Specifications
Дата актуализации текста: 19.06.2012
Дата актуализации описания: 19.06.2012
Дата введения в действие: 01.01.1982
Область и условия применения: Настоящий стандарт распространяется на алмазные наконечники к приборам для измерений твердости по методам Роквелла и Виккерса, микротвердости металлов и сплавов, а также алмазные бойки к приборам для измерений твердости по методу Шора
Взамен: ГОСТ 9377-74
Список изменений: №1 от 01.01.1987 (рег. 16.06.1986) «Срок действия продлен»


ГОСТ 9377-81
ГОСТ 9377-81
ГОСТ 9377-81
ГОСТ 9377-81
ГОСТ 9377-81
ГОСТ 9377-81
ГОСТ 9377-81
ГОСТ 9377-81
ГОСТ 9377-81
ГОСТ 9377-81
ГОСТ 9377-81
Автор: 
Домашняя страница автора: 

ГОСТ 8904-81

E-mail автора: 

Плиты древесноволокнистые твердые с лакокрасочным покрытием. Технические условия

Обозначение: ГОСТ 8904-81
Статус: действующий
Название рус.: Плиты древесноволокнистые твердые с лакокрасочным покрытием. Технические условия
Название англ.: Hard wood-fibre boards with varnish and paint coatings. Specifications
Дата актуализации текста: 19.06.2012
Дата актуализации описания: 19.06.2012
Дата введения в действие: 01.07.1982
Область и условия применения: Настоящий стандарт распространяется на твердые древесноволокнистые плиты с нанесенным на их лицевые поверхности лакокрасочным покрытием далее - плиты).
Плиты применяют в качестве отделочного материала при строительстве жилых, общественных и производственных зданий, изготовлении транспортных средств, торгового оборудования, мебели, дверных полотен и других изделий
Взамен: ГОСТ 8904-76
Список изменений: №1 от 01.03.1983 (рег. 10.02.1983) «Срок действия продлен»


ГОСТ 8904-81
ГОСТ 8904-81
ГОСТ 8904-81
ГОСТ 8904-81
ГОСТ 8904-81
ГОСТ 8904-81
Автор: 
Домашняя страница автора: 

ГОСТ 9178-81

E-mail автора: 

Основные нормы взаимозаменяемости. Передачи зубчатые цилиндрические мелкомодульные. Допуски

Обозначение: ГОСТ 9178-81
Статус: действующий
Название рус.: Основные нормы взаимозаменяемости. Передачи зубчатые цилиндрические мелкомодульные. Допуски
Название англ.: Basic requirements for interchangeability. Cylindrical fine-pitch gears. Tolerances
Дата актуализации текста: 19.06.2012
Дата актуализации описания: 19.06.2012
Дата введения в действие: 01.01.1982
Область и условия применения: Настоящий стандарт распространяется на эвольвентные цилиндрические зубчатые колеса и зубчатые передачи внешнего и внутреннего зацепления с прямозубыми и косозубыми зубчатыми колесами с модулем от 0,1 до 1,0 мм (исключительно), делительным диаметром до 400 мм и исходным контуром
Взамен: ГОСТ 9178-72


ГОСТ 9178-81
ГОСТ 9178-81
ГОСТ 9178-81
ГОСТ 9178-81
ГОСТ 9178-81
ГОСТ 9178-81
ГОСТ 9178-81
ГОСТ 9178-81
ГОСТ 9178-81
ГОСТ 9178-81
ГОСТ 9178-81
ГОСТ 9178-81
ГОСТ 9178-81
ГОСТ 9178-81
ГОСТ 9178-81
ГОСТ 9178-81
ГОСТ 9178-81
ГОСТ 9178-81
ГОСТ 9178-81
ГОСТ 9178-81
ГОСТ 9178-81
ГОСТ 9178-81
ГОСТ 9178-81
ГОСТ 9178-81
ГОСТ 9178-81
ГОСТ 9178-81
ГОСТ 9178-81
ГОСТ 9178-81
ГОСТ 9178-81
ГОСТ 9178-81
ГОСТ 9178-81
ГОСТ 9178-81
ГОСТ 9178-81
ГОСТ 9178-81
ГОСТ 9178-81
ГОСТ 9178-81
ГОСТ 9178-81
ГОСТ 9178-81
ГОСТ 9178-81
ГОСТ 9178-81
ГОСТ 9178-81
Автор: 
Домашняя страница автора: 

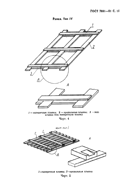
ГОСТ 7691-81

E-mail автора: 

Картон. Упаковка, маркировка, транспортирование и хранение

Обозначение: ГОСТ 7691-81
Статус: действующий
Название рус.: Картон. Упаковка, маркировка, транспортирование и хранение
Название англ.: Paperboard. Packing, marking, transportation and storage
Дата актуализации текста: 19.06.2012
Дата актуализации описания: 19.06.2012
Дата введения в действие: 01.07.1982
Область и условия применения: Настоящий стандарт распространяется на картон и устанавливает требования к упаковке, маркировке, транспортированию и хранению картона для нужд народного хозяйства.
Стандарт не распространяется на упаковку картона, отправляемого в районы крайнего севера и труднодоступные районы
Взамен: ГОСТ 7691-75
Список изменений: №1 от 01.10.1987 (рег. 09.04.1987) «Срок действия продлен»
№2 от 01.09.1992 (рег. 30.03.1992) «Срок действия продлен»


ГОСТ 7691-81
ГОСТ 7691-81
ГОСТ 7691-81
ГОСТ 7691-81
ГОСТ 7691-81
ГОСТ 7691-81
ГОСТ 7691-81
ГОСТ 7691-81
ГОСТ 7691-81
ГОСТ 7691-81
ГОСТ 7691-81
ГОСТ 7691-81
ГОСТ 7691-81
ГОСТ 7691-81
ГОСТ 7691-81
ГОСТ 7691-81
Автор: 
Домашняя страница автора: 

ГОСТ 7727-81

E-mail автора: 

Сплавы алюминиевые. Методы спектрального анализа

Обозначение: ГОСТ 7727-81
Статус: действующий
Название рус.: Сплавы алюминиевые. Методы спектрального анализа
Название англ.: Aluminium alloys. Methods of spectral analysis
Дата актуализации текста: 19.06.2012
Дата актуализации описания: 19.06.2012
Дата введения в действие: 01.07.1982
Область и условия применения: Настоящий стандарт устанавливает спектральные методы определения содержания легирующих элементов и примесей (меди, магния, марганца, железа, кремния, титана, цинка, ванадия, лития, кадмия, бериллия, никеля, хрома, циркония, церия, натрия, свинца, олова, сурьмы, мышьяка, бора) в литейных и деформируемых алюминиевых сплавах
Взамен: ГОСТ 7727-75
Список изменений: №1 от 01.07.1987 (рег. 17.12.1986) «Срок действия продлен»
№2 от 01.12.1992 (рег. 02.04.1992) «Срок действия продлен»


ГОСТ 7727-81
ГОСТ 7727-81
ГОСТ 7727-81
ГОСТ 7727-81
ГОСТ 7727-81
ГОСТ 7727-81
ГОСТ 7727-81
ГОСТ 7727-81
ГОСТ 7727-81
ГОСТ 7727-81
ГОСТ 7727-81
ГОСТ 7727-81
ГОСТ 7727-81
ГОСТ 7727-81
ГОСТ 7727-81
Автор: 
Домашняя страница автора: 

ГОСТ 7194-81

E-mail автора: 

Картофель свежий. Правила приемки и методы определения качества

Обозначение: ГОСТ 7194-81
Статус: действующий
Название рус.: Картофель свежий. Правила приемки и методы определения качества
Название англ.: Fresh potatoes. Acceptance regulations and methods of quality determination
Дата актуализации текста: 19.06.2012
Дата актуализации описания: 19.06.2012
Дата введения в действие: 01.06.1982
Область и условия применения: Настоящий стандарт распространяется на свежий картофель и устанавливает правила приемки и методы определения качества
Взамен: ГОСТ 7194-69
Список изменений: №0 от 30.03.1987 (рег. 30.03.1987) «Срок действия продлен»
№1 от 01.07.1988 (рег. 18.05.1988) «Срок действия продлен»
№2 от 01.01.1991 (рег. 30.11.1990) «Срок действия продлен»
№3 от 01.01.1994 (рег. 01.09.1992) «Срок действия продлен»


ГОСТ 7194-81
ГОСТ 7194-81
ГОСТ 7194-81
ГОСТ 7194-81
ГОСТ 7194-81
ГОСТ 7194-81
ГОСТ 7194-81
ГОСТ 7194-81
ГОСТ 7194-81
ГОСТ 7194-81
ГОСТ 7194-81
ГОСТ 7194-81
ГОСТ 7194-81
ГОСТ 7194-81
ГОСТ 7194-81
ГОСТ 7194-81
ГОСТ 7194-81
ГОСТ 7194-81
ГОСТ 7194-81
ГОСТ 7194-81
Автор: 
Домашняя страница автора: 

ГОСТ 9040-81

E-mail автора: 

Блоки анаморфотные киносъемочные и насадки анаморфотные к киносъемочным объективам для съемки 35-мм широкоэкранных фильмов. Общие технические условия

Обозначение: ГОСТ 9040-81
Статус: действующий
Название рус.: Блоки анаморфотные киносъемочные и насадки анаморфотные к киносъемочным объективам для съемки 35-мм широкоэкранных фильмов. Общие технические условия
Название англ.: Anamorphotic motion picture accemblies and anamorphotic attachments for camera lens for 35 mm wide screen films. General technical spesifications
Дата актуализации текста: 19.06.2012
Дата актуализации описания: 19.06.2012
Дата введения в действие: 01.01.1982
Область и условия применения: Настоящий стандарт распространяется на анаморфотные киносъемочные блоки и насадки с линзами, имеющими цилиндрические поверхности, применяемые для съемки широкоэкранных фильмов на 35-мм кинопленке.
Стандарт не распространяется на анаморфотные системы с переменным фокусным расстроянием, на блоки с анаморфотной системой, установленной в заднем отрезке объектива, а также специальные искажающие анаморфотные системы
Взамен: ГОСТ 9040-69
Список изменений: №1 от 01.01.1987 (рег. 29.04.1986) «Срок действия продлен»


ГОСТ 9040-81
ГОСТ 9040-81
ГОСТ 9040-81
ГОСТ 9040-81
ГОСТ 9040-81
ГОСТ 9040-81
ГОСТ 9040-81
ГОСТ 9040-81
ГОСТ 9040-81
ГОСТ 9040-81
ГОСТ 9040-81
ГОСТ 9040-81
ГОСТ 9040-81
ГОСТ 9040-81
ГОСТ 9040-81
ГОСТ 9040-81
Автор: 
Домашняя страница автора: 

ГОСТ 6418-81

E-mail автора: 

Войлок технический грубошерстный и детали из него для машиностроения. Технические условия

Обозначение: ГОСТ 6418-81
Статус: действующий
Название рус.: Войлок технический грубошерстный и детали из него для машиностроения. Технические условия
Название англ.: Technical coarse wool felt and machinery parts from it. Specifications
Дата актуализации текста: 19.06.2012
Дата актуализации описания: 19.06.2012
Дата введения в действие: 01.01.1982
Область и условия применения: Настоящий стандарт распространяется на технический грубошерстный войлок и детали из него для машиностроения (сальники, прокладки, фильтры), а также на войлок, применяемый в качестве изоляционного материала
Взамен: ГОСТ 6418-67
Список изменений: №1 от 01.01.1986 (рег. 21.08.1985) «Срок действия продлен»
№2 от 01.09.1992 (рег. 24.03.1992) «Срок действия продлен»


ГОСТ 6418-81
ГОСТ 6418-81
ГОСТ 6418-81
ГОСТ 6418-81
ГОСТ 6418-81
ГОСТ 6418-81
ГОСТ 6418-81
ГОСТ 6418-81
ГОСТ 6418-81
ГОСТ 6418-81
ГОСТ 6418-81
ГОСТ 6418-81
ГОСТ 6418-81
Автор: 
Домашняя страница автора: 

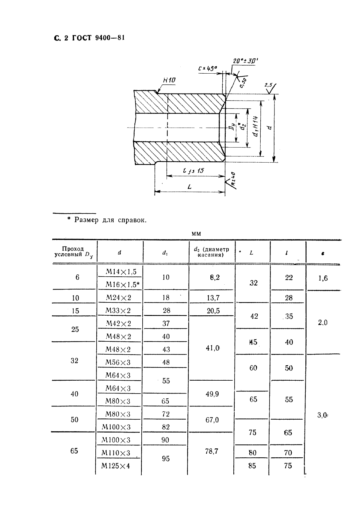
ГОСТ 9400-81

E-mail автора: 

Концы присоединительные резьбовые для арматуры, соединительных частей и трубопроводов под линзовое уплотнение на Ру 20-100 МПа (200-1000 кгс/см.кв.). Размеры

Обозначение: ГОСТ 9400-81
Статус: действующий
Название рус.: Концы присоединительные резьбовые для арматуры, соединительных частей и трубопроводов под линзовое уплотнение на Ру 20-100 МПа (200-1000 кгс/см.кв.). Размеры
Название англ.: Threaded connecting ends for valves, fittings and pipes with tens - shaped seals for pn20-100 mpa (200-1000 kgf/cm2) dimensions
Дата актуализации текста: 19.06.2012
Дата актуализации описания: 19.06.2012
Дата введения в действие: 01.01.1982
Область и условия применения: Настоящий стандарт распространяется на присоединительные концы под линзовое уплотнение для соединения с фланцами на резьбе арматуры, соединительных частей и трубопроводов, применяемых в химической и нефтехимической и промышленностях, на Ру 20-100 МПа (200-1000 кгс/см.кв.) и Dу 6-200 мм с температурой от минус 50 до плюс 510 град. С
Взамен: ГОСТ 9400-75
Список изменений: №1 от 01.03.1989 (рег. 08.09.1988) «Срок действия продлен»
№2 от 01.01.1992 (рег. 26.02.1991) «Срок действия продлен»


ГОСТ 9400-81
ГОСТ 9400-81
ГОСТ 9400-81
ГОСТ 9400-81
ГОСТ 9400-81
ГОСТ 9400-81
ГОСТ 9400-81
Автор: 
Домашняя страница автора: 

Страницы