Наша группа Вконтакте vk.com/4ertimcom

ГОСТ 6001-10000

ГОСТ 9932-75

E-mail автора: 

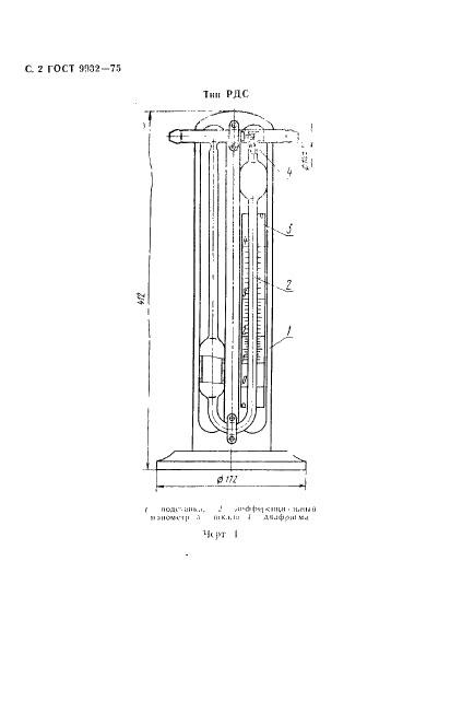
Реометры стеклянные лабораторные. Технические условия

Обозначение: ГОСТ 9932-75
Статус: действующий
Название рус.: Реометры стеклянные лабораторные. Технические условия
Название англ.: Laboratory glass flowmeters. Specifications
Дата актуализации текста: 19.06.2012
Дата актуализации описания: 19.06.2012
Дата введения в действие: 01.01.1977
Область и условия применения: Настоящий стандарт распространяется на реометры, предназначенные для измерения расхода газов в лабораторных условиях, изготовленные для нужд народного хозяйства и экспорта
Взамен: ГОСТ 9932-61
Список изменений: №1 от 01.01.1980 (рег. 08.08.1979) «Срок действия продлен»
№2 от 01.07.1981 (рег. 01.04.1981) «Срок действия продлен»
№3 от 01.01.1987 (рег. 13.08.1986) «Срок действия продлен»
№4 от 01.08.1990 (рег. 05.01.1990) «Срок действия продлен»


ГОСТ 9932-75
ГОСТ 9932-75
ГОСТ 9932-75
ГОСТ 9932-75
ГОСТ 9932-75
ГОСТ 9932-75
ГОСТ 9932-75
ГОСТ 9932-75
ГОСТ 9932-75
ГОСТ 9932-75
ГОСТ 9932-75
ГОСТ 9932-75
ГОСТ 9932-75
ГОСТ 9932-75
ГОСТ 9932-75
ГОСТ 9932-75
ГОСТ 9932-75
ГОСТ 9932-75
ГОСТ 9932-75
ГОСТ 9932-75
ГОСТ 9932-75
ГОСТ 9932-75
Автор: 
Домашняя страница автора: 

ГОСТ 6238-77

E-mail автора: 

Трубы обсадные и колонковые для геологоразведочного бурения и ниппели к ним. Технические условия

Обозначение: ГОСТ 6238-77
Статус: действующий
Название рус.: Трубы обсадные и колонковые для геологоразведочного бурения и ниппели к ним. Технические условия
Название англ.: Casing and coring pipes for geology-exploring drilling and nipples for them. Specifications
Дата актуализации текста: 19.06.2012
Дата актуализации описания: 19.06.2012
Дата введения в действие: 01.01.1986
Область и условия применения: Настоящий стандарт распространяется на стальные гладкие бесшовные обсадные и колонковые трубы и ниппели к ним, применяемые для крепления скважин и отбора керна при геолого-разведочном бурении, а также на резьбу этих труб и ниппелей и взаимосвязанных с ними изделий.
Стандарт не распространяется на двойные колонковые трубы и колонковые трубы, применяемые при отборе керна снарядами со съемными керноприемниками
Взамен: ГОСТ 6238-52
Список изменений: №1 от 01.01.1986 (рег. 24.08.1982) «Срок действия продлен»
№2 от 01.07.1986 (рег. 17.01.1986) «Срок действия продлен»
№3 от 01.01.1989 (рег. 08.08.1988) «Срок действия продлен»
№4 от 01.01.1994 (рег. 29.06.1993) «Срок действия продлен»


ГОСТ 6238-77
ГОСТ 6238-77
ГОСТ 6238-77
ГОСТ 6238-77
ГОСТ 6238-77
ГОСТ 6238-77
ГОСТ 6238-77
ГОСТ 6238-77
ГОСТ 6238-77
ГОСТ 6238-77
ГОСТ 6238-77
Автор: 
Домашняя страница автора: 

ГОСТ 7345-78

E-mail автора: 

Цинк хлористый технический. Технические условия

Обозначение: ГОСТ 7345-78
Статус: действующий
Название рус.: Цинк хлористый технический. Технические условия
Название англ.: Technical zinc chloride. Specifications
Дата актуализации текста: 19.06.2012
Дата актуализации описания: 19.06.2012
Дата введения в действие: 01.01.1979
Область и условия применения: Настоящий стандарт распространяется на технический хлористый цинк, применяемый в производстве сухих элементов, фибры, при пайке, оцинковании и для других целей
Взамен: ГОСТ 7345-68
Список изменений: №1 от 01.07.1985 (рег. 19.12.1984) «Срок действия продлен»
№2 от 01.01.1990 (рег. 22.06.1989) «Срок действия продлен»


ГОСТ 7345-78
ГОСТ 7345-78
ГОСТ 7345-78
ГОСТ 7345-78
ГОСТ 7345-78
ГОСТ 7345-78
ГОСТ 7345-78
ГОСТ 7345-78
ГОСТ 7345-78
ГОСТ 7345-78
ГОСТ 7345-78
Автор: 
Домашняя страница автора: 

ГОСТ 6467-79

E-mail автора: 

Шнуры резиновые круглого и прямоугольного сечений. Технические условия

Обозначение: ГОСТ 6467-79
Статус: действующий
Название рус.: Шнуры резиновые круглого и прямоугольного сечений. Технические условия
Название англ.: Vulcanized rubber cords of round and square cross-sections. Specifications
Дата актуализации текста: 19.06.2012
Дата актуализации описания: 19.06.2012
Дата введения в действие: 01.01.1980
Область и условия применения: Настоящий стандарт распространяется на резиновые шнуры круглого и прямоугольного сечений, предназначенные для уплотнения неподвижных разъемных соединений с давлением рабочей среды до 1,0 МПа (1- кгс/кв.см), защиты полостей от пыли, грязи и используемые в народном хозяйстве. Стандарт не распространяется на шнуры специального назначения
Взамен: ГОСТ 6467-69
Список изменений: №1 от 01.01.1983 (рег. 28.07.1982) «Срок действия продлен»
№2 от 01.03.1985 (рег. 28.09.1984) «Срок действия продлен»
№3 от 01.10.1989 (рег. 22.03.1989) «Срок действия продлен»
№4 от 01.10.1991 (рег. 22.04.1991) «Срок действия продлен»


ГОСТ 6467-79
ГОСТ 6467-79
ГОСТ 6467-79
ГОСТ 6467-79
ГОСТ 6467-79
ГОСТ 6467-79
ГОСТ 6467-79
ГОСТ 6467-79
ГОСТ 6467-79
ГОСТ 6467-79
ГОСТ 6467-79
ГОСТ 6467-79
Автор: 
Домашняя страница автора: 

ГОСТ 7619.9-81

E-mail автора: 

Шпат плавиковый. Метод определения фосфора

Обозначение: ГОСТ 7619.9-81
Статус: действующий
Название рус.: Шпат плавиковый. Метод определения фосфора
Название англ.: Fluorite. Method for the determination of phosphorus content
Дата актуализации текста: 19.06.2012
Дата актуализации описания: 19.06.2012
Дата введения в действие: 01.01.1982
Область и условия применения: Настоящий стандарт распространяется на плавиковый шпат и устанавливает спектрофотометрический метод определения фосфора при массовой доле от 0,005 до 0,05 %, а также молибдофосфатный фотометрический метод определения фосфораения, окрашенного в синий цвет (окраска устойчивая 1-2 ч)
Взамен: ГОСТ 7619.9-72
Список изменений: №1 от 01.01.1987 (рег. 21.07.1986) «Срок действия продлен»
№2 от 01.07.1992 (рег. 26.12.1991) «Срок действия продлен»


ГОСТ 7619.9-81
ГОСТ 7619.9-81
ГОСТ 7619.9-81
ГОСТ 7619.9-81
ГОСТ 7619.9-81
ГОСТ 7619.9-81
ГОСТ 7619.9-81
ГОСТ 7619.9-81
ГОСТ 7619.9-81
ГОСТ 7619.9-81
ГОСТ 7619.9-81
ГОСТ 7619.9-81
ГОСТ 7619.9-81
ГОСТ 7619.9-81
Автор: 
Домашняя страница автора: 

ГОСТ 8045-82

E-mail автора: 

Светильники для наружного освещения. Общие технические условия

Обозначение: ГОСТ 8045-82
Статус: действующий
Название рус.: Светильники для наружного освещения. Общие технические условия
Название англ.: Luminaires intended for outdoor use. General specifications
Дата актуализации текста: 19.06.2012
Дата актуализации описания: 19.06.2012
Дата введения в действие: 01.01.1984
Область и условия применения: Настоящий стандарт распространяется на светильники для наружного освещения с лампами накаливания или газоразрядными лампами предназначенные для освещения улиц, дорог, площадей, транспортных туннелей и развязок, пешеходных переходов, открытых пространств производственного назначения, а также функционально-декоративного освещения скверов, парков и бульваров, изготовляемые для нужд народного хозяйства и на экспорт. Стандарт не распространяется на светильники, предназначенные для транспортных средств, взрывобезопасные и взрывозащитные светильники
Взамен: ГОСТ 8045-75
Список изменений: №0 от 01.07.2012 (рег. 11.07.2011) «Поправка к изменению»
№1 от 01.01.1987 (рег. 25.10.1985) «Срок действия продлен»
№2 от 01.04.1988 (рег. 16.09.1987) «Срок действия продлен»
№3 от 01.01.1989 (рег. 16.06.1988) «Срок действия продлен»


ГОСТ 8045-82
ГОСТ 8045-82
ГОСТ 8045-82
ГОСТ 8045-82
ГОСТ 8045-82
ГОСТ 8045-82
ГОСТ 8045-82
ГОСТ 8045-82
ГОСТ 8045-82
ГОСТ 8045-82
ГОСТ 8045-82
Автор: 
Домашняя страница автора: 

ГОСТ 9559-89

E-mail автора: 

Листы свинцовые. Технические условия

Обозначение: ГОСТ 9559-89
Статус: действующий
Название рус.: Листы свинцовые. Технические условия
Название англ.: Lead sheets. Specifications
Дата актуализации текста: 19.06.2012
Дата актуализации описания: 19.06.2012
Дата введения в действие: 01.01.1991
Область и условия применения: Настоящий стандарт распространяется на свинцовые листы, применяемые в химическом машиностроении и других отраслях промышленности
Взамен: ГОСТ 9559-75


ГОСТ 9559-89
ГОСТ 9559-89
ГОСТ 9559-89
ГОСТ 9559-89
ГОСТ 9559-89
ГОСТ 9559-89
ГОСТ 9559-89
ГОСТ 9559-89
ГОСТ 9559-89
ГОСТ 9559-89
ГОСТ 9559-89
Автор: 
Домашняя страница автора: 

ГОСТ 7236-93

E-mail автора: 

Плоскогубцы. Технические условия

Обозначение: ГОСТ 7236-93
Статус: действующий
Название рус.: Плоскогубцы. Технические условия
Название англ.: Flat-nose pliers. Specifications
Дата актуализации текста: 19.06.2012
Дата актуализации описания: 19.06.2012
Дата введения в действие: 01.01.1995
Область и условия применения: Настоящий стандарт распространяется на плоскогубцы, предназначенные для захвата и манипулирования.
Стандарт не распространяется на плоскогубцы, изготовляемые из материалов, предназначенных для работы во взрывоопасных условиях
Взамен: ГОСТ 7236-86
Список изменений: №0 от 01.01.2009 (рег. 30.11.2007) «Поправка к изменению»


ГОСТ 7236-93
ГОСТ 7236-93
ГОСТ 7236-93
ГОСТ 7236-93
ГОСТ 7236-93
ГОСТ 7236-93
ГОСТ 7236-93
ГОСТ 7236-93
Автор: 
Домашняя страница автора: 

ГОСТ 8975-75

E-mail автора: 

Кожа искусственная. Методы определения истираемости и слипания покрытия

Обозначение: ГОСТ 8975-75
Статус: действующий
Название рус.: Кожа искусственная. Методы определения истираемости и слипания покрытия
Название англ.: Artificial leather. Test methods for rubbing and adhesion strength of coating
Дата актуализации текста: 19.06.2012
Дата актуализации описания: 19.06.2012
Дата введения в действие: 01.01.1977
Область и условия применения: Настоящий стандарт распространяется на искусственные и синтетические кожи для обуви, одежды, галантереи и технического назначения с лицевым покрытием или пропиткой на основе полимеров и устанавливает методы определения истираемости и слипания покрытия.
Слипание покрытия определяют на образцах с гладкой поверхностью или с равномерным мелким тиснением
Взамен: ГОСТ 8975-59
Список изменений: №1 от 01.01.1982 (рег. 13.08.1981) «Срок действия продлен»
№2 от 01.12.1986 (рег. 23.06.1986) «Срок действия продлен»
№3 от 01.01.1993 (рег. 22.11.1991) «Срок действия продлен»


ГОСТ 8975-75
ГОСТ 8975-75
ГОСТ 8975-75
ГОСТ 8975-75
ГОСТ 8975-75
ГОСТ 8975-75
ГОСТ 8975-75
ГОСТ 8975-75
ГОСТ 8975-75
ГОСТ 8975-75
ГОСТ 8975-75
Автор: 
Домашняя страница автора: 

ГОСТ 6111-52

E-mail автора: 

Резьба коническая дюймовая с углом профиля 60 градусов

Обозначение: ГОСТ 6111-52
Статус: действующий
Название рус.: Резьба коническая дюймовая с углом профиля 60 градусов
Название англ.: Conical pipe thread. Profile, basic dimensions and tolerances
Дата актуализации текста: 19.06.2012
Дата актуализации описания: 19.06.2012
Дата введения в действие: 01.10.1952
Область и условия применения: Настоящий стандарт распространяется на резьбовые соединения топливных, масляных, водяных и воздушных трубопроводов машин и станков
Взамен: ОСТ 20010-38
Список изменений: №1 от 01.01.1973 (рег. 02.12.1969) «Срок действия продлен»
№2 от 01.07.1985 (рег. 18.12.1984) «Срок действия продлен»


ГОСТ 6111-52
ГОСТ 6111-52
ГОСТ 6111-52
ГОСТ 6111-52
Автор: 
Домашняя страница автора: 

Страницы