Наша группа Вконтакте vk.com/4ertimcom

ГОСТ 6001-10000

ГОСТ 6445-74

E-mail автора: 

Бумага газетная. Технические условия

Обозначение: ГОСТ 6445-74
Статус: действующий
Название рус.: Бумага газетная. Технические условия
Название англ.: News-print. Specifications
Дата актуализации текста: 19.06.2012
Дата актуализации описания: 19.06.2012
Дата введения в действие: 01.01.1975
Область и условия применения: Настоящий стандарт распространяется на бумагу, предназначенную для печатания газет высоким и офсетным способами печати, и устанавливает требования к бумаге, изготовляемой для нужд народного хозяйства и поставки на экспорт
Взамен: ГОСТ 6445-53
Список изменений: №1 от 01.01.1982 (рег. 24.02.1981) «Срок действия продлен»
№2 от 01.03.1982 (рег. 18.02.1982) «Срок действия продлен»
№3 от 01.12.1982 (рег. 13.07.1983) «Срок действия продлен»
№4 от 01.01.1986 (рег. 13.12.1984) «Срок действия продлен»
№5 от 01.01.1989 (рег. 06.06.1988) «Срок действия продлен»
№6 от 01.05.1989 (рег. 23.12.1988) «Срок действия продлен»
№7 от 01.07.1991 (рег. 28.09.1990) «Срок действия продлен»


ГОСТ 6445-74
ГОСТ 6445-74
ГОСТ 6445-74
ГОСТ 6445-74
ГОСТ 6445-74
ГОСТ 6445-74
ГОСТ 6445-74
Автор: 
Домашняя страница автора: 

ГОСТ 9553-74

E-mail автора: 

Стекло силикатное и стеклокристаллические материалы. Метод определения плотности

Обозначение: ГОСТ 9553-74
Статус: действующий
Название рус.: Стекло силикатное и стеклокристаллические материалы. Метод определения плотности
Название англ.: Silica glass and glass crystal materials. Determinationn of density
Дата актуализации текста: 19.06.2012
Дата актуализации описания: 19.06.2012
Дата введения в действие: 01.01.1976
Область и условия применения: Настоящий стандарт распространяется на силикатное стекло и стеклокристаллические материалы и устанавливает метод определения плотности.
Стандарт не распространяется на пористые материалы
Взамен: ГОСТ 9553-60


ГОСТ 9553-74
ГОСТ 9553-74
ГОСТ 9553-74
ГОСТ 9553-74
Автор: 
Домашняя страница автора: 

ГОСТ 8948-75

E-mail автора: 

Соединительные части из ковкого чугуна с цилиндрической резьбой для трубопроводов. Тройники прямые. Основные размеры

Обозначение: ГОСТ 8948-75
Статус: действующий
Название рус.: Соединительные части из ковкого чугуна с цилиндрической резьбой для трубопроводов. Тройники прямые. Основные размеры
Название англ.: Ductile iron and steel fittings with parallel thread for pipelines. Straight tees. Basic dimensions
Дата актуализации текста: 19.06.2012
Дата актуализации описания: 19.06.2012
Дата введения в действие: 01.01.1977
Область и условия применения: Настоящий стандарт распространяется на основные размеры прямых тройников из ковкого чугуна с цилиндрической резьбой для трубопроводов
Взамен: ГОСТ 8948-59
Список изменений: №0 от 22.04.1988 (рег. 22.04.1988) «Срок действия продлен»
№1 от 01.12.1980 (рег. 04.09.1980) «Срок действия продлен»
№2 от 01.01.1984 (рег. 25.03.1983) «Срок действия продлен»


ГОСТ 8948-75
ГОСТ 8948-75
Автор: 
Домашняя страница автора: 

ГОСТ 9453-75

E-mail автора: 

Волоки-заготовки из твердых спеченных сплавов для волочения проволоки и прутков круглого сечения

Обозначение: ГОСТ 9453-75
Статус: действующий
Название рус.: Волоки-заготовки из твердых спеченных сплавов для волочения проволоки и прутков круглого сечения
Название англ.: Dies-blanks of sintered hard alloys for drawing wire and round section rods
Дата актуализации текста: 19.06.2012
Дата актуализации описания: 19.06.2012
Дата введения в действие: 01.01.1977
Область и условия применения: Настоящий стандарт распространяется на волоки-заготовки из твердых спеченных сплавов для инструмента, предназначенного для волочения проволоки и прутков круглого сечения из черных и цветных металлов
Взамен: ГОСТ 9453-60
Список изменений: №1 от 01.01.1983 (рег. 22.12.1981) «Срок действия продлен»
№2 от 01.01.1987 (рег. 04.02.1986) «Срок действия продлен»
№3 от 01.12.1987 (рег. 06.07.1987) «Срок действия продлен»


ГОСТ 9453-75
ГОСТ 9453-75
ГОСТ 9453-75
ГОСТ 9453-75
ГОСТ 9453-75
ГОСТ 9453-75
ГОСТ 9453-75
ГОСТ 9453-75
ГОСТ 9453-75
ГОСТ 9453-75
ГОСТ 9453-75
ГОСТ 9453-75
ГОСТ 9453-75
ГОСТ 9453-75
ГОСТ 9453-75
ГОСТ 9453-75
ГОСТ 9453-75
ГОСТ 9453-75
ГОСТ 9453-75
ГОСТ 9453-75
ГОСТ 9453-75
ГОСТ 9453-75
ГОСТ 9453-75
ГОСТ 9453-75
ГОСТ 9453-75
ГОСТ 9453-75
ГОСТ 9453-75
Автор: 
Домашняя страница автора: 

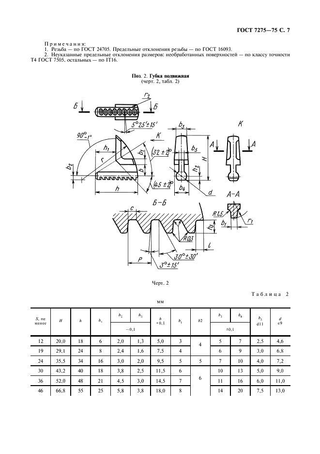
ГОСТ 7275-75

E-mail автора: 

Ключи гаечные разводные. Технические условия

Обозначение: ГОСТ 7275-75
Статус: действующий
Название рус.: Ключи гаечные разводные. Технические условия
Название англ.: Adjustable wrenches. Specifications
Дата актуализации текста: 19.06.2012
Дата актуализации описания: 19.06.2012
Дата введения в действие: 01.01.1978
Область и условия применения: Настоящий стандарт распространяется на разводные ключи, изготовляемые для нужд народного хозяйства и экспорта
Взамен: ГОСТ 7275-62
Список изменений: №0 от 01.01.2013 (рег. 09.11.2011) «Поправка к изменению»
№1 от 01.09.1987 (рег. 25.03.1987) «Поправка»
№2 от 01.10.1989 (рег. 27.03.1989) «Срок действия продлен»


ГОСТ 7275-75
ГОСТ 7275-75
ГОСТ 7275-75
ГОСТ 7275-75
ГОСТ 7275-75
ГОСТ 7275-75
ГОСТ 7275-75
ГОСТ 7275-75
ГОСТ 7275-75
ГОСТ 7275-75
ГОСТ 7275-75
Автор: 
Домашняя страница автора: 

ГОСТ 8943-75

E-mail автора: 

Соединительные части из ковкого чугуна с цилиндрической резьбой для трубопроводов. Номенклатура

Обозначение: ГОСТ 8943-75
Статус: действующий
Название рус.: Соединительные части из ковкого чугуна с цилиндрической резьбой для трубопроводов. Номенклатура
Название англ.: Ductile iron and steel fittings with parallel thread for pipelines. Nomenclature
Дата актуализации текста: 19.06.2012
Дата актуализации описания: 19.06.2012
Дата введения в действие: 01.01.1977
Область и условия применения: Настоящий стандарт распространяется на части из ковкого чугуна с цинковым покрытием и без покрытия, с цилиндрической трубной резьбой, предназначенные для соединения водо- и газопроводных труб (с применением уплотнителя) в системах отопления, водопровода, газопровода и в других системах в условиях неагрессивных сред (вода, насыщенный водяной пар, горючий газ и др.), при температуре проводимой среды не выше 175 град.С и условном давлении: Ру 1,6 МПа (приблизительно 16 кгс/см.кв.) при условных проходах не более Dу 40 мм и Ру 1 МПа (приблизительно 10 кгс/см.кв.) при условных проходах Dу 50-100 мм
Взамен: ГОСТ 8943-59
Список изменений: №0 от 22.04.1988 (рег. 22.04.1988) «Срок действия продлен»


ГОСТ 8943-75
ГОСТ 8943-75
ГОСТ 8943-75
ГОСТ 8943-75
ГОСТ 8943-75
Автор: 
Домашняя страница автора: 

ГОСТ 9995-75

E-mail автора: 

Бумага-основа для переплетного материала. Технические условия

Обозначение: ГОСТ 9995-75
Статус: действующий
Название рус.: Бумага-основа для переплетного материала. Технические условия
Название англ.: Base paper for binding material. Specifications
Дата актуализации текста: 19.06.2012
Дата актуализации описания: 19.06.2012
Дата введения в действие: 01.01.1977
Область и условия применения: Настоящий стандарт распространяется на бумагу-основу для переплетного материала с нитрополиамидным покрытием для дальнейшей переработки на рулонных крышкоделательных машинах
Взамен: ГОСТ 9995-62
Список изменений: №1 от 01.07.1981 (рег. 07.04.1981) «Срок действия продлен»
№2 от 01.01.1986 (рег. 18.09.1985) «Срок действия продлен»
№3 от 01.12.1991 (рег. 18.06.1991) «Срок действия продлен»


ГОСТ 9995-75
ГОСТ 9995-75
ГОСТ 9995-75
ГОСТ 9995-75
Автор: 
Домашняя страница автора: 

ГОСТ 6990-75

E-mail автора: 

Масло касторовое сульфированное. Технические условия

Обозначение: ГОСТ 6990-75
Статус: действующий
Название рус.: Масло касторовое сульфированное. Технические условия
Название англ.: Sulphonated castor oil. Specifications
Дата актуализации текста: 19.06.2012
Дата актуализации описания: 19.06.2012
Дата введения в действие: 01.01.1977
Область и условия применения: Настоящий стандарт распространяется на сульфированное касторовое масло (ализариновое масло), предназначенное для применения в кожевенной промышленности в качестве эмульгатора при жировании кож, в текстильной промышленности в процессах крашения, в производстве химических волокон в качестве одного из компонентов композиций замасливателей, в химической промышленности в качестве диспергатора
Взамен: ГОСТ 6990-54
Список изменений: №1 от 01.09.1986 (рег. 25.03.1986) «Поправка»
№2 от 01.10.1991 (рег. 03.04.1991) «Срок действия продлен»


ГОСТ 6990-75
ГОСТ 6990-75
ГОСТ 6990-75
ГОСТ 6990-75
ГОСТ 6990-75
ГОСТ 6990-75
ГОСТ 6990-75
ГОСТ 6990-75
ГОСТ 6990-75
ГОСТ 6990-75
Автор: 
Домашняя страница автора: 

ГОСТ 6416-75

E-mail автора: 

Термографы метеорологические с биметаллическим чувствительным элементом. Технические условия

Обозначение: ГОСТ 6416-75
Статус: действующий
Название рус.: Термографы метеорологические с биметаллическим чувствительным элементом. Технические условия
Название англ.: Meteorological thermographs with bimetallic sensing elements. Specifications
Дата актуализации текста: 19.06.2012
Дата актуализации описания: 19.06.2012
Дата введения в действие: 01.01.1977
Область и условия применения: Настоящий стандарт распространяется на метеорологические термографы М-16А с термобиметаллическим чувствительным элементом, предназначенные для регистрации во времени изменений температуры воздуха в наземных условиях и изготовляемые для нужд народного хозяйства и экспорта
Взамен: ГОСТ 6416-62
Список изменений: №0 от 24.06.1987 (рег. 24.06.1987) «Срок действия продлен»
№1 от 01.01.1982 (рег. 05.02.1981) «Срок действия продлен»
№2 от 01.01.1984 (рег. 12.05.1983) «Срок действия продлен»
№3 от 01.04.1987 (рег. 20.12.1986) «Срок действия продлен»


ГОСТ 6416-75
ГОСТ 6416-75
ГОСТ 6416-75
ГОСТ 6416-75
ГОСТ 6416-75
ГОСТ 6416-75
ГОСТ 6416-75
ГОСТ 6416-75
ГОСТ 6416-75
ГОСТ 6416-75
ГОСТ 6416-75
Автор: 
Домашняя страница автора: 

ГОСТ 8963-75

E-mail автора: 

Соединительные части из ковкого чугуна с цилиндрической резьбой для трубопроводов. Пробки. Основные размеры

Обозначение: ГОСТ 8963-75
Статус: действующий
Название рус.: Соединительные части из ковкого чугуна с цилиндрической резьбой для трубопроводов. Пробки. Основные размеры
Название англ.: Ductile iron fittings with parallel thread for pipelines. Plugs. Basic dimensions
Дата актуализации текста: 19.06.2012
Дата актуализации описания: 19.06.2012
Дата введения в действие: 01.01.1977
Область и условия применения: Настоящий стандарт распространяется на пробки из ковкого чугуна с цилиндрической резьбой для трубопроводов
Взамен: ГОСТ 8963-59
Список изменений: №0 от 22.04.1988 (рег. 22.04.1988) «Срок действия продлен»
№1 от 01.12.1980 (рег. 04.09.1980) «Срок действия продлен»
№2 от 01.01.1984 (рег. 25.03.1983) «Срок действия продлен»


ГОСТ 8963-75
Автор: 
Домашняя страница автора: 

Страницы