Наша группа Вконтакте vk.com/4ertimcom

ГОСТ 6001-10000

ГОСТ 9414.2-93

E-mail автора: 

Уголь каменный и антрацит. Методы петрографического анализа. Часть 2. Метод подготовки образцов угля

Обозначение: ГОСТ 9414.2-93
Статус: действующий
Название рус.: Уголь каменный и антрацит. Методы петрографического анализа. Часть 2. Метод подготовки образцов угля
Название англ.: Methods for the petrographic analysis of bituminous coal and anthracite. Part 2. Method of preparing coal samples
Дата актуализации текста: 19.06.2012
Дата актуализации описания: 19.06.2012
Дата введения в действие: 01.01.1995
Область и условия применения: Настоящий стандарт устанавливает метод подготовки полированных брикетов из измельченного угля для анализа с помощью микроскопа в отраженном белом свете. Он не применим для подготовки аншлиф-брикетов с использованием флуоресцентных микроскопов и полированных ориентированных кусков угля
Взамен в части: ГОСТ 9414-74 в части, касающейся приготовления аншлиф-брикетов


ГОСТ 9414.2-93
ГОСТ 9414.2-93
ГОСТ 9414.2-93
ГОСТ 9414.2-93
ГОСТ 9414.2-93
ГОСТ 9414.2-93
ГОСТ 9414.2-93
ГОСТ 9414.2-93
ГОСТ 9414.2-93
ГОСТ 9414.2-93
ГОСТ 9414.2-93
ГОСТ 9414.2-93
ГОСТ 9414.2-93
ГОСТ 9414.2-93
ГОСТ 9414.2-93
ГОСТ 9414.2-93
ГОСТ 9414.2-93
ГОСТ 9414.2-93
Автор: 
Домашняя страница автора: 

ГОСТ 8865-93

E-mail автора: 

Системы электрической изоляции. Оценка нагревостойкости и классификация

Обозначение: ГОСТ 8865-93
Статус: действующий
Название рус.: Системы электрической изоляции. Оценка нагревостойкости и классификация
Название англ.: Electrical insulation system. Thermal evalution and classification
Дата актуализации текста: 19.06.2012
Дата актуализации описания: 19.06.2012
Дата введения в действие: 01.01.1995
Область и условия применения: Настоящий стандарт распространяется на электротехнические изделия и устанавливает систему классификации электроизоляции электротехнических изделий по нагревостойкости и ответственность за ее выбор, а также правила оценки нагревостойкости электроизоляционных материалов и систем изоляции, их взаимосвязь и влияние условий эксплуатации
Взамен: ГОСТ 8865-87


ГОСТ 8865-93
ГОСТ 8865-93
ГОСТ 8865-93
ГОСТ 8865-93
ГОСТ 8865-93
ГОСТ 8865-93
ГОСТ 8865-93
ГОСТ 8865-93
Автор: 
Домашняя страница автора: 

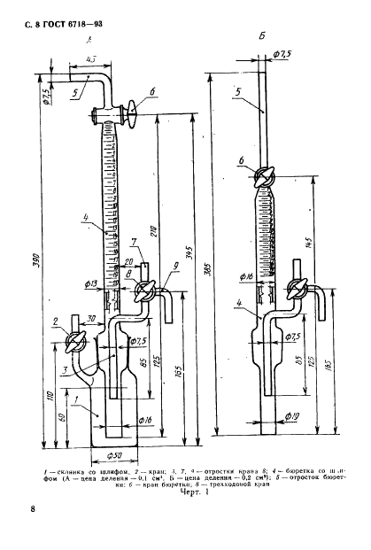
ГОСТ 6718-93

E-mail автора: 

Хлор жидкий. Технические условия

Обозначение: ГОСТ 6718-93
Статус: действующий
Название рус.: Хлор жидкий. Технические условия
Название англ.: Liquid chlorine. Specifications
Дата актуализации текста: 19.06.2012
Дата актуализации описания: 19.06.2012
Дата введения в действие: 01.01.1995
Область и условия применения: Настоящий стандарт распространяется на жидкий хлор, применяемый для производства отбеливающих средств, солей, хлорорганических соединений, а также для очистки и стерилизации питьевой воды
Взамен: ГОСТ 6718-86


ГОСТ 6718-93
ГОСТ 6718-93
ГОСТ 6718-93
ГОСТ 6718-93
ГОСТ 6718-93
ГОСТ 6718-93
ГОСТ 6718-93
ГОСТ 6718-93
ГОСТ 6718-93
ГОСТ 6718-93
ГОСТ 6718-93
ГОСТ 6718-93
ГОСТ 6718-93
ГОСТ 6718-93
ГОСТ 6718-93
ГОСТ 6718-93
ГОСТ 6718-93
ГОСТ 6718-93
ГОСТ 6718-93
ГОСТ 6718-93
ГОСТ 6718-93
ГОСТ 6718-93
ГОСТ 6718-93
ГОСТ 6718-93
ГОСТ 6718-93
ГОСТ 6718-93
ГОСТ 6718-93
ГОСТ 6718-93
ГОСТ 6718-93
ГОСТ 6718-93
ГОСТ 6718-93
ГОСТ 6718-93
ГОСТ 6718-93
ГОСТ 6718-93
ГОСТ 6718-93
ГОСТ 6718-93
Автор: 
Домашняя страница автора: 

ГОСТ 7228-93

E-mail автора: 

Деревообрабатывающее оборудование. Станки рейсмусовые. Основные параметры. Нормы точности и жесткости

Обозначение: ГОСТ 7228-93
Статус: действующий
Название рус.: Деревообрабатывающее оборудование. Станки рейсмусовые. Основные параметры. Нормы точности и жесткости
Название англ.: Woodworking equipment. Thicknessing machines. Basic parameters. Norms of accuracy and rigidity
Дата актуализации текста: 19.06.2012
Дата актуализации описания: 19.06.2012
Дата введения в действие: 01.01.1995
Область и условия применения: Настоящий стандарт распространяется на рейсмусовые станки, предназначенные для продольного одностороннего и двустороннего фрезерования в размер по толщине плоских заготовок из древесины, в том числе на станки с загрузочно-разгрузочным устройством
Взамен: ГОСТ 6289-70 ГОСТ 7228-75 ГОСТ 20557-75


ГОСТ 7228-93
ГОСТ 7228-93
ГОСТ 7228-93
ГОСТ 7228-93
ГОСТ 7228-93
ГОСТ 7228-93
ГОСТ 7228-93
ГОСТ 7228-93
ГОСТ 7228-93
ГОСТ 7228-93
ГОСТ 7228-93
ГОСТ 7228-93
ГОСТ 7228-93
ГОСТ 7228-93
ГОСТ 7228-93
ГОСТ 7228-93
Автор: 
Домашняя страница автора: 

ГОСТ 7040-93

E-mail автора: 

Пояс пожарный спасательный. Технические условия

Обозначение: ГОСТ 7040-93
Статус: утратил силу в РФ
Название рус.: Пояс пожарный спасательный. Технические условия
Название англ.: Eire sifety belt. Specifications
Дата актуализации текста: 19.06.2012
Дата актуализации описания: 19.06.2012
Дата введения в действие: 01.01.1995
Область и условия применения: Настоящий стандарт распространяется на пожарный спасательный пояс, предназначенный для проведения аварийно-спасательных работ во время пожара, а также для самоспасения и страховки пожарных при работе на высоте
Взамен: ГОСТ 7040-65
Список изменений: №0 от 01.05.2009 (рег. 18.02.2009) «Поправка к изменению»


ГОСТ 7040-93
ГОСТ 7040-93
ГОСТ 7040-93
ГОСТ 7040-93
ГОСТ 7040-93
ГОСТ 7040-93
ГОСТ 7040-93
ГОСТ 7040-93
ГОСТ 7040-93
ГОСТ 7040-93
ГОСТ 7040-93
ГОСТ 7040-93
ГОСТ 7040-93
ГОСТ 7040-93
ГОСТ 7040-93
Автор: 
Домашняя страница автора: 

ГОСТ 9737-93

E-mail автора: 

Посуда лабораторная стеклянная. Шлифы сферические взаимозаменяемые

Обозначение: ГОСТ 9737-93
Статус: действующий
Название рус.: Посуда лабораторная стеклянная. Шлифы сферические взаимозаменяемые
Название англ.: Laboratory glassware. Interchangeable spherical ground joints
Дата актуализации текста: 19.06.2012
Дата актуализации описания: 19.06.2012
Дата введения в действие: 01.01.1995
Область и условия применения: Настоящий стандарт распространяется на сферические стеклянные шлифы и обеспечивает взаимозаменяемость между ними независимо от моста их изготовления
Взамен: ГОСТ 9737-70


ГОСТ 9737-93
ГОСТ 9737-93
ГОСТ 9737-93
ГОСТ 9737-93
ГОСТ 9737-93
ГОСТ 9737-93
ГОСТ 9737-93
Автор: 
Домашняя страница автора: 

ГОСТ 6102-94

E-mail автора: 

Ткани асбестовые. Общие технические требования

Обозначение: ГОСТ 6102-94
Статус: действующий
Название рус.: Ткани асбестовые. Общие технические требования
Название англ.: Asbestos cloths. General requirements
Дата актуализации текста: 19.06.2012
Дата актуализации описания: 19.06.2012
Дата введения в действие: 01.01.1996
Область и условия применения: Настоящий стандарт распространяется на асбестовые ткани, применяемые в качестве теплоизоляции, диафрагм при электролизе воды, а также для изготовления теплоизоляционных материалов, асботекстолитов, прорезиненных набивок, прокладочных колец и манжет
Взамен: ГОСТ 6102-78


ГОСТ 6102-94
ГОСТ 6102-94
ГОСТ 6102-94
ГОСТ 6102-94
ГОСТ 6102-94
ГОСТ 6102-94
ГОСТ 6102-94
ГОСТ 6102-94
Автор: 
Домашняя страница автора: 

ГОСТ 7875.0-94

E-mail автора: 

Изделия огнеупорные. Общие требования к методам определения термической стойкости

Обозначение: ГОСТ 7875.0-94
Статус: действующий
Название рус.: Изделия огнеупорные. Общие требования к методам определения термической стойкости
Название англ.: Refactory products. Basic requirements for procedures of thermal shock resistance determination
Дата актуализации текста: 19.06.2012
Дата актуализации описания: 19.06.2012
Дата введения в действие: 01.01.1996
Область и условия применения: Настоящий стандарт устанавливает общие требования к методам определения термической стойкости обожженных, не взаимодействующих с водой огнеупорных изделий с общей пористостью менее 45%
Взамен в части: ГОСТ 7875-83 в части общих требований к методам определения термической стойкости для изделий огнеупорных


ГОСТ 7875.0-94
ГОСТ 7875.0-94
ГОСТ 7875.0-94
ГОСТ 7875.0-94
ГОСТ 7875.0-94
ГОСТ 7875.0-94
ГОСТ 7875.0-94
ГОСТ 7875.0-94
ГОСТ 7875.0-94
ГОСТ 7875.0-94
ГОСТ 7875.0-94
ГОСТ 7875.0-94
Автор: 
Домашняя страница автора: 

ГОСТ 6943.4-94

E-mail автора: 

Стекловолокно. Нити. Метод определения крутки

Обозначение: ГОСТ 6943.4-94
Статус: действующий
Название рус.: Стекловолокно. Нити. Метод определения крутки
Название англ.: Textile glass. Yarns. Method for determination of twist
Дата актуализации текста: 19.06.2012
Дата актуализации описания: 19.06.2012
Дата введения в действие: 01.07.1996
Область и условия применения: Настоящий стандарт устанавливает метод определения крутки стеклянных комплексных крученых нитей из непрерывных нитей и нитей из штапельных волокон
Взамен в части: ГОСТ 6943.4-79 в части определения крутки


ГОСТ 6943.4-94
ГОСТ 6943.4-94
ГОСТ 6943.4-94
ГОСТ 6943.4-94
ГОСТ 6943.4-94
Автор: 
Домашняя страница автора: 

ГОСТ 7701-93

E-mail автора: 

Тики хлопчатобумажные и смешанные. Общие технические условия

Обозначение: ГОСТ 7701-93
Статус: действующий
Название рус.: Тики хлопчатобумажные и смешанные. Общие технические условия
Название англ.: Cotton and blended ticks. General specifications
Дата актуализации текста: 19.06.2012
Дата актуализации описания: 19.06.2012
Дата введения в действие: 01.01.1996
Область и условия применения: Настоящий стандарт распространяется на готовые и суровые хлопчатобумажные и смешанные тики, используемые для бытовых целей, а также изделия вещевого имущества
Взамен: ГОСТ 7701-75


ГОСТ 7701-93
ГОСТ 7701-93
ГОСТ 7701-93
ГОСТ 7701-93
ГОСТ 7701-93
ГОСТ 7701-93
ГОСТ 7701-93
ГОСТ 7701-93
ГОСТ 7701-93
ГОСТ 7701-93
ГОСТ 7701-93
Автор: 
Домашняя страница автора: 

Страницы