Наша группа Вконтакте vk.com/4ertimcom

ГОСТ 6001-10000

ГОСТ 9066-75

E-mail автора: 

Шпильки для фланцевых соединений с температурой среды от 0 град. С до 650 град. С. Типы и основные размеры

Обозначение: ГОСТ 9066-75
Статус: действующий
Название рус.: Шпильки для фланцевых соединений с температурой среды от 0 град. С до 650 град. С. Типы и основные размеры
Название англ.: Studs for flanged connections with medium temperature 0 deg. C to 650 deg. C. Types and main dimensions
Дата актуализации текста: 19.06.2012
Дата актуализации описания: 19.06.2012
Дата введения в действие: 01.01.1976
Область и условия применения: Настоящий стандарт распространяется на шпильки односторонние и двусторонние для фланцевых соединений паровых и газовых турбин, паровых котлов, трубопроводов и соединительных частей, арматуры, приборов, аппаратов и резервуаров с температурной среды от 0 до 650 град. С.
Стандарт не распространяется на фланцевые соединения объектов, подведомственных Госгортехнадзору СССР, с условным давлением Ру менее 4 МПа
Взамен: ГОСТ 9066-69
Список изменений: №1 от 01.01.1981 (рег. 27.06.1980) «Срок действия продлен»
№2 от 01.07.1986 (рег. 27.12.1985) «Срок действия продлен»


ГОСТ 9066-75
ГОСТ 9066-75
ГОСТ 9066-75
ГОСТ 9066-75
ГОСТ 9066-75
ГОСТ 9066-75
ГОСТ 9066-75
ГОСТ 9066-75
ГОСТ 9066-75
ГОСТ 9066-75
ГОСТ 9066-75
ГОСТ 9066-75
ГОСТ 9066-75
ГОСТ 9066-75
ГОСТ 9066-75
ГОСТ 9066-75
ГОСТ 9066-75
ГОСТ 9066-75
ГОСТ 9066-75
ГОСТ 9066-75
ГОСТ 9066-75
ГОСТ 9066-75
ГОСТ 9066-75
ГОСТ 9066-75
ГОСТ 9066-75
ГОСТ 9066-75
ГОСТ 9066-75
ГОСТ 9066-75
ГОСТ 9066-75
ГОСТ 9066-75
ГОСТ 9066-75
Автор: 
Домашняя страница автора: 

ГОСТ 6962-75

E-mail автора: 

Транспорт электрифицированный с питанием от контактной сети. Ряд напряжений

Обозначение: ГОСТ 6962-75
Статус: действующий
Название рус.: Транспорт электрифицированный с питанием от контактной сети. Ряд напряжений
Название англ.: Electrified transport with overhead system power supply. Voltage row
Дата актуализации текста: 19.06.2012
Дата актуализации описания: 19.06.2012
Дата введения в действие: 01.01.1977
Область и условия применения: Настоящий стандарт распространяется на электрифицированый транспорт переменного частоты 50 Гц и постоянного тока - магистральный и промышленный, а также на городской электрифицированный транспорт постоянного тока.
Стандарт не распространяется на внутрицеховой электрифицированный транспорт, а также на транспорт, питаемый по трехпроводной системе электроснабжения
Взамен: ГОСТ 6962-54
Список изменений: №0 от 02.06.1987 (рег. 02.06.1987) «Срок действия продлен»
№1 от 01.05.1992 (рег. 11.11.1991) «Срок действия продлен»


ГОСТ 6962-75
ГОСТ 6962-75
ГОСТ 6962-75
ГОСТ 6962-75
ГОСТ 6962-75
ГОСТ 6962-75
ГОСТ 6962-75
ГОСТ 6962-75
Автор: 
Домашняя страница автора: 

ГОСТ 8742-75

E-mail автора: 

Центры станочные вращающиеся. Типы и основные размеры

Обозначение: ГОСТ 8742-75
Статус: действующий
Название рус.: Центры станочные вращающиеся. Типы и основные размеры
Название англ.: Machine tool rotary centres. Types an basic dimensions
Дата актуализации текста: 19.06.2012
Дата актуализации описания: 19.06.2012
Дата введения в действие: 01.01.1978
Область и условия применения: Настоящий стандарт распространяется на вращающиеся центры для токарных станков
Взамен: ГОСТ 8742-62
Список изменений: №1 от 01.01.1981 (рег. 25.06.1980) «Срок действия продлен»
№2 от 01.07.1983 (рег. 15.12.1982) «Срок действия продлен»


ГОСТ 8742-75
ГОСТ 8742-75
ГОСТ 8742-75
ГОСТ 8742-75
ГОСТ 8742-75
ГОСТ 8742-75
ГОСТ 8742-75
ГОСТ 8742-75
ГОСТ 8742-75
Автор: 
Домашняя страница автора: 

ГОСТ 8844-75

E-mail автора: 

Полотна трикотажные. Правила приемки и метод отбора образцов проб

Обозначение: ГОСТ 8844-75
Статус: действующий
Название рус.: Полотна трикотажные. Правила приемки и метод отбора образцов проб
Название англ.: Knitted fabrics. Rules of acceptance and sampling method
Дата актуализации текста: 19.06.2012
Дата актуализации описания: 19.06.2012
Дата введения в действие: 01.01.1977
Область и условия применения: Настоящий стандарт распространяется на суровое и отделанное трикотажное полотно из волокон и нитей всех видов и устанавливает правила их приемки и метод отбора проб для контроля качества по физико-механическим показателям
Взамен: ГОСТ 8844-58
Список изменений: №1 от 01.01.1983 (рег. 28.06.1982) «Срок действия продлен»


ГОСТ 8844-75
ГОСТ 8844-75
ГОСТ 8844-75
ГОСТ 8844-75
ГОСТ 8844-75
ГОСТ 8844-75
ГОСТ 8844-75
Автор: 
Домашняя страница автора: 

ГОСТ 9627.3-75

E-mail автора: 

Древесина слоистая клееная. Метод определения маслостойкости

Обозначение: ГОСТ 9627.3-75
Статус: действующий
Название рус.: Древесина слоистая клееная. Метод определения маслостойкости
Название англ.: Glued plywood. Method for determination of oil resistances
Дата актуализации текста: 19.06.2012
Дата актуализации описания: 19.06.2012
Дата введения в действие: 01.01.1977
Область и условия применения: Настоящий стандарт распространяется на фанеру, фанерные и столярные плиты, древесные слоистые пластики и устанавливает метод определения маслостойкости
Взамен в части: ГОСТ 9628-61 в части метода определения маслостойкости


ГОСТ 9627.3-75
ГОСТ 9627.3-75
ГОСТ 9627.3-75
ГОСТ 9627.3-75
Автор: 
Домашняя страница автора: 

ГОСТ 8958-75

E-mail автора: 

Соединительные части из ковкого чугуна с цилиндрической резьбой для трубопроводов. Ниппели двойные. Основные размеры

Обозначение: ГОСТ 8958-75
Статус: действующий
Название рус.: Соединительные части из ковкого чугуна с цилиндрической резьбой для трубопроводов. Ниппели двойные. Основные размеры
Название англ.: Ductile iron fittings with parallel thread for pipelines. Double nipples. Basic dimensions
Дата актуализации текста: 19.06.2012
Дата актуализации описания: 19.06.2012
Дата введения в действие: 01.01.1977
Область и условия применения: Настоящий стандарт распространяется на ниппели двойные из ковкого чугуна с цилиндрической резьбой для трубопроводов
Взамен: ГОСТ 8958-59
Список изменений: №0 от 22.04.1988 (рег. 22.04.1988) «Срок действия продлен»
№1 от 01.12.1980 (рег. 04.09.1980) «Срок действия продлен»


ГОСТ 8958-75
Автор: 
Домашняя страница автора: 

ГОСТ 9200-76

E-mail автора: 

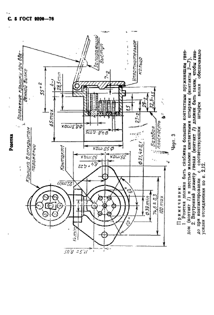
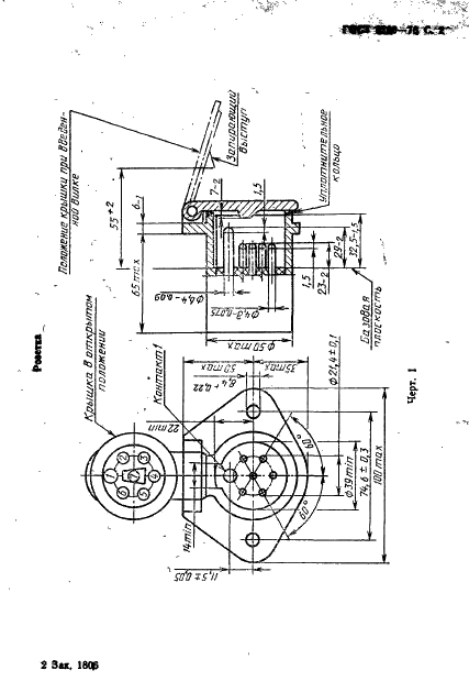
Соединения семиконтактные разъемные для автомобилей и тракторов

Обозначение: ГОСТ 9200-76
Статус: действующий
Название рус.: Соединения семиконтактные разъемные для автомобилей и тракторов
Название англ.: Sevencontacted plug joints for automobiles and tractors
Дата актуализации текста: 19.06.2012
Дата актуализации описания: 19.06.2012
Дата введения в действие: 01.01.1977
Область и условия применения: Настоящий стандарт распространяется на семиконтактные разъемные соединения на номинальное напряжение 12 и 24 В, предназначенные для соединения электрических цепей постоянного тока автотракторных тягачей с электрическими цепями буксируемых ими прицепов
Взамен: ГОСТ 9200-59
Список изменений: №1 от 01.01.1987 (рег. 15.07.1986) «Срок действия продлен»
№2 от 01.07.1992 (рег. 07.02.1992) «Срок действия продлен»


ГОСТ 9200-76
ГОСТ 9200-76
ГОСТ 9200-76
ГОСТ 9200-76
ГОСТ 9200-76
ГОСТ 9200-76
ГОСТ 9200-76
ГОСТ 9200-76
ГОСТ 9200-76
ГОСТ 9200-76
ГОСТ 9200-76
ГОСТ 9200-76
ГОСТ 9200-76
ГОСТ 9200-76
ГОСТ 9200-76
ГОСТ 9200-76
ГОСТ 9200-76
ГОСТ 9200-76
ГОСТ 9200-76
ГОСТ 9200-76
Автор: 
Домашняя страница автора: 

ГОСТ 6619-75

E-mail автора: 

Крюки пластинчатые однорогие и двурогие. Технические условия

Обозначение: ГОСТ 6619-75
Статус: действующий
Название рус.: Крюки пластинчатые однорогие и двурогие. Технические условия
Название англ.: Single and double horned lamellar hooks. Specifications
Дата актуализации текста: 19.06.2012
Дата актуализации описания: 19.06.2012
Дата введения в действие: 01.01.1977
Область и условия применения: Настоящий стандарт распространяется на однорогие и двурогие пластинчатые крюки, применяемые в грузоподъемных машинах и механизмах.
Стандарт не распространяется на крюки судовых грузоподъемных устройств, в том числе плавучих кранов, находящихся под техническим надзором Морского Регистра СССР
Взамен: ГОСТ 6619-65
Список изменений: №1 от 01.09.1991 (рег. 11.02.1991) «Поправка»


ГОСТ 6619-75
ГОСТ 6619-75
ГОСТ 6619-75
ГОСТ 6619-75
ГОСТ 6619-75
ГОСТ 6619-75
ГОСТ 6619-75
ГОСТ 6619-75
ГОСТ 6619-75
ГОСТ 6619-75
Автор: 
Домашняя страница автора: 

ГОСТ 8949-75

E-mail автора: 

Соединительные части из ковкого чугуна с цилиндрической резьбой для трубопроводов. Тройники переходные. Основные размеры

Обозначение: ГОСТ 8949-75
Статус: действующий
Название рус.: Соединительные части из ковкого чугуна с цилиндрической резьбой для трубопроводов. Тройники переходные. Основные размеры
Название англ.: Ductile iron and steel fittings with parallel thread for pipelines. Transition tees. Basic dimensions
Дата актуализации текста: 19.06.2012
Дата актуализации описания: 19.06.2012
Дата введения в действие: 01.01.1977
Область и условия применения: Настоящий стандарт распространяется на основные размеры переходных тройников из ковкого чугуна с цилиндрической резьбой для трубопроводов
Взамен: ГОСТ 8949-59
Список изменений: №0 от 22.04.1988 (рег. 22.04.1988) «Срок действия продлен»
№1 от 01.12.1980 (рег. 04.09.1980) «Срок действия продлен»
№2 от 01.01.1984 (рег. 25.03.1983) «Срок действия продлен»


ГОСТ 8949-75
ГОСТ 8949-75
Автор: 
Домашняя страница автора: 

ГОСТ 9908-75

E-mail автора: 

Микрофоны. Требования к механическому креплению

Обозначение: ГОСТ 9908-75
Статус: действующий
Название рус.: Микрофоны. Требования к механическому креплению
Название англ.: Microphones. Requirements to mechanical attachment
Дата актуализации текста: 19.06.2012
Дата актуализации описания: 19.06.2012
Дата введения в действие: 01.07.1976
Область и условия применения: Настоящий стандарт распространяется на микрофоны и устанавливает требования к механическому креплению их к стойкам способом свинчивания.
Стандарт не распространяется на микрофоны с механическим креплением к стойкам с помощью штепсельных разъемов
Взамен: ГОСТ 9908-61


ГОСТ 9908-75
ГОСТ 9908-75
ГОСТ 9908-75
Автор: 
Домашняя страница автора: 

Страницы