Наша группа Вконтакте vk.com/4ertimcom

ГОСТ 6001-10000

ГОСТ 9244-75

E-mail автора: 

Нутромеры с ценой деления 0,001 и 0,002 мм. Технические требования

Обозначение: ГОСТ 9244-75
Статус: действующий
Название рус.: Нутромеры с ценой деления 0,001 и 0,002 мм. Технические требования
Название англ.: Inside callipers graduated in 0,001 and 0,002 mm. Basic parameters. Technical requirements
Дата актуализации текста: 19.06.2012
Дата актуализации описания: 19.06.2012
Дата введения в действие: 01.01.1978
Область и условия применения: Настоящий стандарт распространяется на нутромеры с ценой деления 0,001 мм для измерения внутренних размеров от 2 до 10 мм и с ценой деления 0,002 мм для измерения внутренних размеров от 10 до 450 мм относительным методом
Взамен: ГОСТ 9244-59
Список изменений: №0 от 20.05.1988 (рег. 20.05.1988) «Срок действия продлен»
№1 от 01.01.1978 (рег. 16.12.1977) «Срок действия продлен»
№2 от 01.01.1984 (рег. 31.12.1982) «Срок действия продлен»
№3 от 01.01.1988 (рег. 15.07.1987) «Срок действия продлен»
№4 от 01.12.1989 (рег. 22.05.1989) «Срок действия продлен»


ГОСТ 9244-75
ГОСТ 9244-75
ГОСТ 9244-75
ГОСТ 9244-75
ГОСТ 9244-75
ГОСТ 9244-75
ГОСТ 9244-75
Автор: 
Домашняя страница автора: 

ГОСТ 8910-75

E-mail автора: 

Приборы для измерения длины киноленты. Расчетные шаги перфорации. Передаточные числа

Обозначение: ГОСТ 8910-75
Статус: действующий
Название рус.: Приборы для измерения длины киноленты. Расчетные шаги перфорации. Передаточные числа
Название англ.: Measuring instruments of film length. Assumed perforation. Gear ratios
Дата актуализации текста: 19.06.2012
Дата актуализации описания: 19.06.2012
Дата введения в действие: 01.01.1977
Область и условия применения: Настоящий стандарт распространяется на приборы для измерения длины 70-, 35-, 16-, 8Р- и 8С-мм киноленты (метромеры), а также кинофильмов и перфорированных магнитных лент и устанавливает расчетные значения шагов перфорации кинолент и передаточные числа механизмов.
Стандарт не распространяется на счетчики метров, встроенные в аппаратуру
Взамен: ГОСТ 8910-58
Список изменений: №0 от 01.06.1987 (рег. 01.06.1987) «Срок действия продлен»


ГОСТ 8910-75
ГОСТ 8910-75
ГОСТ 8910-75
ГОСТ 8910-75
ГОСТ 8910-75
Автор: 
Домашняя страница автора: 

ГОСТ 7611-75

E-mail автора: 

Масло для вентиляционных фильтров. Технические условия

Обозначение: ГОСТ 7611-75
Статус: действующий
Название рус.: Масло для вентиляционных фильтров. Технические условия
Название англ.: Oil for ventilating filters. Specifications
Дата актуализации текста: 19.06.2012
Дата актуализации описания: 19.06.2012
Дата введения в действие: 01.01.1976
Область и условия применения: Настоящий стандарт распространяется на масло для вентиляционных фильтров (висциновое масло), представляющее собой очищенное масло, вырабатываемое из малосернистых нефтей и применяемое для поглощения пыли из воздуха
Взамен: ГОСТ 7611-55
Список изменений: №1 от 01.12.1980 (рег. 22.08.1980) «Срок действия продлен»
№2 от 01.01.1986 (рег. 16.07.1985) «Срок действия продлен»


ГОСТ 7611-75
ГОСТ 7611-75
Автор: 
Домашняя страница автора: 

ГОСТ 8695-75

E-mail автора: 

Трубы. Метод испытания на сплющивание

Обозначение: ГОСТ 8695-75
Статус: действующий
Название рус.: Трубы. Метод испытания на сплющивание
Название англ.: Tubing. Flattening testing method
Дата актуализации текста: 19.06.2012
Дата актуализации описания: 19.06.2012
Дата введения в действие: 01.07.1977
Область и условия применения: Настоящий стандарт распространяется на металлические бесшовные и сварные трубы с наружным диаметром не более 400 мм и с толщиной стенки не более 15% от наружного диаметра трубы и устанавливает метод испытания на сплющивание при температуре 20 плюс минус 10 град. С
Взамен: ГОСТ 8695-58
Список изменений: №1 от 01.07.1980 (рег. 04.04.1980) «Срок действия продлен»


ГОСТ 8695-75
ГОСТ 8695-75
Автор: 
Домашняя страница автора: 

ГОСТ 8979-75

E-mail автора: 

Кожа искусственная и пленочные материалы. Методы определения устойчивости к тепловому и светотепловому старению

Обозначение: ГОСТ 8979-75
Статус: действующий
Название рус.: Кожа искусственная и пленочные материалы. Методы определения устойчивости к тепловому и светотепловому старению
Название англ.: Artificial leather and films. Determination methods of resistance to heat and light stability
Дата актуализации текста: 19.06.2012
Дата актуализации описания: 19.06.2012
Дата введения в действие: 01.01.1977
Область и условия применения: Настоящий стандарт распространяется на искуственные и синтетические кожи для обуви, одежды, галантереи, технического назначения и плащевые материалы, полученные обработкой ткани, трикотажа, нетканого материала и других основ различными полимерными пленкообразующими материалами, и на полимерные пленочные материалы бытового назначения и устанавливает методы определения устойчивости к тепловому и светотепловому старению
Взамен: ГОСТ 8979-59
Список изменений: №1 от 01.01.1982 (рег. 10.08.1981) «Срок действия продлен»
№2 от 01.11.1986 (рег. 16.05.1986) «Срок действия продлен»


ГОСТ 8979-75
ГОСТ 8979-75
ГОСТ 8979-75
ГОСТ 8979-75
ГОСТ 8979-75
ГОСТ 8979-75
ГОСТ 8979-75
Автор: 
Домашняя страница автора: 

ГОСТ 7927-75

E-mail автора: 

Ксантогенаты калия бутиловый и этиловый. Технические условия

Обозначение: ГОСТ 7927-75
Статус: действующий
Название рус.: Ксантогенаты калия бутиловый и этиловый. Технические условия
Название англ.: Butyl and ethyl potassium xanthates. Specifications
Дата актуализации текста: 19.06.2012
Дата актуализации описания: 19.06.2012
Дата введения в действие: 01.01.1977
Область и условия применения: Настоящий стандарт распространяется на бутиловый и этиловый ксантогенаты калия, предназначенные для применения в качестве реагентов - собирателей при обогащении руд методом флотации и в гидрометаллургической промышленности
Взамен: ГОСТ 7927-56
Список изменений: №1 от 01.11.1980 (рег. 30.06.1980) «Срок действия продлен»
№2 от 01.01.1986 (рег. 20.06.1985) «Срок действия продлен»
№3 от 01.04.1990 (рег. 21.09.1989) «Срок действия продлен»


ГОСТ 7927-75
ГОСТ 7927-75
ГОСТ 7927-75
ГОСТ 7927-75
ГОСТ 7927-75
ГОСТ 7927-75
ГОСТ 7927-75
Автор: 
Домашняя страница автора: 

ГОСТ 8854-75

E-mail автора: 

Машины пишущие. Шрифты, колодки литерные. Технические условия

Обозначение: ГОСТ 8854-75
Статус: действующий
Название рус.: Машины пишущие. Шрифты, колодки литерные. Технические условия
Название англ.: Typewriters. Types, type styles, shift distances. Specifications
Дата актуализации текста: 19.06.2012
Дата актуализации описания: 19.06.2012
Дата введения в действие: 01.01.1977
Область и условия применения: Настоящий стандарт распространяется на шрифты и литерные колодки, предназначенные для получения оттисков письма на пишущих машинах
Взамен: ГОСТ 8854-68
Список изменений: №1 от 01.12.1981 (рег. 08.09.1981) «Срок действия продлен»
№2 от 01.02.1985 (рег. 31.08.1984) «Срок действия продлен»
№3 от 01.10.1986 (рег. 30.09.1986) «Поправка»
№4 от 01.07.1988 (рег. 28.01.1988) «Срок действия продлен»
№5 от 01.01.1990 (рег. 06.06.1989) «Поправка»


ГОСТ 8854-75
ГОСТ 8854-75
ГОСТ 8854-75
ГОСТ 8854-75
ГОСТ 8854-75
ГОСТ 8854-75
ГОСТ 8854-75
ГОСТ 8854-75
ГОСТ 8854-75
ГОСТ 8854-75
Автор: 
Домашняя страница автора: 

ГОСТ 8980-75

E-mail автора: 

Вещества текстильно-вспомогательные. Стеарокс-6. Технические условия

Обозначение: ГОСТ 8980-75
Статус: действующий
Название рус.: Вещества текстильно-вспомогательные. Стеарокс-6. Технические условия
Название англ.: Auxiliary compounds for textiles. Stearox-6. Specifications
Дата актуализации текста: 19.06.2012
Дата актуализации описания: 19.06.2012
Дата введения в действие: 01.07.1976
Область и условия применения: Настоящий стандарт распространяется на стеарокс-6, представляющий собой смесь полиоксиэтиленгликолевых эфиров стеариновой кислоты с добавкой 5-10% препарата ОС-20 или 5-7% вспомогательного вещества неонола АФ/9-10 (или синтанола ДС-20)
Взамен: ГОСТ 8980-59
Список изменений: №1 от 01.10.1980 (рег. 20.05.1980) «Срок действия продлен»
№2 от 01.07.1990 (рег. 13.12.1984) «Срок действия продлен»
№3 от 01.02.1990 (рег. 24.07.1989) «Срок действия продлен»


ГОСТ 8980-75
ГОСТ 8980-75
ГОСТ 8980-75
ГОСТ 8980-75
ГОСТ 8980-75
ГОСТ 8980-75
ГОСТ 8980-75
Автор: 
Домашняя страница автора: 

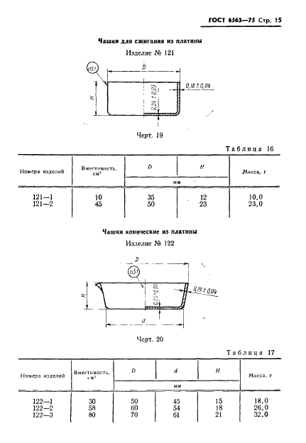
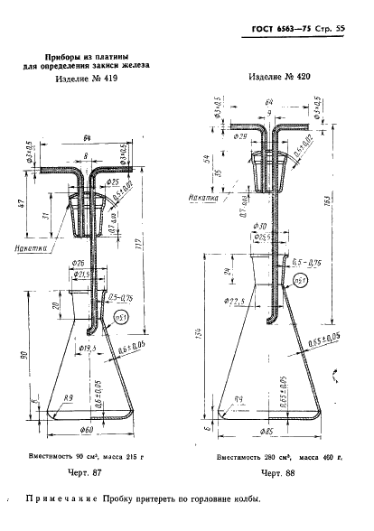
ГОСТ 6563-75

E-mail автора: 

Изделия технические из благородных металлов и сплавов. Технические условия

Обозначение: ГОСТ 6563-75
Статус: действующий
Название рус.: Изделия технические из благородных металлов и сплавов. Технические условия
Название англ.: Technical articles made of noble metals and their alloys. Specifications
Дата актуализации текста: 19.06.2012
Дата актуализации описания: 19.06.2012
Дата введения в действие: 01.01.1977
Область и условия применения: Настоящий стандарт распространяется на технические изделия из благородных металлов и сплавов, в том числе лабораторную посуду и принадлежности, применяемые в различных отраслях промышленности и науки
Взамен: ГОСТ 6563-58
Список изменений: №0 от 01.06.2006 (рег. 01.06.2006) «Ограничение срока действия снято»
№1 от 01.01.1987 (рег. 28.07.1986) «Поправка»
№2 от 01.01.1992 (рег. 24.06.1991) «Срок действия продлен»
№3 от 01.06.2006 (рег. 10.11.2005) «Текстовое изменение; Изменены ссылочные НД»
Приложение №1: Изменение №3 к ГОСТ 6563-75
Приложение №2: Изменение к ГОСТ 6563-75. Поправка к изменению


ГОСТ 6563-75
ГОСТ 6563-75
ГОСТ 6563-75
ГОСТ 6563-75
ГОСТ 6563-75
ГОСТ 6563-75
ГОСТ 6563-75
ГОСТ 6563-75
ГОСТ 6563-75
ГОСТ 6563-75
ГОСТ 6563-75
ГОСТ 6563-75
ГОСТ 6563-75
ГОСТ 6563-75
ГОСТ 6563-75
ГОСТ 6563-75
ГОСТ 6563-75
ГОСТ 6563-75
ГОСТ 6563-75
ГОСТ 6563-75
ГОСТ 6563-75
ГОСТ 6563-75
ГОСТ 6563-75
ГОСТ 6563-75
ГОСТ 6563-75
ГОСТ 6563-75
ГОСТ 6563-75
ГОСТ 6563-75
ГОСТ 6563-75
ГОСТ 6563-75
ГОСТ 6563-75
ГОСТ 6563-75
ГОСТ 6563-75
ГОСТ 6563-75
ГОСТ 6563-75
ГОСТ 6563-75
ГОСТ 6563-75
ГОСТ 6563-75
ГОСТ 6563-75
ГОСТ 6563-75
ГОСТ 6563-75
ГОСТ 6563-75
ГОСТ 6563-75
ГОСТ 6563-75
ГОСТ 6563-75
ГОСТ 6563-75
ГОСТ 6563-75
ГОСТ 6563-75
ГОСТ 6563-75
ГОСТ 6563-75
ГОСТ 6563-75
ГОСТ 6563-75
ГОСТ 6563-75
ГОСТ 6563-75
ГОСТ 6563-75
ГОСТ 6563-75
ГОСТ 6563-75
ГОСТ 6563-75
ГОСТ 6563-75
ГОСТ 6563-75
ГОСТ 6563-75
ГОСТ 6563-75
ГОСТ 6563-75
ГОСТ 6563-75
ГОСТ 6563-75
ГОСТ 6563-75
ГОСТ 6563-75
ГОСТ 6563-75
ГОСТ 6563-75
ГОСТ 6563-75
ГОСТ 6563-75
ГОСТ 6563-75
ГОСТ 6563-75
ГОСТ 6563-75


Изменение №3 к ГОСТ 6563-75

Обозначение: Изменение №3 к ГОСТ 6563-75
Дата введения в действие: 01.06.2006
Дата актуализации: 15.01.2008


Изменение №3 к ГОСТ 6563-75


Изменение к ГОСТ 6563-75. Поправка к изменению

Обозначение: Изменение к ГОСТ 6563-75. Поправка к изменению
Дата введения в действие: 01.06.2006
Дата актуализации: 15.01.2008


Изменение к ГОСТ 6563-75. Поправка к изменению
Автор: 
Домашняя страница автора: 

ГОСТ 6730-75

E-mail автора: 

Трава морская сушеная. Технические условия

Обозначение: ГОСТ 6730-75
Статус: действующий
Название рус.: Трава морская сушеная. Технические условия
Название англ.: Dried sea grass. Specifications
Дата актуализации текста: 19.06.2012
Дата актуализации описания: 19.06.2012
Дата введения в действие: 01.01.1976
Область и условия применения: Настоящий стандарт распространяется на морские травы филлоспадикс (Phyllospadix Scoulai) и зостеру (Zostora marina), высушенные в естественных или искусственных условиях и применяемые в производстве мебели и для упаковочных целей
Взамен: ГОСТ 6730-53
Заменяющий в части: ГОСТ 26185-84 в части разд. 3
Список изменений: №1 от 01.11.1980 (рег. 01.11.1980) «Срок действия продлен»


ГОСТ 6730-75
ГОСТ 6730-75
ГОСТ 6730-75
ГОСТ 6730-75
ГОСТ 6730-75
ГОСТ 6730-75
Автор: 
Домашняя страница автора: 

Страницы