Наша группа Вконтакте vk.com/4ertimcom

ГОСТ 6001-10000

ГОСТ 7205-77

E-mail автора: 

Реактивы. Марганец (II) углекислый основной, водный. Технические условия

Обозначение: ГОСТ 7205-77
Статус: действующий
Название рус.: Реактивы. Марганец (II) углекислый основной, водный. Технические условия
Название англ.: Reagents. Manganese carbonate, basic aqueous. Specifications
Дата актуализации текста: 19.06.2012
Дата актуализации описания: 19.06.2012
Дата введения в действие: 01.01.1979
Область и условия применения: Настоящий стандарт распространяется на водный основной углекислый марганец (II), который представляет собой порошок от светло-розового до светло-коричневого цвета. Нерастворим в воде, спирте, эфире; растворим в серной, соляной и азотной кислотах, светочувствителен
Взамен: ГОСТ 7205-67
Список изменений: №1 от 01.07.1988 (рег. 08.12.1987) «Срок действия продлен»


ГОСТ 7205-77
ГОСТ 7205-77
ГОСТ 7205-77
ГОСТ 7205-77
ГОСТ 7205-77
ГОСТ 7205-77
ГОСТ 7205-77
ГОСТ 7205-77
ГОСТ 7205-77
ГОСТ 7205-77
ГОСТ 7205-77
Автор: 
Домашняя страница автора: 

ГОСТ 7699-78

E-mail автора: 

Крахмал картофельный. Технические условия

Обозначение: ГОСТ 7699-78
Статус: утратил силу в РФ
Название рус.: Крахмал картофельный. Технические условия
Название англ.: Potato starch. Specification
Дата актуализации текста: 19.06.2012
Дата актуализации описания: 19.06.2012
Дата введения в действие: 01.01.1980
Область и условия применения: Настоящий стандарт распространяется на картофельный крахмал, получаемый механической переработкой картофеля.
Картофельный крахмал предназначен для применения в различных отраслях пищевой промышленности (кондитерской, концентратной, мясо-молочной, хлебопекарной и др.) в качестве товара народного потребления, в химико-фармацевтической промышленности в качестве наполнителя в таблетированных лекарственных средствах и присыпках, а также для технических целей (производство декстрина, в текстильной, бумажной и других отраслях промышленности)
Взамен: ГОСТ 7699-68
Список изменений: №0 от 01.01.2012 (рег. 21.09.2010) «Поправка к изменению»
№1 от 01.08.1983 (рег. 11.03.1983) «Срок действия продлен»
№2 от 01.07.1988 (рег. 25.02.1988) «Срок действия продлен»
№3 от 01.01.1991 (рег. 15.06.1989) «Срок действия продлен»


ГОСТ 7699-78
ГОСТ 7699-78
ГОСТ 7699-78
ГОСТ 7699-78
Автор: 
Домашняя страница автора: 

ГОСТ 7362-78

E-mail автора: 

Бумага перфокарточная. Технические условия

Обозначение: ГОСТ 7362-78
Статус: действующий
Название рус.: Бумага перфокарточная. Технические условия
Название англ.: Paper for punched cards. Specifications
Дата актуализации текста: 19.06.2012
Дата актуализации описания: 19.06.2012
Дата введения в действие: 01.01.1980
Область и условия применения: Настоящий стандарт распространяется на бумагу, применяемую для изготовления перфокарт
Взамен: ГОСТ 7362-72
Список изменений: №1 от 01.07.1981 (рег. 22.04.1981) «Срок действия продлен»
№2 от 01.06.1982 (рег. 17.02.1982) «Срок действия продлен»
№3 от 01.03.1983 (рег. 02.09.1983) «Срок действия продлен»
№4 от 01.08.1986 (рег. 24.03.1986) «Срок действия продлен»
№5 от 01.01.1990 (рег. 29.03.1989) «Срок действия продлен»


ГОСТ 7362-78
ГОСТ 7362-78
ГОСТ 7362-78
ГОСТ 7362-78
ГОСТ 7362-78
ГОСТ 7362-78
ГОСТ 7362-78
ГОСТ 7362-78
Автор: 
Домашняя страница автора: 

ГОСТ 9014.1-78

E-mail автора: 

Лесоматериалы круглые. Хранение. Защита дождеванием

Обозначение: ГОСТ 9014.1-78
Статус: действующий
Название рус.: Лесоматериалы круглые. Хранение. Защита дождеванием
Название англ.: Round timber. Storing. Protection by the artificial rain irrigation
Дата актуализации текста: 19.06.2012
Дата актуализации описания: 19.06.2012
Дата введения в действие: 01.01.1979
Область и условия применения: Настоящий стандарт распространяется на круглые лесоматериалы и устанавливает способ защиты их дождеванием при хранении в теплый период года
Список изменений: №0 от 28.06.1988 (рег. 28.06.1988) «Срок действия продлен»


ГОСТ 9014.1-78
ГОСТ 9014.1-78
ГОСТ 9014.1-78
ГОСТ 9014.1-78
ГОСТ 9014.1-78
ГОСТ 9014.1-78
ГОСТ 9014.1-78
ГОСТ 9014.1-78
Автор: 
Домашняя страница автора: 

ГОСТ 7472-78

E-mail автора: 

Обувь лыжная. Технические условия

Обозначение: ГОСТ 7472-78
Статус: действующий
Название рус.: Обувь лыжная. Технические условия
Название англ.: Ski foot-wear. Specifications
Дата актуализации текста: 19.06.2012
Дата актуализации описания: 19.06.2012
Дата введения в действие: 01.01.1980
Область и условия применения: Настоящий стандарт распространяется на лыжную обувь массового производства доппельно-гвоздевого, доппельно-прошивного и полусандального методов крепления. Обувь предназначается для катания и скоростного бега на лыжах
Взамен: ГОСТ 7472-68
Список изменений: №1 от 01.10.1980 (рег. 20.05.1980) «Срок действия продлен»
№2 от 01.04.1985 (рег. 27.09.1984) «Срок действия продлен»
№3 от 01.12.1986 (рег. 11.07.1986) «Срок действия продлен»


ГОСТ 7472-78
ГОСТ 7472-78
ГОСТ 7472-78
ГОСТ 7472-78
ГОСТ 7472-78
ГОСТ 7472-78
ГОСТ 7472-78
ГОСТ 7472-78
ГОСТ 7472-78
ГОСТ 7472-78
ГОСТ 7472-78
Автор: 
Домашняя страница автора: 

ГОСТ 7262-78

E-mail автора: 

Провода медные, изолированные лаком ВЛ-931. Технические условия

Обозначение: ГОСТ 7262-78
Статус: действующий
Название рус.: Провода медные, изолированные лаком ВЛ-931. Технические условия
Название англ.: Copper wires insulated by vanish ВЛ-931. Specifications
Дата актуализации текста: 19.06.2012
Дата актуализации описания: 19.06.2012
Дата введения в действие: 01.01.1980
Область и условия применения: Настоящий стандарт распространяется на медные провода круглого сечения, изолированные лаком ВЛ-931 (на поливинилформальэтилалевой основе), предназначенные для изготовления обмоток электрических машин, аппаратов и приборов
Взамен: ГОСТ 7262-70
Список изменений: №1 от 01.01.1985 (рег. 29.06.1984) «Срок действия продлен»
№2 от 01.01.1989 (рег. 17.05.1988) «Срок действия продлен»


ГОСТ 7262-78
ГОСТ 7262-78
ГОСТ 7262-78
ГОСТ 7262-78
ГОСТ 7262-78
ГОСТ 7262-78
ГОСТ 7262-78
ГОСТ 7262-78
ГОСТ 7262-78
ГОСТ 7262-78
ГОСТ 7262-78
ГОСТ 7262-78
ГОСТ 7262-78
ГОСТ 7262-78
ГОСТ 7262-78
ГОСТ 7262-78
ГОСТ 7262-78
ГОСТ 7262-78
ГОСТ 7262-78
Автор: 
Домашняя страница автора: 

ГОСТ 9134-78

E-mail автора: 

Обувь. Методы определения прочности крепления деталей низа

Обозначение: ГОСТ 9134-78
Статус: действующий
Название рус.: Обувь. Методы определения прочности крепления деталей низа
Название англ.: Shoes. Methods for determination of bottom parts attaching strength
Дата актуализации текста: 19.06.2012
Дата актуализации описания: 19.06.2012
Дата введения в действие: 01.01.1980
Область и условия применения: Настоящий стандарт распространяется на кожаную обувь гвоздевого, винтового, деревянно-шпилечного, прошивного, рантового, доппельного, сандального, клеепрошивного и строчечно-клеепрошивного (типа опанок) крепления и устанавливает методы испытания прочности крепления деталей низа обуви
Взамен: ГОСТ 9134-59
Список изменений: №1 от 01.04.1985 (рег. 27.09.1984) «Срок действия продлен»


ГОСТ 9134-78
ГОСТ 9134-78
ГОСТ 9134-78
ГОСТ 9134-78
ГОСТ 9134-78
ГОСТ 9134-78
ГОСТ 9134-78
ГОСТ 9134-78
ГОСТ 9134-78
ГОСТ 9134-78
ГОСТ 9134-78
ГОСТ 9134-78
ГОСТ 9134-78
ГОСТ 9134-78
ГОСТ 9134-78
ГОСТ 9134-78
Автор: 
Домашняя страница автора: 

ГОСТ 9780-78

E-mail автора: 

Материал переплетный. Метод определения светостойкости

Обозначение: ГОСТ 9780-78
Статус: действующий
Название рус.: Материал переплетный. Метод определения светостойкости
Название англ.: Bookbinding material. Method of determination for light fastness
Дата актуализации текста: 19.06.2012
Дата актуализации описания: 19.06.2012
Дата введения в действие: 01.07.1979
Область и условия применения: Настоящий стандарт распространяется на переплетный материал, изготовленный на различных основах с обработкой пленкообразующими составами, и на дублированный переплетный материал и устанавливает метод определения светостойкости.
Метод заключается в визуальной оценке по 5-бальной шкале серых эталонов или в инструментальном определении степени изменения цвета переплетного материала после светотеплового старения
Взамен: ГОСТ 9780-61
Список изменений: №1 от 01.05.1984 (рег. 29.11.1983) «Срок действия продлен»
№2 от 01.07.1989 (рег. 20.12.1988) «Срок действия продлен»


ГОСТ 9780-78
ГОСТ 9780-78
ГОСТ 9780-78
ГОСТ 9780-78
ГОСТ 9780-78
ГОСТ 9780-78
ГОСТ 9780-78
Автор: 
Домашняя страница автора: 

ГОСТ 6396-78

E-mail автора: 

Фрезы шпоночные, оснащенные твердосплавными пластинами. Технические условия

Обозначение: ГОСТ 6396-78
Статус: действующий
Название рус.: Фрезы шпоночные, оснащенные твердосплавными пластинами. Технические условия
Название англ.: Carbide-tipped keyway milling cutters. Specifications
Дата актуализации текста: 19.06.2012
Дата актуализации описания: 19.06.2012
Дата введения в действие: 01.01.1980
Область и условия применения: Настоящий стандарт распространяется на фрезы, оснащенные твердосплавными пластинами по ГОСТ 25400 группы ТК для обработки стали, группы ВК - для обработки чугуна и предназначенные для фрезерования шпоночных пазов по ГОСТ 23360
Взамен: ГОСТ 6396-68
Список изменений: №1 от 01.01.1982 (рег. 17.12.1981) «Срок действия продлен»
№2 от 01.07.1987 (рег. 20.12.1986) «Срок действия продлен»
№3 от 01.01.1992 (рег. 13.03.1991) «Срок действия продлен»


ГОСТ 6396-78
ГОСТ 6396-78
ГОСТ 6396-78
ГОСТ 6396-78
ГОСТ 6396-78
ГОСТ 6396-78
ГОСТ 6396-78
ГОСТ 6396-78
ГОСТ 6396-78
ГОСТ 6396-78
ГОСТ 6396-78
Автор: 
Домашняя страница автора: 

ГОСТ 8898-78

E-mail автора: 

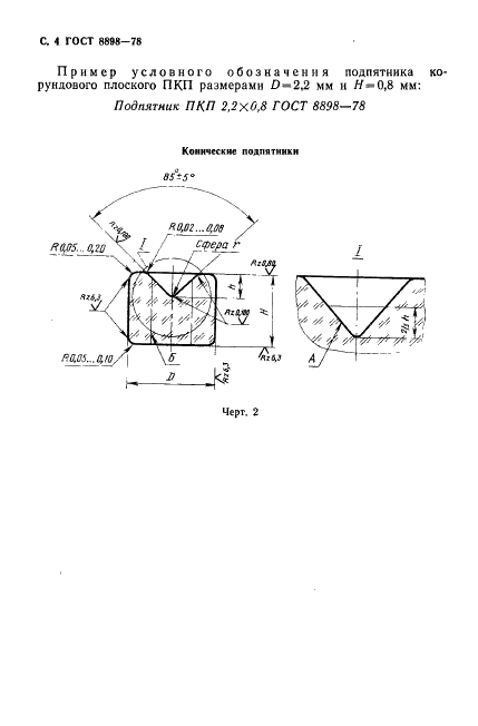
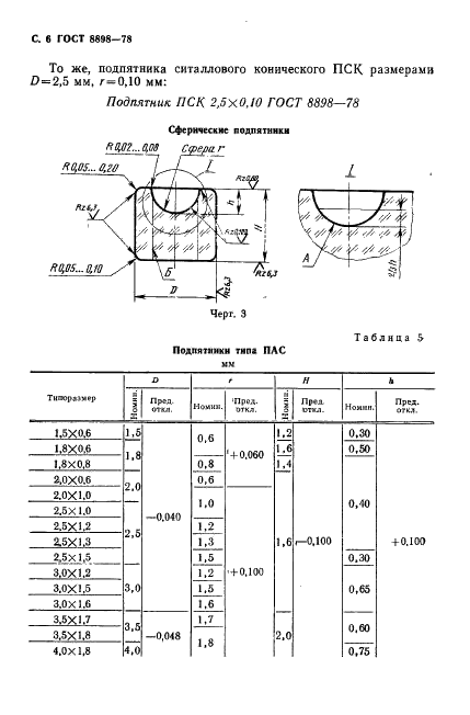
Подпятники для измерительных приборов. Общие технические условия

Обозначение: ГОСТ 8898-78
Статус: действующий
Название рус.: Подпятники для измерительных приборов. Общие технические условия
Название англ.: Step-bearing for measuring instruments. General specifications
Дата актуализации текста: 19.06.2012
Дата актуализации описания: 19.06.2012
Дата введения в действие: 01.01.1979
Область и условия применения: Настоящий стандарт распространяется на подпятники, применяемые в качестве опор в измерительных приборах
Взамен: ГОСТ 8898-68
Список изменений: №0 от 15.06.1988 (рег. 15.06.1988) «Срок действия продлен»
№1 от 01.01.1983 (рег. 18.08.1982) «Срок действия продлен»


ГОСТ 8898-78
ГОСТ 8898-78
ГОСТ 8898-78
ГОСТ 8898-78
ГОСТ 8898-78
ГОСТ 8898-78
ГОСТ 8898-78
ГОСТ 8898-78
ГОСТ 8898-78
ГОСТ 8898-78
ГОСТ 8898-78
ГОСТ 8898-78
ГОСТ 8898-78
ГОСТ 8898-78
ГОСТ 8898-78
Автор: 
Домашняя страница автора: 

Страницы