Наша группа Вконтакте vk.com/4ertimcom

ГОСТ 6001-10000

ГОСТ 6943.3-79

E-mail автора: 

Материалы текстильные стеклянные. Метод определения устойчивости к истиранию

Обозначение: ГОСТ 6943.3-79
Статус: действующий
Название рус.: Материалы текстильные стеклянные. Метод определения устойчивости к истиранию
Название англ.: Glass textile products. Method of abrasion resistance determination
Дата актуализации текста: 19.06.2012
Дата актуализации описания: 19.06.2012
Дата введения в действие: 01.07.1980
Область и условия применения: Настоящий стандарт распространяется на стеклянные ткани и устанавливает метод определения устойчивости к истиранию по поверхности
Список изменений: №1 от 01.06.1990 (рег. 07.12.1989) «Срок действия продлен»


ГОСТ 6943.3-79
ГОСТ 6943.3-79
Автор: 
Домашняя страница автора: 

ГОСТ 6247-79

E-mail автора: 

Бочки стальные сварные с обручами катания на корпусе. Технические условия

Обозначение: ГОСТ 6247-79
Статус: действующий
Название рус.: Бочки стальные сварные с обручами катания на корпусе. Технические условия
Название англ.: Steel welded barrels with hoops of rolling on casing. Specifications
Дата актуализации текста: 19.06.2012
Дата актуализации описания: 19.06.2012
Дата введения в действие: 01.01.1980
Область и условия применения: Настоящий стандарт распространяется на стальные бочки длительного пользования, предназначенные для транспортирования и хранения нефтяных и других жидких непищевых продуктов, не действующих активно на сталь и цинк
Взамен: ГОСТ 6247-72
Список изменений: №1 от 01.01.1985 (рег. 13.07.1984) «Срок действия продлен»
№2 от 01.01.1990 (рег. 19.04.1989) «Поправка»


ГОСТ 6247-79
ГОСТ 6247-79
ГОСТ 6247-79
ГОСТ 6247-79
ГОСТ 6247-79
ГОСТ 6247-79
ГОСТ 6247-79
ГОСТ 6247-79
ГОСТ 6247-79
ГОСТ 6247-79
ГОСТ 6247-79
Автор: 
Домашняя страница автора: 

ГОСТ 8831-79

E-mail автора: 

Станки токарно-продольные. Автоматы. Нормы точности

Обозначение: ГОСТ 8831-79
Статус: действующий
Название рус.: Станки токарно-продольные. Автоматы. Нормы точности
Название англ.: Longitudinal turning machines. Automatics. Standards of accuracy
Дата актуализации текста: 19.06.2012
Дата актуализации описания: 19.06.2012
Дата введения в действие: 01.07.1980
Область и условия применения: Настоящий стандарт распространяется на автоматические токарно-продольные станки общего назначения классов точности П, В и А и на приспособления к ним
Взамен: ГОСТ 8831-70
Список изменений: №1 от 01.07.1984 (рег. 04.01.1984) «Срок действия продлен»
№2 от 01.01.1988 (рег. 11.06.1987) «Срок действия продлен»


ГОСТ 8831-79
ГОСТ 8831-79
ГОСТ 8831-79
ГОСТ 8831-79
ГОСТ 8831-79
ГОСТ 8831-79
ГОСТ 8831-79
ГОСТ 8831-79
ГОСТ 8831-79
ГОСТ 8831-79
ГОСТ 8831-79
ГОСТ 8831-79
Автор: 
Домашняя страница автора: 

ГОСТ 7177-80

E-mail автора: 

Арбузы продовольственные свежие. Технические условия

<</tr>
Обозначение: ГОСТ 7177-80
Статус: действующий
Название рус.: Арбузы продовольственные свежие. Технические условия
Название англ.: Water-melons food, fresh. Specifications
Дата актуализации текста: 19.06.2012
Дата актуализации описания: 19.06.2012
Дата введения в действие: 01.06.1982
Область и условия применения: Настоящий стандарт распространяется на свежие продовольственные арбузы всех ботанических сортов, предназначенные для потребления в свежем виде
Взамен: ГОСТ 7177-68
Список изменений: №0 от 30.03.1987 (рег. 30.03.1987) «Срок действия продлен»
№1 от 01.06.1982 (рег. 20.01.1982) «Срок действия продлен»
№2 от 15.06.1985 (рег. 14.06.1985) «Срок действия продлен»
№3 от 15.08.1987 (рег. 05.05.1987) «Срок действия продлен»
№4 от 01.07.1990 (рег. 08.12.1989) «Срок действия продлен»
№5 от 01.01.1991 (рег. 11.09.1990) «Срок действия продлен»


ГОСТ 7177-80
ГОСТ 7177-80
ГОСТ 7177-80
ГОСТ 7177-80
ГОСТ 7177-80
ГОСТ 7177-80
ГОСТ 7177-80
Автор: 
Домашняя страница автора: 

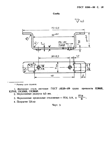
ГОСТ 8594-80

E-mail автора: 

Коробки для установки выключателей и штепсельных розеток при скрытой электропроводке. Общие технические условия

Обозначение: ГОСТ 8594-80
Статус: действующий
Название рус.: Коробки для установки выключателей и штепсельных розеток при скрытой электропроводке. Общие технические условия
Название англ.: Boxes for incorporation of switches and receptacles for buried wiring. General specifications
Дата актуализации текста: 19.06.2012
Дата актуализации описания: 19.06.2012
Дата введения в действие: 01.01.1982
Область и условия применения: Настоящий стандарт распространяется на коробки для монтажа выключателей по ГОСТ 7397.0-89 и штепсельных розеток по ГОСТ 7396.1-89 с помощью распорных лапок при выполнении скрытой электропроводки
Взамен: ГОСТ 8594-70
Список изменений: №1 от 01.10.1986 (рег. 04.03.1986) «Срок действия продлен»
№2 от 01.01.1989 (рег. 23.12.1988) «Срок действия продлен»
№3 от 01.07.1992 (рег. 27.12.1991) «Поправка»


ГОСТ 8594-80
ГОСТ 8594-80
ГОСТ 8594-80
ГОСТ 8594-80
ГОСТ 8594-80
ГОСТ 8594-80
ГОСТ 8594-80
ГОСТ 8594-80
ГОСТ 8594-80
ГОСТ 8594-80
ГОСТ 8594-80
ГОСТ 8594-80
ГОСТ 8594-80
ГОСТ 8594-80
ГОСТ 8594-80
ГОСТ 8594-80
Автор: 
Домашняя страница автора: 

ГОСТ 6637-80

E-mail автора: 

Фрезы червячные чистовые для шлицевых валов с эвольвентным профилем. Технические условия

Обозначение: ГОСТ 6637-80
Статус: действующий
Название рус.: Фрезы червячные чистовые для шлицевых валов с эвольвентным профилем. Технические условия
Название англ.: Finisning invobete spline hobs. Technical conditions
Дата актуализации текста: 19.06.2012
Дата актуализации описания: 19.06.2012
Дата введения в действие: 01.01.1982
Область и условия применения: Настоящий стандарт распространяется на червячные цельные чистовые фрезы для обработки зубчатых (шлицевых) валов с эвольвентным профилем по ГОСТ 6033-80 и ГОСТ 6033-51
Взамен: ГОСТ 6637-53
Список изменений: №1 от 01.09.1987 (рег. 12.03.1987) «Срок действия продлен»
№2 от 01.05.1992 (рег. 13.11.1991) «Срок действия продлен»


ГОСТ 6637-80
ГОСТ 6637-80
ГОСТ 6637-80
ГОСТ 6637-80
ГОСТ 6637-80
ГОСТ 6637-80
ГОСТ 6637-80
ГОСТ 6637-80
ГОСТ 6637-80
ГОСТ 6637-80
ГОСТ 6637-80
ГОСТ 6637-80
ГОСТ 6637-80
ГОСТ 6637-80
ГОСТ 6637-80
ГОСТ 6637-80
ГОСТ 6637-80
ГОСТ 6637-80
ГОСТ 6637-80
ГОСТ 6637-80
ГОСТ 6637-80
ГОСТ 6637-80
Автор: 
Домашняя страница автора: 

ГОСТ 7319-80

E-mail автора: 

Пиломатериалы и заготовки лиственных пород. Атмосферная сушка и хранение

Обозначение: ГОСТ 7319-80
Статус: действующий
Название рус.: Пиломатериалы и заготовки лиственных пород. Атмосферная сушка и хранение
Название англ.: Sawn timber and blanks of broad-leaved species. Atmospheric drying and storage
Дата актуализации текста: 19.06.2012
Дата актуализации описания: 19.06.2012
Дата введения в действие: 01.01.1981
Область и условия применения: Настоящий стандарт распространяется на пиломатериалы и заготовки лиственных пород и устанавливает правила их атмосферной сушки и хранения.
Стандарт не распространяется на атмосферную сушку авиационных пиломатериалов и заготовок лиственных пород
Взамен: ГОСТ 7319-74
Список изменений: №1 от 01.01.1985 (рег. 28.09.1984) «Срок действия продлен»
№2 от 01.01.1986 (рег. 26.03.1985) «Срок действия продлен»
№3 от 01.07.1990 (рег. 22.12.1989) «Срок действия продлен»


ГОСТ 7319-80
ГОСТ 7319-80
ГОСТ 7319-80
ГОСТ 7319-80
ГОСТ 7319-80
ГОСТ 7319-80
ГОСТ 7319-80
ГОСТ 7319-80
ГОСТ 7319-80
ГОСТ 7319-80
ГОСТ 7319-80
ГОСТ 7319-80
ГОСТ 7319-80
ГОСТ 7319-80
Автор: 
Домашняя страница автора: 

ГОСТ 6227-80

E-mail автора: 

Метчики для конической резьбы. Технические условия

Обозначение: ГОСТ 6227-80
Статус: действующий
Название рус.: Метчики для конической резьбы. Технические условия
Название англ.: Taps for taper thread. Specifications
Дата актуализации текста: 19.06.2012
Дата актуализации описания: 19.06.2012
Дата введения в действие: 01.07.1981
Область и условия применения: Настоящий стандарт распространяется на метчики, предназначенные для нарезания конической дюймовой резьбы с углом профиля 60 град. С по ГОСТ 6111 и трубной конической резьбы по ГОСТ 6211 на сверлильных станках, автоматах и агрегатных станках с применением специальных патронов для нарезания конической резьбы в резьбовых соединениях трубопроводов машин и станков, изготовляемые для нужд народного хозяйства и для экспорта
Взамен: ГОСТ 6227-71 ГОСТ 5.2317-77
Список изменений: №1 от 01.04.1987 (рег. 20.12.1986) «Срок действия продлен»
№2 от 01.05.1991 (рег. 24.10.1990) «Срок действия продлен»


ГОСТ 6227-80
ГОСТ 6227-80
ГОСТ 6227-80
ГОСТ 6227-80
ГОСТ 6227-80
ГОСТ 6227-80
ГОСТ 6227-80
ГОСТ 6227-80
ГОСТ 6227-80
ГОСТ 6227-80
ГОСТ 6227-80
Автор: 
Домашняя страница автора: 

ГОСТ 9650-80

E-mail автора: 

Оси. Технические условия

Обозначение: ГОСТ 9650-80
Статус: действующий
Название рус.: Оси. Технические условия
Название англ.: Pins. Specifications
Дата актуализации текста: 19.06.2012
Дата актуализации описания: 19.06.2012
Дата введения в действие: 01.01.1982
Область и условия применения: Настоящий стандарт распространяется на оси с наружным диаметром от 3 до 100 мм с отношением длины к диаметру не более 15
Взамен: ГОСТ 9650-71
Список изменений: №0 от 01.06.2006 (рег. 01.06.2006) «Дата введения перенесена»
№1 от 01.01.1984 (рег. 30.06.1983) «Срок действия продлен»
№2 от 01.01.1989 (рег. 11.05.1988) «Срок действия продлен»
Приложение №1: Поправка к ГОСТ 9650-80


ГОСТ 9650-80
ГОСТ 9650-80
ГОСТ 9650-80
ГОСТ 9650-80
ГОСТ 9650-80
ГОСТ 9650-80
ГОСТ 9650-80
ГОСТ 9650-80
ГОСТ 9650-80
ГОСТ 9650-80
ГОСТ 9650-80
ГОСТ 9650-80
ГОСТ 9650-80
ГОСТ 9650-80
ГОСТ 9650-80
ГОСТ 9650-80
ГОСТ 9650-80
ГОСТ 9650-80
ГОСТ 9650-80
ГОСТ 9650-80
ГОСТ 9650-80
ГОСТ 9650-80
ГОСТ 9650-80
ГОСТ 9650-80
ГОСТ 9650-80
ГОСТ 9650-80
ГОСТ 9650-80
ГОСТ 9650-80
ГОСТ 9650-80


Поправка к ГОСТ 9650-80

Обозначение: Поправка к ГОСТ 9650-80
Дата введения в действие: 01.06.2006
Дата актуализации: 15.01.2008


Поправка к ГОСТ 9650-80
Автор: 
Домашняя страница автора: 

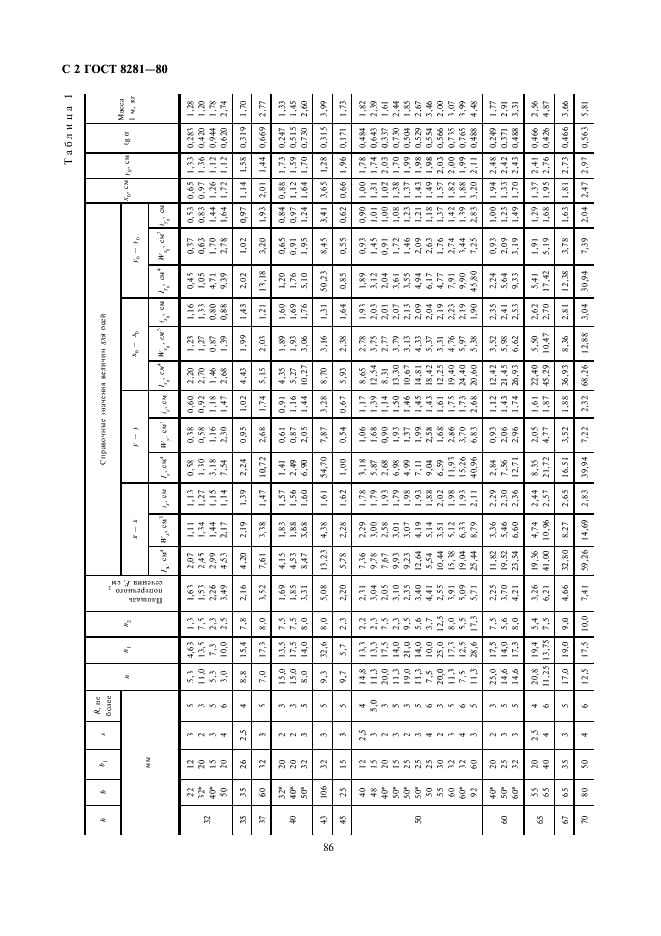
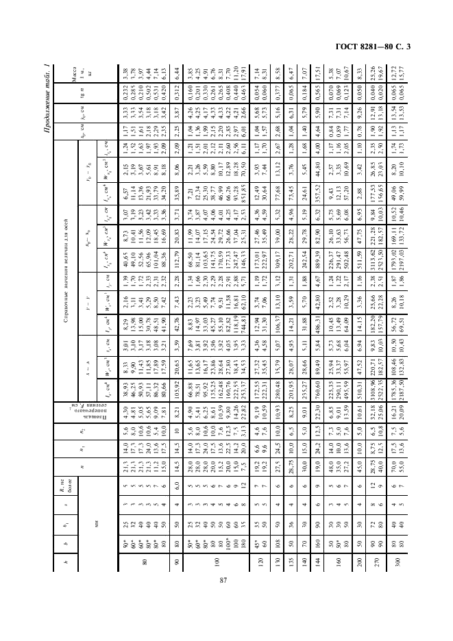
ГОСТ 8281-80

E-mail автора: 

Швеллеры стальные гнутые неравнополочные. Сортамент

Обозначение: ГОСТ 8281-80
Статус: действующий
Название рус.: Швеллеры стальные гнутые неравнополочные. Сортамент
Название англ.: Roll-formed steel unequal channels Dimensions
Дата актуализации текста: 19.06.2012
Дата актуализации описания: 19.06.2012
Дата введения в действие: 01.01.1981
Область и условия применения: Настоящий стандарт распространяется на стальные гнутые неравнополочные швеллеры, изготовляемые на профилегибочных станах из горячекатаной рулонной углеродистой обыкновенного качества, углеродистой качественной конструкционной и низколегированной стали
Взамен: ГОСТ 8281-69
Список изменений: №1 от 01.01.1986 (рег. 29.07.1985) «Срок действия продлен»
№2 от 01.07.1988 (рег. 27.10.1987) «Срок действия продлен»


ГОСТ 8281-80
ГОСТ 8281-80
ГОСТ 8281-80
ГОСТ 8281-80
ГОСТ 8281-80
ГОСТ 8281-80
ГОСТ 8281-80
Автор: 
Домашняя страница автора: 

Страницы