Наша группа Вконтакте vk.com/4ertimcom

ГОСТ 6001-10000

ГОСТ 8726-88

E-mail автора: 

Трубки электротехнические бумажно-бакелитовые. Технические условия

Обозначение: ГОСТ 8726-88
Статус: действующий
Название рус.: Трубки электротехнические бумажно-бакелитовые. Технические условия
Название англ.: Electrotechnical paper-bakelite tubes. Specifications
Дата актуализации текста: 19.06.2012
Дата актуализации описания: 19.06.2012
Дата введения в действие: 01.01.1989
Область и условия применения: Настоящий стандарт распространяется на электротехнические бумажно-бакелитовые трубки, изготовляемые для нужд народного хозяйства и для экспорта. Трубки применяются в качестве электроизоляционного материала для работы в трансформаторном масле и на воздухе при относительной влажности 45-75%, температуре 15-35 град. С и частоте тока 50 Гц. Длительно допустимая рабочая температура от минус 60 до плюс 120 град. С
Взамен: ГОСТ 8726-80


ГОСТ 8726-88
ГОСТ 8726-88
ГОСТ 8726-88
ГОСТ 8726-88
ГОСТ 8726-88
ГОСТ 8726-88
ГОСТ 8726-88
ГОСТ 8726-88
ГОСТ 8726-88
ГОСТ 8726-88
ГОСТ 8726-88
Автор: 
Домашняя страница автора: 

ГОСТ 7639-88

E-mail автора: 

Прессы однокривошипные двойного действия закрытые. Основные параметры и размеры. Нормы точности

Обозначение: ГОСТ 7639-88
Статус: действующий
Название рус.: Прессы однокривошипные двойного действия закрытые. Основные параметры и размеры. Нормы точности
Название англ.: Straight side double action one point presses. Basic parameters and dimensions. Norms of accuracy
Дата актуализации текста: 19.06.2012
Дата актуализации описания: 19.06.2012
Дата введения в действие: 01.07.1989
Область и условия применения: Настоящий стандарт распространяется на однокривошипные закрытые прессы двойного действия для глубокой вытяжки листового металла, изготовляемые для нужд народного хозяйства и экспорта
Взамен: ГОСТ 7639-75 ГОСТ 17288-71
Список изменений: №1 от 01.01.1990 (рег. 15.05.1989) «Срок действия продлен»


ГОСТ 7639-88
ГОСТ 7639-88
ГОСТ 7639-88
ГОСТ 7639-88
ГОСТ 7639-88
ГОСТ 7639-88
ГОСТ 7639-88
ГОСТ 7639-88
Автор: 
Домашняя страница автора: 

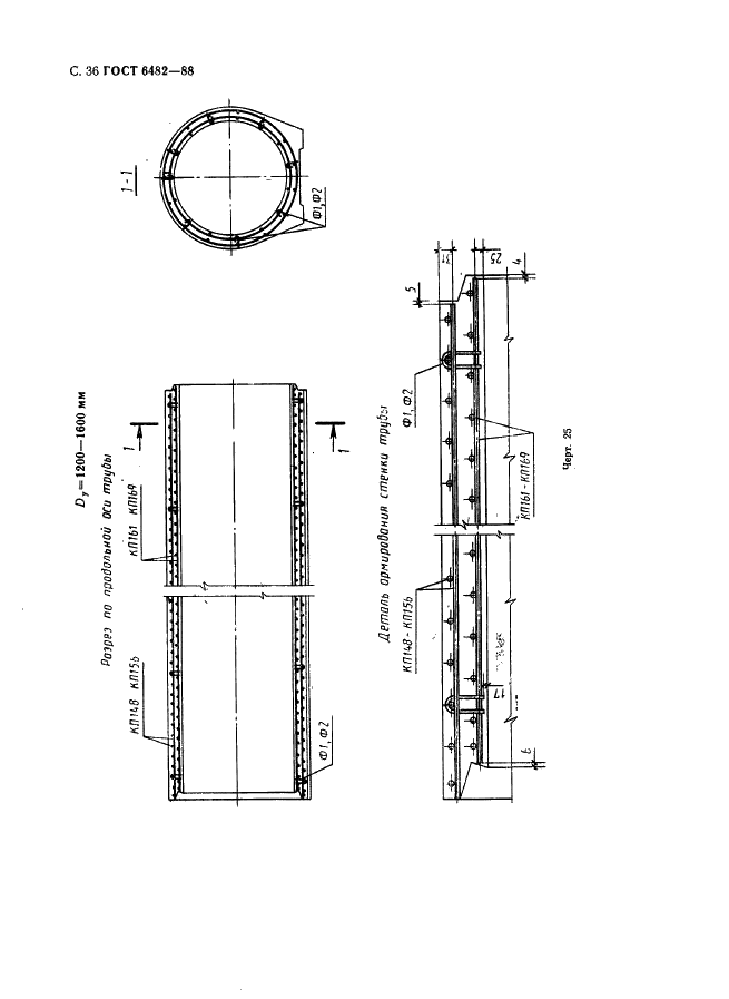
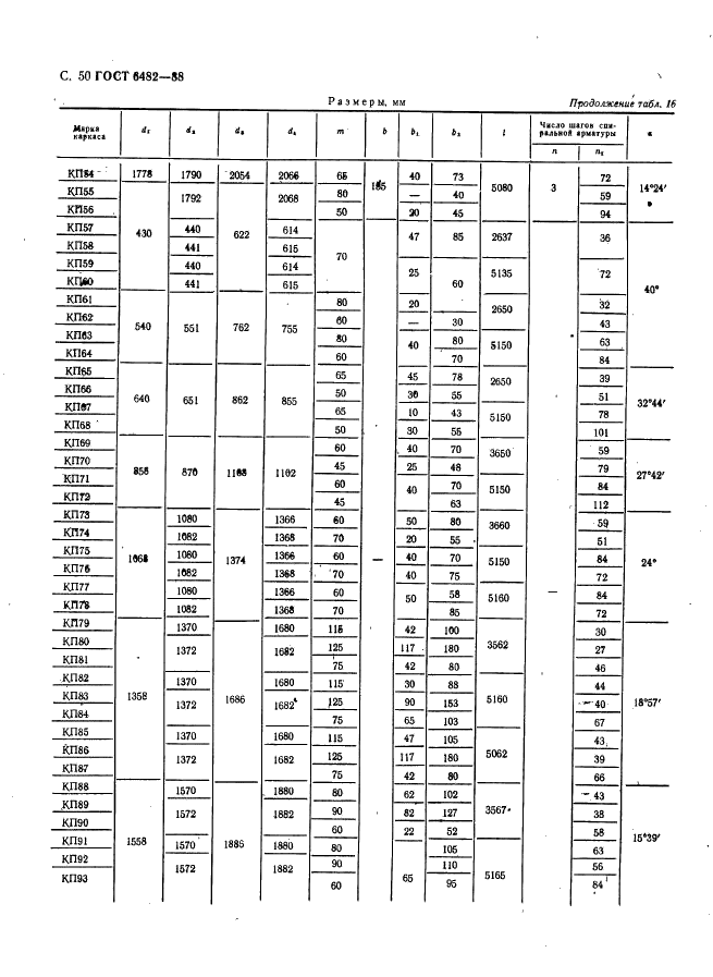
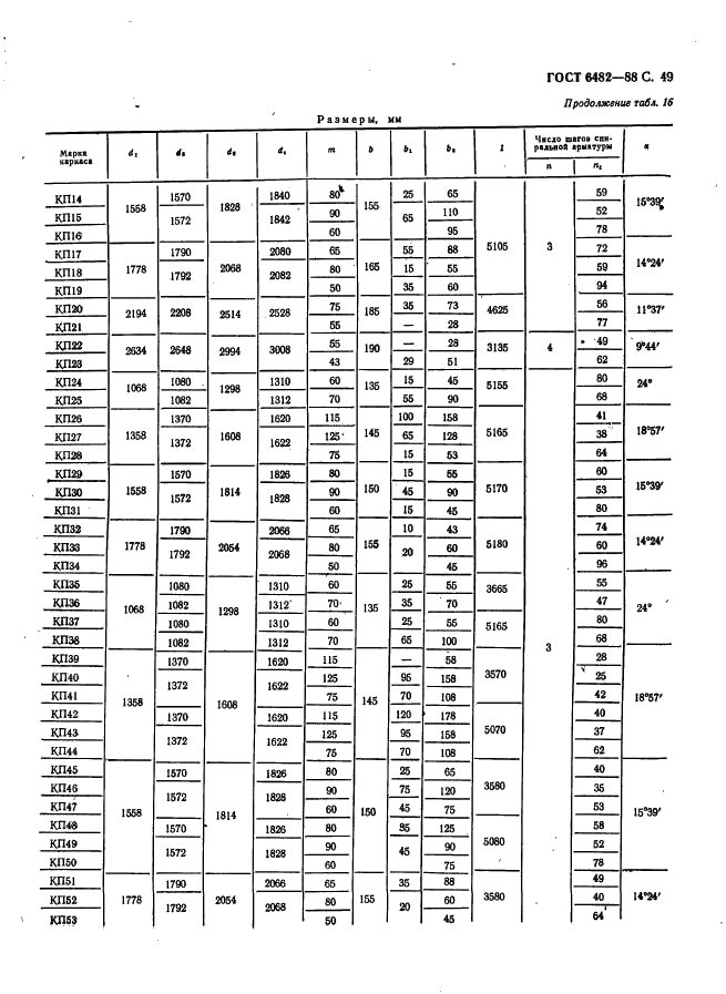
ГОСТ 6482-88

E-mail автора: 

Трубы железобетонные безнапорные. Технические условия

Обозначение: ГОСТ 6482-88
Статус: действующий
Название рус.: Трубы железобетонные безнапорные. Технические условия
Название англ.: Reinforced concrete non-pressure pipes. Specifications
Дата актуализации текста: 19.06.2012
Дата актуализации описания: 19.06.2012
Дата введения в действие: 01.01.1990
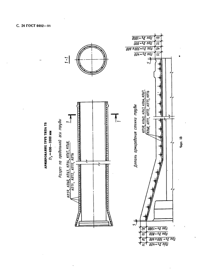
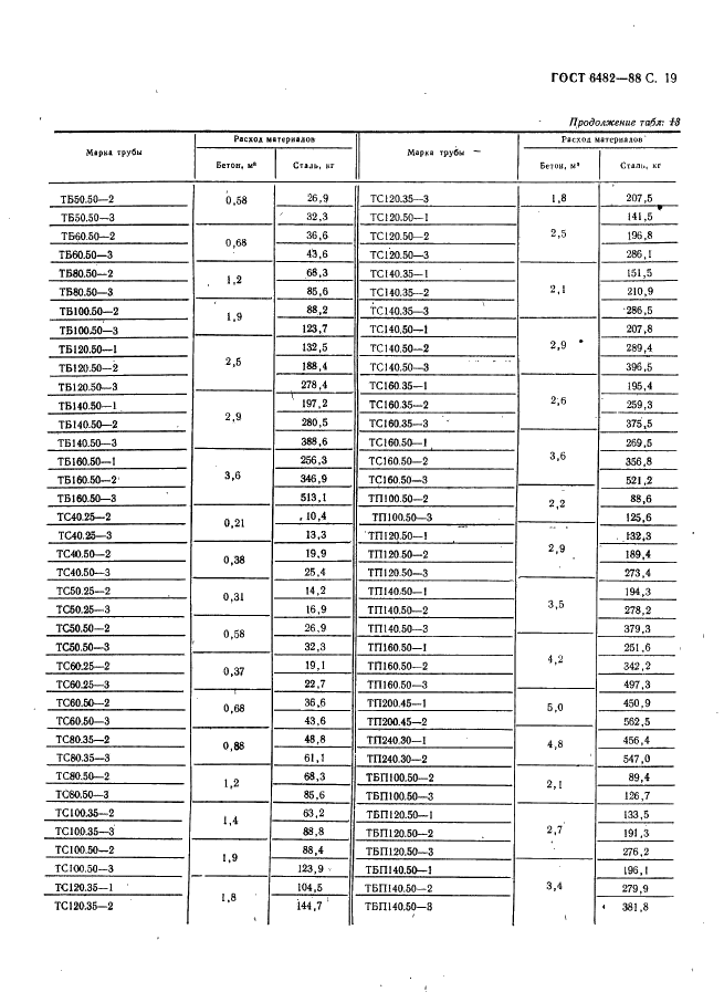
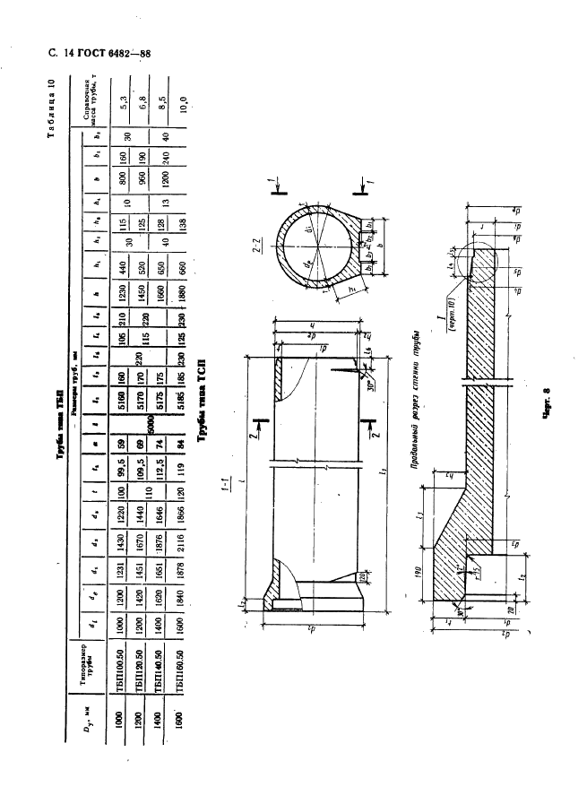
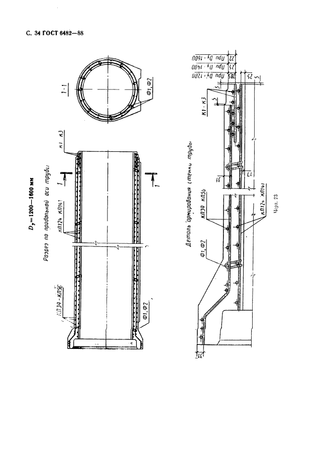
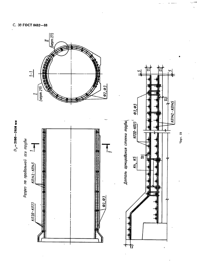
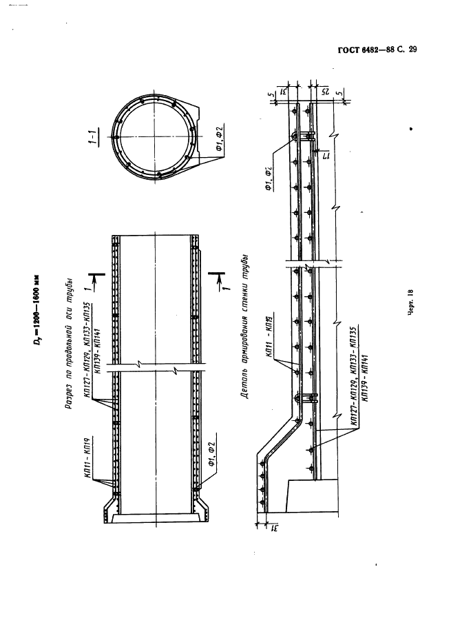
Область и условия применения: Настоящий стандарт распространяется на железобетонные безнапорные раструбные и фальцевые трубы с круглым отверстием, изготовляемые из тяжелого бетона и предназначенные для прокладки подземных трубопроводов, транспортирующих самотеком бытовые жидкости и атмосферные сточные воды, а также подземные воды и производственные жидкости, не агрессивные к железобетону и уплотняющим резиновым кольцам.
Стандарт не распространяется на железобетонные водопропускные трубы, укладываемые под насыпями железных и автомобильных дорог
Взамен: ГОСТ 6482.0-79 ГОСТ 6482.1-79


ГОСТ 6482-88
ГОСТ 6482-88
ГОСТ 6482-88
ГОСТ 6482-88
ГОСТ 6482-88
ГОСТ 6482-88
ГОСТ 6482-88
ГОСТ 6482-88
ГОСТ 6482-88
ГОСТ 6482-88
ГОСТ 6482-88
ГОСТ 6482-88
ГОСТ 6482-88
ГОСТ 6482-88
ГОСТ 6482-88
ГОСТ 6482-88
ГОСТ 6482-88
ГОСТ 6482-88
ГОСТ 6482-88
ГОСТ 6482-88
ГОСТ 6482-88
ГОСТ 6482-88
ГОСТ 6482-88
ГОСТ 6482-88
ГОСТ 6482-88
ГОСТ 6482-88
ГОСТ 6482-88
ГОСТ 6482-88
ГОСТ 6482-88
ГОСТ 6482-88
ГОСТ 6482-88
ГОСТ 6482-88
ГОСТ 6482-88
ГОСТ 6482-88
ГОСТ 6482-88
ГОСТ 6482-88
ГОСТ 6482-88
ГОСТ 6482-88
ГОСТ 6482-88
ГОСТ 6482-88
ГОСТ 6482-88
ГОСТ 6482-88
ГОСТ 6482-88
ГОСТ 6482-88
ГОСТ 6482-88
ГОСТ 6482-88
ГОСТ 6482-88
ГОСТ 6482-88
ГОСТ 6482-88
ГОСТ 6482-88
ГОСТ 6482-88
ГОСТ 6482-88
ГОСТ 6482-88
ГОСТ 6482-88
ГОСТ 6482-88
ГОСТ 6482-88
ГОСТ 6482-88
ГОСТ 6482-88
ГОСТ 6482-88
ГОСТ 6482-88
ГОСТ 6482-88
ГОСТ 6482-88
ГОСТ 6482-88
ГОСТ 6482-88
ГОСТ 6482-88
ГОСТ 6482-88
ГОСТ 6482-88
ГОСТ 6482-88
ГОСТ 6482-88
ГОСТ 6482-88
ГОСТ 6482-88
ГОСТ 6482-88
ГОСТ 6482-88
ГОСТ 6482-88
ГОСТ 6482-88
ГОСТ 6482-88
ГОСТ 6482-88
ГОСТ 6482-88
ГОСТ 6482-88
ГОСТ 6482-88
Автор: 
Домашняя страница автора: 

ГОСТ 9875-88

E-mail автора: 

Диэтиламин технический. Технические условия

Обозначение: ГОСТ 9875-88
Статус: действующий
Название рус.: Диэтиламин технический. Технические условия
Название англ.: Technical diethylamine. Specifications
Дата актуализации текста: 19.06.2012
Дата актуализации описания: 19.06.2012
Дата введения в действие: 01.07.1989
Область и условия применения: Настоящий стандарт распространяется на технический диэтиламин, получаемый в процессе этилирования аммиака этиловым спиртом и другими этилирующими агентами
Взамен: ГОСТ 9875-73


ГОСТ 9875-88
ГОСТ 9875-88
ГОСТ 9875-88
ГОСТ 9875-88
ГОСТ 9875-88
ГОСТ 9875-88
ГОСТ 9875-88
ГОСТ 9875-88
Автор: 
Домашняя страница автора: 

ГОСТ 6282-88

E-mail автора: 

Ножницы листовые кривошипные с наклонным ножом. Параметры и размеры. Нормы точности

Обозначение: ГОСТ 6282-88
Статус: действующий
Название рус.: Ножницы листовые кривошипные с наклонным ножом. Параметры и размеры. Нормы точности
Название англ.: Plate crank shears with inclined blade. Parameters and dimensions. Norms of accuracy
Дата актуализации текста: 19.06.2012
Дата актуализации описания: 19.06.2012
Дата введения в действие: 01.07.1990
Область и условия применения: Настоящий стандарт распространяется на листовые кривошипные ножницы с наклонным ножом, предназначенные для резки листового металла, в том числе используемые в составе автоматизированных комплексов и автоматических линий и изготовляемые для нужд народного хозяйства и экспорта
Взамен: ГОСТ 6282-76 ГОСТ 6766-73
Список изменений: №1 от 01.01.1991 (рег. 05.07.1990) «Срок действия продлен»
№2 от 01.01.1995 (рег. 17.10.1994) «Срок действия продлен»


ГОСТ 6282-88
ГОСТ 6282-88
ГОСТ 6282-88
ГОСТ 6282-88
ГОСТ 6282-88
ГОСТ 6282-88
ГОСТ 6282-88
ГОСТ 6282-88
ГОСТ 6282-88
ГОСТ 6282-88
Автор: 
Домашняя страница автора: 

ГОСТ 6755-88

E-mail автора: 

Поглотитель химический известковый ХП-И. Технические условия

Обозначение: ГОСТ 6755-88
Статус: действующий
Название рус.: Поглотитель химический известковый ХП-И. Технические условия
Название англ.: Chemical lime absorbent ХП-И. Specifications
Дата актуализации текста: 19.06.2012
Дата актуализации описания: 19.06.2012
Дата введения в действие: 01.01.1989
Область и условия применения: Настоящий стандарт распространяется на химический известковый поглотитель ХП-И (поглотитель ХП-И), предназначенный для снаряжения средств химической защиты от двуокиси углерода и изготовляемый для нужд народного хозяйства и для экспорта
Взамен: ГОСТ 6755-73


ГОСТ 6755-88
ГОСТ 6755-88
ГОСТ 6755-88
ГОСТ 6755-88
ГОСТ 6755-88
ГОСТ 6755-88
ГОСТ 6755-88
ГОСТ 6755-88
ГОСТ 6755-88
ГОСТ 6755-88
ГОСТ 6755-88
ГОСТ 6755-88
ГОСТ 6755-88
ГОСТ 6755-88
ГОСТ 6755-88
ГОСТ 6755-88
ГОСТ 6755-88
ГОСТ 6755-88
ГОСТ 6755-88
ГОСТ 6755-88
ГОСТ 6755-88
ГОСТ 6755-88
ГОСТ 6755-88
ГОСТ 6755-88
ГОСТ 6755-88
Автор: 
Домашняя страница автора: 

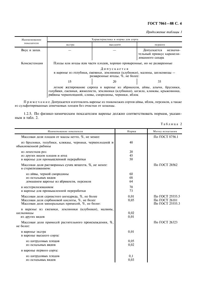
ГОСТ 7061-88

E-mail автора: 

Варенье. Общие технические условия

Обозначение: ГОСТ 7061-88
Статус: утратил силу в РФ
Название рус.: Варенье. Общие технические условия
Название англ.: Preserves. General specifications
Дата актуализации текста: 19.06.2012
Дата актуализации описания: 19.06.2012
Дата введения в действие: 01.07.1989
Область и условия применения: Настоящий стандарт распространяется на варенье из подготовленных соответствующим образом плодов, ягод, грецких орехов, дыни или лепестков роз, сваренных в сахарном или сахарно-паточном сиропе с добавлением или без добавления пищевых кислот и пряностей и устанавливает требования к продукции, изготовляемой для нужд народного хозяйства и экспорта
Взамен: ГОСТ 7061-70
Список изменений: №0 от 01.01.2010 (рег. 18.12.2008) «Поправка к изменению»
№1 от 01.01.1991 (рег. 15.06.1990) «Срок действия продлен»
№2 от 01.07.1992 (рег. 23.12.1991) «Срок действия продлен»
№3 от 01.01.1998 (рег. 10.06.1997) «Срок действия продлен»


ГОСТ 7061-88
ГОСТ 7061-88
ГОСТ 7061-88
ГОСТ 7061-88
ГОСТ 7061-88
ГОСТ 7061-88
ГОСТ 7061-88
ГОСТ 7061-88
ГОСТ 7061-88
ГОСТ 7061-88
ГОСТ 7061-88
ГОСТ 7061-88
Автор: 
Домашняя страница автора: 

ГОСТ 7717-88

E-mail автора: 

Бумага диаграммная. Технические условия

Обозначение: ГОСТ 7717-88
Статус: действующий
Название рус.: Бумага диаграммная. Технические условия
Название англ.: Chart base paper. Specifications
Дата актуализации текста: 19.06.2012
Дата актуализации описания: 19.06.2012
Дата введения в действие: 01.01.1990
Область и условия применения: Настоящий стандарт распространяется на бумагу, предназначенную для изготовления диаграммных лент и дисков, используемых в регистрирующих приборах и устройствах ввода, вывода и подготовки данных ЭВМ для нанесения технической информации чернилами, пастой или тушью
Взамен: ГОСТ 7717-75


ГОСТ 7717-88
ГОСТ 7717-88
ГОСТ 7717-88
ГОСТ 7717-88
ГОСТ 7717-88
ГОСТ 7717-88
ГОСТ 7717-88
ГОСТ 7717-88
ГОСТ 7717-88
ГОСТ 7717-88
ГОСТ 7717-88
Автор: 
Домашняя страница автора: 

ГОСТ 6882-88

E-mail автора: 

Виноград сушеный. Технические условия

Обозначение: ГОСТ 6882-88
Статус: действующий
Название рус.: Виноград сушеный. Технические условия
Название англ.: Dried grapes. Specifications
Дата актуализации текста: 19.06.2012
Дата актуализации описания: 19.06.2012
Дата введения в действие: 01.01.1989
Область и условия применения: Настоящий стандарт распространяется на сушенный виноград без заводской обработки (полуфабрикат), заготовляемый для выработки сушеного винограда (готового продукта) и на сушеный виноград после заводской обработки ( готовый продукт), предназначенный для торговли и общественного питания
Взамен: ГОСТ 6882-69 ГОСТ 6883-69


ГОСТ 6882-88
ГОСТ 6882-88
ГОСТ 6882-88
ГОСТ 6882-88
ГОСТ 6882-88
ГОСТ 6882-88
ГОСТ 6882-88
Автор: 
Домашняя страница автора: 

ГОСТ 6283-88

E-mail автора: 

Автоматы кузнечно-прессовые. Ряды главных параметров

Обозначение: ГОСТ 6283-88
Статус: действующий
Название рус.: Автоматы кузнечно-прессовые. Ряды главных параметров
Название англ.: Metal forming machines. Series of main parameters
Дата актуализации текста: 19.06.2012
Дата актуализации описания: 19.06.2012
Дата введения в действие: 01.01.1989
Область и условия применения: Настоящий стандарт распространяется на ряды главных параметров кузнечно-прессовых автоматов
Взамен: ГОСТ 6283-85 ГОСТ 25908-83
Список изменений: №1 от 01.01.1991 (рег. 05.12.1989) «Срок действия продлен»


ГОСТ 6283-88
ГОСТ 6283-88
ГОСТ 6283-88
ГОСТ 6283-88
Автор: 
Домашняя страница автора: 

Страницы