Наша группа Вконтакте vk.com/4ertimcom

ГОСТ 6001-10000

ГОСТ 9433-80

E-mail автора: 

Смазка ЦИАТИМ-221. Технические условия

Обозначение: ГОСТ 9433-80
Статус: действующий
Название рус.: Смазка ЦИАТИМ-221. Технические условия
Название англ.: Grease ЦИАТИМ-221. Specifications
Дата актуализации текста: 19.06.2012
Дата актуализации описания: 19.06.2012
Дата введения в действие: 01.01.1982
Область и условия применения: Настоящий стандарт распространяется на пластичную смазку, предназначенную для смазывания узлов трения и сопряженных поверхностей “металл-металл“и “металл-резина“, работающих при температуре от минус 60 до плюс 150 град. С
Взамен: ГОСТ 9433-60
Список изменений: №1 от 01.01.1983 (рег. 12.08.1982) «Срок действия продлен»
№2 от 01.09.1986 (рег. 02.04.1986) «Срок действия продлен»
№3 от 01.10.1991 (рег. 17.04.1991) «Срок действия продлен»


ГОСТ 9433-80
ГОСТ 9433-80
ГОСТ 9433-80
Автор: 
Домашняя страница автора: 

ГОСТ 8756.22-80

E-mail автора: 

Продукты переработки плодов и овощей. Метод определения каротина

Обозначение: ГОСТ 8756.22-80
Статус: действующий
Название рус.: Продукты переработки плодов и овощей. Метод определения каротина
Название англ.: Fruit and vegetable products. Method for determination of carotene
Дата актуализации текста: 19.06.2012
Дата актуализации описания: 19.06.2012
Дата введения в действие: 01.01.1981
Область и условия применения: Настоящий стандарт распространяется на плодоовощные консервированные продукты и устанавливает метод определения каротина.
Метод основан на фотометрическом определении массовой концентрации каротина в растворе, полученном после экстрагирования каротина из продуктов органическим растворителем и очищенном от сопутствующих красящих веществ с помощью колоночной хроматографии. Нижний предел определения 0,1 мкг/см куб.
Список изменений: №1 от 01.01.1986 (рег. 17.07.1985) «Поправка»
№2 от 01.01.1991 (рег. 20.11.1989) «Срок действия продлен»


ГОСТ 8756.22-80
ГОСТ 8756.22-80
ГОСТ 8756.22-80
ГОСТ 8756.22-80
Автор: 
Домашняя страница автора: 

ГОСТ 6228-80

E-mail автора: 

Плашки круглые для конической резьбы. Технические условия

Обозначение: ГОСТ 6228-80
Статус: действующий
Название рус.: Плашки круглые для конической резьбы. Технические условия
Название англ.: Circular screwing dies taper thread. Specifications
Дата актуализации текста: 19.06.2012
Дата актуализации описания: 19.06.2012
Дата введения в действие: 01.07.1981
Область и условия применения: Настоящий стандарт распространяется на круглые плашки, предназначенные для нарезания конической дюймовой резьбы по ГОСТ 6111-52 и трубной конической резьбы по ГОСТ 6211-81, с использованием воротка или плашкодержателя при невращающейся плашке, изготовляемые для нужд народного хозяйства и для экспорта
Взамен: ГОСТ 6228-71 ГОСТ 5.2263-75
Список изменений: №1 от 01.04.1987 (рег. 20.12.1986) «Срок действия продлен»
№2 от 01.08.1988 (рег. 16.03.1988) «Срок действия продлен»
№3 от 01.06.1991 (рег. 21.11.1990) «Срок действия продлен»


ГОСТ 6228-80
ГОСТ 6228-80
ГОСТ 6228-80
ГОСТ 6228-80
ГОСТ 6228-80
ГОСТ 6228-80
ГОСТ 6228-80
ГОСТ 6228-80
ГОСТ 6228-80
ГОСТ 6228-80
ГОСТ 6228-80
ГОСТ 6228-80
ГОСТ 6228-80
ГОСТ 6228-80
ГОСТ 6228-80
ГОСТ 6228-80
ГОСТ 6228-80
ГОСТ 6228-80
ГОСТ 6228-80
ГОСТ 6228-80
ГОСТ 6228-80
Автор: 
Домашняя страница автора: 

ГОСТ 7075-80

E-mail автора: 

Краны мостовые ручные опорные. Технические условия

Обозначение: ГОСТ 7075-80
Статус: действующий
Название рус.: Краны мостовые ручные опорные. Технические условия
Название англ.: Hand-operated travelling cranes. Specifications
Дата актуализации текста: 19.06.2012
Дата актуализации описания: 19.06.2012
Дата введения в действие: 01.01.1981
Область и условия применения: Настоящий стандарт распространяется на мостовые ручные опорные краны с ручным приводом механизмов подъема и передвижения общего назначения (далее - краны) грузоподъемностью от 3,2 до 20 т
Взамен: ГОСТ 7075-72
Список изменений: №1 от 01.03.1983 (рег. 11.11.1982) «Срок действия продлен»
№2 от 01.11.1985 (рег. 16.05.1985) «Срок действия продлен»
№3 от 01.01.1989 (рег. 06.06.1988) «Срок действия продлен»
№4 от 01.11.1990 (рег. 24.05.1990) «Срок действия продлен»


ГОСТ 7075-80
ГОСТ 7075-80
ГОСТ 7075-80
ГОСТ 7075-80
ГОСТ 7075-80
ГОСТ 7075-80
ГОСТ 7075-80
ГОСТ 7075-80
ГОСТ 7075-80
ГОСТ 7075-80
ГОСТ 7075-80
Автор: 
Домашняя страница автора: 

ГОСТ 7681-80

E-mail автора: 

Канат двойной свивки многопрядный типа ЛК-О конструкции 18х7 (1+6)+1 о.с. Сортамент

Обозначение: ГОСТ 7681-80
Статус: действующий
Название рус.: Канат двойной свивки многопрядный типа ЛК-О конструкции 18х7 (1+6)+1 о.с. Сортамент
Название англ.: Two lay polystranded rope ЛК-О construction 18x7 (1+6)+1 o.с. Dimensions
Дата актуализации текста: 19.06.2012
Дата актуализации описания: 19.06.2012
Дата введения в действие: 01.01.1982
Область и условия применения: Настоящий стандарт распространяется на стальные канаты двойной свивки многорядные с линейным касанием проволок в прядях типа ЛК-О с одним органическим сердечником
Взамен: ГОСТ 7681-66
Список изменений: №1 от 01.04.1987 (рег. 21.11.1986) «Срок действия продлен»
№2 от 01.01.1993 (рег. 22.11.1991) «Срок действия продлен»


ГОСТ 7681-80
ГОСТ 7681-80
ГОСТ 7681-80
ГОСТ 7681-80
Автор: 
Домашняя страница автора: 

ГОСТ 9473-80

E-mail автора: 

Фрезы торцовые насадные мелкозубые со вставными ножами, оснащенными пластинами из твердого сплава. Конструкция и размеры

Обозначение: ГОСТ 9473-80
Статус: действующий
Название рус.: Фрезы торцовые насадные мелкозубые со вставными ножами, оснащенными пластинами из твердого сплава. Конструкция и размеры
Название англ.: Shell and mills with inserted carbide teeth (fine pitch). Construction and dimensions
Дата актуализации текста: 19.06.2012
Дата актуализации описания: 19.06.2012
Дата введения в действие: 01.01.1982
Область и условия применения: Настоящий стандарт распространяется на торцовые насадные фрезы, закрепляемые на фрезерных оправках или на концах шпинделей фрезерных станков
Взамен: ГОСТ 9473-71
Список изменений: №1 от 01.05.1982 (рег. 29.01.1982) «Срок действия продлен»


ГОСТ 9473-80
ГОСТ 9473-80
ГОСТ 9473-80
ГОСТ 9473-80
ГОСТ 9473-80
ГОСТ 9473-80
ГОСТ 9473-80
ГОСТ 9473-80
ГОСТ 9473-80
ГОСТ 9473-80
ГОСТ 9473-80
ГОСТ 9473-80
ГОСТ 9473-80
ГОСТ 9473-80
Автор: 
Домашняя страница автора: 

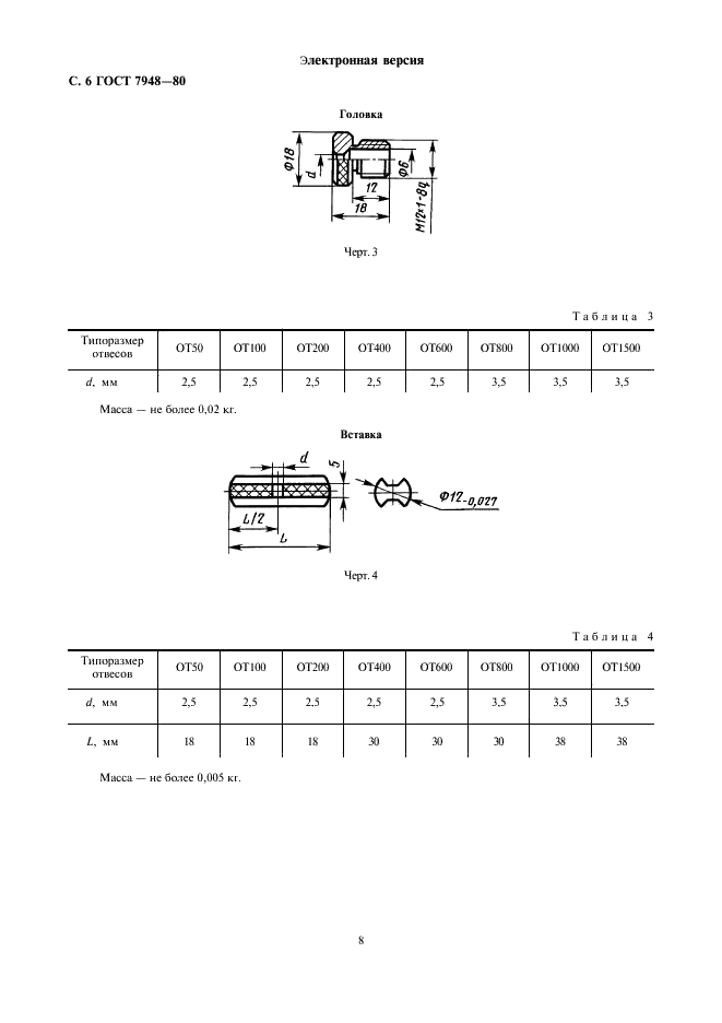
ГОСТ 7948-80

E-mail автора: 

Отвесы стальные строительные. Технические условия

Обозначение: ГОСТ 7948-80
Статус: действующий
Название рус.: Отвесы стальные строительные. Технические условия
Название англ.: Steel construction plumbs-lines. Specifications
Дата актуализации текста: 19.06.2012
Дата актуализации описания: 19.06.2012
Дата введения в действие: 01.01.1982
Область и условия применения: Настоящий стандарт распространяется на стальные отвесы, применяемые при производстве строительно-монтажных работ
Взамен: ГОСТ 7948-71


ГОСТ 7948-80
ГОСТ 7948-80
ГОСТ 7948-80
ГОСТ 7948-80
ГОСТ 7948-80
ГОСТ 7948-80
ГОСТ 7948-80
ГОСТ 7948-80
ГОСТ 7948-80
Автор: 
Домашняя страница автора: 

ГОСТ 9441-80

E-mail автора: 

Платки, шарфы и палантины чистошерстяные и полушерстяные. Общие технические условия

Обозначение: ГОСТ 9441-80
Статус: действующий
Название рус.: Платки, шарфы и палантины чистошерстяные и полушерстяные. Общие технические условия
Название англ.: Fine woolen (blended) woven kerchieves, scarves and palatines. General specifications
Дата актуализации текста: 19.06.2012
Дата актуализации описания: 19.06.2012
Дата введения в действие: 01.01.1982
Область и условия применения: Настоящий стандарт распространяется на готовые тканые изделия: платки и палантины гладкокрашеные, пестротканые и набивные, чистошерстяные и полушерстяные, камвольные и тонкосуконные.
Стандарт не распространяется на изделия текстильно-галантерейной отрасли, военного ассортимента и изделия художественных промыслов
Взамен: ГОСТ 9441-72 ГОСТ 5.1148-71 ГОСТ 5.1506-72
Список изменений: №1 от 01.03.1986 (рег. 26.09.1985) «Срок действия продлен»
№2 от 01.04.1990 (рег. 09.11.1989) «Срок действия продлен»
№3 от 01.07.1992 (рег. 28.12.1991) «Срок действия продлен»


ГОСТ 9441-80
ГОСТ 9441-80
ГОСТ 9441-80
ГОСТ 9441-80
ГОСТ 9441-80
ГОСТ 9441-80
ГОСТ 9441-80
ГОСТ 9441-80
ГОСТ 9441-80
ГОСТ 9441-80
ГОСТ 9441-80
Автор: 
Домашняя страница автора: 

ГОСТ 9549-80

E-mail автора: 

Нафтенат меди для противогнилостных составов. Технические условия

Обозначение: ГОСТ 9549-80
Статус: действующий
Название рус.: Нафтенат меди для противогнилостных составов. Технические условия
Название англ.: Copper naphthenate for preservative compounds. Specifications
Дата актуализации текста: 19.06.2012
Дата актуализации описания: 19.06.2012
Дата введения в действие: 01.01.1981
Область и условия применения: Настоящий стандарт распространяется на нафтенат меди, представляющий собой медную соль нафтеновых кислот с добавлением до 10 массовых частей парафина или петролатума.
Нафтенат меди предназначен в качестве антисептика в составах для пропитки оплетки проводов, кабельной пряжи, бумаги и других материалов
Взамен: ГОСТ 9549-60
Список изменений: №1 от 01.05.1986 (рег. 20.12.1985) «Срок действия продлен»
№2 от 01.08.1990 (рег. 20.02.1990) «Срок действия продлен»


ГОСТ 9549-80
ГОСТ 9549-80
ГОСТ 9549-80
ГОСТ 9549-80
ГОСТ 9549-80
ГОСТ 9549-80
Автор: 
Домашняя страница автора: 

ГОСТ 8874-80

E-mail автора: 

Бумага. Методы определения прозрачности и непрозрачности

Обозначение: ГОСТ 8874-80
Статус: действующий
Название рус.: Бумага. Методы определения прозрачности и непрозрачности
Название англ.: Paper. Methods of determination of transparent and opacity
Дата актуализации текста: 19.06.2012
Дата актуализации описания: 19.06.2012
Дата введения в действие: 01.01.1981
Область и условия применения: Настоящий стандарт распространяется на бумагу и устанавливает методы определения прозрачности и непрозрачности
Взамен: ГОСТ 8874-72
Список изменений: №1 от 01.10.1985 (рег. 13.05.1985) «Срок действия продлен»
№2 от 01.01.1991 (рег. 29.05.1990) «Поправка»


ГОСТ 8874-80
ГОСТ 8874-80
ГОСТ 8874-80
ГОСТ 8874-80
ГОСТ 8874-80
ГОСТ 8874-80
Автор: 
Домашняя страница автора: 

Страницы