Наша группа Вконтакте vk.com/4ertimcom

ГОСТ 6001-10000

ГОСТ Р ИСО 6312-93

E-mail автора: 

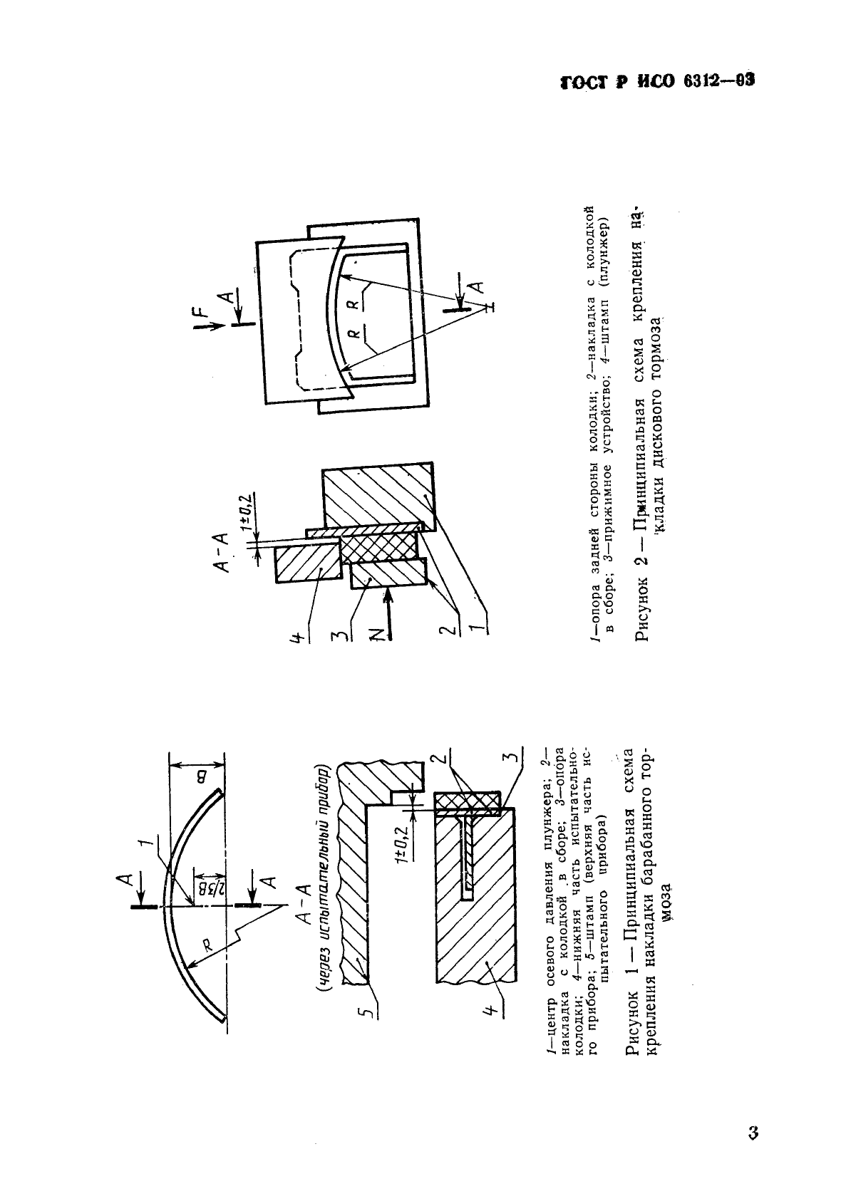
Транспорт дорожный. Накладка с колодкой в сборе дисковых и барабанных тормозов. Метод определения сопротивления сдвигу накладки относительно колодки

Обозначение: ГОСТ Р ИСО 6312-93
Статус: заменён
Название рус.: Транспорт дорожный. Накладка с колодкой в сборе дисковых и барабанных тормозов. Метод определения сопротивления сдвигу накладки относительно колодки
Название англ.: Road vehicles. Brake lilings. Shear strength of disc brake pag and drum brake shoe assemblies. Test procedure
Дата актуализации текста: 19.06.2012
Дата актуализации описания: 19.06.2012
Дата введения в действие: 01.01.1994
Область и условия применения: Настоящий стандарт устанавливает метод определения сопротивления сдвигу накладки относительно колодки и оценку адгезии между материалом тормозной накладки и металлической колодкой.
Стандарт распространяется на приформованные или приклеенные накладки с колодками в сборе дисковых и барабанных тормозов для автотранспортных средств
Заменяющий: ГОСТ Р ИСО 6312-2007


ГОСТ Р ИСО 6312-93
ГОСТ Р ИСО 6312-93
ГОСТ Р ИСО 6312-93
ГОСТ Р ИСО 6312-93
ГОСТ Р ИСО 6312-93
ГОСТ Р ИСО 6312-93
ГОСТ Р ИСО 6312-93
ГОСТ Р ИСО 6312-93
ГОСТ Р ИСО 6312-93
Автор: 
Домашняя страница автора: 

ГОСТ Р ИСО 9175-1-93

E-mail автора: 

Наконечники трубчатые для технических ручек, использующих тушь для работы на кальке. Определения, размеры, обозначение, маркировка

Обозначение: ГОСТ Р ИСО 9175-1-93
Статус: действующий
Название рус.: Наконечники трубчатые для технических ручек, использующих тушь для работы на кальке. Определения, размеры, обозначение, маркировка
Название англ.: Tubular tips for hand-held technical pens using india ink on tracing paper. Definitions, dimensions, designation and marking
Дата актуализации текста: 19.06.2012
Дата актуализации описания: 19.06.2012
Дата введения в действие: 01.07.1994
Область и условия применения: Настоящий стандарт распространяется на наконечники трубчатые для технических ручек, предназначенные для выполнения чертежных работ тушью на кальке с шаблонами или другими приспособлениями или без них, и устанавливает основные размеры наконечников


ГОСТ Р ИСО 9175-1-93
ГОСТ Р ИСО 9175-1-93
ГОСТ Р ИСО 9175-1-93
ГОСТ Р ИСО 9175-1-93
ГОСТ Р ИСО 9175-1-93
ГОСТ Р ИСО 9175-1-93
ГОСТ Р ИСО 9175-1-93
ГОСТ Р ИСО 9175-1-93
Автор: 
Домашняя страница автора: 

ГОСТ Р ИСО 6311-93

E-mail автора: 

Транспорт дорожный. Накладки тормозные. Метод определения сопротивления срезу материала накладк

Обозначение: ГОСТ Р ИСО 6311-93
Статус: действующий
Название рус.: Транспорт дорожный. Накладки тормозные. Метод определения сопротивления срезу материала накладк
Название англ.: Road vehicles. Brake linings. Internal shear strength of lining material. Test procedure
Дата актуализации текста: 19.06.2012
Дата актуализации описания: 19.06.2012
Дата введения в действие: 01.01.1994
Область и условия применения: Настоящий стандарт устанавливает метод определения сопротивления срезу материала тормозных накладок и распространяется на тормозные накладки дискового и барабанного тормозов автотранспортных средств


ГОСТ Р ИСО 6311-93
ГОСТ Р ИСО 6311-93
ГОСТ Р ИСО 6311-93
ГОСТ Р ИСО 6311-93
ГОСТ Р ИСО 6311-93
ГОСТ Р ИСО 6311-93
ГОСТ Р ИСО 6311-93
Автор: 
Домашняя страница автора: 

ГОСТ Р ИСО 6457-93

E-mail автора: 

Машины текстильные и оборудование вспомогательное. Прутки для плоских стальных галев с С-образными ушками. Размеры

Обозначение: ГОСТ Р ИСО 6457-93
Статус: действующий
Название рус.: Машины текстильные и оборудование вспомогательное. Прутки для плоских стальных галев с С-образными ушками. Размеры
Название англ.: Textile machinery and accessories. Heald carrying rod for "C" shaped end loap of flat steel healds. Dimensions
Дата актуализации текста: 19.06.2012
Дата актуализации описания: 19.06.2012
Дата введения в действие: 01.01.1994
Область и условия применения: Настоящий стандарт устанавливает размеры поперечного сечения прутков для плоских стальных галев с С-образными ушками и соответствующие размеры этих галев


ГОСТ Р ИСО 6457-93
ГОСТ Р ИСО 6457-93
ГОСТ Р ИСО 6457-93
ГОСТ Р ИСО 6457-93
Автор: 
Домашняя страница автора: 

ГОСТ Р ИСО 8170-93

E-mail автора: 

Стоматологические ручные инструменты. Ручные режущие инструменты для восстановительной стоматологии. Обозначение и маркировка размерных характеристик

Обозначение: ГОСТ Р ИСО 8170-93
Статус: действующий
Название рус.: Стоматологические ручные инструменты. Ручные режущие инструменты для восстановительной стоматологии. Обозначение и маркировка размерных характеристик
Название англ.: Dental hand instruments. Hand-held cutting instruments for restorative dentistry. Designation and marking of dimensional characteristics
Дата актуализации текста: 19.06.2012
Дата актуализации описания: 19.06.2012
Дата введения в действие: 01.01.1995
Область и условия применения: Настоящий стандарт устанавливает цифровую систему обозначения, маркировки и идентификации размерных характеристик ручных режущих инструментов для восстановительной стоматологии


ГОСТ Р ИСО 8170-93
ГОСТ Р ИСО 8170-93
ГОСТ Р ИСО 8170-93
ГОСТ Р ИСО 8170-93
ГОСТ Р ИСО 8170-93
ГОСТ Р ИСО 8170-93
ГОСТ Р ИСО 8170-93
ГОСТ Р ИСО 8170-93
ГОСТ Р ИСО 8170-93
ГОСТ Р ИСО 8170-93
ГОСТ Р ИСО 8170-93
ГОСТ Р ИСО 8170-93
ГОСТ Р ИСО 8170-93
ГОСТ Р ИСО 8170-93
Автор: 
Домашняя страница автора: 

ГОСТ Р ИСО 8374-93

E-mail автора: 

Фотография. Определение условий неактиничного освещения по ИСО

Обозначение: ГОСТ Р ИСО 8374-93
Статус: действующий
Название рус.: Фотография. Определение условий неактиничного освещения по ИСО
Название англ.: Photography. Determination of ISO safelight conditions
Дата актуализации текста: 19.06.2012
Дата актуализации описания: 19.06.2012
Дата введения в действие: 01.07.1994
Область и условия применения: Настоящий стандарт устанавливает метод испытания для определения “условий неактиничного освещения по ИСО“для оперирования со светочувствительным материалом. Последние определяются как такие условия, которые обеспечивают менее половины максимальной неактиничной экспозиции, которая может быть сообщена светочувствительному материалу, не ухудшая качество результирующего изображения.
Метод оценки условий неактиничного освещения по ИСО распространяется на все сухие или мокрые фотопленки, фотопластинки и фотобумаги


ГОСТ Р ИСО 8374-93
ГОСТ Р ИСО 8374-93
ГОСТ Р ИСО 8374-93
ГОСТ Р ИСО 8374-93
ГОСТ Р ИСО 8374-93
ГОСТ Р ИСО 8374-93
ГОСТ Р ИСО 8374-93
ГОСТ Р ИСО 8374-93
ГОСТ Р ИСО 8374-93
ГОСТ Р ИСО 8374-93
ГОСТ Р ИСО 8374-93
ГОСТ Р ИСО 8374-93
Автор: 
Домашняя страница автора: 

ГОСТ Р ИСО 8747-93

E-mail автора: 

Штифты насеченные с потайной головкой. Технические условия

Обозначение: ГОСТ Р ИСО 8747-93
Статус: действующий
Название рус.: Штифты насеченные с потайной головкой. Технические условия
Название англ.: Pins grooved with countersunk head. Specifications
Дата актуализации текста: 19.06.2012
Дата актуализации описания: 19.06.2012
Дата введения в действие: 01.01.1995
Область и условия применения: Настоящий стандарт устанавливает технические условия на насеченные штифты с потайной головкой, имеющие три равномерно расположенные продольные насечки на наружной поверхности штифта, класса точности С, с номинальным диаметром d1 от 1,4 до 20 мм


ГОСТ Р ИСО 8747-93
ГОСТ Р ИСО 8747-93
ГОСТ Р ИСО 8747-93
ГОСТ Р ИСО 8747-93
ГОСТ Р ИСО 8747-93
ГОСТ Р ИСО 8747-93
ГОСТ Р ИСО 8747-93
ГОСТ Р ИСО 8747-93
Автор: 
Домашняя страница автора: 

ГОСТ Р ИСО 6315-93

E-mail автора: 

Транспорт дорожный. Накладки тормозные. Метод определения прочности схватывания тормозной накладки с поверхностью металлического контртела в результате коррозии

Обозначение: ГОСТ Р ИСО 6315-93
Статус: действующий
Название рус.: Транспорт дорожный. Накладки тормозные. Метод определения прочности схватывания тормозной накладки с поверхностью металлического контртела в результате коррозии
Название англ.: Road vehicles. Brake linings. Seizure to ferrous mating surface due to corrosions. Test procedure
Дата актуализации текста: 19.06.2012
Дата актуализации описания: 19.06.2012
Дата введения в действие: 01.01.1994
Область и условия применения: Настоящий стандарт распространяется на тормозные накладки барабанных и дисковых тормозов автотранспортных средств и устанавливает метод определения прочности схватывания накладки с тормозным барабаном или диском в результате коррозии при моделировании условий, вызывающих коррозию.
Сущность метода заключается в определении силы, необходимой для разрушения соединения, возникшего вследствие схватывания накладки (образца) с тормозным барабаном или диском в результате коррозии во влажной среде


ГОСТ Р ИСО 6315-93
ГОСТ Р ИСО 6315-93
ГОСТ Р ИСО 6315-93
ГОСТ Р ИСО 6315-93
ГОСТ Р ИСО 6315-93
ГОСТ Р ИСО 6315-93
ГОСТ Р ИСО 6315-93
ГОСТ Р ИСО 6315-93
ГОСТ Р ИСО 6315-93
ГОСТ Р ИСО 6315-93
ГОСТ Р ИСО 6315-93
ГОСТ Р ИСО 6315-93
ГОСТ Р ИСО 6315-93
ГОСТ Р ИСО 6315-93
Автор: 
Домашняя страница автора: 

ГОСТ Р ИСО 9543-93

E-mail автора: 

Системы обработки информации. Обмен информацией между системами. Качество сигналов на стыках ООД/АКД при синхронной передаче данных

Обозначение: ГОСТ Р ИСО 9543-93
Статус: действующий
Название рус.: Системы обработки информации. Обмен информацией между системами. Качество сигналов на стыках ООД/АКД при синхронной передаче данных
Название англ.: Information processing systems. Information exchange between systems. Synchronous transmission signal quality at DTE/DCE interfaces
Дата актуализации текста: 19.06.2012
Дата актуализации описания: 19.06.2012
Дата введения в действие: 01.07.1994
Область и условия применения: Настоящий стандарт определяет требования к качеству сигналов при последовательной передаче данных на стыке между синхронным оконечным оборудованием данных (ООД) и аппаратурой окончания канала данных (АКД). Требования к качеству сигналов относятся только к синхронной передаче на стыке с синхронными АКД. Для асинхронных ООД качество сигналов не рассматривают в настоящем стандарте.
Настоящий стандарт признает необходимость наличия различных категорий параметров качества сигналов в зависимости от типа цепей стыка, используемых на этом стыке для синхронизации элементов сигнала. Рассматривают два класса синхронизации: сонаправленную и контрнаправленную


ГОСТ Р ИСО 9543-93
ГОСТ Р ИСО 9543-93
ГОСТ Р ИСО 9543-93
ГОСТ Р ИСО 9543-93
ГОСТ Р ИСО 9543-93
ГОСТ Р ИСО 9543-93
ГОСТ Р ИСО 9543-93
ГОСТ Р ИСО 9543-93
ГОСТ Р ИСО 9543-93
ГОСТ Р ИСО 9543-93
ГОСТ Р ИСО 9543-93
ГОСТ Р ИСО 9543-93
ГОСТ Р ИСО 9543-93
ГОСТ Р ИСО 9543-93
ГОСТ Р ИСО 9543-93
ГОСТ Р ИСО 9543-93
ГОСТ Р ИСО 9543-93
ГОСТ Р ИСО 9543-93
ГОСТ Р ИСО 9543-93
ГОСТ Р ИСО 9543-93
ГОСТ Р ИСО 9543-93
ГОСТ Р ИСО 9543-93
ГОСТ Р ИСО 9543-93
Автор: 
Домашняя страница автора: 

ГОСТ Р ИСО 9176-93

E-mail автора: 

Ручки трубчатые технические. Адаптeры для циркулей

Обозначение: ГОСТ Р ИСО 9176-93
Статус: действующий
Название рус.: Ручки трубчатые технические. Адаптeры для циркулей
Название англ.: Tubular technical pens. Adapters for compasses
Дата актуализации текста: 19.06.2012
Дата актуализации описания: 19.06.2012
Дата введения в действие: 01.07.1994
Область и условия применения: Настоящий стандарт распространяется на адапторы для циркулей, предназначенные для крепления технических ручек, и устанавливает основные размеры адапторов, номинальный профиль, размеры его элементов, допуски диаметров резьбового соединения держателя и технической ручки


ГОСТ Р ИСО 9176-93
ГОСТ Р ИСО 9176-93
ГОСТ Р ИСО 9176-93
ГОСТ Р ИСО 9176-93
ГОСТ Р ИСО 9176-93
ГОСТ Р ИСО 9176-93
ГОСТ Р ИСО 9176-93
ГОСТ Р ИСО 9176-93
Автор: 
Домашняя страница автора: 

Страницы