Наша группа Вконтакте vk.com/4ertimcom

ГОСТ 6001-10000

ГОСТ 9043-93

E-mail автора: 

Электромашинки для стрижки волос. Общие технические условия

Обозначение: ГОСТ 9043-93
Статус: действующий
Название рус.: Электромашинки для стрижки волос. Общие технические условия
Название англ.: Electric appliances for hair-cutting. General specifications
Дата актуализации текста: 19.06.2012
Дата актуализации описания: 19.06.2012
Дата введения в действие: 01.01.1995
Область и условия применения: Настоящий стандарт распространяется на электромашинки для стрижки волос, изготовляемые для нужд народного хозяйства иэкспорта, применяемые в бытовых условиях и на предприятиях бытового обслуживания.
Стандарт не распространяется на электромашинки для стрижки животных
Взамен: ГОСТ 9043-75


ГОСТ 9043-93
ГОСТ 9043-93
ГОСТ 9043-93
ГОСТ 9043-93
ГОСТ 9043-93
ГОСТ 9043-93
ГОСТ 9043-93
ГОСТ 9043-93
ГОСТ 9043-93
ГОСТ 9043-93
ГОСТ 9043-93
ГОСТ 9043-93
Автор: 
Домашняя страница автора: 

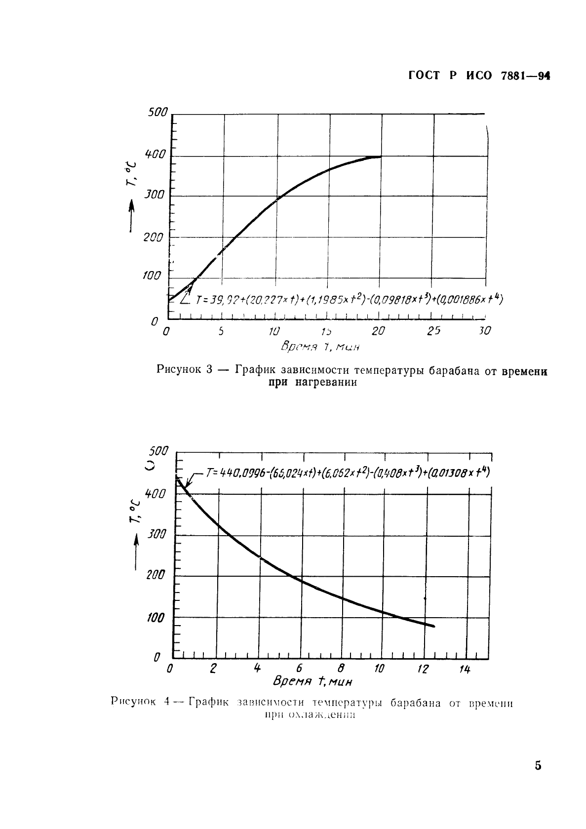
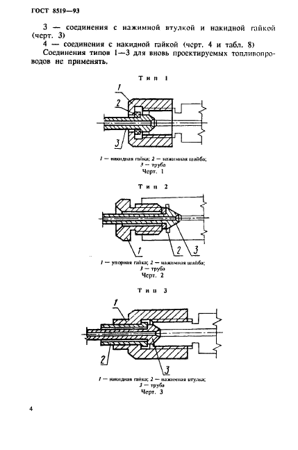
ГОСТ Р ИСО 7881-94

E-mail автора: 

Транспорт дорожный. Накладки тормозные. Оценка характеристик фрикционного материала. Метод испытания малого образца на машине трения

Обозначение: ГОСТ Р ИСО 7881-94
Статус: действующий
Название рус.: Транспорт дорожный. Накладки тормозные. Оценка характеристик фрикционного материала. Метод испытания малого образца на машине трения
Название англ.: Rood vehicles. Brake linings. Evaluation of friction material characteristics. Small sample bench test procedure
Дата актуализации текста: 19.06.2012
Дата актуализации описания: 19.06.2012
Дата введения в действие: 01.01.1996
Область и условия применения: Настоящий стандарт устанавливает метод испытания малых образцов материала тормозной накладки на испытательной машине, а также требования к оборудованию и метод оценки результатов испытаний.
Настоящий стандарт распространяется на материалы тормозных накладок барабанных и дисковых тормозов


ГОСТ Р ИСО 7881-94
ГОСТ Р ИСО 7881-94
ГОСТ Р ИСО 7881-94
ГОСТ Р ИСО 7881-94
ГОСТ Р ИСО 7881-94
ГОСТ Р ИСО 7881-94
ГОСТ Р ИСО 7881-94
ГОСТ Р ИСО 7881-94
ГОСТ Р ИСО 7881-94
ГОСТ Р ИСО 7881-94
ГОСТ Р ИСО 7881-94
ГОСТ Р ИСО 7881-94
ГОСТ Р ИСО 7881-94
ГОСТ Р ИСО 7881-94
ГОСТ Р ИСО 7881-94
ГОСТ Р ИСО 7881-94
ГОСТ Р ИСО 7881-94
ГОСТ Р ИСО 7881-94
ГОСТ Р ИСО 7881-94
Автор: 
Домашняя страница автора: 

ГОСТ 7283-93

E-mail автора: 

Круглогубцы. Технические условия

Обозначение: ГОСТ 7283-93
Статус: действующий
Название рус.: Круглогубцы. Технические условия
Название англ.: Round nose pliers. Specifications
Дата актуализации текста: 19.06.2012
Дата актуализации описания: 19.06.2012
Дата введения в действие: 01.01.1995
Область и условия применения: Настоящий стандарт распространяется на круглогубцы, предназначенные для захвата и манипулирования.
Стандарт не распространяется на круглогубцы, изготовляемые из материалов, предназначенных для работы во взрывоопасных условиях
Взамен: ГОСТ 7283-86
Список изменений: №0 от 01.01.2009 (рег. 30.11.2007) «Поправка к изменению»


ГОСТ 7283-93
ГОСТ 7283-93
ГОСТ 7283-93
ГОСТ 7283-93
ГОСТ 7283-93
ГОСТ 7283-93
ГОСТ 7283-93
ГОСТ 7283-93
Автор: 
Домашняя страница автора: 

ГОСТ 8765-93

E-mail автора: 

Одежда меховая и комбинированная. Общие технические условия

Обозначение: ГОСТ 8765-93
Статус: действующий
Название рус.: Одежда меховая и комбинированная. Общие технические условия
Название англ.: Fur and combined clothes. General specifications
Дата актуализации текста: 19.06.2012
Дата актуализации описания: 19.06.2012
Дата введения в действие: 01.01.1995
Область и условия применения: Настоящий стандарт распространяется на меховую и комбинированную женскую, мужскую и детскую одежду, изготовленную из меховых шкурок и их частей или в комбинации с другими материалами
Взамен: ГОСТ 8765-80 ГОСТ 9526-74
Взамен в части: ГОСТ 11287-76 в части жилетов меховых


ГОСТ 8765-93
ГОСТ 8765-93
ГОСТ 8765-93
ГОСТ 8765-93
ГОСТ 8765-93
ГОСТ 8765-93
ГОСТ 8765-93
ГОСТ 8765-93
ГОСТ 8765-93
ГОСТ 8765-93
ГОСТ 8765-93
ГОСТ 8765-93
ГОСТ 8765-93
ГОСТ 8765-93
ГОСТ 8765-93
ГОСТ 8765-93
ГОСТ 8765-93
ГОСТ 8765-93
ГОСТ 8765-93
ГОСТ 8765-93
ГОСТ 8765-93
ГОСТ 8765-93
ГОСТ 8765-93
ГОСТ 8765-93
Автор: 
Домашняя страница автора: 

ГОСТ Р ИСО 652-94

E-mail автора: 

Термометры с вложенной шкалой калориметрические

Обозначение: ГОСТ Р ИСО 652-94
Статус: действующий
Название рус.: Термометры с вложенной шкалой калориметрические
Название англ.: Enclosed-scale calorimeter thermometers
Дата актуализации текста: 19.06.2012
Дата актуализации описания: 19.06.2012
Дата введения в действие: 01.01.1995
Область и условия применения: Настоящий стандарт устанавливает требования для серии термометров с вложенной шкалой с малым диапазоном измерения температур, предназначенных для использования в бомбовой калориметрии и для других целей, где требуется точное измерение температуры.
Термометры не имеют вспомогательных шкал на 0 град.С и поэтому они не пригодны для абсолютного измерения температуры (это обычно не требуется в калориметрии), пока они не сверены со стандартным термометром непосредственно перед употреблением


ГОСТ Р ИСО 652-94
ГОСТ Р ИСО 652-94
ГОСТ Р ИСО 652-94
ГОСТ Р ИСО 652-94
ГОСТ Р ИСО 652-94
ГОСТ Р ИСО 652-94
ГОСТ Р ИСО 652-94
ГОСТ Р ИСО 652-94
ГОСТ Р ИСО 652-94
ГОСТ Р ИСО 652-94
ГОСТ Р ИСО 652-94
Автор: 
Домашняя страница автора: 

ГОСТ 8858-93

E-mail автора: 

Угли бурые, каменные и антрацит. Методы определения максимальной влагоемкости

Обозначение: ГОСТ 8858-93
Статус: действующий
Название рус.: Угли бурые, каменные и антрацит. Методы определения максимальной влагоемкости
Название англ.: Brown coals, hard coals and anthracite. Methods for determination of moisture holding capacity
Дата актуализации текста: 19.06.2012
Дата актуализации описания: 19.06.2012
Дата введения в действие: 01.01.1996
Область и условия применения: Настоящий стандарт устанавливает методы определения максимальной влагоемкости бурых и каменных углей и антрацита
Взамен: ГОСТ 8858-76


ГОСТ 8858-93
ГОСТ 8858-93
ГОСТ 8858-93
ГОСТ 8858-93
ГОСТ 8858-93
ГОСТ 8858-93
ГОСТ 8858-93
ГОСТ 8858-93
ГОСТ 8858-93
ГОСТ 8858-93
ГОСТ 8858-93
ГОСТ 8858-93
ГОСТ 8858-93
ГОСТ 8858-93
ГОСТ 8858-93
ГОСТ 8858-93
ГОСТ 8858-93
ГОСТ 8858-93
ГОСТ 8858-93
Автор: 
Домашняя страница автора: 

ГОСТ 9305-93

E-mail автора: 

Фрезы фасонные полукруглые выпуклые, вогнутые и радиусные. Технические условия

Обозначение: ГОСТ 9305-93
Статус: действующий
Название рус.: Фрезы фасонные полукруглые выпуклые, вогнутые и радиусные. Технические условия
Название англ.: Profile convex, concave milling and corner rounding g cutters. Specifications
Дата актуализации текста: 19.06.2012
Дата актуализации описания: 19.06.2012
Дата введения в действие: 01.01.1995
Область и условия применения: Настоящий стандарт распространяется на фасонные полукруглые выпуклые, вогнутые фрезы и для закругления углов с радиусом от 1 до 25 мм диаметром от 50 до 160 мм, предназначенные для фрезерования полукруглых пазов, выступов и для закругления углов в изделиях из конструкционных сталей
Взамен: ГОСТ 9305-69


ГОСТ 9305-93
ГОСТ 9305-93
ГОСТ 9305-93
ГОСТ 9305-93
ГОСТ 9305-93
ГОСТ 9305-93
ГОСТ 9305-93
ГОСТ 9305-93
ГОСТ 9305-93
ГОСТ 9305-93
ГОСТ 9305-93
ГОСТ 9305-93
ГОСТ 9305-93
ГОСТ 9305-93
ГОСТ 9305-93
ГОСТ 9305-93
Автор: 
Домашняя страница автора: 

ГОСТ Р ИСО 6280-94

E-mail автора: 

Подшипники скольжения. Требования к основам толстостенных многослойных подшипников

Обозначение: ГОСТ Р ИСО 6280-94
Статус: действующий
Название рус.: Подшипники скольжения. Требования к основам толстостенных многослойных подшипников
Название англ.: Plain bearings. Requirements on backings for thick-walled multilayer bearings
Дата актуализации текста: 19.06.2012
Дата актуализации описания: 19.06.2012
Дата введения в действие: 01.01.1995
Область и условия применения: Настоящий стандарт распространяется на подшипники скольжения и устанавливает требования к химическому составу, внутренним напряжениям и качеству механической обработки поверхности соединения основы для получения оптимального соединения между основой и подшипниковым металлом для толстостенных многослойных подшипников скольжения


ГОСТ Р ИСО 6280-94
ГОСТ Р ИСО 6280-94
ГОСТ Р ИСО 6280-94
ГОСТ Р ИСО 6280-94
ГОСТ Р ИСО 6280-94
ГОСТ Р ИСО 6280-94
ГОСТ Р ИСО 6280-94
Автор: 
Домашняя страница автора: 

ГОСТ 7081-93

E-mail автора: 

Полотна шелковые и полушелковые ворсовые. Общие технические условия

Обозначение: ГОСТ 7081-93
Статус: действующий
Название рус.: Полотна шелковые и полушелковые ворсовые. Общие технические условия
Название англ.: Silk and semi-silk pile sheets. General specifications
Дата актуализации текста: 19.06.2012
Дата актуализации описания: 19.06.2012
Дата введения в действие: 01.01.1995
Область и условия применения: Настоящий стандарт распространяется на готовые шелковые полотна из химических нитей, шелковой пряжи, с применением натуральных и химических волокон
Взамен: ГОСТ 7081-87 ГОСТ 14869-85 ОСТ 17-205-80
Взамен в части: ГОСТ 7779-75 в части ворсовых тканей (одежных, обувных, меха и плюша для игрушек)


ГОСТ 7081-93
ГОСТ 7081-93
ГОСТ 7081-93
ГОСТ 7081-93
ГОСТ 7081-93
ГОСТ 7081-93
ГОСТ 7081-93
ГОСТ 7081-93
Автор: 
Домашняя страница автора: 

ГОСТ 8519-93

E-mail автора: 

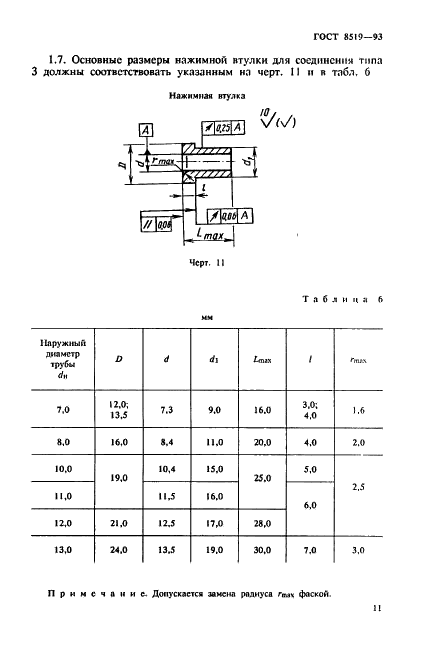
Топливопроводы высокого давления дизелей и их соединения. Общие технические условия

Обозначение: ГОСТ 8519-93
Статус: действующий
Название рус.: Топливопроводы высокого давления дизелей и их соединения. Общие технические условия
Название англ.: Jesel high-pressure fuel lines and connections. General specifications
Дата актуализации текста: 19.06.2012
Дата актуализации описания: 19.06.2012
Дата введения в действие: 01.01.1995
Область и условия применения: Настоящий стандарт распространяется на топливопроводы высокого давления наружным диаметром не более 13 мм и внутренним диаметром не более 5 мм и их соединения с конусообразной уплотняющей поверхностью для дизелей всех назначений.
Стандарт не распространяется на топливопроводы и их соединения для судовых дизелей, поднадзорных Регистру и требующих внешней противопожарной защиты
Взамен: ГОСТ 8519-88


ГОСТ 8519-93
ГОСТ 8519-93
ГОСТ 8519-93
ГОСТ 8519-93
ГОСТ 8519-93
ГОСТ 8519-93
ГОСТ 8519-93
ГОСТ 8519-93
ГОСТ 8519-93
ГОСТ 8519-93
ГОСТ 8519-93
ГОСТ 8519-93
ГОСТ 8519-93
ГОСТ 8519-93
ГОСТ 8519-93
ГОСТ 8519-93
ГОСТ 8519-93
ГОСТ 8519-93
ГОСТ 8519-93
ГОСТ 8519-93
Автор: 
Домашняя страница автора: 

Страницы