Наша группа Вконтакте vk.com/4ertimcom

ГОСТ 25001-30000

ГОСТ 26346-84

E-mail автора: 

Шинопроводы осветительные напряжением до 660 В переменного тока. Общие технические условия

Обозначение: ГОСТ 26346-84
Статус: действующий
Название рус.: Шинопроводы осветительные напряжением до 660 В переменного тока. Общие технические условия
Название англ.: Lighting busways up to 660 V a.c. General technical conditions
Дата актуализации текста: 19.06.2012
Дата актуализации описания: 19.06.2012
Дата введения в действие: 01.07.1985
Область и условия применения: Настоящий стандарт распространяется на осветительные шинопроводы, предназначенные для выполнения однофазных и трехфазных осветительных линий переменного тока напряжением до 660 В, частотой до 60 Гц в электрических сетях с глухозаземленной нейтралью на промышленных предприятиях, в общественных и административных зданиях.
Шинопроводы могут быть также применены для питания силовых электроприемников небольшой мощности.
Стандарт не распространяется на специальные шинопроводы для работы в химических активных средах и взрывоопасных зонах
Список изменений: №1 от 01.01.1990 (рег. 17.03.1989) «Срок действия продлен»


ГОСТ 26346-84
ГОСТ 26346-84
ГОСТ 26346-84
ГОСТ 26346-84
ГОСТ 26346-84
ГОСТ 26346-84
ГОСТ 26346-84
ГОСТ 26346-84
ГОСТ 26346-84
ГОСТ 26346-84
ГОСТ 26346-84
ГОСТ 26346-84
ГОСТ 26346-84
ГОСТ 26346-84
ГОСТ 26346-84
ГОСТ 26346-84
ГОСТ 26346-84
ГОСТ 26346-84
ГОСТ 26346-84
ГОСТ 26346-84
ГОСТ 26346-84
Автор: 
Домашняя страница автора: 

ГОСТ 26312.4-84

E-mail автора: 

Крупа. Методы определения крупности или номера, примесей и доброкачественного ядра

Обозначение: ГОСТ 26312.4-84
Статус: действующий
Название рус.: Крупа. Методы определения крупности или номера, примесей и доброкачественного ядра
Название англ.: Groats. Methods for determination of grain size, admixture content and sound kernels
Дата актуализации текста: 19.06.2012
Дата актуализации описания: 19.06.2012
Дата введения в действие: 01.01.1986
Область и условия применения: Настоящий стандарт распространяется на крупу и устанавливает методы определения: крупности или номера крупы, примесей: сорной, вредной и минеральной, битых ядер, мучки, испорченных ядер, необрушенных зерен, недодира, цветковых пленок, пожелтевшых, меловых, красных и с красными полосками и глютинозных ядер риса; доброкачественного ядра
Взамен в части: ГОСТ 275-56 в части разд. 3 (пп. 39, 44 - 48), 4
Список изменений: №1 от 01.11.1987 (рег. 08.06.1987) «Срок действия продлен»
№2 от 01.09.1990 (рег. 24.05.1990) «Срок действия продлен»
№3 от 01.06.1992 (рег. 26.12.1991) «Срок действия продлен»


ГОСТ 26312.4-84
ГОСТ 26312.4-84
ГОСТ 26312.4-84
ГОСТ 26312.4-84
ГОСТ 26312.4-84
Автор: 
Домашняя страница автора: 

ГОСТ 26138-84

E-mail автора: 

Элементы и детали встроенных шкафов и антресолей для жилых зданий. Технические условия

Обозначение: ГОСТ 26138-84
Статус: утратил силу в РФ
Название рус.: Элементы и детали встроенных шкафов и антресолей для жилых зданий. Технические условия
Название англ.: Elements of built-in furniture and entresol for residential buildings. Specifications
Дата актуализации текста: 19.06.2012
Дата актуализации описания: 19.06.2012
Дата введения в действие: 01.07.1984
Область и условия применения: Настоящий стандарт распространяется на элементы и детали встроенных шкафов и антресолей, монтируемых в жилых зданиях по окончании отделочных работ на чистые полы
Список изменений: №0 от 01.01.2010 (рег. 06.04.2009) «Поправка к изменению»


ГОСТ 26138-84
ГОСТ 26138-84
ГОСТ 26138-84
ГОСТ 26138-84
ГОСТ 26138-84
ГОСТ 26138-84
ГОСТ 26138-84
ГОСТ 26138-84
ГОСТ 26138-84
ГОСТ 26138-84
ГОСТ 26138-84
ГОСТ 26138-84
ГОСТ 26138-84
ГОСТ 26138-84
Автор: 
Домашняя страница автора: 

ГОСТ 25645.118-84

E-mail автора: 

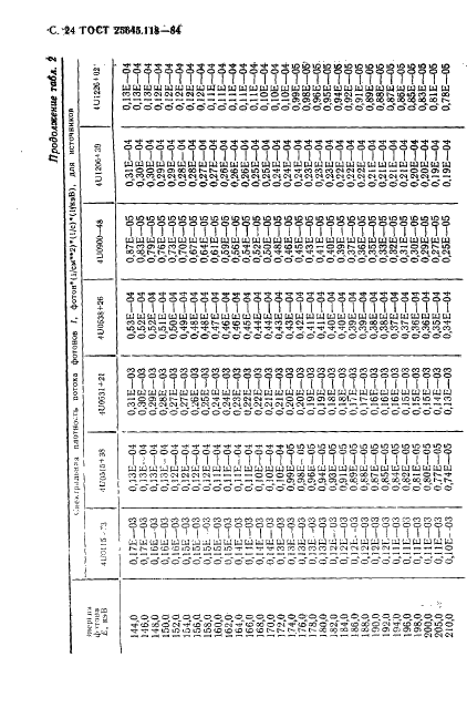
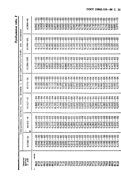
Излучение космическое рентгеновское дискретных источников. Энергетические спектры и угловые координаты

Обозначение: ГОСТ 25645.118-84
Статус: действующий
Название рус.: Излучение космическое рентгеновское дискретных источников. Энергетические спектры и угловые координаты
Название англ.: Cosmic X-rays of the discrete sources. Energy spectra and angular coordinates
Дата актуализации текста: 19.06.2012
Дата актуализации описания: 19.06.2012
Дата введения в действие: 01.01.1986
Область и условия применения: Настоящий стандарт устанавливает параметры и зависимости, характеризующие угловое и энергетическое распределение потока фотонов космического ренгеновского излучения с энергиями от 2 до 800 кэВ от наиболее сильных, постоянно действующих дискретных источников, находящихся за пределами Солнечной системы.
Стандарт предназначен для использования в расчетах среднего и экстремальных значений потока фотонов, падающего на открытые (незатененные) поверхности элементов технических устройств в космическом пространстве
Список изменений: №1 от 01.01.1991 (рег. 14.03.1990) «Срок действия продлен»


ГОСТ 25645.118-84
ГОСТ 25645.118-84
ГОСТ 25645.118-84
ГОСТ 25645.118-84
ГОСТ 25645.118-84
ГОСТ 25645.118-84
ГОСТ 25645.118-84
ГОСТ 25645.118-84
ГОСТ 25645.118-84
ГОСТ 25645.118-84
ГОСТ 25645.118-84
ГОСТ 25645.118-84
ГОСТ 25645.118-84
ГОСТ 25645.118-84
ГОСТ 25645.118-84
ГОСТ 25645.118-84
ГОСТ 25645.118-84
ГОСТ 25645.118-84
ГОСТ 25645.118-84
ГОСТ 25645.118-84
ГОСТ 25645.118-84
ГОСТ 25645.118-84
ГОСТ 25645.118-84
ГОСТ 25645.118-84
ГОСТ 25645.118-84
ГОСТ 25645.118-84
ГОСТ 25645.118-84
ГОСТ 25645.118-84
ГОСТ 25645.118-84
ГОСТ 25645.118-84
ГОСТ 25645.118-84
ГОСТ 25645.118-84
ГОСТ 25645.118-84
ГОСТ 25645.118-84
ГОСТ 25645.118-84
ГОСТ 25645.118-84
ГОСТ 25645.118-84
ГОСТ 25645.118-84
ГОСТ 25645.118-84
ГОСТ 25645.118-84
ГОСТ 25645.118-84
ГОСТ 25645.118-84
ГОСТ 25645.118-84
Автор: 
Домашняя страница автора: 

ГОСТ 26338-84

E-mail автора: 

Соединения трубопроводов резьбовые. Допуски формы и расположения поверхностей

Обозначение: ГОСТ 26338-84
Статус: действующий
Название рус.: Соединения трубопроводов резьбовые. Допуски формы и расположения поверхностей
Название англ.: Threaded piping joints. Tolerances of form and position
Дата актуализации текста: 19.06.2012
Дата актуализации описания: 19.06.2012
Дата введения в действие: 01.01.1986
Область и условия применения: Настоящий стандарт распространяется на детали резьбовых соединений трубопроводов, работающих в условиях неагрессивных сред при температуре от минус 40 до плюс 120 град. С
Список изменений: №1 от 01.07.1991 (рег. 26.12.1990) «Срок действия продлен»


ГОСТ 26338-84
ГОСТ 26338-84
ГОСТ 26338-84
ГОСТ 26338-84
ГОСТ 26338-84
ГОСТ 26338-84
ГОСТ 26338-84
ГОСТ 26338-84
ГОСТ 26338-84
ГОСТ 26338-84
ГОСТ 26338-84
ГОСТ 26338-84
ГОСТ 26338-84
ГОСТ 26338-84
Автор: 
Домашняя страница автора: 

ГОСТ 26315-84

E-mail автора: 

Оборудование групповых и линейных трактов систем передачи с частотным разделением каналов. Нормы на номинальные относительные уровни. Номинальные относительные уровни сигналов передачи и входные и выходные сопротивления в точках взаимного соединения

Обозначение: ГОСТ 26315-84
Статус: действующий
Название рус.: Оборудование групповых и линейных трактов систем передачи с частотным разделением каналов. Нормы на номинальные относительные уровни. Номинальные относительные уровни сигналов передачи и входные и выходные сопротивления в точках взаимного соединения
Название англ.: Transmission signal nominal relative levels and input and output impedance of the interconnection points
Дата актуализации текста: 19.06.2012
Дата актуализации описания: 19.06.2012
Дата введения в действие: 01.01.1986
Область и условия применения: Настоящий стандарт распространяется на оборудование групповых и линейных трактов систем передачи с частотным разделением каналов части национальной сети ЕАСС, входящей в состав взаимоувязанной автоматизированной комплексной системы связи
Список изменений: №1 от 01.05.1990 (рег. 10.10.1989) «Срок действия продлен»


ГОСТ 26315-84
ГОСТ 26315-84
ГОСТ 26315-84
ГОСТ 26315-84
ГОСТ 26315-84
Автор: 
Домашняя страница автора: 

ГОСТ 26391-84

E-mail автора: 

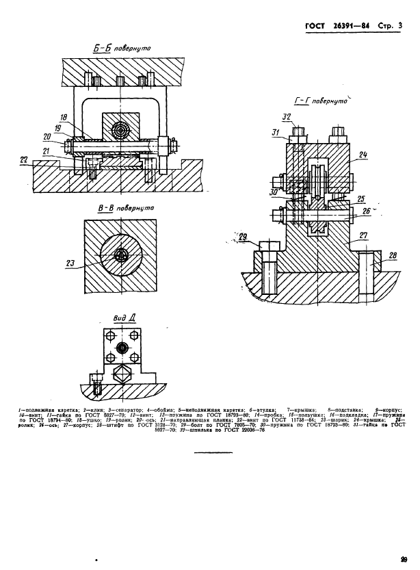
Механизмы шарико-клиновые для подачи проволоки диаметром от 1 до 3 мм. Основные и присоединительные размеры

Обозначение: ГОСТ 26391-84
Статус: действующий
Название рус.: Механизмы шарико-клиновые для подачи проволоки диаметром от 1 до 3 мм. Основные и присоединительные размеры
Название англ.: Ball-wedge mechanisms for wire feeding diameter from 1 to 3 mm. Basic and coupling dimensions
Дата актуализации текста: 19.06.2012
Дата актуализации описания: 19.06.2012
Дата введения в действие: 01.01.1986
Область и условия применения: Настоящий стандарт устанавливает основные и присоединительные размеры шарико-клиновых механизмов


ГОСТ 26391-84
ГОСТ 26391-84
ГОСТ 26391-84
Автор: 
Домашняя страница автора: 

ГОСТ 26397-84

E-mail автора: 

Инструмент для холодновысадочных автоматов. Матрицы для высадки болтов. Конструкция и размеры

Обозначение: ГОСТ 26397-84
Статус: действующий
Название рус.: Инструмент для холодновысадочных автоматов. Матрицы для высадки болтов. Конструкция и размеры
Название англ.: Tools for cold upset automatic machines. Bolt heading dies. Construction and dimensions
Дата актуализации текста: 19.06.2012
Дата актуализации описания: 19.06.2012
Дата введения в действие: 01.07.1986
Область и условия применения: Настоящий стандарт распространяется на матрицы с твердосплавными вставками к двухударным автоматам для холодной высадки заготовок болтов номинальным диаметром резьбы от 4 до 20 мм
Список изменений: №1 от 01.01.1991 (рег. 25.12.1989) «Срок действия продлен»


ГОСТ 26397-84
ГОСТ 26397-84
ГОСТ 26397-84
ГОСТ 26397-84
ГОСТ 26397-84
ГОСТ 26397-84
ГОСТ 26397-84
ГОСТ 26397-84
ГОСТ 26397-84
ГОСТ 26397-84
ГОСТ 26397-84
ГОСТ 26397-84
ГОСТ 26397-84
ГОСТ 26397-84
ГОСТ 26397-84
ГОСТ 26397-84
ГОСТ 26397-84
ГОСТ 26397-84
ГОСТ 26397-84
ГОСТ 26397-84
ГОСТ 26397-84
ГОСТ 26397-84
ГОСТ 26397-84
ГОСТ 26397-84
ГОСТ 26397-84
ГОСТ 26397-84
ГОСТ 26397-84
ГОСТ 26397-84
Автор: 
Домашняя страница автора: 

ГОСТ 26168-84

E-mail автора: 

Рельсы остряковые ОР75. Размеры

Обозначение: ГОСТ 26168-84
Статус: действующий
Название рус.: Рельсы остряковые ОР75. Размеры
Название англ.: Switch point rails OP75. Dimensions
Дата актуализации текста: 19.06.2012
Дата актуализации описания: 19.06.2012
Дата введения в действие: 01.01.1986
Область и условия применения: Настоящий стандарт распространяется на остряковые рельсы ОР75, применяемые в конструкциях верхнего строения железнодорожного пути


ГОСТ 26168-84
ГОСТ 26168-84
ГОСТ 26168-84
ГОСТ 26168-84
ГОСТ 26168-84
ГОСТ 26168-84
ГОСТ 26168-84
Автор: 
Домашняя страница автора: 

ГОСТ 26216-84

E-mail автора: 

Трансформаторы гидродинамические для строительных и дорожных машин. Основные параметры

Обозначение: ГОСТ 26216-84
Статус: действующий
Название рус.: Трансформаторы гидродинамические для строительных и дорожных машин. Основные параметры
Название англ.: Hydrodynamic torque converters for road-building machines. Basic parameters
Дата актуализации текста: 19.06.2012
Дата актуализации описания: 19.06.2012
Дата введения в действие: 01.07.1985
Область и условия применения: Настоящий стандарт распространяется на нерегулируемые одноступенчатые гидродинамические трансформаторы с максимальным коэффициентом трансформации крутящего момента на стоповом режиме не менее 2 и с рабочим диапазоном не менее 2, предназначенные для самоходных строительных и дорожных машин мощностью до 736 кВт.
Настоящий стандарт не распространяется на гидродинамические трансформаторы для самоходных строительных и дорожных машин, агрегатируемых на базовых тракторах, тягачах и автомобилях


ГОСТ 26216-84
ГОСТ 26216-84
ГОСТ 26216-84
ГОСТ 26216-84
ГОСТ 26216-84
Автор: 
Домашняя страница автора: 

Страницы