Наша группа Вконтакте vk.com/4ertimcom

ГОСТ 25001-30000

ГОСТ 26149-84

E-mail автора: 

Покрытие для полов рулонное на основе химических волокон. Технические условия

Обозначение: ГОСТ 26149-84
Статус: действующий
Название рус.: Покрытие для полов рулонное на основе химических волокон. Технические условия
Название англ.: Sheet floor covering on the base of chemical fibres. Specifications
Дата актуализации текста: 19.06.2012
Дата актуализации описания: 19.06.2012
Дата введения в действие: 01.01.1986
Область и условия применения: Настоящий стандарт распространяется на рулонное покрытие для полов на основе химических волокон (“ворсонит“), изготовляемое иглопробивным способом из смеси химических штапельных волокон с добавлением отходов химических и натуральных волокон с последующей пропиткой полимерным связующим.
Покрытие предназначается для устройства полов в помещениях общественных и производственных зданий при отсутствии интенсивного движения и воздействия абразивных материалов, жиров, масел и воды. Не допускается применение покрытия в жилых домах, детских дошкольных и лечебных профилактических учреждениях, домах ребенка, инвалидов и престарелых, санаториях, учреждениях отдыха, учебных заведениях, закрытых спортивных сооружениях, служебных помещениях с постоянным пребыванием людей.
Допускается применение покрытия на основе химических волокон в качестве вторичного (коврового) покрытия пола
Список изменений: №1 от 01.08.1999 (рег. 18.05.1999) «Срок действия продлен»


ГОСТ 26149-84
ГОСТ 26149-84
ГОСТ 26149-84
ГОСТ 26149-84
ГОСТ 26149-84
ГОСТ 26149-84
ГОСТ 26149-84
ГОСТ 26149-84
ГОСТ 26149-84
ГОСТ 26149-84
ГОСТ 26149-84
ГОСТ 26149-84
ГОСТ 26149-84
ГОСТ 26149-84
ГОСТ 26149-84
ГОСТ 26149-84
Автор: 
Домашняя страница автора: 

ГОСТ 26056-84

E-mail автора: 

Роботы промышленные для дуговой сварки. Общие технические условия

Обозначение: ГОСТ 26056-84
Статус: действующий
Название рус.: Роботы промышленные для дуговой сварки. Общие технические условия
Название англ.: Industry robots for arc welding. General specifications
Дата актуализации текста: 19.06.2012
Дата актуализации описания: 19.06.2012
Дата введения в действие: 01.01.1986
Область и условия применения: Настоящий стандарт распространяется на промышленные роботы для дуговой сварки в защитных газах общего назначения
Список изменений: №1 от 01.01.1991 (рег. 05.07.1990) «Срок действия продлен»


ГОСТ 26056-84
ГОСТ 26056-84
ГОСТ 26056-84
ГОСТ 26056-84
ГОСТ 26056-84
ГОСТ 26056-84
ГОСТ 26056-84
ГОСТ 26056-84
ГОСТ 26056-84
ГОСТ 26056-84
ГОСТ 26056-84
Автор: 
Домашняя страница автора: 

ГОСТ 26094-84

E-mail автора: 

Кожа искусственная для верха обуви. Определение сортности

Обозначение: ГОСТ 26094-84
Статус: действующий
Название рус.: Кожа искусственная для верха обуви. Определение сортности
Название англ.: Artificial leather for footwear uppers. Grading
Дата актуализации текста: 19.06.2012
Дата актуализации описания: 19.06.2012
Дата введения в действие: 01.07.1985
Область и условия применения: Настоящий стандарт распространяется на искусственную кожу для верха обуви бытового и специального назначения и устанавливает определение ее сортности.
Стандарт не распространяется на искусственную кожу для верха обуви, изготовленную по заказу Министерства обороны СССР


ГОСТ 26094-84
ГОСТ 26094-84
ГОСТ 26094-84
ГОСТ 26094-84
Автор: 
Домашняя страница автора: 

ГОСТ 26401-84

E-mail автора: 

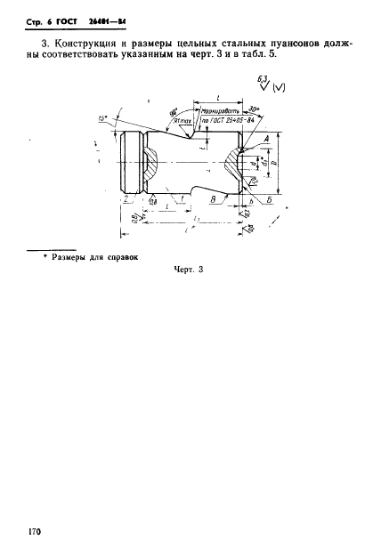
Инструмент для холодновысадочных автоматов. Пуансоны окончательные. Конструкция и размеры

Обозначение: ГОСТ 26401-84
Статус: действующий
Название рус.: Инструмент для холодновысадочных автоматов. Пуансоны окончательные. Конструкция и размеры
Название англ.: Tools for cold upset automatic machines. Finishing punches. Construction and dimensions
Дата актуализации текста: 19.06.2012
Дата актуализации описания: 19.06.2012
Дата введения в действие: 01.07.1986
Область и условия применения: Настоящий стандарт распространяется на пуансоны к двухударным автоматам для холодной высадки заготовок болтов с шестигранной головкой номинальным диаметром резьбы от 4 до 20 мм
Список изменений: №1 от 01.01.1991 (рег. 25.12.1989) «Срок действия продлен»


ГОСТ 26401-84
ГОСТ 26401-84
ГОСТ 26401-84
ГОСТ 26401-84
ГОСТ 26401-84
ГОСТ 26401-84
ГОСТ 26401-84
ГОСТ 26401-84
ГОСТ 26401-84
ГОСТ 26401-84
ГОСТ 26401-84
ГОСТ 26401-84
ГОСТ 26401-84
ГОСТ 26401-84
ГОСТ 26401-84
ГОСТ 26401-84
Автор: 
Домашняя страница автора: 

ГОСТ 26101-84

E-mail автора: 

Проволока порошковая наплавочная. Технические условия

Обозначение: ГОСТ 26101-84
Статус: действующий
Название рус.: Проволока порошковая наплавочная. Технические условия
Название англ.: Welding powder wire. Specifications
Дата актуализации текста: 19.06.2012
Дата актуализации описания: 19.06.2012
Дата введения в действие: 01.01.1986
Область и условия применения: Настоящий стандарт распространяется на порошковую проволоку, предназначенную для дуговой механизированной наплавки поверхностных слоев с особыми свойствами
Взамен: ГОСТ 5.1491-72
Список изменений: №1 от 01.07.1991 (рег. 22.06.1990) «Срок действия продлен»


ГОСТ 26101-84
ГОСТ 26101-84
ГОСТ 26101-84
ГОСТ 26101-84
ГОСТ 26101-84
ГОСТ 26101-84
ГОСТ 26101-84
ГОСТ 26101-84
ГОСТ 26101-84
ГОСТ 26101-84
ГОСТ 26101-84
ГОСТ 26101-84
ГОСТ 26101-84
ГОСТ 26101-84
ГОСТ 26101-84
ГОСТ 26101-84
ГОСТ 26101-84
ГОСТ 26101-84
ГОСТ 26101-84
ГОСТ 26101-84
ГОСТ 26101-84
ГОСТ 26101-84
ГОСТ 26101-84
ГОСТ 26101-84
Автор: 
Домашняя страница автора: 

ГОСТ 26318.0-84

E-mail автора: 

Материалы неметаллорудные. Общие требования к методам анализа

Обозначение: ГОСТ 26318.0-84
Статус: действующий
Название рус.: Материалы неметаллорудные. Общие требования к методам анализа
Название англ.: Non-metallic ore materials. General requirements for methods of analysis
Дата актуализации текста: 19.06.2012
Дата актуализации описания: 19.06.2012
Дата введения в действие: 01.01.1986
Область и условия применения: Настоящий стандарт распространяется на полевошпатовые и кварцполевошпатовые материалы, слюду, диопсид и устанавливает общие требования к методам анализа
Взамен: ГОСТ 20543.0-75 ГОСТ 14328.0-77
Список изменений: №1 от 01.01.1989 (рег. 22.07.1988) «Срок действия продлен»
№2 от 01.10.1990 (рег. 26.03.1990) «Срок действия продлен»
№3 от 01.07.1991 (рег. 24.12.1990) «Срок действия продлен»


ГОСТ 26318.0-84
ГОСТ 26318.0-84
ГОСТ 26318.0-84
ГОСТ 26318.0-84
ГОСТ 26318.0-84
ГОСТ 26318.0-84
ГОСТ 26318.0-84
ГОСТ 26318.0-84
ГОСТ 26318.0-84
ГОСТ 26318.0-84
ГОСТ 26318.0-84
ГОСТ 26318.0-84
ГОСТ 26318.0-84
ГОСТ 26318.0-84
ГОСТ 26318.0-84
ГОСТ 26318.0-84
Автор: 
Домашняя страница автора: 

ГОСТ 25645.108-84

E-mail автора: 

Излучение рентгеновское и гамма-излучение космические. Термины и определения

Обозначение: ГОСТ 25645.108-84
Статус: действующий
Название рус.: Излучение рентгеновское и гамма-излучение космические. Термины и определения
Название англ.: Cosmic X-rays and gamma-rays. Terms and definitions
Дата актуализации текста: 19.06.2012
Дата актуализации описания: 19.06.2012
Дата введения в действие: 01.01.1985
Область и условия применения: Настоящий стандарт устанавливает применяемые в науке и технике термины и определения, характеризующие космические рентгеновские и гамма-излучения


ГОСТ 25645.108-84
ГОСТ 25645.108-84
ГОСТ 25645.108-84
ГОСТ 25645.108-84
ГОСТ 25645.108-84
ГОСТ 25645.108-84
ГОСТ 25645.108-84
ГОСТ 25645.108-84
Автор: 
Домашняя страница автора: 

ГОСТ 26260-84

E-mail автора: 

Оправки к насадным цековкам со сменными направляющими цапфами. Конструкция и размеры

Обозначение: ГОСТ 26260-84
Статус: действующий
Название рус.: Оправки к насадным цековкам со сменными направляющими цапфами. Конструкция и размеры
Название англ.: Shell counterbore arbors with removable guides. Design and dimensions
Дата актуализации текста: 19.06.2012
Дата актуализации описания: 19.06.2012
Дата введения в действие: 01.01.1986
Область и условия применения: Настоящий стандарт распространяется на оправки к насадным цековкам с направляющими цапфами


ГОСТ 26260-84
ГОСТ 26260-84
Автор: 
Домашняя страница автора: 

ГОСТ 26307-84

E-mail автора: 

Источники гамма-излучения радионуклидные закрытые. Методы измерения параметров

Обозначение: ГОСТ 26307-84
Статус: действующий
Название рус.: Источники гамма-излучения радионуклидные закрытые. Методы измерения параметров
Название англ.: Sealed radionuclidic gamma-radiation sources. Methods of parameters measurement
Дата актуализации текста: 19.06.2012
Дата актуализации описания: 19.06.2012
Дата введения в действие: 01.01.1986
Область и условия применения: Настоящий стандарт распространяется на закрытые радионуклидные источники гамма- излучения и устанавливает методы измерения их основных радиационных параметров.
Настоящий стандарт не распространяется на методы аттестации эталонных, образцовых и рабочих источников гамма-излучения
Список изменений: №1 от 01.01.1991 (рег. 09.04.1990) «Срок действия продлен»


ГОСТ 26307-84
ГОСТ 26307-84
ГОСТ 26307-84
ГОСТ 26307-84
ГОСТ 26307-84
ГОСТ 26307-84
ГОСТ 26307-84
ГОСТ 26307-84
ГОСТ 26307-84
ГОСТ 26307-84
ГОСТ 26307-84
ГОСТ 26307-84
ГОСТ 26307-84
ГОСТ 26307-84
ГОСТ 26307-84
ГОСТ 26307-84
ГОСТ 26307-84
ГОСТ 26307-84
ГОСТ 26307-84
ГОСТ 26307-84
ГОСТ 26307-84
ГОСТ 26307-84
ГОСТ 26307-84
ГОСТ 26307-84
ГОСТ 26307-84
ГОСТ 26307-84
ГОСТ 26307-84
ГОСТ 26307-84
ГОСТ 26307-84
ГОСТ 26307-84
ГОСТ 26307-84
ГОСТ 26307-84
ГОСТ 26307-84
ГОСТ 26307-84
ГОСТ 26307-84
ГОСТ 26307-84
ГОСТ 26307-84
Автор: 
Домашняя страница автора: 

ГОСТ 26244-84

E-mail автора: 

Обработка почвы предпосевная. Требования к качеству и методы определения

Обозначение: ГОСТ 26244-84
Статус: действующий
Название рус.: Обработка почвы предпосевная. Требования к качеству и методы определения
Название англ.: Presowing soil treatment. Quality requirements and methods for determination
Дата актуализации текста: 19.06.2012
Дата актуализации описания: 19.06.2012
Дата введения в действие: 01.01.1986
Область и условия применения: Настоящий стандарт устанавливает требования к качеству предпосевной обработки почвы, предназначенной для посева зерновых культур на поле с уклоном поверхности не более 8 град. и площадью не менее 1 га, и методы определения


ГОСТ 26244-84
ГОСТ 26244-84
ГОСТ 26244-84
ГОСТ 26244-84
ГОСТ 26244-84
ГОСТ 26244-84
ГОСТ 26244-84
Автор: 
Домашняя страница автора: 

Страницы