Наша группа Вконтакте vk.com/4ertimcom

ГОСТ 3001-4000

ГОСТ 3763-76

E-mail автора: 

Реактивы. Аммоний двухромовокислый. Технические условия

Обозначение: ГОСТ 3763-76
Статус: действующий
Название рус.: Реактивы. Аммоний двухромовокислый. Технические условия
Название англ.: Reagents. Ammonium bichromate. Specifications
Дата актуализации текста: 19.06.2012
Дата актуализации описания: 19.06.2012
Дата введения в действие: 01.01.1977
Область и условия применения: Настоящий стандарт распространяется на двухромовокислый аммоний, который представляет собой оранжево-красные кристаллы, растворимые в воде
Взамен: ГОСТ 3763-64
Список изменений: №1 от 01.04.1981 (рег. 20.11.1980) «Срок действия продлен»
№2 от 01.01.1992 (рег. 17.05.1991) «Срок действия продлен»


ГОСТ 3763-76
ГОСТ 3763-76
ГОСТ 3763-76
ГОСТ 3763-76
ГОСТ 3763-76
ГОСТ 3763-76
ГОСТ 3763-76
ГОСТ 3763-76
ГОСТ 3763-76
ГОСТ 3763-76
Автор: 
Домашняя страница автора: 

ГОСТ 3240.14-76

E-mail автора: 

Сплавы магниевые. Метод определения неодима

Обозначение: ГОСТ 3240.14-76
Статус: действующий
Название рус.: Сплавы магниевые. Метод определения неодима
Название англ.: Magnesium alloys. Method for determination of neodymium
Дата актуализации текста: 19.06.2012
Дата актуализации описания: 19.06.2012
Дата введения в действие: 01.01.1978
Область и условия применения: Настоящий стандарт устанавливает спектрофотометрический метод определения неодима (при массовой доле неодима от 1,0 до 5,0%).
Метод основан на измерении оптической плотности солянокислых растворов, содержащих аква-ионы неодима
Список изменений: №1 от 01.02.1988 (рег. 30.06.1987) «Поправка»


ГОСТ 3240.14-76
ГОСТ 3240.14-76
Автор: 
Домашняя страница автора: 

ГОСТ 3480-76

E-mail автора: 

Вал отбора мощности сельскохозяйственных тракторов и вал приема мощности сельскохозяйственных машин. Типы и основные параметры

Обозначение: ГОСТ 3480-76
Статус: действующий
Название рус.: Вал отбора мощности сельскохозяйственных тракторов и вал приема мощности сельскохозяйственных машин. Типы и основные параметры
Название англ.: Power take-off for agricultural tractors and power input connection for agricultural machines. Types and main parameters
Дата актуализации текста: 19.06.2012
Дата актуализации описания: 19.06.2012
Дата введения в действие: 01.01.1978
Область и условия применения: Настоящий стандарт распространяется на задние валы отбора мощности (ВОМ) сельскохозяйственных тракторов тягового класса от 0,6 до 6 (включительно), передние (ВОМ) сельскохяйственных колесных тракторов (кроме специализированных и малогабаритных) тяговых классов от 0,6 до 2 включительно и валы приема мощности (ВПМ) сельскохозяйственных машин, агрегатируемых с этими тракторами.
Стандарт устанавливает основные параметры и размеры хвостовиков ВОМ и ВПМ, имеющих 8, 20 и 21зубьев и сопрягаемых с ними деталей (далее - втулки), а также основные технические требования к приводу хвостовиков ВОМ
Взамен: ГОСТ 3480-58 ГОСТ 16124-70
Список изменений: №1 от 01.01.1986 (рег. 16.11.1984) «Срок действия продлен»
№2 от 01.01.1989 (рег. 28.08.1987) «Срок действия продлен»


ГОСТ 3480-76
ГОСТ 3480-76
ГОСТ 3480-76
ГОСТ 3480-76
ГОСТ 3480-76
ГОСТ 3480-76
ГОСТ 3480-76
ГОСТ 3480-76
Автор: 
Домашняя страница автора: 

ГОСТ 3240.19-76

E-mail автора: 

Сплавы магниевые. Метод определения хлора

Обозначение: ГОСТ 3240.19-76
Статус: действующий
Название рус.: Сплавы магниевые. Метод определения хлора
Название англ.: Magnesium alloys. Method for determination of chlorine
Дата актуализации текста: 19.06.2012
Дата актуализации описания: 19.06.2012
Дата введения в действие: 01.01.1978
Область и условия применения: Настоящий стандарт устанавливает турбидиметрический метод определения хлора (при массовой доле хлора от 0,002 до 0,01%).
Метод основан на образовании мелкодисперсного золя хлорида серебра при взаимодействии ионов хлора с раствором нитрата серебра. Концентрацию ионов хлора измеряют по снижению интенсивности проходящего света при длине волны 400 нм. Определению ионов хлора мешает нерастворимый цирконий, который отделяют центрифугированием
Список изменений: №1 от 01.02.1988 (рег. 30.06.1987) «Поправка»


ГОСТ 3240.19-76
ГОСТ 3240.19-76
ГОСТ 3240.19-76
Автор: 
Домашняя страница автора: 

ГОСТ 3240.5-76

E-mail автора: 

Сплавы магниевые. Методы определения циркония

Обозначение: ГОСТ 3240.5-76
Статус: действующий
Название рус.: Сплавы магниевые. Методы определения циркония
Название англ.: Magnesium alloys. Methods for determination of zirconium
Дата актуализации текста: 19.06.2012
Дата актуализации описания: 19.06.2012
Дата введения в действие: 01.01.1978
Область и условия применения: Настоящий стандарт устанавливает титриметрический метод определения циркония (при массовой доле циркония от 0,05 до 1,5%) и фотометрический метод определения циркония (при массовой доле циркония от 0,00005 до 0,01%)
Список изменений: №1 от 01.02.1988 (рег. 30.06.1987) «Поправка»


ГОСТ 3240.5-76
ГОСТ 3240.5-76
ГОСТ 3240.5-76
ГОСТ 3240.5-76
Автор: 
Домашняя страница автора: 

ГОСТ 3240.3-76

E-mail автора: 

Сплавы магниевые. Методы определения цинка

Обозначение: ГОСТ 3240.3-76
Статус: действующий
Название рус.: Сплавы магниевые. Методы определения цинка
Название англ.: Magnesium alloys. Methods for determination of zinc
Дата актуализации текста: 19.06.2012
Дата актуализации описания: 19.06.2012
Дата введения в действие: 01.01.1978
Область и условия применения: Настоящий стандарт устанавливает полярографический и атомно-абсорбционный методы определения цинка (при массовой доле цинка от 0,02 до 8%)
Взамен в части: ГОСТ 3240-56 в части разд. IV
Список изменений: №1 от 01.02.1988 (рег. 30.06.1987) «Поправка»


ГОСТ 3240.3-76
ГОСТ 3240.3-76
ГОСТ 3240.3-76
ГОСТ 3240.3-76
Автор: 
Домашняя страница автора: 

ГОСТ 3884-77

E-mail автора: 

Контакт-детали для коммутационных электрических аппаратов. Конструкция и размеры

Обозначение: ГОСТ 3884-77
Статус: действующий
Название рус.: Контакт-детали для коммутационных электрических аппаратов. Конструкция и размеры
Название англ.: Contacts for electrical comutation apparates. Construction and dimensions
Дата актуализации текста: 19.06.2012
Дата актуализации описания: 19.06.2012
Дата введения в действие: 01.01.1978
Область и условия применения: Настоящий стандарт распространяется на коммутирующие электрические контакт-детали, содержащие серебро, изготовляемые методом твердофазного спекания, предназначенные для применения в элетрических коммутационных аппаратах для замыкания и размыкания электрических цепей напряжением до 1000 В
Взамен: ГОСТ 3884-67
Список изменений: №1 от 01.08.1978 (рег. 30.05.1978) «Срок действия продлен»
№2 от 01.01.1988 (рег. 18.06.1987) «Срок действия продлен»


ГОСТ 3884-77
ГОСТ 3884-77
ГОСТ 3884-77
ГОСТ 3884-77
ГОСТ 3884-77
ГОСТ 3884-77
ГОСТ 3884-77
ГОСТ 3884-77
ГОСТ 3884-77
ГОСТ 3884-77
ГОСТ 3884-77
ГОСТ 3884-77
ГОСТ 3884-77
ГОСТ 3884-77
Автор: 
Домашняя страница автора: 

ГОСТ 3594.4-77

E-mail автора: 

Глины формовочные. Методы определения содержания серы

Обозначение: ГОСТ 3594.4-77
Статус: действующий
Название рус.: Глины формовочные. Методы определения содержания серы
Название англ.: Moulding clay. Methods for the determination of sulphur content
Дата актуализации текста: 19.06.2012
Дата актуализации описания: 19.06.2012
Дата введения в действие: 01.01.1979
Область и условия применения: Настоящий стандарт распространяется на комовые и молотые формовочные глины и устанавливает методы определения содержания серы
Заменяющий в части: ГОСТ 28177-89 в части бентонитовых глин
Список изменений: №1 от 01.03.1984 (рег. 29.11.1983) «Срок действия продлен»


ГОСТ 3594.4-77
ГОСТ 3594.4-77
ГОСТ 3594.4-77
ГОСТ 3594.4-77
ГОСТ 3594.4-77
ГОСТ 3594.4-77
Автор: 
Домашняя страница автора: 

ГОСТ 3594.5-77

E-mail автора: 

Глины формовочные. Метод определения концентрации водородных ионов водной вытяжки

Обозначение: ГОСТ 3594.5-77
Статус: действующий
Название рус.: Глины формовочные. Метод определения концентрации водородных ионов водной вытяжки
Название англ.: Moulding clay. Method for the determination of hydrogen ion concentration of water extract
Дата актуализации текста: 19.06.2012
Дата актуализации описания: 19.06.2012
Дата введения в действие: 01.01.1979
Область и условия применения: Настоящий стандарт распространяется на комовые и молотые формовочные глины и устанавливает метод определения концентрации водородных ионов водной вытяжки.
Метод основан на определении реакции водной вытяжки с помощью рН-метра
Взамен в части: ГОСТ 3594-62 в части разд. V, пп. 52 - 55
Заменяющий в части: ГОСТ 28177-89 в части бентонитовых глин
Список изменений: №1 от 01.12.1980 (рег. 31.07.1980) «Срок действия продлен»
№2 от 01.03.1984 (рег. 29.11.1983) «Срок действия продлен»


ГОСТ 3594.5-77
ГОСТ 3594.5-77
ГОСТ 3594.5-77
ГОСТ 3594.5-77
Автор: 
Домашняя страница автора: 

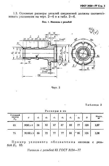
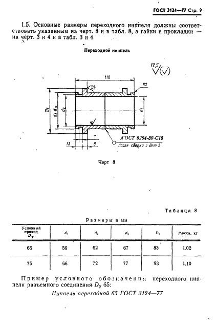
ГОСТ 3124-77

E-mail автора: 

Соединения шланговые для гибких шлангов гидромониторов. Технические условия

Обозначение: ГОСТ 3124-77
Статус: действующий
Название рус.: Соединения шланговые для гибких шлангов гидромониторов. Технические условия
Название англ.: Hose connections for flexible hoses of monitors. Specifications
Дата актуализации текста: 19.06.2012
Дата актуализации описания: 19.06.2012
Дата введения в действие: 01.01.1979
Область и условия применения: Настоящий стандарт распространяется на шланговые соединения, работающие при давлении до 2,5 МПа (приблизительно 25 кгс/кв.см ), предназначенные для герметичного соединения напорных шлангов между собой, а также для присоединения их к гидромониторам
Взамен: ГОСТ 3124-57
Список изменений: №1 от 01.04.1984 (рег. 04.11.1983) «Срок действия продлен»


ГОСТ 3124-77
ГОСТ 3124-77
ГОСТ 3124-77
ГОСТ 3124-77
ГОСТ 3124-77
ГОСТ 3124-77
ГОСТ 3124-77
ГОСТ 3124-77
ГОСТ 3124-77
ГОСТ 3124-77
ГОСТ 3124-77
ГОСТ 3124-77
ГОСТ 3124-77
ГОСТ 3124-77
ГОСТ 3124-77
Автор: 
Домашняя страница автора: 

Страницы