Наша группа Вконтакте vk.com/4ertimcom

ГОСТ 3001-4000

ГОСТ 3640-94

E-mail автора: 

Цинк. Технические условия

Обозначение: ГОСТ 3640-94
Статус: действующий
Название рус.: Цинк. Технические условия
Название англ.: Zinc. Specifications
Дата актуализации текста: 19.06.2012
Дата актуализации описания: 19.06.2012
Дата введения в действие: 01.01.1997
Область и условия применения: Настоящий стандарт распространяется на первичный цинк в чушках и блоках
Взамен: ГОСТ 3640-79


ГОСТ 3640-94
ГОСТ 3640-94
ГОСТ 3640-94
ГОСТ 3640-94
ГОСТ 3640-94
ГОСТ 3640-94
ГОСТ 3640-94
ГОСТ 3640-94
Автор: 
Домашняя страница автора: 

ГОСТ 3303-94

E-mail автора: 

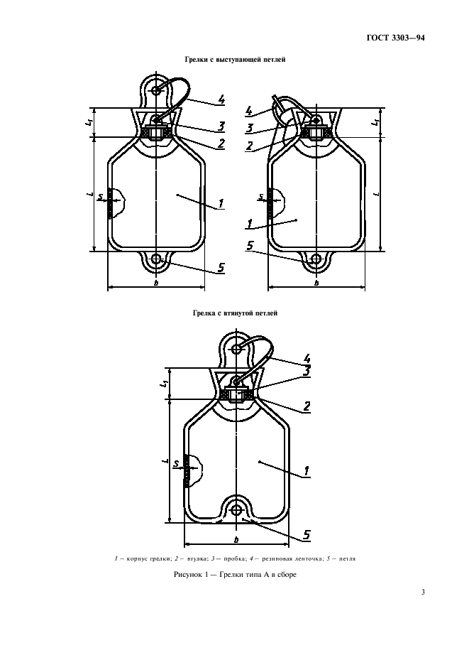
Грелки резиновые. Технические условия

Обозначение: ГОСТ 3303-94
Статус: действующий
Название рус.: Грелки резиновые. Технические условия
Название англ.: Rabber hot-water bottles. Specifications
Дата актуализации текста: 19.06.2012
Дата актуализации описания: 19.06.2012
Дата введения в действие: 01.01.2001
Область и условия применения: Настоящий стандарт распространяется на резиновые грелки, предназначенные для местного согревания тела, промывания и спринцевания, поставляемые для народного хозяйства и на экспорт
Взамен: ГОСТ 3303-82


ГОСТ 3303-94
ГОСТ 3303-94
ГОСТ 3303-94
ГОСТ 3303-94
ГОСТ 3303-94
ГОСТ 3303-94
ГОСТ 3303-94
ГОСТ 3303-94
ГОСТ 3303-94
ГОСТ 3303-94
ГОСТ 3303-94
ГОСТ 3303-94
ГОСТ 3303-94
ГОСТ 3303-94
ГОСТ 3303-94
Автор: 
Домашняя страница автора: 

ГОСТ 3579-98

E-mail автора: 

Саженцы лаванды настоящей. Технические условия

Обозначение: ГОСТ 3579-98
Статус: действующий
Название рус.: Саженцы лаванды настоящей. Технические условия
Название англ.: Seedlings of lavender. Specifications
Дата актуализации текста: 19.06.2012
Дата актуализации описания: 19.06.2012
Дата введения в действие: 01.07.2000
Область и условия применения: Настоящий стандарт распространяется на саженцы лаванды настоящей (Lavandula veza D.C.), полученные вегетативным размножением и предназначенные для закладки и ремонта семеноводческих и производительных насаждений, а также на сеянцы семенного происхождения для закладки производственных насаждений
Взамен: ГОСТ 3579-89


ГОСТ 3579-98
ГОСТ 3579-98
ГОСТ 3579-98
ГОСТ 3579-98
ГОСТ 3579-98
ГОСТ 3579-98
ГОСТ 3579-98
ГОСТ 3579-98
Автор: 
Домашняя страница автора: 

ГОСТ 3122-67

E-mail автора: 

Топлива дизельные. Метод определения цетанового числа

Обозначение: ГОСТ 3122-67
Статус: действующий
Название рус.: Топлива дизельные. Метод определения цетанового числа
Название англ.: Diesel fuel. Method for determination of cetane index
Дата актуализации текста: 19.06.2012
Дата актуализации описания: 19.06.2012
Дата введения в действие: 01.01.1968
Область и условия применения: Настоящий стандарт распространяется на дизельные топлива и их компоненты и устанавливает метод определения самовоспламеняемости топлива в дизельных двигателях по совпадению вспышек в единицах цетанового числа.
Сущность метода заключается в сравнении самовоспламеняемости испытуемого топлива в двигателе при различных степенях сжатия с самовоспламеняемостью эталонных топлив с известными цетановыми числами в условиях испытания.
Цетановое число - условная единица измерения самовоспламеняемости топлив в дизельных двигателях, численно равная процентному (по объему) содержанию цетана (н-гексадекана) в смеси его с альфа-метилнафталином, эквивалентной по самовоспламеняемости испытуемому топливу, в условиях испытания
Взамен: ГОСТ 3122-52
Список изменений: №1 от 15.11.1972 (рег. 19.09.1972) «Срок действия продлен»
№2 от 01.07.1983 (рег. 05.04.1983) «Срок действия продлен»
№3 от 01.08.1987 (рег. 23.03.1987) «Срок действия продлен»
№4 от 01.02.1990 (рег. 23.06.1989) «Срок действия продлен»


ГОСТ 3122-67
ГОСТ 3122-67
ГОСТ 3122-67
ГОСТ 3122-67
ГОСТ 3122-67
ГОСТ 3122-67
ГОСТ 3122-67
ГОСТ 3122-67
ГОСТ 3122-67
ГОСТ 3122-67
ГОСТ 3122-67
ГОСТ 3122-67
Автор: 
Домашняя страница автора: 

ГОСТ 3622-68

E-mail автора: 

Молоко и молочные продукты. Отбор проб и подготовка их к испытанию

Обозначение: ГОСТ 3622-68
Статус: действующий
Название рус.: Молоко и молочные продукты. Отбор проб и подготовка их к испытанию
Название англ.: Milk and milk products. Sampling and preparation of samples for testing
Дата актуализации текста: 19.06.2012
Дата актуализации описания: 19.06.2012
Дата введения в действие: 01.07.1969
Область и условия применения: Настоящий стандарт распространяется на молоко, молочный напиток, молочные и молокосодержащие продукты, кисломолочные продукты, сыр и сырные продукты, масло из коровьего молока и масляную пасту, сливочно-растительный спред и сливочно-растительную топленую смесь, мороженое и смеси для мороженого, устанавливает правила отбора проб и подготовки их к физико-химическим испытаниям и органолептической оценке при выпуске продукции из производства, на базах, холодильниках, при хранении и реализации в торговой сети и на предприятиях общественного питания
Взамен: ГОСТ 3622-57
Заменяющий в части: ГОСТ 26809-86 в части правил приемки, методов отбора и подготовки проб к анализу
Список изменений: №0 от 29.05.2009 (рег. 29.05.2009) «Дата введения перенесена»
№1 от 01.07.1981 (рег. 27.02.1981) «Срок действия продлен»
Приложение №1: Поправка к ГОСТ 3622-68


ГОСТ 3622-68
ГОСТ 3622-68
ГОСТ 3622-68
ГОСТ 3622-68
ГОСТ 3622-68
ГОСТ 3622-68
ГОСТ 3622-68
ГОСТ 3622-68
ГОСТ 3622-68
ГОСТ 3622-68
ГОСТ 3622-68


Поправка к ГОСТ 3622-68

Обозначение: Поправка к ГОСТ 3622-68
Дата введения в действие: 29.05.2009
Дата актуализации: 10.11.2009


Поправка к ГОСТ 3622-68
Поправка к ГОСТ 3622-68
Автор: 
Домашняя страница автора: 

ГОСТ 3322-69

E-mail автора: 

Плоды черники. Технические условия

Обозначение: ГОСТ 3322-69
Статус: действующий
Название рус.: Плоды черники. Технические условия
Название англ.: Fruits of bilberry. Specifications
Дата актуализации текста: 19.06.2012
Дата актуализации описания: 19.06.2012
Дата введения в действие: 01.07.1969
Область и условия применения: Настоящий стандарт распространяется на высушенные, полностью созревшие плоды дикорастущего кустарники черники семейства брусничных, предназначенных для использования в качестве лекарственного сырья
Взамен: ГОСТ 3322-46
Список изменений: №0 от 11.05.1988 (рег. 11.05.1988) «Срок действия продлен»
№1 от 01.07.1990 (рег. 23.04.1990) «Поправка»


ГОСТ 3322-69
ГОСТ 3322-69
Автор: 
Домашняя страница автора: 

ГОСТ 3673-69

E-mail автора: 

Лайка. Технические условия

Обозначение: ГОСТ 3673-69
Статус: действующий
Название рус.: Лайка. Технические условия
Название англ.: Tawed. Specifications
Дата актуализации текста: 19.06.2012
Дата актуализации описания: 19.06.2012
Дата введения в действие: 01.01.1970
Область и условия применения: Настоящий стандарт распространяется на лайку алюминиевого (квасцового) метода дубления с применением сульфата или хлорида натрия.
Лайку применяют для изготовления перчаток и других кожгалантерейных изделий
Взамен: ГОСТ 3673-47
Список изменений: №0 от 23.06.1987 (рег. 23.06.1987) «Срок действия продлен»
№1 от 01.08.1982 (рег. 30.03.1982) «Срок действия продлен»


ГОСТ 3673-69
ГОСТ 3673-69
ГОСТ 3673-69
ГОСТ 3673-69
ГОСТ 3673-69
ГОСТ 3673-69
Автор: 
Домашняя страница автора: 

ГОСТ 3128-70

E-mail автора: 

Штифты цилиндрические незакаленные. Технические условия

Обозначение: ГОСТ 3128-70
Статус: действующий
Название рус.: Штифты цилиндрические незакаленные. Технические условия
Название англ.: Cylindrical pins unhardened. Construction and dimensions
Дата актуализации текста: 19.06.2012
Дата актуализации описания: 19.06.2012
Дата введения в действие: 01.07.1971
Область и условия применения: Настоящий стандарт распространяется на цилиндрические незакаленные штифты классов точности А, В и С диаметром от 0,6 до 50 мм
Взамен: ГОСТ 3128-60
Список изменений: №1 от 01.02.1979 (рег. 29.01.1979) «Срок действия продлен»
№2 от 01.07.1984 (рег. 17.12.1983) «Срок действия продлен»
№3 от 01.01.1989 (рег. 11.05.1988) «Поправка»


ГОСТ 3128-70
ГОСТ 3128-70
ГОСТ 3128-70
ГОСТ 3128-70
ГОСТ 3128-70
ГОСТ 3128-70
ГОСТ 3128-70
ГОСТ 3128-70
Автор: 
Домашняя страница автора: 

ГОСТ 3489.28-71

E-mail автора: 

Шрифты типографские. Гарнитуры Кудряшевская словарная и Кудряшевская словарная рубленая (для алфавитов на русской и латинской графических основах). Назначение. Рисунок. Линия шрифта. Емкость

Обозначение: ГОСТ 3489.28-71
Статус: действующий
Название рус.: Шрифты типографские. Гарнитуры Кудряшевская словарная и Кудряшевская словарная рубленая (для алфавитов на русской и латинской графических основах). Назначение. Рисунок. Линия шрифта. Емкость
Название англ.: Printing types. Type families "Kudriashovskaya slovarnaya" and "Kudriashovskaya slovarnaya rublenaya" ( for alphabets of russian and roman graphic bases). Range of application. Design. Base line. Characters per 4 picas
Дата актуализации текста: 19.06.2012
Дата актуализации описания: 19.06.2012
Дата введения в действие: 01.01.1973
Область и условия применения: Настоящий стандарт распространяется на шрифты Кудряшевской словарной и Кудряшевской словарной рубленой гарнитур, предназначенные для буквоотливного машинного и строкоотливного машинного способов набора.
Стандарт не распространяется на ассортимент знаков шрифтов, в том числе капительных
Взамен в части: ГОСТ 3489-57 в части разд. II, группы 3, гарнитуры Кудряшевская словарная и группы 4, гарнитуры Кудряшевская словарная рубленая


ГОСТ 3489.28-71
ГОСТ 3489.28-71
ГОСТ 3489.28-71
ГОСТ 3489.28-71
ГОСТ 3489.28-71
ГОСТ 3489.28-71
Автор: 
Домашняя страница автора: 

ГОСТ 3489.20-71

E-mail автора: 

Шрифты типографские. Гарнитура "Акцидентная Телингатера"( для алфавитов на русской и латинской графических основах). Назначение. Рисунок. Линия шрифта. Емкость

Обозначение: ГОСТ 3489.20-71
Статус: действующий
Название рус.: Шрифты типографские. Гарнитура "Акцидентная Телингатера"( для алфавитов на русской и латинской графических основах). Назначение. Рисунок. Линия шрифта. Емкость
Название англ.: Printing types. Type family "Aktsidentnaya Telingatera" ( for alphabets of russian and roman graphic bases). Range of application. Design. Base line. Characters per 4 picas
Дата актуализации текста: 19.06.2012
Дата актуализации описания: 19.06.2012
Дата введения в действие: 01.01.1973
Область и условия применения: Настоящий стандарт распространяется на шрифты гарнитуры “Акцидентная
Телингатера“, предназначенные для ручного и строкоотливного крупнокегельного ручного способов набора.
Стандарт не распространяется на ассортимент знаков шрифтов, в том числе капительных


ГОСТ 3489.20-71
ГОСТ 3489.20-71
ГОСТ 3489.20-71
ГОСТ 3489.20-71
ГОСТ 3489.20-71
Автор: 
Домашняя страница автора: 

Страницы