Наша группа Вконтакте vk.com/4ertimcom

ГОСТ 3001-4000

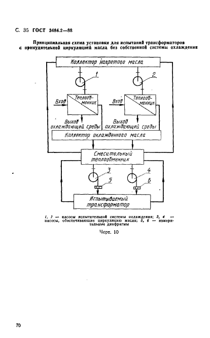
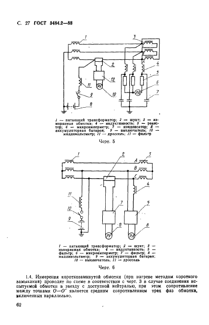
ГОСТ 3484.2-88

E-mail автора: 

Трансформаторы силовые. Испытания на нагрев

Обозначение: ГОСТ 3484.2-88
Статус: действующий
Название рус.: Трансформаторы силовые. Испытания на нагрев
Название англ.: Power transformers. Heating tests
Дата актуализации текста: 19.06.2012
Дата актуализации описания: 19.06.2012
Дата введения в действие: 01.01.1990
Область и условия применения: Настоящий стандарт распространяется на силовые трансформаторы общего назначения и устанавливает объем, условия и методы испытания на нагрев, а также требования к измерению температур элементов транчформаторов и окружающей среды
Взамен в части: ГОСТ 3484-77 в части испытаний на нагрев
Список изменений: №1 от 01.07.1992 (рег. 27.12.1991) «Срок действия продлен»


ГОСТ 3484.2-88
ГОСТ 3484.2-88
ГОСТ 3484.2-88
ГОСТ 3484.2-88
ГОСТ 3484.2-88
ГОСТ 3484.2-88
ГОСТ 3484.2-88
ГОСТ 3484.2-88
ГОСТ 3484.2-88
ГОСТ 3484.2-88
ГОСТ 3484.2-88
ГОСТ 3484.2-88
ГОСТ 3484.2-88
ГОСТ 3484.2-88
ГОСТ 3484.2-88
ГОСТ 3484.2-88
ГОСТ 3484.2-88
ГОСТ 3484.2-88
ГОСТ 3484.2-88
ГОСТ 3484.2-88
ГОСТ 3484.2-88
ГОСТ 3484.2-88
ГОСТ 3484.2-88
ГОСТ 3484.2-88
ГОСТ 3484.2-88
ГОСТ 3484.2-88
ГОСТ 3484.2-88
ГОСТ 3484.2-88
ГОСТ 3484.2-88
ГОСТ 3484.2-88
ГОСТ 3484.2-88
ГОСТ 3484.2-88
ГОСТ 3484.2-88
ГОСТ 3484.2-88
ГОСТ 3484.2-88
ГОСТ 3484.2-88
ГОСТ 3484.2-88
ГОСТ 3484.2-88
ГОСТ 3484.2-88
Автор: 
Домашняя страница автора: 

ГОСТ 3484.4-88

E-mail автора: 

Трансформаторы силовые. Испытания баков на механическую прочность

Обозначение: ГОСТ 3484.4-88
Статус: действующий
Название рус.: Трансформаторы силовые. Испытания баков на механическую прочность
Название англ.: Power transformers. Tank tests for strength
Дата актуализации текста: 19.06.2012
Дата актуализации описания: 19.06.2012
Дата введения в действие: 01.01.1990
Область и условия применения: Настоящий стандарт устанавливает рорядок проведения статистических испытаний баков силовых трансформаторов на прочность
Взамен в части: ГОСТ 3484-77 в части разд. 10


ГОСТ 3484.4-88
ГОСТ 3484.4-88
ГОСТ 3484.4-88
ГОСТ 3484.4-88
ГОСТ 3484.4-88
ГОСТ 3484.4-88
ГОСТ 3484.4-88
Автор: 
Домашняя страница автора: 

ГОСТ 3343-89

E-mail автора: 

Продукты томатные концентрированные. Общие технические условия

Обозначение: ГОСТ 3343-89
Статус: действующий
Название рус.: Продукты томатные концентрированные. Общие технические условия
Название англ.: Tomato foods concentrated. General specifications
Дата актуализации текста: 19.06.2012


ГОСТ 3343-89
ГОСТ 3343-89
ГОСТ 3343-89
ГОСТ 3343-89
ГОСТ 3343-89
ГОСТ 3343-89
ГОСТ 3343-89
ГОСТ 3343-89
ГОСТ 3343-89
ГОСТ 3343-89
Автор: 
Домашняя страница автора: 

ГОСТ 3189-89

E-mail автора: 

Подшипники шариковые и роликовые. Система условных обозначений

Обозначение: ГОСТ 3189-89
Статус: действующий
Название рус.: Подшипники шариковые и роликовые. Система условных обозначений
Название англ.: Ball and roller bearings. Identification code
Дата актуализации текста: 19.06.2012
Дата актуализации описания: 19.06.2012
Дата введения в действие: 01.01.1991
Область и условия применения: Настоящий стандарт распространяется на шариковые и роликовые подшипники (кроме подшипников по ГОСТ 4060 и ГОСТ 24310) и устанавливает систему условных обозначений подшипников
Взамен: ГОСТ 3189-75


ГОСТ 3189-89
ГОСТ 3189-89
ГОСТ 3189-89
ГОСТ 3189-89
ГОСТ 3189-89
ГОСТ 3189-89
ГОСТ 3189-89
ГОСТ 3189-89
ГОСТ 3189-89
ГОСТ 3189-89
ГОСТ 3189-89
ГОСТ 3189-89
Автор: 
Домашняя страница автора: 

ГОСТ 3778-98

E-mail автора: 

Свинец. Технические условия

Обозначение: ГОСТ 3778-98
Статус: действующий
Название рус.: Свинец. Технические условия
Название англ.: Lead. Specifications
Дата актуализации текста: 19.06.2012
Дата актуализации описания: 19.06.2012
Дата введения в действие: 01.07.2001
Область и условия применения: Настоящий стандарт распространяется на свинец в чушках, блоках и слитках
Взамен: ГОСТ 3778-77


ГОСТ 3778-98
ГОСТ 3778-98
ГОСТ 3778-98
ГОСТ 3778-98
ГОСТ 3778-98
ГОСТ 3778-98
ГОСТ 3778-98
ГОСТ 3778-98
ГОСТ 3778-98
ГОСТ 3778-98
ГОСТ 3778-98
Автор: 
Домашняя страница автора: 

ГОСТ 3317-90

E-mail автора: 

Сеянцы деревьев и кустарников. Технические условия

Обозначение: ГОСТ 3317-90
Статус: действующий
Название рус.: Сеянцы деревьев и кустарников. Технические условия
Название англ.: Seedlings of trees and shrubs. Specifications
Дата актуализации текста: 19.06.2012
Дата актуализации описания: 19.06.2012
Дата введения в действие: 01.07.1991
Область и условия применения: Настоящий стандарт распространяется на сеянцы деревьев и кустарников, выращенные в посевном отделении питомника и предназначенные для закладки лесных культур и защитных лесных насаждений
Взамен: ГОСТ 3317-77


ГОСТ 3317-90
ГОСТ 3317-90
ГОСТ 3317-90
ГОСТ 3317-90
ГОСТ 3317-90
ГОСТ 3317-90
ГОСТ 3317-90
ГОСТ 3317-90
ГОСТ 3317-90
ГОСТ 3317-90
ГОСТ 3317-90
ГОСТ 3317-90
ГОСТ 3317-90
ГОСТ 3317-90
ГОСТ 3317-90
ГОСТ 3317-90
ГОСТ 3317-90
ГОСТ 3317-90
ГОСТ 3317-90
ГОСТ 3317-90
ГОСТ 3317-90
ГОСТ 3317-90
ГОСТ 3317-90
ГОСТ 3317-90
ГОСТ 3317-90
ГОСТ 3317-90
ГОСТ 3317-90
ГОСТ 3317-90
ГОСТ 3317-90
ГОСТ 3317-90
ГОСТ 3317-90
ГОСТ 3317-90
ГОСТ 3317-90
ГОСТ 3317-90
ГОСТ 3317-90
ГОСТ 3317-90
ГОСТ 3317-90
ГОСТ 3317-90
ГОСТ 3317-90
ГОСТ 3317-90
ГОСТ 3317-90
ГОСТ 3317-90
ГОСТ 3317-90
ГОСТ 3317-90
ГОСТ 3317-90
ГОСТ 3317-90
ГОСТ 3317-90
Автор: 
Домашняя страница автора: 

ГОСТ 3520-92

E-mail автора: 

Материалы оптические. Методы определения показателей ослабления

Обозначение: ГОСТ 3520-92
Статус: действующий
Название рус.: Материалы оптические. Методы определения показателей ослабления
Название англ.: Optical materials. Methods for determination of linear attenuation coefficient
Дата актуализации текста: 19.06.2012
Дата актуализации описания: 19.06.2012
Дата введения в действие: 01.07.1993
Область и условия применения: Настоящий стандарт распространяется на оптические материалы: стекло бесцветное и цветное, кварцевое стекло, кристаллические материалы и устанавливает используемые при контроле методы определения спектрального показателя ослабления в области спектра от 0,1 до 25 мкм и показателя ослабления для источника А по ГОСТ 7721
Взамен: ГОСТ 3520-84 ОСТ 3-6410-88 ОСТ 3-106-81


ГОСТ 3520-92
ГОСТ 3520-92
ГОСТ 3520-92
ГОСТ 3520-92
ГОСТ 3520-92
ГОСТ 3520-92
ГОСТ 3520-92
ГОСТ 3520-92
ГОСТ 3520-92
ГОСТ 3520-92
ГОСТ 3520-92
ГОСТ 3520-92
ГОСТ 3520-92
ГОСТ 3520-92
ГОСТ 3520-92
ГОСТ 3520-92
ГОСТ 3520-92
ГОСТ 3520-92
ГОСТ 3520-92
ГОСТ 3520-92
Автор: 
Домашняя страница автора: 

ГОСТ 3815.2-93

E-mail автора: 

Материалы ворсовые. Метод определения поверхностной плотности ворса

Обозначение: ГОСТ 3815.2-93
Статус: действующий
Название рус.: Материалы ворсовые. Метод определения поверхностной плотности ворса
Название англ.: Pile materials. Methods for determination surface density of pile
Дата актуализации текста: 19.06.2012
Дата актуализации описания: 19.06.2012
Дата введения в действие: 01.01.1995
Область и условия применения: Настоящий стандарт распространяется на тканый искусственный мех и ворсовые ткани с разрезным ворсом из натуральных и химических нитей и пряжи, а также пряжи из смеси натуральных и химических волокон и устанавливает метод определения поверхностной плотности ворса ворсового материала
Взамен: ГОСТ 3815.2-77


ГОСТ 3815.2-93
ГОСТ 3815.2-93
ГОСТ 3815.2-93
ГОСТ 3815.2-93
Автор: 
Домашняя страница автора: 

ГОСТ 3852-93

E-mail автора: 

Плоды боярышника. Технические условия

Обозначение: ГОСТ 3852-93
Статус: действующий
Название рус.: Плоды боярышника. Технические условия
Название англ.: Fruits of hawthorn. Specifications
Дата актуализации текста: 19.06.2012
Дата актуализации описания: 19.06.2012
Дата введения в действие: 01.01.1995
Область и условия применения: Настоящий стандарт распространяется на высушенные зрелые плоды дикорастущих и культивируемых кустарников или небольших деревьев различных видов боярышников
Взамен: ГОСТ 3852-75


ГОСТ 3852-93
ГОСТ 3852-93
ГОСТ 3852-93
ГОСТ 3852-93
ГОСТ 3852-93
ГОСТ 3852-93
ГОСТ 3852-93
ГОСТ 3852-93
ГОСТ 3852-93
ГОСТ 3852-93
Автор: 
Домашняя страница автора: 

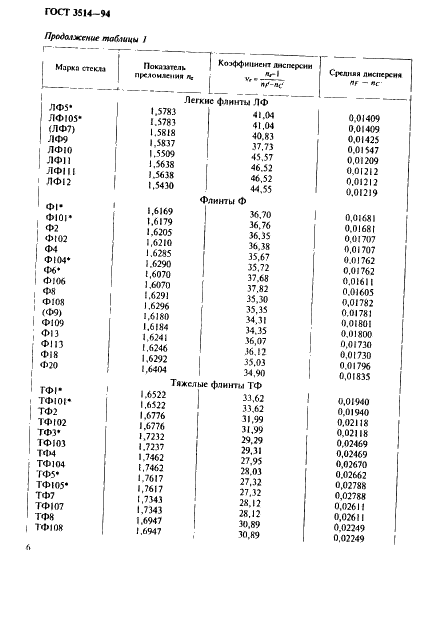
ГОСТ 3514-94

E-mail автора: 

Стекло оптическое бесцветное. Технические условия

Обозначение: ГОСТ 3514-94
Статус: действующий
Название рус.: Стекло оптическое бесцветное. Технические условия
Название англ.: Colourless optical glass. Specifications
Дата актуализации текста: 19.06.2012
Дата актуализации описания: 19.06.2012
Дата введения в действие: 01.01.1997
Область и условия применения: Настоящий стандарт распространяется на оптическое бесцветное неорганическое стекло, выпускаемое в заготовках размером (диаметром или с наибольшей стороной) не более 500 мм по ГОСТ 13240 для нужд экономики страны и экспорта
Взамен в части: ГОСТ 3514-76, кроме разд. 2


ГОСТ 3514-94
ГОСТ 3514-94
ГОСТ 3514-94
ГОСТ 3514-94
ГОСТ 3514-94
ГОСТ 3514-94
ГОСТ 3514-94
ГОСТ 3514-94
ГОСТ 3514-94
ГОСТ 3514-94
ГОСТ 3514-94
ГОСТ 3514-94
ГОСТ 3514-94
ГОСТ 3514-94
ГОСТ 3514-94
ГОСТ 3514-94
ГОСТ 3514-94
ГОСТ 3514-94
ГОСТ 3514-94
ГОСТ 3514-94
ГОСТ 3514-94
ГОСТ 3514-94
ГОСТ 3514-94
ГОСТ 3514-94
ГОСТ 3514-94
ГОСТ 3514-94
ГОСТ 3514-94
ГОСТ 3514-94
ГОСТ 3514-94
ГОСТ 3514-94
ГОСТ 3514-94
ГОСТ 3514-94
ГОСТ 3514-94
ГОСТ 3514-94
ГОСТ 3514-94
ГОСТ 3514-94
ГОСТ 3514-94
ГОСТ 3514-94
ГОСТ 3514-94
Автор: 
Домашняя страница автора: 

Страницы