Наша группа Вконтакте vk.com/4ertimcom

ГОСТ 4001-5000

ГОСТ 4645-81

E-mail автора: 

Презервативы резиновые. Технические условия

Обозначение: ГОСТ 4645-81
Статус: действующий
Название рус.: Презервативы резиновые. Технические условия
Название англ.: Rubber condoms. Specifications
Дата актуализации текста: 19.06.2012
Дата актуализации описания: 19.06.2012
Дата введения в действие: 01.01.1983
Область и условия применения: Настоящий стандарт распространяется на резиновые презервативы - профилактическое и противозачаточное средство
Взамен: ГОСТ 4645-49
Список изменений: №1 от 01.01.1988 (рег. 07.07.1987) «Срок действия продлен»
№2 от 01.07.1991 (рег. 29.01.1991) «Срок действия продлен»
№3 от 01.07.1996 (рег. 27.02.1996) «Срок действия продлен»


ГОСТ 4645-81
ГОСТ 4645-81
ГОСТ 4645-81
ГОСТ 4645-81
ГОСТ 4645-81
ГОСТ 4645-81
ГОСТ 4645-81
ГОСТ 4645-81
ГОСТ 4645-81
ГОСТ 4645-81
ГОСТ 4645-81
Автор: 
Домашняя страница автора: 

ГОСТ 4427-82

E-mail автора: 

Апельсины. Технические условия

Обозначение: ГОСТ 4427-82
Статус: действующий
Название рус.: Апельсины. Технические условия
Название англ.: Oranges. Specifications
Дата актуализации текста: 19.06.2012
Дата актуализации описания: 19.06.2012
Дата введения в действие: 01.10.1983
Область и условия применения: Настоящий стандарт распространяется на апельсины, заготовляемые, отгружаемые, реализуемые для потребления в свежем виде и для промышленной переработки
Взамен: ГОСТ 4427-70
Список изменений: №0 от 01.01.2012 (рег. 08.12.2011) «Поправка к изменению»
№1 от 01.10.1988 (рег. 13.06.1988) «Срок действия продлен»
№2 от 01.01.1991 (рег. 11.09.1990) «Срок действия продлен»


ГОСТ 4427-82
ГОСТ 4427-82
ГОСТ 4427-82
ГОСТ 4427-82
ГОСТ 4427-82
Автор: 
Домашняя страница автора: 

ГОСТ 4429-82

E-mail автора: 

Лимоны. Технические условия

Обозначение: ГОСТ 4429-82
Статус: действующий
Название рус.: Лимоны. Технические условия
Название англ.: Lemons. Specifications
Дата актуализации текста: 19.06.2012
Дата актуализации описания: 19.06.2012
Дата введения в действие: 01.10.1983
Область и условия применения: Настоящий стандарт распространяется на лимоны, заготовляемые, отгружаемые, реализуемые для потребления в свежем виде и для промышленной переработки
Взамен: ГОСТ 4429-70
Список изменений: №0 от 01.01.2012 (рег. 08.12.2011) «Поправка к изменению»
№1 от 01.10.1988 (рег. 13.06.1988) «Срок действия продлен»
№2 от 01.01.1991 (рег. 11.09.1990) «Срок действия продлен»


ГОСТ 4429-82
ГОСТ 4429-82
ГОСТ 4429-82
Автор: 
Домашняя страница автора: 

ГОСТ 4860.2-83

E-mail автора: 

Сальники для электрических кабелей и проводов. Конструкция и основные размеры

Обозначение: ГОСТ 4860.2-83
Статус: действующий
Название рус.: Сальники для электрических кабелей и проводов. Конструкция и основные размеры
Название англ.: Glands for electric cables and wires. Design and basis dimensions
Дата актуализации текста: 19.06.2012
Дата актуализации описания: 19.06.2012
Дата введения в действие: 01.01.1985
Область и условия применения: Настоящий стандарт распространяется на сальники и их детали (гнезда, нажимные и превертные гайки, шайбы, заглушки, прокладки), предназначенные для уплотнения прохода одиночных электрических кабелей и проводов
Взамен: ГОСТ 4860.2-76 ГОСТ 4860.3-76 ГОСТ 4860.4-76 ГОСТ 4860.5-76 ГОСТ 4860.6-76 ГОСТ 4860.7-76 ГОСТ 4860.8-76
Список изменений: №1 от 01.03.1988 (рег. 15.10.1987) «Срок действия продлен»


ГОСТ 4860.2-83
ГОСТ 4860.2-83
ГОСТ 4860.2-83
ГОСТ 4860.2-83
ГОСТ 4860.2-83
ГОСТ 4860.2-83
ГОСТ 4860.2-83
ГОСТ 4860.2-83
ГОСТ 4860.2-83
ГОСТ 4860.2-83
ГОСТ 4860.2-83
ГОСТ 4860.2-83
ГОСТ 4860.2-83
ГОСТ 4860.2-83
ГОСТ 4860.2-83
ГОСТ 4860.2-83
ГОСТ 4860.2-83
ГОСТ 4860.2-83
ГОСТ 4860.2-83
ГОСТ 4860.2-83
ГОСТ 4860.2-83
ГОСТ 4860.2-83
ГОСТ 4860.2-83
ГОСТ 4860.2-83
Автор: 
Домашняя страница автора: 

ГОСТ 4545-88

E-mail автора: 

Вещества взрывчатые бризантные. Методы определения характеристик чувствительности к удару

Обозначение: ГОСТ 4545-88
Статус: действующий
Название рус.: Вещества взрывчатые бризантные. Методы определения характеристик чувствительности к удару
Название англ.: Explosives, high. Sensitivity characteristics determination for impact
Дата актуализации текста: 19.06.2012
Дата актуализации описания: 19.06.2012
Дата введения в действие: 01.07.1989
Область и условия применения: Настоящий стандарт распространяется на бризантные взрывчатые вещества (ВВ) и устанавливает методы определения характеристик чуствительности к удару:
- нижнего предела чувствительности к удару твердых ВВ на приборе 2;
- частости взрывов твердых ВВ в приборе 1 - только для ВВ, нижний предел чувствительности к удару грузом массой 10 кг которых составляет 50 мм и более;
- частости взрывов жидких ВВ в приборе 3;
- нижнего предела чувствительности к удару жидких ВВ в приборе 3
Взамен: ГОСТ 4545-80
Список изменений: №1 от 01.03.1999 (рег. 25.11.1998) «Срок действия продлен»


ГОСТ 4545-88
ГОСТ 4545-88
ГОСТ 4545-88
ГОСТ 4545-88
ГОСТ 4545-88
ГОСТ 4545-88
ГОСТ 4545-88
ГОСТ 4545-88
ГОСТ 4545-88
ГОСТ 4545-88
ГОСТ 4545-88
ГОСТ 4545-88
ГОСТ 4545-88
ГОСТ 4545-88
ГОСТ 4545-88
ГОСТ 4545-88
ГОСТ 4545-88
ГОСТ 4545-88
Автор: 
Домашняя страница автора: 

ГОСТ 4153-93

E-mail автора: 

Секаторы. Технические условия

Обозначение: ГОСТ 4153-93
Статус: действующий
Название рус.: Секаторы. Технические условия
Название англ.: Pruning shears. Specifications
Дата актуализации текста: 19.06.2012
Дата актуализации описания: 19.06.2012
Дата введения в действие: 01.01.1995
Область и условия применения: Настоящий стандарт распространяется на секаторы, предназначенные для обрезки плодовых деревьев, кустарников, виноградной лозы, нарезки черенков
Взамен: ГОСТ 4153-79


ГОСТ 4153-93
ГОСТ 4153-93
ГОСТ 4153-93
ГОСТ 4153-93
ГОСТ 4153-93
ГОСТ 4153-93
ГОСТ 4153-93
ГОСТ 4153-93
ГОСТ 4153-93
ГОСТ 4153-93
ГОСТ 4153-93
ГОСТ 4153-93
ГОСТ 4153-93
ГОСТ 4153-93
ГОСТ 4153-93
Автор: 
Домашняя страница автора: 

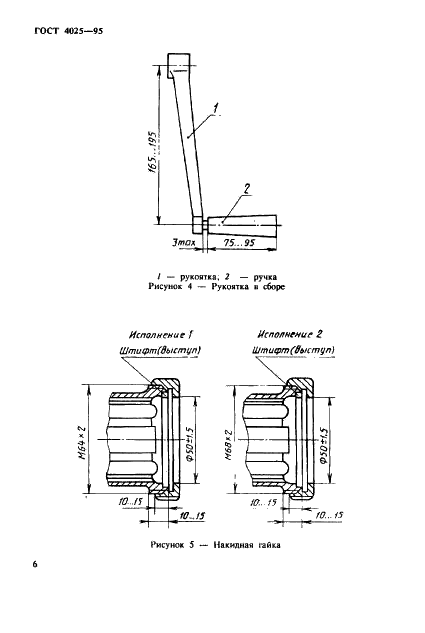
ГОСТ 4025-95

E-mail автора: 

Мясорубки бытовые. Технические условия

Обозначение: ГОСТ 4025-95
Статус: действующий
Название рус.: Мясорубки бытовые. Технические условия
Название англ.: Domestic meat mincers. Specifications
Дата актуализации текста: 19.06.2012
Дата актуализации описания: 19.06.2012
Дата введения в действие: 01.07.1996
Область и условия применения: Настоящий стандарт распространяется на бытовые шнековые мясорубки с ручным приводом, предназначенные для измельчения мяса, рыбы и других продуктов.
Стандарт не распространяется на мясорубки, выполняемые в виде насадок к кухонным машинам
Взамен: ГОСТ 4025-83


ГОСТ 4025-95
ГОСТ 4025-95
ГОСТ 4025-95
ГОСТ 4025-95
ГОСТ 4025-95
ГОСТ 4025-95
ГОСТ 4025-95
ГОСТ 4025-95
ГОСТ 4025-95
ГОСТ 4025-95
ГОСТ 4025-95
ГОСТ 4025-95
ГОСТ 4025-95
ГОСТ 4025-95
ГОСТ 4025-95
ГОСТ 4025-95
ГОСТ 4025-95
ГОСТ 4025-95
ГОСТ 4025-95
ГОСТ 4025-95
ГОСТ 4025-95
ГОСТ 4025-95
ГОСТ 4025-95
Автор: 
Домашняя страница автора: 

ГОСТ 4043-70

E-mail автора: 

Хвостовики плоские для протяжек. Типы и основные размеры

Обозначение: ГОСТ 4043-70
Статус: действующий
Название рус.: Хвостовики плоские для протяжек. Типы и основные размеры
Название англ.: Flat shanks for broaches. Types and main dimensions
Дата актуализации текста: 19.06.2012
Дата актуализации описания: 19.06.2012
Дата введения в действие: 01.07.1971
Область и условия применения: Настоящий стандарт распространяется на хвостовики плоские и плоские с выступом для протяжек
Взамен: ГОСТ 4043-61
Список изменений: №1 от 01.01.1973 (рег. 18.12.1972) «Срок действия продлен»
№2 от 01.01.1982 (рег. 30.12.1980) «Срок действия продлен»
№3 от 01.02.1988 (рег. 23.09.1987) «Срок действия продлен»


ГОСТ 4043-70
ГОСТ 4043-70
ГОСТ 4043-70
ГОСТ 4043-70
ГОСТ 4043-70
Автор: 
Домашняя страница автора: 

ГОСТ 4762-71

E-mail автора: 

Силикокальций. Технические условия

Обозначение: ГОСТ 4762-71
Статус: действующий
Название рус.: Силикокальций. Технические условия
Название англ.: Silico-calcium. Specifications
Дата актуализации текста: 19.06.2012
Дата актуализации описания: 19.06.2012
Дата введения в действие: 01.01.1973
Область и условия применения: Настоящий стандарт распространяется на силикокальций, предназначенный для раскисления сталей и сплавов, модифицирования чугуна и других целей.
Стандарт устанавливает требования к силикокальцию, предназначенному для нужд народного хозяйства и экспорта
Взамен: ГОСТ 4762-49
Список изменений: №1 от 01.07.1980 (рег. 28.03.1980) «Срок действия продлен»
№2 от 01.07.1986 (рег. 29.12.1985) «Срок действия продлен»
№3 от 01.02.1987 (рег. 11.08.1986) «Срок действия продлен»
№4 от 01.01.1990 (рег. 14.11.1988) «Срок действия продлен»


ГОСТ 4762-71
ГОСТ 4762-71
ГОСТ 4762-71
ГОСТ 4762-71
ГОСТ 4762-71
Автор: 
Домашняя страница автора: 

ГОСТ 4011-72

E-mail автора: 

Вода питьевая. Методы измерения массовой концентрации общего железа

Обозначение: ГОСТ 4011-72
Статус: действующий
Название рус.: Вода питьевая. Методы измерения массовой концентрации общего железа
Название англ.: Driking water. Methods for determination of total iron
Дата актуализации текста: 19.06.2012
Дата актуализации описания: 19.06.2012
Дата введения в действие: 01.01.1974
Область и условия применения: Настоящий стандарт распространяется на питьевую воду и устанавливает колориметрические методы измерения массовой концентрации общего железа
Взамен: ГОСТ 4011-48
Список изменений: №1 от 01.02.1982 (рег. 02.09.1981) «Срок действия продлен»
№2 от 01.06.1987 (рег. 14.01.1987) «Поправка»


ГОСТ 4011-72
ГОСТ 4011-72
ГОСТ 4011-72
ГОСТ 4011-72
ГОСТ 4011-72
ГОСТ 4011-72
ГОСТ 4011-72
ГОСТ 4011-72
Автор: 
Домашняя страница автора: 

Страницы