Наша группа Вконтакте vk.com/4ertimcom

ГОСТ 4001-5000

ГОСТ 4418-75

E-mail автора: 

Концентрат марганцеворудный для покрытия электродов. Технические условия

Обозначение: ГОСТ 4418-75
Статус: действующий
Название рус.: Концентрат марганцеворудный для покрытия электродов. Технические условия
Название англ.: Manganese concentrate for covering electrodes. Specifications
Дата актуализации текста: 19.06.2012
Дата актуализации описания: 19.06.2012
Дата введения в действие: 01.01.1976
Область и условия применения: Настоящий стандарт распространяется на марганцеворудный концентрат, предназначенный для покрытия электродов, используемых при электродуговой сварке металлов
Взамен: ГОСТ 4418-48
Список изменений: №1 от 01.01.1986 (рег. 16.05.1985) «Поправка»
№2 от 01.01.1991 (рег. 22.06.1990) «Поправка»


ГОСТ 4418-75
ГОСТ 4418-75
ГОСТ 4418-75
Автор: 
Домашняя страница автора: 

ГОСТ 4997-75

E-mail автора: 

Ковры диэлектрические резиновые. Технические условия

Обозначение: ГОСТ 4997-75
Статус: действующий
Название рус.: Ковры диэлектрические резиновые. Технические условия
Название англ.: Dielectric rubber carpets. Specifications
Дата актуализации текста: 19.06.2012
Дата актуализации описания: 19.06.2012
Дата введения в действие: 01.01.1977
Область и условия применения: Настоящий стандарт распространяется на диэлектирические резиновые ковры, применяемые в качестве дополнительного защитного средства в закрытых электроустановках напряжением свыше 1000 В, кроме особо сырых помещений, и в открытых электроустановках в сухую погоду
Взамен: ГОСТ 4997-68
Список изменений: №1 от 01.01.1978 (рег. 16.12.1977) «Срок действия продлен»
№2 от 01.12.1980 (рег. 10.09.1980) «Срок действия продлен»
№3 от 01.01.1983 (рег. 28.07.1982) «Срок действия продлен»
№4 от 01.10.1983 (рег. 18.05.1983) «Срок действия продлен»
№5 от 01.04.1986 (рег. 04.11.1985) «Срок действия продлен»
№6 от 01.10.1990 (рег. 24.05.1990) «Срок действия продлен»
№7 от 01.01.2002 (рег. 15.12.2000) «Срок действия продлен»
Приложение №1: Изменение №7 к ГОСТ 4997-75


ГОСТ 4997-75
ГОСТ 4997-75
ГОСТ 4997-75
ГОСТ 4997-75
ГОСТ 4997-75
ГОСТ 4997-75
ГОСТ 4997-75
ГОСТ 4997-75
ГОСТ 4997-75
ГОСТ 4997-75
ГОСТ 4997-75
ГОСТ 4997-75
ГОСТ 4997-75
ГОСТ 4997-75
ГОСТ 4997-75


Изменение №7 к ГОСТ 4997-75

Обозначение: Изменение №7 к ГОСТ 4997-75
Дата введения в действие: 01.01.2002
Дата актуализации: 15.01.2008


Изменение №7 к ГОСТ 4997-75
Изменение №7 к ГОСТ 4997-75
Изменение №7 к ГОСТ 4997-75
Изменение №7 к ГОСТ 4997-75
Автор: 
Домашняя страница автора: 

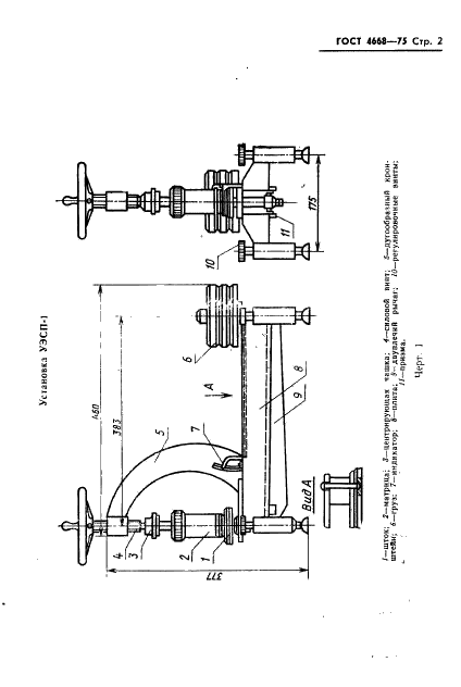
ГОСТ 4668-75

E-mail автора: 

Материалы углеродные. Метод измерения удельного электрического сопротивления порошка

Обозначение: ГОСТ 4668-75
Статус: действующий
Название рус.: Материалы углеродные. Метод измерения удельного электрического сопротивления порошка
Название англ.: Carbonaceous materials. Method of electrical resistance definition of powder
Дата актуализации текста: 19.06.2012
Дата актуализации описания: 19.06.2012
Дата введения в действие: 01.01.1977
Область и условия применения: Настоящий стандарт распространяется на каменноугольный, нефтяной, пековый и сланцевый коксы, антрацит, термоантрацит и искусственный графит и устанавливает метод измерений удельного электрического сопротивления в интервале от 10 в степени минус 5 до 10 в степени минус 1 Ом Х м
Взамен: ГОСТ 4668-65
Список изменений: №1 от 01.03.1982 (рег. 24.09.1981) «Срок действия продлен»
№2 от 01.01.1987 (рег. 20.08.1986) «Поправка»
№3 от 01.07.1992 (рег. 03.10.1991) «Срок действия продлен»


ГОСТ 4668-75
ГОСТ 4668-75
ГОСТ 4668-75
ГОСТ 4668-75
ГОСТ 4668-75
ГОСТ 4668-75
ГОСТ 4668-75
ГОСТ 4668-75
ГОСТ 4668-75
ГОСТ 4668-75
ГОСТ 4668-75
ГОСТ 4668-75
ГОСТ 4668-75
ГОСТ 4668-75
ГОСТ 4668-75
ГОСТ 4668-75
Автор: 
Домашняя страница автора: 

ГОСТ 4456-75

E-mail автора: 

Реактивы. Кадмий сернокислый

Обозначение: ГОСТ 4456-75
Статус: действующий
Название рус.: Реактивы. Кадмий сернокислый
Название англ.: Reagents. Cadmium sulphate. Specifications
Дата актуализации текста: 19.06.2012
Дата актуализации описания: 19.06.2012
Дата введения в действие: 01.07.1975
Область и условия применения: Настоящий стандарт распространяется на сернокислый кадмий, представляющий собой бесцветные кристаллы в массе белого цвета; растворим в воде, нерастворим в спирте; в сухом воздухе частично выветривается
Взамен: ГОСТ 4456-71
Список изменений: №1 от 01.03.1988 (рег. 03.08.1987) «Срок действия продлен»


ГОСТ 4456-75
ГОСТ 4456-75
ГОСТ 4456-75
ГОСТ 4456-75
ГОСТ 4456-75
ГОСТ 4456-75
ГОСТ 4456-75
ГОСТ 4456-75
ГОСТ 4456-75
ГОСТ 4456-75
ГОСТ 4456-75
ГОСТ 4456-75
ГОСТ 4456-75
ГОСТ 4456-75
Автор: 
Домашняя страница автора: 

ГОСТ 4171-76

E-mail автора: 

Реактивы. Натрия сульфат 10-водный. Технические условия

Обозначение: ГОСТ 4171-76
Статус: действующий
Название рус.: Реактивы. Натрия сульфат 10-водный. Технические условия
Название англ.: Reagents. Sodium sulphate 10-aqueous. Specifications
Дата актуализации текста: 19.06.2012
Дата актуализации описания: 19.06.2012
Дата введения в действие: 01.01.1978
Область и условия применения: Настоящий стандарт распространяется на 10-водный сульфат натрия, представляющий собой бесцветные кристаллы, легко выветривающиеся на воздухе и растворимые в воде
Взамен: ГОСТ 4171-66
Список изменений: №1 от 01.06.1987 (рег. 24.12.1986) «Срок действия продлен»
№2 от 01.01.1992 (рег. 11.12.1990) «Поправка»
Приложение №1: Изменение №1 к ГОСТ 4171-76
Приложение №2: Изменение №2 к ГОСТ 4171-76


ГОСТ 4171-76
ГОСТ 4171-76
ГОСТ 4171-76
ГОСТ 4171-76
ГОСТ 4171-76
ГОСТ 4171-76
ГОСТ 4171-76
ГОСТ 4171-76
ГОСТ 4171-76
ГОСТ 4171-76
ГОСТ 4171-76
ГОСТ 4171-76
ГОСТ 4171-76
ГОСТ 4171-76
ГОСТ 4171-76
ГОСТ 4171-76


Изменение №1 к ГОСТ 4171-76

Обозначение: Изменение №1 к ГОСТ 4171-76
Дата введения в действие: 01.06.1987
Дата актуализации: 15.01.2008


Изменение №1 к ГОСТ 4171-76
Изменение №1 к ГОСТ 4171-76
Изменение №1 к ГОСТ 4171-76
Изменение №1 к ГОСТ 4171-76
Изменение №1 к ГОСТ 4171-76
Изменение №1 к ГОСТ 4171-76
Изменение №1 к ГОСТ 4171-76


Изменение №2 к ГОСТ 4171-76

Обозначение: Изменение №2 к ГОСТ 4171-76
Дата введения в действие: 01.01.1992
Дата актуализации: 15.01.2008


Изменение №2 к ГОСТ 4171-76
Изменение №2 к ГОСТ 4171-76
Изменение №2 к ГОСТ 4171-76
Изменение №2 к ГОСТ 4171-76
Автор: 
Домашняя страница автора: 

ГОСТ 4463-76

E-mail автора: 

Реактивы. Натрий фтористый. Технические условия

Обозначение: ГОСТ 4463-76
Статус: действующий
Название рус.: Реактивы. Натрий фтористый. Технические условия
Название англ.: Reagents. Sodium fluoride. Specifications
Дата актуализации текста: 19.06.2012
Дата актуализации описания: 19.06.2012
Дата введения в действие: 01.07.1977
Область и условия применения: Настоящий стандарт распространяется на фтористый натрий, представляющий собой кристаллический порошок, трудно растворимый в воде, нерастворимый в спирте
Взамен: ГОСТ 4463-66
Список изменений: №0 от 30.05.2002 (рег. 30.05.2002) «Дата введения перенесена»
№1 от 01.03.1982 (рег. 16.11.1981) «Срок действия продлен»
№2 от 01.02.1987 (рег. 29.10.1986) «Срок действия продлен»
№3 от 01.05.1992 (рег. 25.09.1991) «Срок действия продлен»
Приложение №1: Поправка к ГОСТ 4463-76


ГОСТ 4463-76
ГОСТ 4463-76
ГОСТ 4463-76
ГОСТ 4463-76
ГОСТ 4463-76
ГОСТ 4463-76
ГОСТ 4463-76
ГОСТ 4463-76
ГОСТ 4463-76
ГОСТ 4463-76
ГОСТ 4463-76
ГОСТ 4463-76
ГОСТ 4463-76
ГОСТ 4463-76
ГОСТ 4463-76
ГОСТ 4463-76
ГОСТ 4463-76
ГОСТ 4463-76
ГОСТ 4463-76
ГОСТ 4463-76
ГОСТ 4463-76
ГОСТ 4463-76
ГОСТ 4463-76


Поправка к ГОСТ 4463-76

Обозначение: Поправка к ГОСТ 4463-76
Дата введения в действие: 30.05.2002
Дата актуализации: 15.01.2008


Поправка к ГОСТ 4463-76
Автор: 
Домашняя страница автора: 

ГОСТ 4530-76

E-mail автора: 

Реактивы. Кальций углекислый. Технические условия

Обозначение: ГОСТ 4530-76
Статус: действующий
Название рус.: Реактивы. Кальций углекислый. Технические условия
Название англ.: Reagents. Calcium carbonate. Specifications
Дата актуализации текста: 19.06.2012
Дата актуализации описания: 19.06.2012
Дата введения в действие: 01.07.1977
Область и условия применения: Настоящий стандарт распространяется на углекислый кальций, который представляет собой порошок белого цвета, не растворим в воде, растворим в кислотах
Взамен: ГОСТ 4530-66
Список изменений: №1 от 01.04.1987 (рег. 29.10.1986) «Срок действия продлен»
№2 от 01.07.1991 (рег. 26.12.1990) «Срок действия продлен»


ГОСТ 4530-76
ГОСТ 4530-76
ГОСТ 4530-76
ГОСТ 4530-76
ГОСТ 4530-76
ГОСТ 4530-76
ГОСТ 4530-76
ГОСТ 4530-76
ГОСТ 4530-76
ГОСТ 4530-76
ГОСТ 4530-76
ГОСТ 4530-76
Автор: 
Домашняя страница автора: 

ГОСТ 4221-76

E-mail автора: 

Реактивы. Калий углекислый. Технические условия

Обозначение: ГОСТ 4221-76
Статус: действующий
Название рус.: Реактивы. Калий углекислый. Технические условия
Название англ.: Reagents. Potassium carbonate. Specifications
Дата актуализации текста: 19.06.2012
Дата актуализации описания: 19.06.2012
Дата введения в действие: 01.01.1977
Область и условия применения: Настоящий стандарт распространяется на углекислый калий, который представляет собой порошок или комочки белого цвета, легко растворим в воде, гигроскопичен, нерастворим в спирте и эфире
Взамен: ГОСТ 4221-65
Список изменений: №0 от 01.12.1987 (рег. 01.12.1987) «Дата введения перенесена»
№1 от 01.12.1986 (рег. 17.07.1986) «Поправка»
№2 от 01.01.1992 (рег. 27.06.1991) «Срок действия продлен»


ГОСТ 4221-76
ГОСТ 4221-76
ГОСТ 4221-76
ГОСТ 4221-76
ГОСТ 4221-76
ГОСТ 4221-76
ГОСТ 4221-76
ГОСТ 4221-76
ГОСТ 4221-76
ГОСТ 4221-76
ГОСТ 4221-76
ГОСТ 4221-76
ГОСТ 4221-76
ГОСТ 4221-76
ГОСТ 4221-76
Автор: 
Домашняя страница автора: 

ГОСТ 4288-76

E-mail автора: 

Изделия кулинарные и полуфабрикаты из рубленого мяса. Правила приемки и методы испытаний

Обозначение: ГОСТ 4288-76
Статус: действующий
Название рус.: Изделия кулинарные и полуфабрикаты из рубленого мяса. Правила приемки и методы испытаний
Название англ.: Culinary products and half-finished products of minced meat. Rules of acceptance and test methods
Дата актуализации текста: 19.06.2012
Дата актуализации описания: 19.06.2012
Дата введения в действие: 01.01.1977
Область и условия применения: Настоящий стандарт распространяется на кулинарные изделия и полуфабрикаты из рубленного мяса (котлеты, битки, шницели, зразы, рулеты, бифштексы) и устанавливает правила приемки и методы их испытаний
Взамен: ГОСТ 4288-65
Список изменений: №0 от 01.01.2008 (рег. 27.12.2006) «Поправка к изменению»
№0 от 01.01.2013 (рег. 12.07.2011) «Поправка к изменению»
№1 от 01.01.1979 (рег. 13.07.1978) «Срок действия продлен»
№2 от 01.07.1984 (рег. 13.01.1984) «Срок действия продлен»
№3 от 01.07.1989 (рег. 09.12.1988) «Срок действия продлен»


ГОСТ 4288-76
ГОСТ 4288-76
ГОСТ 4288-76
ГОСТ 4288-76
ГОСТ 4288-76
ГОСТ 4288-76
ГОСТ 4288-76
ГОСТ 4288-76
ГОСТ 4288-76
ГОСТ 4288-76
ГОСТ 4288-76
ГОСТ 4288-76
ГОСТ 4288-76
ГОСТ 4288-76
ГОСТ 4288-76
ГОСТ 4288-76
Автор: 
Домашняя страница автора: 

ГОСТ 4172-76

E-mail автора: 

Реактивы. Натрий фосфорнокислый двузамещенный 12-водный. Технические условия

Обозначение: ГОСТ 4172-76
Статус: действующий
Название рус.: Реактивы. Натрий фосфорнокислый двузамещенный 12-водный. Технические условия
Название англ.: Reagents. Disodium hydrogen phosphate dodecahydrate. Specification
Дата актуализации текста: 19.06.2012
Дата актуализации описания: 19.06.2012
Дата введения в действие: 01.07.1977
Область и условия применения: Настоящий стандарт распространяется на 12-водный двузамещенный фосфорно-кислый натрий, представляющий собой бесцветные, прозрачные кристаллы, выветривающиеся в сухом воздухе, растворимые в воде
Взамен: ГОСТ 4172-66
Список изменений: №1 от 01.09.1982 (рег. 19.04.1982) «Срок действия продлен»
№2 от 01.03.1987 (рег. 28.10.1986) «Срок действия продлен»
№3 от 01.07.1992 (рег. 27.09.1991) «Срок действия продлен»


ГОСТ 4172-76
ГОСТ 4172-76
ГОСТ 4172-76
ГОСТ 4172-76
ГОСТ 4172-76
ГОСТ 4172-76
ГОСТ 4172-76
ГОСТ 4172-76
ГОСТ 4172-76
ГОСТ 4172-76
ГОСТ 4172-76
ГОСТ 4172-76
ГОСТ 4172-76
ГОСТ 4172-76
ГОСТ 4172-76
ГОСТ 4172-76
Автор: 
Домашняя страница автора: 

Страницы