Наша группа Вконтакте vk.com/4ertimcom

ГОСТ 4001-5000

ГОСТ 4237-76

E-mail автора: 

Реактивы. Натрий двухромовокислый 2-водный. Технические условия

Обозначение: ГОСТ 4237-76
Статус: действующий
Название рус.: Реактивы. Натрий двухромовокислый 2-водный. Технические условия
Название англ.: Reagents. Sodiumdichromate. Specifications
Дата актуализации текста: 19.06.2012
Дата актуализации описания: 19.06.2012
Дата введения в действие: 01.01.1978
Область и условия применения: Настоящий стандарт распространяется на 2-водный двухромовокислый натрий, который представляет собой гигроскопичные желто-красные кристаллы, растворимые в воде
Взамен: ГОСТ 4237-66
Список изменений: №1 от 01.01.1983 (рег. 19.07.1982) «Срок действия продлен»
№2 от 01.07.1992 (рег. 29.12.1991) «Поправка»


ГОСТ 4237-76
ГОСТ 4237-76
ГОСТ 4237-76
ГОСТ 4237-76
ГОСТ 4237-76
ГОСТ 4237-76
ГОСТ 4237-76
ГОСТ 4237-76
ГОСТ 4237-76
ГОСТ 4237-76
ГОСТ 4237-76
ГОСТ 4237-76
ГОСТ 4237-76
ГОСТ 4237-76
ГОСТ 4237-76
Автор: 
Домашняя страница автора: 

ГОСТ 4971-76

E-mail автора: 

Заготовки клепки для деревянных бочек под пиво. Технические условия

Обозначение: ГОСТ 4971-76
Статус: действующий
Название рус.: Заготовки клепки для деревянных бочек под пиво. Технические условия
Название англ.: Stabe billets for wooden barrels for beer. Specifications
Дата актуализации текста: 19.06.2012
Дата актуализации описания: 19.06.2012
Дата введения в действие: 01.01.1978
Область и условия применения: Настоящий стандарт распространяется на заготовки клепки, применяемые для изготовления бочек под пиво
Взамен: ГОСТ 4971-59
Список изменений: №1 от 01.11.1979 (рег. 27.07.1979) «Срок действия продлен»
№2 от 01.01.1990 (рег. 09.06.1989) «Поправка»


ГОСТ 4971-76
ГОСТ 4971-76
ГОСТ 4971-76
ГОСТ 4971-76
ГОСТ 4971-76
Автор: 
Домашняя страница автора: 

ГОСТ 4199-76

E-mail автора: 

Реактивы. Натрий тетраборнокислый 10-водный. Технические условия

Обозначение: ГОСТ 4199-76
Статус: действующий
Название рус.: Реактивы. Натрий тетраборнокислый 10-водный. Технические условия
Название англ.: Reagents. 10-aqueous sodium tetraborate. Specifications
Дата актуализации текста: 19.06.2012
Дата актуализации описания: 19.06.2012
Дата введения в действие: 01.01.1978
Область и условия применения: Настоящий стандарт распространяется на 10-водный тетраборнокислый натрий, который представляет собой прозрачные бесцветные кристаллы или кристаллический порошок; растворим в воде; на воздухе выветривается
Взамен: ГОСТ 4199-66
Список изменений: №1 от 01.12.1980 (рег. 18.07.1980) «Срок действия продлен»
№2 от 01.01.1988 (рег. 16.06.1987) «Срок действия продлен»


ГОСТ 4199-76
ГОСТ 4199-76
ГОСТ 4199-76
ГОСТ 4199-76
ГОСТ 4199-76
ГОСТ 4199-76
ГОСТ 4199-76
ГОСТ 4199-76
ГОСТ 4199-76
ГОСТ 4199-76
ГОСТ 4199-76
ГОСТ 4199-76
ГОСТ 4199-76
ГОСТ 4199-76
ГОСТ 4199-76
ГОСТ 4199-76
Автор: 
Домашняя страница автора: 

ГОСТ 4328-77

E-mail автора: 

Реактивы. Натрия гидроокись. Технические условия

Обозначение: ГОСТ 4328-77
Статус: действующий
Название рус.: Реактивы. Натрия гидроокись. Технические условия
Название англ.: Reagents. Sodium hydroxide. Specifications
Дата актуализации текста: 19.06.2012
Дата актуализации описания: 19.06.2012
Дата введения в действие: 01.07.1978
Область и условия применения: Настоящий стандарт распространяется на реактив - гидроокись натрия, который представляет собой белые чешуйки, куски или цилиндрические палочки с кристаллической структурой на изломе; сильно гигроскопичен, хорошо растворим в воде и спирте; быстро поглощает из воздуха углекислоту и воду и постепенно переходит в углекислый натрий
Взамен: ГОСТ 4328-66
Список изменений: №1 от 01.03.1980 (рег. 15.11.1979) «Срок действия продлен»
№2 от 01.07.1988 (рег. 04.12.1987) «Срок действия продлен»


ГОСТ 4328-77
ГОСТ 4328-77
ГОСТ 4328-77
ГОСТ 4328-77
ГОСТ 4328-77
ГОСТ 4328-77
ГОСТ 4328-77
ГОСТ 4328-77
ГОСТ 4328-77
ГОСТ 4328-77
ГОСТ 4328-77
ГОСТ 4328-77
Автор: 
Домашняя страница автора: 

ГОСТ 4238-77

E-mail автора: 

Реактивы. Квасцы алюмоаммонийные. Технические условия

Обозначение: ГОСТ 4238-77
Статус: действующий
Название рус.: Реактивы. Квасцы алюмоаммонийные. Технические условия
Название англ.: Reagents. Aluminium ammonium sulphate. Specifications
Дата актуализации текста: 19.06.2012
Дата актуализации описания: 19.06.2012
Дата введения в действие: 01.01.1979
Область и условия применения: Настоящий стандарт распространяется на реактив - алюмо-аммонийные квасцы, которые представляют собой бесцветные прозрачные кристаллы, растворимые в воде, нерастворимые в спирте. Продукт не токсичен
Взамен в части: ГОСТ 4238-68, кроме п. 2.8
Список изменений: №0 от 05.10.1987 (рег. 05.10.1987) «Срок действия продлен»
№0 от 01.12.1987 (рег. 01.12.1987) «Дата введения перенесена»


ГОСТ 4238-77
ГОСТ 4238-77
ГОСТ 4238-77
ГОСТ 4238-77
ГОСТ 4238-77
ГОСТ 4238-77
ГОСТ 4238-77
Автор: 
Домашняя страница автора: 

ГОСТ 4233-77

E-mail автора: 

Реактивы. Натрий хлористый. Технические условия

Обозначение: ГОСТ 4233-77
Статус: действующий
Название рус.: Реактивы. Натрий хлористый. Технические условия
Название англ.: Reagents. Sodium chloride. Specifications
Дата актуализации текста: 19.06.2012
Дата актуализации описания: 19.06.2012
Дата введения в действие: 01.01.1978
Область и условия применения: Настоящий стандарт распространяется на хлористый натрий, который представляет собой бесцветные кристаллы или кристаллический порошок; легко растворим в воде
Взамен: ГОСТ 4233-66
Список изменений: №1 от 01.07.1987 (рег. 27.02.1987) «Срок действия продлен»
№2 от 01.01.1993 (рег. 15.05.1992) «Срок действия продлен»


ГОСТ 4233-77
ГОСТ 4233-77
ГОСТ 4233-77
ГОСТ 4233-77
ГОСТ 4233-77
ГОСТ 4233-77
ГОСТ 4233-77
ГОСТ 4233-77
ГОСТ 4233-77
ГОСТ 4233-77
ГОСТ 4233-77
ГОСТ 4233-77
ГОСТ 4233-77
ГОСТ 4233-77
ГОСТ 4233-77
ГОСТ 4233-77
ГОСТ 4233-77
ГОСТ 4233-77
ГОСТ 4233-77
Автор: 
Домашняя страница автора: 

ГОСТ 4525-77

E-mail автора: 

Реактивы. Кобальт хлористый 6-водный. Технические условия

Обозначение: ГОСТ 4525-77
Статус: действующий
Название рус.: Реактивы. Кобальт хлористый 6-водный. Технические условия
Название англ.: Reagents. Cobalt chloride hexahydrate. Specifications
Дата актуализации текста: 19.06.2012
Дата актуализации описания: 19.06.2012
Дата введения в действие: 01.01.1979
Область и условия применения: Настоящий стандарт распространяется на 6-водный хлористый кобальт, представляющий собой красно-фиолетовые кристаллы, легкорастворимые в воде и этиловом спирте
Взамен: ГОСТ 4525-68
Список изменений: №1 от 01.10.1987 (рег. 20.04.1987) «Срок действия продлен»
№2 от 01.07.1992 (рег. 26.12.1991) «Срок действия продлен»


ГОСТ 4525-77
ГОСТ 4525-77
ГОСТ 4525-77
ГОСТ 4525-77
ГОСТ 4525-77
ГОСТ 4525-77
ГОСТ 4525-77
ГОСТ 4525-77
ГОСТ 4525-77
ГОСТ 4525-77
ГОСТ 4525-77
ГОСТ 4525-77
ГОСТ 4525-77
ГОСТ 4525-77
ГОСТ 4525-77
ГОСТ 4525-77
Автор: 
Домашняя страница автора: 

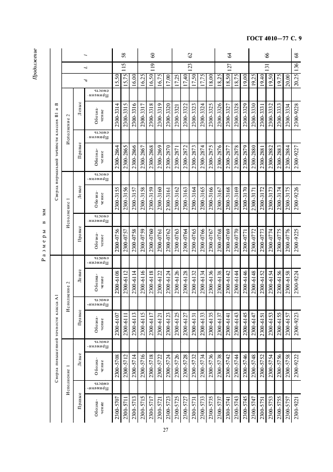
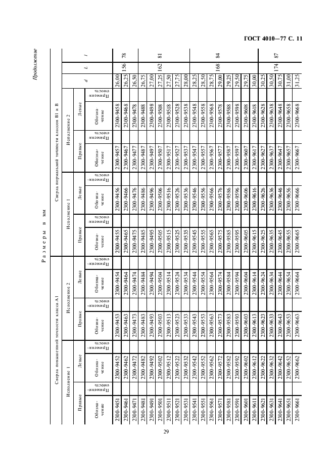
ГОСТ 4010-77

E-mail автора: 

Сверла спиральные с цилиндрическим хвостовиком. Короткая серия. Основные размеры

Обозначение: ГОСТ 4010-77
Статус: действующий
Название рус.: Сверла спиральные с цилиндрическим хвостовиком. Короткая серия. Основные размеры
Название англ.: Twist drils with parallel shanks. Short series. Basic dimensions
Дата актуализации текста: 19.06.2012
Дата актуализации описания: 19.06.2012
Дата введения в действие: 01.01.1979
Область и условия применения: Настоящий стандарт распространяется на правые и левые спиральные сверла с цилиндрическим хвостовиком диаметром от 0,5 мм до 20 мм
Взамен: ГОСТ 4010-64 МН 181-65 МН 555-65
Список изменений: №1 от 01.01.1983 (рег. 22.07.1982) «Срок действия продлен»
№2 от 01.09.1988 (рег. 27.04.1988) «Срок действия продлен»


ГОСТ 4010-77
ГОСТ 4010-77
ГОСТ 4010-77
ГОСТ 4010-77
ГОСТ 4010-77
ГОСТ 4010-77
ГОСТ 4010-77
ГОСТ 4010-77
ГОСТ 4010-77
ГОСТ 4010-77
ГОСТ 4010-77
ГОСТ 4010-77
ГОСТ 4010-77
ГОСТ 4010-77
ГОСТ 4010-77
ГОСТ 4010-77
ГОСТ 4010-77
ГОСТ 4010-77
ГОСТ 4010-77
ГОСТ 4010-77
ГОСТ 4010-77
ГОСТ 4010-77
ГОСТ 4010-77
ГОСТ 4010-77
ГОСТ 4010-77
ГОСТ 4010-77
ГОСТ 4010-77
Автор: 
Домашняя страница автора: 

ГОСТ 4770-77

E-mail автора: 

Красители органические. Индулин жирорастворимый. Технические условия

Обозначение: ГОСТ 4770-77
Статус: действующий
Название рус.: Красители органические. Индулин жирорастворимый. Технические условия
Название англ.: Organic dyestuffs. Fat-soluble induline. Specifications
Дата актуализации текста: 19.06.2012
Дата актуализации описания: 19.06.2012
Дата введения в действие: 01.01.1979
Область и условия применения: Настоящий стандарт распространяется на органический краситель жирорастворимый индулин, предназначенный для применения в полиграфической промышленности, а также для крашения пластических масс
Взамен: ГОСТ 4770-67
Список изменений: №1 от 01.01.1984 (рег. 14.01.1983) «Срок действия продлен»
№2 от 01.08.1988 (рег. 05.03.1988) «Срок действия продлен»


ГОСТ 4770-77
ГОСТ 4770-77
ГОСТ 4770-77
ГОСТ 4770-77
ГОСТ 4770-77
ГОСТ 4770-77
ГОСТ 4770-77
Автор: 
Домашняя страница автора: 

ГОСТ 4142-77

E-mail автора: 

Реактивы. Кальций азотнокислый 4-водный. Технические условия

Обозначение: ГОСТ 4142-77
Статус: действующий
Название рус.: Реактивы. Кальций азотнокислый 4-водный. Технические условия
Название англ.: Reagents. Calcium nitrate tetrahydrate. Specifications
Дата актуализации текста: 19.06.2012
Дата актуализации описания: 19.06.2012
Дата введения в действие: 01.01.1978
Область и условия применения: Настоящий стандарт распространяется на 4-водный азотно-кислый кальций, который представляет собой бесцветные кристаллы; растворим в воде; расплывается на воздухе
Взамен: ГОСТ 4142-66
Список изменений: №1 от 01.12.1982 (рег. 22.07.1982) «Срок действия продлен»
№2 от 01.07.1987 (рег. 06.02.1987) «Срок действия продлен»
№3 от 01.07.1992 (рег. 27.11.1991) «Срок действия продлен»


ГОСТ 4142-77
ГОСТ 4142-77
ГОСТ 4142-77
ГОСТ 4142-77
ГОСТ 4142-77
ГОСТ 4142-77
ГОСТ 4142-77
ГОСТ 4142-77
ГОСТ 4142-77
ГОСТ 4142-77
ГОСТ 4142-77
ГОСТ 4142-77
ГОСТ 4142-77
ГОСТ 4142-77
ГОСТ 4142-77
ГОСТ 4142-77
ГОСТ 4142-77
ГОСТ 4142-77
ГОСТ 4142-77
ГОСТ 4142-77
ГОСТ 4142-77
Автор: 
Домашняя страница автора: 

Страницы