Наша группа Вконтакте vk.com/4ertimcom

ГОСТ 6001-10000

ГОСТ 9548-74

E-mail автора: 

Битумы нефтяные кровельные. Технические условия

Обозначение: ГОСТ 9548-74
Статус: действующий
Название рус.: Битумы нефтяные кровельные. Технические условия
Название англ.: Roofing petroleum bitumens. Specifications
Дата актуализации текста: 19.06.2012
Дата актуализации описания: 19.06.2012
Дата введения в действие: 01.01.1977
Область и условия применения: Настоящий стандарт распространяется на кровельные нефтяные битумы - пропиточные и покровные, применяемые для производства кровельных материалов
Взамен: ГОСТ 9548-60
Список изменений: №1 от 01.12.1977 (рег. 07.09.1977) «Срок действия продлен»
№2 от 01.07.1980 (рег. 06.03.1980) «Срок действия продлен»
№3 от 01.02.1985 (рег. 31.08.1984) «Срок действия продлен»
№4 от 01.10.1989 (рег. 30.03.1989) «Срок действия продлен»
№5 от 01.07.1997 (рег. 30.01.1997) «Срок действия продлен»


ГОСТ 9548-74
ГОСТ 9548-74
ГОСТ 9548-74
ГОСТ 9548-74
ГОСТ 9548-74
ГОСТ 9548-74
ГОСТ 9548-74
ГОСТ 9548-74
Автор: 
Домашняя страница автора: 

ГОСТ 9793-74

E-mail автора: 

Продукты мясные. Методы определения влаги

Обозначение: ГОСТ 9793-74
Статус: действующий
Название рус.: Продукты мясные. Методы определения влаги
Название англ.: Meat products. Methods for determination of moisture content
Дата актуализации текста: 19.06.2012
Дата актуализации описания: 19.06.2012
Дата введения в действие: 01.01.1975
Область и условия применения: Настоящий стандарт распространяется на сырокопченые, полукопченые, варено-копченые, вареные, фаршированные, ливерные и кровяные колбасы, мясные хлебы, сосиски, сардельки, продукты из свинины, баранины, говядины, мяса птицы и других видов убойного скота (вареные, варено-копченые, копчено-запеченные запеченные, жареные и сырокопченые), бекон соленый в полутушах, зельцы, студни, паштеты и фаршевые консервы и устанавливает следующие методы определения влаги: высушивание в устройстве Я10-ФВУ; высушиванием в сушильном шкафу при температуре (103 плюс минус 2) град. С; высушиванием в сушильном шкафу при температуре (150 плюс минус 2) град. С; высушиванием в сушильном аппарате САЛ с нагревом лампами инфракрасного излучения. В случае разногласий по результатам испытаний содержание влаги определяют высушиванием в сушильном шкафу при (103 плюс минус 2) град. С
Взамен: ГОСТ 9793-61
Список изменений: №1 от 01.01.1983 (рег. 17.11.1981) «Срок действия продлен»
№2 от 01.07.1988 (рег. 14.01.1988) «Поправка»
№3 от 01.06.1990 (рег. 25.12.1989) «Срок действия продлен»


ГОСТ 9793-74
ГОСТ 9793-74
ГОСТ 9793-74
ГОСТ 9793-74
Автор: 
Домашняя страница автора: 

ГОСТ 9794-74

E-mail автора: 

Продукты мясные. Методы определения содержания общего фосфора

Обозначение: ГОСТ 9794-74
Статус: действующий
Название рус.: Продукты мясные. Методы определения содержания общего фосфора
Название англ.: Meat products. Methods for the determination of total phosphorus content
Дата актуализации текста: 19.06.2012
Дата актуализации описания: 19.06.2012
Дата введения в действие: 01.01.1976
Область и условия применения: Настоящий стандарт распространяется на мясные и мясосодержащие продукты (колбасные изделия, продукты из мяса, полуфабрикаты, кулинарные изделия, консервы) и устанавливает гравиметрический и фотометрический методы определения содержания общего фосфора
Взамен: ГОСТ 9794-61
Список изменений: №0 от 26.02.2009 (рег. 26.02.2009) «Дата введения перенесена»
№1 от 01.01.1981 (рег. 15.07.1980) «Срок действия продлен»
Приложение №1: Поправка к ГОСТ 9794-74


ГОСТ 9794-74
ГОСТ 9794-74
ГОСТ 9794-74
ГОСТ 9794-74
ГОСТ 9794-74
ГОСТ 9794-74


Поправка к ГОСТ 9794-74

Обозначение: Поправка к ГОСТ 9794-74
Дата введения в действие: 26.02.2009
Дата актуализации: 01.08.2009


Поправка к ГОСТ 9794-74
Автор: 
Домашняя страница автора: 

ГОСТ 7827-74

E-mail автора: 

Растворители марок Р-4, Р-4А, Р-5, Р-5А, Р-12 для лакокрасочных материалов. Технические условия

Обозначение: ГОСТ 7827-74
Статус: действующий
Название рус.: Растворители марок Р-4, Р-4А, Р-5, Р-5А, Р-12 для лакокрасочных материалов. Технические условия
Название англ.: Solvents of Р-4, P-4A, Р-5, P-5A, Р-12 type for paintwork materials. Specifications
Дата актуализации текста: 19.06.2012
Дата актуализации описания: 19.06.2012
Дата введения в действие: 01.01.1975
Область и условия применения: Настоящий стандарт распространяется на растворители марок Р-4, Р-4А, Р-5, Р-5А, Р-12, представляющие собой смеси летучих органических растворителей: сложных эфиров, кетонов, ароматических углеводородов. Растворители предназначаются для разбавления перхлорвиниловых и других лакокрасочных материалов
Взамен: ГОСТ 7827-55
Список изменений: №1 от 01.12.1976 (рег. 14.10.1976) «Срок действия продлен»
№2 от 01.02.1980 (рег. 04.10.1979) «Срок действия продлен»
№3 от 01.01.1985 (рег. 11.06.1984) «Срок действия продлен»
№4 от 01.07.1989 (рег. 20.12.1988) «Поправка»
№5 от 01.03.2009 (рег. 16.10.2008) «Текстовое изменение; Изменено заглавие; Изменены ссылочные НД»
Приложение №1: Изменение №5 к ГОСТ 7827-74


ГОСТ 7827-74
ГОСТ 7827-74
ГОСТ 7827-74
ГОСТ 7827-74
ГОСТ 7827-74
ГОСТ 7827-74
ГОСТ 7827-74
ГОСТ 7827-74
ГОСТ 7827-74
ГОСТ 7827-74
ГОСТ 7827-74


Изменение №5 к ГОСТ 7827-74

Обозначение: Изменение №5 к ГОСТ 7827-74
Дата введения в действие: 01.03.2009
Дата актуализации: 28.01.2009


Изменение №5 к ГОСТ 7827-74
Изменение №5 к ГОСТ 7827-74
Изменение №5 к ГОСТ 7827-74
Изменение №5 к ГОСТ 7827-74
Изменение №5 к ГОСТ 7827-74
Изменение №5 к ГОСТ 7827-74
Изменение №5 к ГОСТ 7827-74
Изменение №5 к ГОСТ 7827-74
Изменение №5 к ГОСТ 7827-74
Изменение №5 к ГОСТ 7827-74
Автор: 
Домашняя страница автора: 

ГОСТ 9972-74

E-mail автора: 

Масла нефтяные турбинные с присадками. Технические условия

Обозначение: ГОСТ 9972-74
Статус: действующий
Название рус.: Масла нефтяные турбинные с присадками. Технические условия
Название англ.: Petroleum turbine oils with dopes. Specifications
Дата актуализации текста: 19.06.2012
Дата актуализации описания: 19.06.2012
Дата введения в действие: 01.01.1975
Область и условия применения: Настоящий стандарт распространяется на нефтяные масла, содержащие антиокислительные, антикоррозионные и другие присадки, обеспечивающие эксплуатационные свойства масел, и применяемые для смазки подшипников и вспомогательных механизмов турбоагрегатов (паровых газовых турбин, турбокомпрессорных машин, гидротурбин, судовых паротурбинных установок и других аналогичных видов оборудования), а также для работы в системах регулирования этих машин в качестве гидравлической жидкости
Взамен: ГОСТ 9972-62
Список изменений: №1 от 01.09.1977 (рег. 28.04.1977) «Срок действия продлен»
№2 от 01.07.1979 (рег. 27.03.1979) «Срок действия продлен»
№3 от 01.04.1980 (рег. 23.11.1979) «Срок действия продлен»
№4 от 01.06.1981 (рег. 24.03.1981) «Срок действия продлен»
№5 от 01.10.1982 (рег. 27.05.1982) «Срок действия продлен»
№6 от 01.07.1983 (рег. 17.03.1983) «Срок действия продлен»
№7 от 01.07.1987 (рег. 02.03.1987) «Срок действия продлен»
№8 от 01.08.1989 (рег. 14.02.1989) «Срок действия продлен»
№9 от 01.01.1993 (рег. 21.07.1992) «Срок действия продлен»


ГОСТ 9972-74
ГОСТ 9972-74
ГОСТ 9972-74
ГОСТ 9972-74
ГОСТ 9972-74
ГОСТ 9972-74
ГОСТ 9972-74
Автор: 
Домашняя страница автора: 

ГОСТ 8288-74

E-mail автора: 

Затворы плоские для бункеров общего назначения. Основные присоединительные размеры

Обозначение: ГОСТ 8288-74
Статус: действующий
Название рус.: Затворы плоские для бункеров общего назначения. Основные присоединительные размеры
Название англ.: Plain gates for of general-purpose bunkers. Basic and connection dimensions
Дата актуализации текста: 19.06.2012
Дата актуализации описания: 19.06.2012
Дата введения в действие: 01.01.1976
Область и условия применения: Настоящий стандарт распространяется на плоские затворы с прямоугольными и круглыми патрубками, применяемые для закрывания и открывания выпускных отверстий бункеров общего назначения, а также для регулирования количества выгружаемого сыпучего материала.
Стандарт не распространяется на плоские затворы с литыми корпусами
Взамен: ГОСТ 8288-57
Список изменений: №1 от 01.05.1985 (рег. 19.11.1984) «Срок действия продлен»


ГОСТ 8288-74
ГОСТ 8288-74
ГОСТ 8288-74
ГОСТ 8288-74
ГОСТ 8288-74
ГОСТ 8288-74
ГОСТ 8288-74
Автор: 
Домашняя страница автора: 

ГОСТ 8002-74

E-mail автора: 

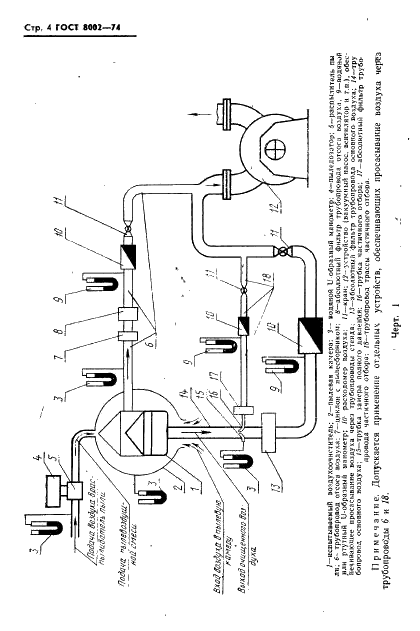
Двигатели внутреннего сгорания поршневые. Воздухоочистители. Методы стендовых безмоторных испытаний

Обозначение: ГОСТ 8002-74
Статус: действующий
Название рус.: Двигатели внутреннего сгорания поршневые. Воздухоочистители. Методы стендовых безмоторных испытаний
Название англ.: Internal combustion engines. Air cleaners. Methods of motorless bench testing
Дата актуализации текста: 19.06.2012
Дата актуализации описания: 19.06.2012
Дата введения в действие: 01.01.1975
Область и условия применения: Настоящий стандарт распространяется на воздухоочистители поршневых двигателей внутреннего сгорания и устанавливает методы приемочных и периодических контрольных стендовых безмоторных испытаний воздухоочистителей
Взамен: ГОСТ 8002-62
Список изменений: №1 от 01.03.1984 (рег. 21.11.1983) «Срок действия продлен»
№2 от 01.10.1987 (рег. 11.05.1987) «Срок действия продлен»


ГОСТ 8002-74
ГОСТ 8002-74
ГОСТ 8002-74
ГОСТ 8002-74
ГОСТ 8002-74
ГОСТ 8002-74
ГОСТ 8002-74
ГОСТ 8002-74
ГОСТ 8002-74
ГОСТ 8002-74
ГОСТ 8002-74
ГОСТ 8002-74
ГОСТ 8002-74
ГОСТ 8002-74
ГОСТ 8002-74
ГОСТ 8002-74
ГОСТ 8002-74
ГОСТ 8002-74
ГОСТ 8002-74
ГОСТ 8002-74
ГОСТ 8002-74
ГОСТ 8002-74
ГОСТ 8002-74
ГОСТ 8002-74
ГОСТ 8002-74
ГОСТ 8002-74
ГОСТ 8002-74
ГОСТ 8002-74
ГОСТ 8002-74
ГОСТ 8002-74
ГОСТ 8002-74
ГОСТ 8002-74
Автор: 
Домашняя страница автора: 

ГОСТ 7851-74

E-mail автора: 

Посуда стеклянная химико-лабораторная. Горловины. Внутренние диаметры

Обозначение: ГОСТ 7851-74
Статус: действующий
Название рус.: Посуда стеклянная химико-лабораторная. Горловины. Внутренние диаметры
Название англ.: Laboratory and chemist glassware. Necks. Internal diameters
Дата актуализации текста: 19.06.2012
Дата актуализации описания: 19.06.2012
Дата введения в действие: 01.01.1975
Область и условия применения: Настоящий стандарт распространяется на стеклянную химико-лабораторную посуду и устанавливает внутренние диаметры горловин с конусами взаимозаменяемыми и невзаимозаменяемыми с нешлифованной поверхностью
Взамен: ГОСТ 7851-61
Заменяющий в части: ГОСТ 25336-82 в части типов, основных параметров и размеров
Список изменений: №1 от 01.02.1980 (рег. 01.02.1980) «Срок действия продлен»


ГОСТ 7851-74
ГОСТ 7851-74
ГОСТ 7851-74
Автор: 
Домашняя страница автора: 

ГОСТ 8440-74

E-mail автора: 

Сырье древесное для производства угля специального назначения. Технические условия

Обозначение: ГОСТ 8440-74
Статус: действующий
Название рус.: Сырье древесное для производства угля специального назначения. Технические условия
Название англ.: Wood raw material for production of coal for special purposes. Specifications
Дата актуализации текста: 19.06.2012
Дата актуализации описания: 19.06.2012
Дата введения в действие: 01.07.1975
Область и условия применения: Настоящий стандарт распространяется на сырье для производства угля специального назначения, заготавливаемое из древесины липы, ольхи, ивы, крушины и лещины.
По согласованию с потребителем допускается заготовка сырья из древесины березы
Взамен: ГОСТ 8440-57
Список изменений: №1 от 01.07.1984 (рег. 14.03.1984) «Срок действия продлен»
№2 от 01.09.1989 (рег. 17.03.1989) «Срок действия продлен»


ГОСТ 8440-74
ГОСТ 8440-74
ГОСТ 8440-74
ГОСТ 8440-74
Автор: 
Домашняя страница автора: 

ГОСТ 7212-74

E-mail автора: 

Крейцмейсели слесарные. Технические условия

Обозначение: ГОСТ 7212-74
Статус: действующий
Название рус.: Крейцмейсели слесарные. Технические условия
Название англ.: Cape chisels. Specifications
Дата актуализации текста: 19.06.2012
Дата актуализации описания: 19.06.2012
Дата введения в действие: 01.01.1975
Область и условия применения: Настоящий стандарт распространяется на ручные слесарные крейцмейсели, предназначенные для прорубки канавок и пазов в металлических изделиях твердостью не более HRCэ 32, изготовляемые для нужд народного хозяйства и экспорта.
Стандарт не распространяется на крейцмейсели, предназначенные для работы во взрывоопасных условиях
Взамен: ГОСТ 7212-54
Список изменений: №1 от 01.01.1981 (рег. 21.11.1980) «Срок действия продлен»
№2 от 01.05.1985 (рег. 17.12.1984) «Срок действия продлен»
№3 от 01.03.1990 (рег. 14.09.1989) «Срок действия продлен»


ГОСТ 7212-74
ГОСТ 7212-74
ГОСТ 7212-74
ГОСТ 7212-74
ГОСТ 7212-74
ГОСТ 7212-74
ГОСТ 7212-74
Автор: 
Домашняя страница автора: 

Страницы