Наша группа Вконтакте vk.com/4ertimcom

ГОСТ 6001-10000

ГОСТ 8751-72

E-mail автора: 

Реактивы. Спирт бензиловый. Технические условия

Обозначение: ГОСТ 8751-72
Статус: действующий
Название рус.: Реактивы. Спирт бензиловый. Технические условия
Название англ.: Reagents. Benzyl alcohol. Specifications
Дата актуализации текста: 19.06.2012
Дата актуализации описания: 19.06.2012
Дата введения в действие: 01.01.1973
Область и условия применения: Настоящий стандарт распространяется на бензиловый спирт, представляющий собой бесцветную легкоподвижную жидкость со слабым ароматическим запахом. Плохо растворим в воде, хорошо в органических растворителях. При доступе воздуха окисляется в бензальдегиде
Взамен: ГОСТ 8751-58
Список изменений: №1 от 01.09.1975 (рег. 12.08.1975) «Срок действия продлен»
№2 от 01.10.1987 (рег. 29.04.1987) «Поправка»
№3 от 01.01.1993 (рег. 15.04.1992) «Срок действия продлен»


ГОСТ 8751-72
ГОСТ 8751-72
ГОСТ 8751-72
ГОСТ 8751-72
ГОСТ 8751-72
ГОСТ 8751-72
ГОСТ 8751-72
ГОСТ 8751-72
ГОСТ 8751-72
ГОСТ 8751-72
ГОСТ 8751-72
ГОСТ 8751-72
Автор: 
Домашняя страница автора: 

ГОСТ 7213-72

E-mail автора: 

Кернеры. Технические условия

Обозначение: ГОСТ 7213-72
Статус: действующий
Название рус.: Кернеры. Технические условия
Название англ.: Centre-punches. Specifications
Дата актуализации текста: 19.06.2012
Дата актуализации описания: 19.06.2012
Дата введения в действие: 01.01.1974
Область и условия применения: Настоящий стандарт распространяется на кернеры, предназначенные для разметки металлических и неметаллических материалов, изготовляемые для нужд народного хозяйства и экспорта
Взамен: ГОСТ 7213-54
Список изменений: №1 от 01.09.1979 (рег. 28.06.1979) «Срок действия продлен»
№2 от 01.01.1983 (рег. 12.10.1982) «Срок действия продлен»
№3 от 01.06.1988 (рег. 27.10.1987) «Срок действия продлен»


ГОСТ 7213-72
ГОСТ 7213-72
ГОСТ 7213-72
ГОСТ 7213-72
ГОСТ 7213-72
ГОСТ 7213-72
ГОСТ 7213-72
Автор: 
Домашняя страница автора: 

ГОСТ 7291-72

E-mail автора: 

Красители органические. Пигмент алый концентрированный. Технические условия

Обозначение: ГОСТ 7291-72
Статус: действующий
Название рус.: Красители органические. Пигмент алый концентрированный. Технические условия
Название англ.: Organic dyes. Сoncentrated scarlet pigment. Specifications
Дата актуализации текста: 19.06.2012
Дата актуализации описания: 19.06.2012
Дата введения в действие: 01.01.1974
Область и условия применения: Настоящий стандарт распространяется на органический краситель пигмент алый концентрированный, предназначенный для полиграфической и лакокрасочной промышленности
Взамен: ГОСТ 7291-54
Список изменений: №1 от 01.10.1974 (рег. 31.07.1974) «Срок действия продлен»
№2 от 01.07.1979 (рег. 29.01.1979) «Срок действия продлен»
№3 от 01.01.1986 (рег. 20.06.1985) «Срок действия продлен»
№4 от 01.09.1990 (рег. 06.03.1990) «Срок действия продлен»


ГОСТ 7291-72
ГОСТ 7291-72
ГОСТ 7291-72
ГОСТ 7291-72
ГОСТ 7291-72
ГОСТ 7291-72
ГОСТ 7291-72
Автор: 
Домашняя страница автора: 

ГОСТ 9229-72

E-mail автора: 

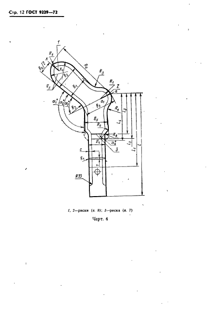
Формы отделочные для чулочно-носочных изделий. Размеры

Обозначение: ГОСТ 9229-72
Статус: действующий
Название рус.: Формы отделочные для чулочно-носочных изделий. Размеры
Название англ.: Finishing forms for socks and stockings. Dimensions
Дата актуализации текста: 19.06.2012
Дата актуализации описания: 19.06.2012
Дата введения в действие: 01.07.1974
Область и условия применения: Настоящий стандарт распространяется на формы для машинной отделки чулочно-носочных изделий, вырабатываемых на круглочулочных автоматах и котонных машинах из различных видов натурального, искусственного и синтетического сырья и их различных сочетаний, кроме форм для отделки чулочно-носочных изделий, вырабатываемых на круглочулочных автоматах из капроновой нити эластик
Взамен: ГОСТ 9229-59
Список изменений: №0 от 08.12.1988 (рег. 08.12.1988) «Срок действия продлен»
№1 от 01.07.1974 (рег. 24.05.1974) «Срок действия продлен»
№2 от 01.04.1984 (рег. 14.11.1983) «Срок действия продлен»


ГОСТ 9229-72
ГОСТ 9229-72
ГОСТ 9229-72
ГОСТ 9229-72
ГОСТ 9229-72
ГОСТ 9229-72
ГОСТ 9229-72
ГОСТ 9229-72
ГОСТ 9229-72
ГОСТ 9229-72
ГОСТ 9229-72
ГОСТ 9229-72
ГОСТ 9229-72
ГОСТ 9229-72
ГОСТ 9229-72
ГОСТ 9229-72
ГОСТ 9229-72
ГОСТ 9229-72
ГОСТ 9229-72
ГОСТ 9229-72
ГОСТ 9229-72
ГОСТ 9229-72
ГОСТ 9229-72
Автор: 
Домашняя страница автора: 

ГОСТ 7343-72

E-mail автора: 

Конусы инструментов с конусностью 1:10 и 1:7. Размеры

Обозначение: ГОСТ 7343-72
Статус: действующий
Название рус.: Конусы инструментов с конусностью 1:10 и 1:7. Размеры
Название англ.: Tools with tapers 1:10 and 1:7. Dimensions
Дата актуализации текста: 19.06.2012
Дата актуализации описания: 19.06.2012
Дата введения в действие: 01.01.1974
Область и условия применения: Настоящий стандарт распространяется на конусы инструментов с конусностью 1:10 и 1:7
Взамен: ГОСТ 7343-55
Список изменений: №1 от 01.07.1975 (рег. 28.04.1975) «Срок действия продлен»
№2 от 01.04.1983 (рег. 06.12.1982) «Срок действия продлен»


ГОСТ 7343-72
ГОСТ 7343-72
ГОСТ 7343-72
ГОСТ 7343-72
Автор: 
Домашняя страница автора: 

ГОСТ 8067-72

E-mail автора: 

Пороха дымные. Метод определения количества пороховой пыли

Обозначение: ГОСТ 8067-72
Статус: действующий
Название рус.: Пороха дымные. Метод определения количества пороховой пыли
Название англ.: Black powders. Method for determination of powder dust content
Дата актуализации текста: 19.06.2012
Дата актуализации описания: 19.06.2012
Дата введения в действие: 01.07.1973
Область и условия применения: Настоящий стандарт распространяется на дымные пороха, выпускаемые по стандартам и технической документации, утвержденной в установленном порядке, и устанавливает метод определения в них количества пороховой пыли.
Сущность метода заключается в определении потери массы навески пороха при встряхивании ее на приборе
Взамен: ГОСТ 8067-56
Список изменений: №1 от 01.10.1983 (рег. 03.08.1983) «Срок действия продлен»
№2 от 01.05.1986 (рег. 08.01.1986) «Срок действия продлен»


ГОСТ 8067-72
ГОСТ 8067-72
ГОСТ 8067-72
ГОСТ 8067-72
ГОСТ 8067-72
ГОСТ 8067-72
Автор: 
Домашняя страница автора: 

ГОСТ 7462-73

E-mail автора: 

Эмали НЦ-5123. Технические условия

Обозначение: ГОСТ 7462-73
Статус: действующий
Название рус.: Эмали НЦ-5123. Технические условия
Название англ.: Enamels НЦ-5123. Specifications
Дата актуализации текста: 19.06.2012
Дата актуализации описания: 19.06.2012
Дата введения в действие: 01.01.1974
Область и условия применения: Настоящий стандарт распространяется на эмали НЦ-5123, представляющие собой суспензию пигментов в растворе коллоксилина и смолы в смеси летучих органических растворителей с добавлением пластификаторов. Эмали предназначаются для окраски необработанных поверхностей литых, соприкасающихся с маслом деталей двигателей автомобилей, тракторов и сельскохозяйственных машин. Эмали наносят на поверхность методами пневматического распыления или окунания
Взамен: ГОСТ 7462-55
Список изменений: №1 от 01.07.1979 (рег. 20.02.1979) «Срок действия продлен»
№2 от 01.01.1984 (рег. 27.07.1983) «Срок действия продлен»
№3 от 01.04.1986 (рег. 30.10.1985) «Срок действия продлен»
№4 от 01.11.1988 (рег. 06.06.1988) «Срок действия продлен»
№5 от 01.01.1994 (рег. 01.07.1993) «Срок действия продлен»


ГОСТ 7462-73
ГОСТ 7462-73
ГОСТ 7462-73
ГОСТ 7462-73
ГОСТ 7462-73
ГОСТ 7462-73
ГОСТ 7462-73
ГОСТ 7462-73
ГОСТ 7462-73
ГОСТ 7462-73
ГОСТ 7462-73
Автор: 
Домашняя страница автора: 

ГОСТ 8567-73

E-mail автора: 

Красители органические. Пигмент алый. Технические условия

Обозначение: ГОСТ 8567-73
Статус: действующий
Название рус.: Красители органические. Пигмент алый. Технические условия
Название англ.: Organic dye-stuffs. Pigment scarlet. Specifications
Дата актуализации текста: 19.06.2012
Дата актуализации описания: 19.06.2012
Дата введения в действие: 01.07.1974
Область и условия применения: Настоящий стандарт распространяется на органический краситель пигмент алый - однородный порошок красного цвета, предназначенный для лакокрасочной промышленности. Пигмент алый содержит в качестве наполнителя 3% гидрата окиси алюминия и 24% сернокислого бария
Взамен: ГОСТ 8567-57
Список изменений: №1 от 01.07.1979 (рег. 19.03.1979) «Срок действия продлен»
№2 от 01.07.1986 (рег. 18.12.1985) «Срок действия продлен»
№3 от 01.10.1990 (рег. 06.03.1990) «Срок действия продлен»


ГОСТ 8567-73
ГОСТ 8567-73
ГОСТ 8567-73
ГОСТ 8567-73
ГОСТ 8567-73
ГОСТ 8567-73
ГОСТ 8567-73
ГОСТ 8567-73
ГОСТ 8567-73
ГОСТ 8567-73
ГОСТ 8567-73
Автор: 
Домашняя страница автора: 

ГОСТ 7930-73

E-mail автора: 

Эмали НЦ-1125. Технические условия

Обозначение: ГОСТ 7930-73
Статус: действующий
Название рус.: Эмали НЦ-1125. Технические условия
Название англ.: Enamels НЦ-1125. Specifications
Дата актуализации текста: 19.06.2012
Дата актуализации описания: 19.06.2012
Дата введения в действие: 01.07.1974
Область и условия применения: Настоящий стандарт распространяется на эмали НЦ-1125, представляющие собой суспензию суховальцованных паст (СВП - пигмент, развальцованный с нитроцеллюлозой, пластификатором и диспергатором), а для эмали защитного цвета - суспензию пигментов в растворе коллоксилина и алкидной смолы в летучих органических растворителях с добавлением пластификаторов.
Эмали НЦ-1125 предназначаются для окраски предварительно загрунтованных металлических поверхностей специализированных грузовых автомобилей, эксплуатируемых в атмосферных условиях умеренного климата.
Система покрытия, состоящая из трех слоев эмали НЦ-1125, нанесенных на загрунтованную поверхность, должна сохранять защитные и декоративные свойства в соответствии с ГОСТ 9.074-77.
Эмали НЦ-1125 наносят на поверхность методом распыления
Взамен: ГОСТ 7930-56
Список изменений: №1 от 01.12.1979 (рег. 03.08.1979) «Срок действия продлен»
№2 от 01.07.1984 (рег. 17.03.1983) «Срок действия продлен»
№3 от 01.07.1989 (рег. 22.12.1988) «Срок действия продлен»


ГОСТ 7930-73
ГОСТ 7930-73
ГОСТ 7930-73
ГОСТ 7930-73
ГОСТ 7930-73
ГОСТ 7930-73
ГОСТ 7930-73
ГОСТ 7930-73
ГОСТ 7930-73
ГОСТ 7930-73
ГОСТ 7930-73
Автор: 
Домашняя страница автора: 

ГОСТ 9039-73

E-mail автора: 

Насадки анаморфотные для кинопроекционных объективов. Технические условия

Обозначение: ГОСТ 9039-73
Статус: действующий
Название рус.: Насадки анаморфотные для кинопроекционных объективов. Технические условия
Название англ.: Anamorphotic attachments for motion-picture projector lenses. Specifications
Дата актуализации текста: 19.06.2012
Дата актуализации описания: 19.06.2012
Дата введения в действие: 01.07.1974
Область и условия применения: Настоящий стандарт распространяется на анаморфотные проекционные насадки с цилиндрическими линзами для проекционных объективов, предназначенные для демонстрации 35-мм широкоэкранных кинофильмов на кинопроекторах, установленных как в закрытых, так и открытых помещениях
Взамен: ГОСТ 9039-65
Список изменений: №1 от 01.10.1983 (рег. 27.06.1983) «Срок действия продлен»
№2 от 01.10.1985 (рег. 27.03.1985) «Срок действия продлен»
№3 от 01.01.1988 (рег. 26.06.1987) «Срок действия продлен»


ГОСТ 9039-73
ГОСТ 9039-73
ГОСТ 9039-73
ГОСТ 9039-73
ГОСТ 9039-73
ГОСТ 9039-73
ГОСТ 9039-73
ГОСТ 9039-73
ГОСТ 9039-73
ГОСТ 9039-73
ГОСТ 9039-73
ГОСТ 9039-73
ГОСТ 9039-73
ГОСТ 9039-73
ГОСТ 9039-73
ГОСТ 9039-73
ГОСТ 9039-73
ГОСТ 9039-73
ГОСТ 9039-73
ГОСТ 9039-73
Автор: 
Домашняя страница автора: 

Страницы