Наша группа Вконтакте vk.com/4ertimcom

ГОСТ 6001-10000

ГОСТ 7763-71

E-mail автора: 

Шерсть овечья немытая тонкая классированная. Технические требования. Маркировка, упаковка, транспортирование и хранение

Обозначение: ГОСТ 7763-71
Статус: действующий
Название рус.: Шерсть овечья немытая тонкая классированная. Технические требования. Маркировка, упаковка, транспортирование и хранение
Название англ.: Unwashed fine classed sheep wool. Technical requirements. Marking, packing, transportation and storage
Дата актуализации текста: 19.06.2012
Дата актуализации описания: 19.06.2012
Дата введения в действие: 01.01.1972
Область и условия применения: Настоящий стандарт распространяется на тонкую классированную шерсть, состригаемую один раз в год с овец различных тонкорунных пород, породных групп и получаемых от них примесей с тонкой шерстью
Взамен: ГОСТ 7763-55
Список изменений: №0 от 30.05.1988 (рег. 30.05.1988) «Срок действия продлен»
№1 от 01.05.1983 (рег. 27.12.1982) «Срок действия продлен»
№2 от 01.07.1987 (рег. 17.02.1987) «Срок действия продлен»


ГОСТ 7763-71
ГОСТ 7763-71
ГОСТ 7763-71
ГОСТ 7763-71
ГОСТ 7763-71
ГОСТ 7763-71
ГОСТ 7763-71
ГОСТ 7763-71
ГОСТ 7763-71
ГОСТ 7763-71
ГОСТ 7763-71
Автор: 
Домашняя страница автора: 

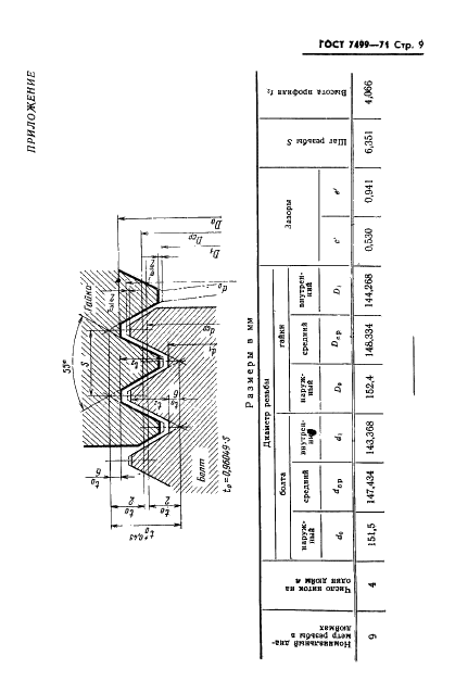
ГОСТ 7499-71

E-mail автора: 

Колонка пожарная. Технические условия

Обозначение: ГОСТ 7499-71
Статус: утратил силу в РФ
Название рус.: Колонка пожарная. Технические условия
Название англ.: Fire standpipe
Дата актуализации текста: 19.06.2012
Дата актуализации описания: 19.06.2012
Дата введения в действие: 01.01.1972
Область и условия применения: Настоящий стандарт распространяется на пожарную колонку, предназначенную для открывания (закрывания) подземных гидрантов и присоединения пожарных рукавов с целью отбора воды из водопроводных сетей на пожарные нужды
Взамен: ГОСТ 7499-55
Список изменений: №0 от 01.05.2009 (рег. 18.02.2009) «Поправка к изменению»
№1 от 01.01.1981 (рег. 22.10.1980) «Срок действия продлен»
№2 от 01.05.1986 (рег. 04.12.1985) «Срок действия продлен»


ГОСТ 7499-71
ГОСТ 7499-71
ГОСТ 7499-71
ГОСТ 7499-71
ГОСТ 7499-71
ГОСТ 7499-71
ГОСТ 7499-71
ГОСТ 7499-71
ГОСТ 7499-71
ГОСТ 7499-71
ГОСТ 7499-71
Автор: 
Домашняя страница автора: 

ГОСТ 7574-71

E-mail автора: 

Капсюли-воспламенители центрального боя для патронов охотничьих ружей. Технические условия

Обозначение: ГОСТ 7574-71
Статус: действующий
Название рус.: Капсюли-воспламенители центрального боя для патронов охотничьих ружей. Технические условия
Название англ.: Central combat percussion primers for shot gun cartridges. Specifications
Дата актуализации текста: 19.06.2012
Дата актуализации описания: 19.06.2012
Дата введения в действие: 01.01.1973
Область и условия применения: Настоящий стандарт распространяется на капсюли-воспламенители центрального боя, а также на капсюли-воспламенители, поставляемые на экспорт, предназначенные для воспламенения зарядов дымного пороха в патронах охотничьих ружей
Взамен: ГОСТ 7574-55
Список изменений: №2 от 01.05.1977 (рег. 22.03.1977) «Срок действия продлен»
№3 от 01.06.1998 (рег. 22.03.1978) «Срок действия продлен»
№4 от 01.08.1983 (рег. 13.04.1983) «Срок действия продлен»
№5 от 01.07.1987 (рег. 28.01.1987) «Срок действия продлен»
№6 от 01.07.1991 (рег. 29.12.1990) «Срок действия продлен»


ГОСТ 7574-71
ГОСТ 7574-71
ГОСТ 7574-71
ГОСТ 7574-71
ГОСТ 7574-71
ГОСТ 7574-71
ГОСТ 7574-71
ГОСТ 7574-71
ГОСТ 7574-71
ГОСТ 7574-71
ГОСТ 7574-71
ГОСТ 7574-71
ГОСТ 7574-71
ГОСТ 7574-71
Автор: 
Домашняя страница автора: 

ГОСТ 6951-71

E-mail автора: 

Метчики гаечные с изогнутым хвостовиком. Конструкция и размеры

Обозначение: ГОСТ 6951-71
Статус: действующий
Название рус.: Метчики гаечные с изогнутым хвостовиком. Конструкция и размеры
Название англ.: Nut taps with curved shanks. Design and dimensions
Дата актуализации текста: 19.06.2012
Дата актуализации описания: 19.06.2012
Дата введения в действие: 01.07.1972
Область и условия применения: Настоящий стандарт распространяется на гаечные метчики с изогнутым хвостовиком, предназначенные для нарезания гаек с метрической резьбой по ГОСТ 24705-81 и дюймовой резьбой по ОСТ НКТП 1260
Взамен: ГОСТ 6951-60 МН 2187-61
Список изменений: №1 от 01.07.1973 (рег. 26.06.1973) «Срок действия продлен»
№2 от 01.01.1984 (рег. 29.07.1983) «Срок действия продлен»


ГОСТ 6951-71
ГОСТ 6951-71
ГОСТ 6951-71
ГОСТ 6951-71
ГОСТ 6951-71
ГОСТ 6951-71
ГОСТ 6951-71
ГОСТ 6951-71
ГОСТ 6951-71
ГОСТ 6951-71
ГОСТ 6951-71
Автор: 
Домашняя страница автора: 

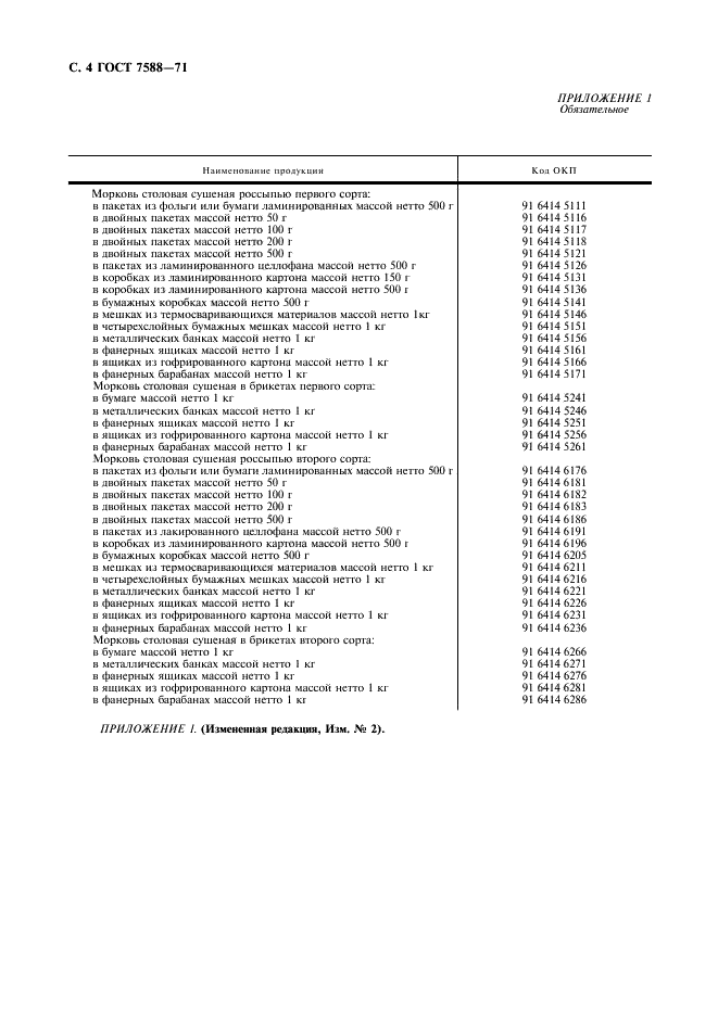
ГОСТ 7588-71

E-mail автора: 

Морковь столовая сушеная. Технические условия

Обозначение: ГОСТ 7588-71
Статус: утратил силу в РФ
Название рус.: Морковь столовая сушеная. Технические условия
Название англ.: Dried carrot. Specifications
Дата актуализации текста: 19.06.2012
Дата актуализации описания: 19.06.2012
Дата введения в действие: 01.09.1971
Область и условия применения: Настоящий стандарт распространяется на столовую морковь, подвергнутую предварительной подготовке и сушке в сушильных аппаратах
Взамен: ГОСТ 7588-55
Заменяющий в части: ГОСТ 13342-77 в части разд. 3
Список изменений: №0 от 01.01.2008 (рег. 27.12.2006) «Поправка к изменению»
№1 от 01.02.1983 (рег. 11.10.1982) «Срок действия продлен»
№2 от 01.12.1987 (рег. 08.06.1987) «Срок действия продлен»
№3 от 01.07.1991 (рег. 23.11.1990) «Срок действия продлен»


ГОСТ 7588-71
ГОСТ 7588-71
ГОСТ 7588-71
ГОСТ 7588-71
ГОСТ 7588-71
ГОСТ 7588-71
ГОСТ 7588-71
Автор: 
Домашняя страница автора: 

ГОСТ 7587-71

E-mail автора: 

Лук репчатый сушеный. Технические условия

Обозначение: ГОСТ 7587-71
Статус: утратил силу в РФ
Название рус.: Лук репчатый сушеный. Технические условия
Название англ.: Dried onion. Specifications
Дата актуализации текста: 19.06.2012
Дата актуализации описания: 19.06.2012
Дата введения в действие: 01.09.1971
Область и условия применения: Настоящий стандарт распространяется на репчатый лук, подвергнутый предварительной подготовке и сушке в сушительных аппаратах
Взамен: ГОСТ 7587-55
Заменяющий в части: ГОСТ 13342-77 в части разд. 3
Список изменений: №0 от 01.01.2008 (рег. 27.12.2006) «Поправка к изменению»
№1 от 01.02.1983 (рег. 11.10.1982) «Срок действия продлен»
№2 от 01.12.1987 (рег. 08.06.1987) «Срок действия продлен»
№3 от 01.07.1991 (рег. 23.11.1990) «Срок действия продлен»


ГОСТ 7587-71
ГОСТ 7587-71
ГОСТ 7587-71
ГОСТ 7587-71
ГОСТ 7587-71
ГОСТ 7587-71
ГОСТ 7587-71
Автор: 
Домашняя страница автора: 

ГОСТ 9740-71

E-mail автора: 

Плашки круглые. Технические условия

Обозначение: ГОСТ 9740-71
Статус: действующий
Название рус.: Плашки круглые. Технические условия
Название англ.: Circular screw dies. Specifications
Дата актуализации текста: 19.06.2012
Дата актуализации описания: 19.06.2012
Дата введения в действие: 01.07.1973
Область и условия применения: Настоящий стандарт распространяется на ручные и машинные плашки, предназначенные для нарезания метрической резьбы от М1 до М68 по ГОСТ 24705, 6 и 8-й степеней точности и трубной цилиндрической резьбы от G 1/16 до G 2 1/4 по ГОСТ 6357 классов точности А и В
Взамен: ГОСТ 9740-62 МН 5710-65 МН 5711-65 МН 5712-65 МН 5713-65 МН 5714-65
Список изменений: №1 от 01.04.1974 (рег. 30.01.1974) «Срок действия продлен»
№2 от 01.03.1981 (рег. 17.03.1981) «Срок действия продлен»
№3 от 01.06.1987 (рег. 16.12.1986) «Поправка»
№4 от 01.01.1991 (рег. 13.04.1990) «Срок действия продлен»
№5 от 01.10.1992 (рег. 02.04.1992) «Срок действия продлен»


ГОСТ 9740-71
ГОСТ 9740-71
ГОСТ 9740-71
ГОСТ 9740-71
ГОСТ 9740-71
ГОСТ 9740-71
ГОСТ 9740-71
ГОСТ 9740-71
ГОСТ 9740-71
ГОСТ 9740-71
ГОСТ 9740-71
ГОСТ 9740-71
ГОСТ 9740-71
ГОСТ 9740-71
ГОСТ 9740-71
ГОСТ 9740-71
ГОСТ 9740-71
ГОСТ 9740-71
ГОСТ 9740-71
ГОСТ 9740-71
ГОСТ 9740-71
ГОСТ 9740-71
ГОСТ 9740-71
ГОСТ 9740-71
ГОСТ 9740-71
ГОСТ 9740-71
ГОСТ 9740-71
ГОСТ 9740-71
ГОСТ 9740-71
ГОСТ 9740-71
ГОСТ 9740-71
ГОСТ 9740-71
ГОСТ 9740-71
ГОСТ 9740-71
ГОСТ 9740-71
ГОСТ 9740-71
ГОСТ 9740-71
ГОСТ 9740-71
ГОСТ 9740-71
ГОСТ 9740-71
ГОСТ 9740-71
ГОСТ 9740-71
ГОСТ 9740-71
ГОСТ 9740-71
ГОСТ 9740-71
ГОСТ 9740-71
ГОСТ 9740-71
ГОСТ 9740-71
ГОСТ 9740-71
ГОСТ 9740-71
ГОСТ 9740-71
ГОСТ 9740-71
ГОСТ 9740-71
ГОСТ 9740-71
ГОСТ 9740-71
ГОСТ 9740-71
ГОСТ 9740-71
ГОСТ 9740-71
ГОСТ 9740-71
ГОСТ 9740-71
ГОСТ 9740-71
ГОСТ 9740-71
ГОСТ 9740-71
ГОСТ 9740-71
ГОСТ 9740-71
Автор: 
Домашняя страница автора: 

ГОСТ 7214-72

E-mail автора: 

Бородки слесарные. Технические условия

Обозначение: ГОСТ 7214-72
Статус: действующий
Название рус.: Бородки слесарные. Технические условия
Название англ.: Punches. Specifications
Дата актуализации текста: 19.06.2012
Дата актуализации описания: 19.06.2012
Дата введения в действие: 01.01.1974
Область и условия применения: Настоящий стандарт распространяется на ручные слесарные бородки, предназначенные для пробивки отверстий в листовых материалах и изготовляемые для нужд народного хозяйства и экспорта.
Стандарт не распространяется на бородки, предназначенные для работы во взрывоопасных условиях
Взамен: ГОСТ 7214-54 МН 538-60
Список изменений: №1 от 01.09.1979 (рег. 28.06.1979) «Срок действия продлен»
№2 от 01.01.1986 (рег. 26.06.1985) «Поправка»
№3 от 01.03.1990 (рег. 14.09.1989) «Срок действия продлен»


ГОСТ 7214-72
ГОСТ 7214-72
ГОСТ 7214-72
ГОСТ 7214-72
ГОСТ 7214-72
ГОСТ 7214-72
ГОСТ 7214-72
ГОСТ 7214-72
Автор: 
Домашняя страница автора: 

ГОСТ 6859-72

E-mail автора: 

Приборы для отмеривания и отбора жидкостей. Технические условия

Обозначение: ГОСТ 6859-72
Статус: действующий
Название рус.: Приборы для отмеривания и отбора жидкостей. Технические условия
Название англ.: Apparatus for liquids sampling and measuring. Specifications
Дата актуализации текста: 19.06.2012
Дата актуализации описания: 19.06.2012
Дата введения в действие: 01.01.1974
Область и условия применения: Настоящий стандарт распространяется на приборы, предназначенные для отмеривания серной кислоты и изоамилового спирта при определении содержания жира в молоке и молочных продуктах, и приборы для отбора и взвешивания проб летучих, агрессивных и ядовитых жидкостей, изготовленные для нужд народного хозяйства и экспорта
Взамен: ГОСТ 6859-54
Список изменений: №1 от 01.08.1977 (рег. 19.05.1977) «Срок действия продлен»
№2 от 01.11.1979 (рег. 24.12.1982) «Срок действия продлен»
№3 от 01.06.1983 (рег. 24.12.1982) «Срок действия продлен»
№4 от 01.01.1988 (рег. 12.06.1987) «Срок действия продлен»


ГОСТ 6859-72
ГОСТ 6859-72
ГОСТ 6859-72
ГОСТ 6859-72
ГОСТ 6859-72
ГОСТ 6859-72
ГОСТ 6859-72
ГОСТ 6859-72
Автор: 
Домашняя страница автора: 

ГОСТ 6678-72

E-mail автора: 

Манжеты резиновые уплотнительные для пневматических устройств. Технические условия

Обозначение: ГОСТ 6678-72
Статус: действующий
Название рус.: Манжеты резиновые уплотнительные для пневматических устройств. Технические условия
Название англ.: Rubber sealing cups for pneumatic apparatus. Specifications
Дата актуализации текста: 19.06.2012
Дата актуализации описания: 19.06.2012
Дата введения в действие: 01.01.1974
Область и условия применения: Настоящий стандарт распространяется на резиновые манжеты для уплотнения цилиндров и штоков пневматических устройств, работающих при давлении от 0,005 до 1 МПа (от 0,05 до 10 кгс/см в кв.) со скоростью возвратно-поступательного движения до 1 м/с и температуре от минус 65 до плюс 150 град. С
Взамен: ГОСТ 6678-53 МН 5580-64
Список изменений: №1 от 01.08.1975 (рег. 23.07.1975) «Срок действия продлен»
№2 от 01.01.1979 (рег. 19.09.1978) «Срок действия продлен»
№3 от 01.01.1984 (рег. 29.07.1983) «Срок действия продлен»
№4 от 01.05.1990 (рег. 23.11.1989) «Поправка»


ГОСТ 6678-72
ГОСТ 6678-72
ГОСТ 6678-72
ГОСТ 6678-72
ГОСТ 6678-72
ГОСТ 6678-72
ГОСТ 6678-72
ГОСТ 6678-72
ГОСТ 6678-72
ГОСТ 6678-72
ГОСТ 6678-72
ГОСТ 6678-72
ГОСТ 6678-72
ГОСТ 6678-72
ГОСТ 6678-72
ГОСТ 6678-72
ГОСТ 6678-72
ГОСТ 6678-72
ГОСТ 6678-72
Автор: 
Домашняя страница автора: 

Страницы