Наша группа Вконтакте vk.com/4ertimcom

ГОСТ 6001-10000

ГОСТ 7090-72

E-mail автора: 

Дробилки молотковые однороторные. Технические условия

Обозначение: ГОСТ 7090-72
Статус: действующий
Название рус.: Дробилки молотковые однороторные. Технические условия
Название англ.: Single-rotor hammer crushers. Specifications
Дата актуализации текста: 19.06.2012
Дата актуализации описания: 19.06.2012
Дата введения в действие: 01.01.1973
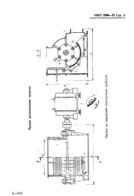
Область и условия применения: Настоящий стандарт распространяется на молотковые однороторные дробилки, предназначенные для дробления хрупких и мягких материалов: каменного угля, каменной соли, мела, гипса, топочного шлака, кирпичного боя, огнеупорного боя, квасцов, селитры, буры, а также известняка, некоторых руд и других малоабразивных материалов с влажностью при которой не происходит замазывания колосниковых решеток. При снятых колосниковых решетках дробилки применяются для дробления материалов с повышенной влажностью. Стандарт не распространяется на дробилки с самоочищающейся подвижной плитой и на реверсивные дробилки
Взамен: ГОСТ 7090-64
Список изменений: №1 от 01.07.1981 (рег. 07.04.1981) «Срок действия продлен»
№2 от 01.07.1985 (рег. 19.12.1984) «Срок действия продлен»
№3 от 01.01.1990 (рег. 23.06.1989) «Срок действия продлен»


ГОСТ 7090-72
ГОСТ 7090-72
ГОСТ 7090-72
ГОСТ 7090-72
ГОСТ 7090-72
ГОСТ 7090-72
ГОСТ 7090-72
ГОСТ 7090-72
ГОСТ 7090-72
ГОСТ 7090-72
ГОСТ 7090-72
ГОСТ 7090-72
ГОСТ 7090-72
ГОСТ 7090-72
Автор: 
Домашняя страница автора: 

ГОСТ 9621-72

E-mail автора: 

Древесина слоистая клееная. Методы определения физических свойств

Обозначение: ГОСТ 9621-72
Статус: действующий
Название рус.: Древесина слоистая клееная. Методы определения физических свойств
Название англ.: Laminated glued wood. Methods for determination of physical properties
Дата актуализации текста: 19.06.2012
Дата актуализации описания: 19.06.2012
Дата введения в действие: 01.07.1973
Область и условия применения: Настоящий стандарт распространяется на фанеру, фанерные и столярные плиты, древесные слоистые пластики и устанавливает методы определения плотности, влажности, водопоглощения, влагопоглощения, объемного разбухания
Взамен: ГОСТ 9621-61
Список изменений: №1 от 01.07.1978 (рег. 24.06.1977) «Срок действия продлен»
№2 от 01.01.1983 (рег. 28.04.1981) «Срок действия продлен»
№3 от 01.07.1987 (рег. 12.03.1987) «Срок действия продлен»


ГОСТ 9621-72
ГОСТ 9621-72
ГОСТ 9621-72
ГОСТ 9621-72
ГОСТ 9621-72
ГОСТ 9621-72
Автор: 
Домашняя страница автора: 

ГОСТ 8144-73

E-mail автора: 

Болты путевые для скрепления рельсов узкой колеи

Обозначение: ГОСТ 8144-73
Статус: действующий
Название рус.: Болты путевые для скрепления рельсов узкой колеи
Название англ.: Fishplate bolts for narrow gauge
Дата актуализации текста: 19.06.2012
Дата актуализации описания: 19.06.2012
Дата введения в действие: 01.01.1974
Область и условия применения: Настоящий стандарт распространяется на путевые болты, применяемые для скрепления железнодорожных рельсов узкой колеи
Взамен: ГОСТ 8144-56
Список изменений: №1 от 01.06.1984 (рег. 19.12.1983) «Срок действия продлен»


ГОСТ 8144-73
ГОСТ 8144-73
ГОСТ 8144-73
ГОСТ 8144-73
ГОСТ 8144-73
ГОСТ 8144-73
ГОСТ 8144-73
Автор: 
Домашняя страница автора: 

ГОСТ 6988-73

E-mail автора: 

Дициандиамид технический. Технические условия

Обозначение: ГОСТ 6988-73
Статус: действующий
Название рус.: Дициандиамид технический. Технические условия
Название англ.: Technical dicyandiamide. Specifications
Дата актуализации текста: 19.06.2012
Дата актуализации описания: 19.06.2012
Дата введения в действие: 01.01.1975
Область и условия применения: Настоящий стандарт распространяется на технический дициандиамид, предназначенный для производства меламина, закрепителей красок, пластмасс и лаков, а также для получения фармацевтических препаратов
Взамен: ГОСТ 6988-54
Список изменений: №1 от 01.06.1979 (рег. 29.01.1979) «Срок действия продлен»
№2 от 01.05.1983 (рег. 20.12.1982) «Срок действия продлен»
№3 от 01.09.1985 (рег. 21.03.1985) «Срок действия продлен»
№4 от 01.01.1991 (рег. 03.07.1990) «Срок действия продлен»


ГОСТ 6988-73
ГОСТ 6988-73
ГОСТ 6988-73
ГОСТ 6988-73
ГОСТ 6988-73
ГОСТ 6988-73
ГОСТ 6988-73
ГОСТ 6988-73
ГОСТ 6988-73
ГОСТ 6988-73
Автор: 
Домашняя страница автора: 

ГОСТ 8115-73

E-mail автора: 

Альбумин черный технический. Технические условия

Обозначение: ГОСТ 8115-73
Статус: действующий
Название рус.: Альбумин черный технический. Технические условия
Название англ.: Black technical albumin. Specifications
Дата актуализации текста: 19.06.2012
Дата актуализации описания: 19.06.2012
Дата введения в действие: 01.07.1974
Область и условия применения: Настоящий стандарт распространяется на черный технический альбумин, полученный высушиванием в распылительных сушилках и установках с виброкипящим слоем стабилизированной, дефибринированной и тонкоизмельченной цельной крови всех видов скота, перерабатываемого на мясокомбинатах, с использованием форменных элементов говяжьей и свиной крови и предназначенный для приготовления клея
Взамен: ГОСТ 8115-56
Список изменений: №1 от 01.07.1984 (рег. 06.07.1981) «Срок действия продлен»
№2 от 01.07.1984 (рег. 13.01.1984) «Срок действия продлен»
№3 от 01.06.1989 (рег. 29.11.1988) «Срок действия продлен»


ГОСТ 8115-73
ГОСТ 8115-73
ГОСТ 8115-73
ГОСТ 8115-73
ГОСТ 8115-73
ГОСТ 8115-73
ГОСТ 8115-73
Автор: 
Домашняя страница автора: 

ГОСТ 7759-73

E-mail автора: 

Магний хлористый технический (бишофит). Технические условия

Обозначение: ГОСТ 7759-73
Статус: действующий
Название рус.: Магний хлористый технический (бишофит). Технические условия
Название англ.: Technical magnesium chloride (bishofit). Specifications
Дата актуализации текста: 19.06.2012
Дата актуализации описания: 19.06.2012
Дата введения в действие: 01.01.1975
Область и условия применения: Настоящий стандарт распространяется на чешуированный технический хлористый магний (бишофит), получаемый комплексной переработкой Карабогазской рапы.
Технический хлористый магний (бишофит) предназначается для химической, легкой, энергетической и других отраслей промышленности, а также для строительства.
Стандарт не распространяется на технический хлористый магний, предназначенный для производства металлического магния
Взамен: ГОСТ 7759-55
Список изменений: №1 от 01.01.1980 (рег. 11.11.1979) «Срок действия продлен»
№2 от 01.03.1985 (рег. 26.09.1984) «Срок действия продлен»
№3 от 01.08.1988 (рег. 09.03.1988) «Срок действия продлен»


ГОСТ 7759-73
ГОСТ 7759-73
ГОСТ 7759-73
ГОСТ 7759-73
ГОСТ 7759-73
ГОСТ 7759-73
ГОСТ 7759-73
ГОСТ 7759-73
ГОСТ 7759-73
ГОСТ 7759-73
ГОСТ 7759-73
ГОСТ 7759-73
ГОСТ 7759-73
ГОСТ 7759-73
ГОСТ 7759-73
ГОСТ 7759-73
ГОСТ 7759-73
ГОСТ 7759-73
Автор: 
Домашняя страница автора: 

ГОСТ 9520-73

E-mail автора: 

Станки отделочно-расточные вертикальные. Основные размеры

Обозначение: ГОСТ 9520-73
Статус: действующий
Название рус.: Станки отделочно-расточные вертикальные. Основные размеры
Название англ.: Vertical fine boring machines. Basic dimensions
Дата актуализации текста: 19.06.2012
Дата актуализации описания: 19.06.2012
Дата введения в действие: 01.07.1974
Область и условия применения: Настоящий стандарт распространяется на одношпиндельные вертикальные и отделочно-расточные станки с фланцевым креплением шпинделя
Взамен: ГОСТ 9520-60
Список изменений: №1 от 01.07.1984 (рег. 27.03.1984) «Срок действия продлен»
№2 от 01.07.1989 (рег. 14.06.1988) «Срок действия продлен»
№3 от 01.01.1992 (рег. 21.06.1991) «Срок действия продлен»


ГОСТ 9520-73
ГОСТ 9520-73
ГОСТ 9520-73
ГОСТ 9520-73
Автор: 
Домашняя страница автора: 

ГОСТ 9886-73

E-mail автора: 

Станки-полуавтоматы горизонтальные двусторонние для обработки торцов и центрирования. Основные размеры

Обозначение: ГОСТ 9886-73
Статус: действующий
Название рус.: Станки-полуавтоматы горизонтальные двусторонние для обработки торцов и центрирования. Основные размеры
Название англ.: Semi-automatic horizontal two-sided machine-tool for face-milling and centering. Basic dimensions
Дата актуализации текста: 19.06.2012
Дата актуализации описания: 19.06.2012
Дата введения в действие: 01.01.1975
Область и условия применения: Настоящий стандарт распространяется на горизонтальные двухсторонние центровальные, центровально-подрезные и фрезерно-центровальные станки-полуавтоматы для обработки торцов и центрования.
Стандарт не распространяется на фрезерно-центровальные станки барабанного типа и другие специализированные станки
Взамен: ГОСТ 9886-61
Список изменений: №1 от 01.03.1981 (рег. 29.01.1981) «Срок действия продлен»


ГОСТ 9886-73
ГОСТ 9886-73
ГОСТ 9886-73
ГОСТ 9886-73
ГОСТ 9886-73
Автор: 
Домашняя страница автора: 

ГОСТ 6611.1-73

E-mail автора: 

Нити текстильные. Метод определения линейной плотности

Обозначение: ГОСТ 6611.1-73
Статус: действующий
Название рус.: Нити текстильные. Метод определения линейной плотности
Название англ.: Textile threads. Method for determination of linear density
Дата актуализации текста: 19.06.2012
Дата актуализации описания: 19.06.2012
Дата введения в действие: 01.01.1976
Область и условия применения: Настоящий стандарт распространяется на нити текстильные: пряжу (одиночную и крученую) из натуральных, химических волокон и смешанную; жгутик нетекстурированный; химические нити (мононити, комплексные, крученые комплексные, крученые комбинированные); неоднородные нити и нити шелка-сырца и устанавливает метод определения линейной плотности.
Стандарт не распространяется на стеклянные, металлические, асбестовые нити, а также химические нити, удлиняющиеся более чем на 1% при повышении предварительного удельного натяжения с 20 мН/текс до 30 мН/текс (например, эластомерные), и текстурированные
Взамен: ГОСТ 6611.2-69
Взамен в части: ГОСТ 6611.1-69 в части разд. 1 и 2
Список изменений: №1 от 01.03.1981 (рег. 17.11.1980) «Срок действия продлен»
№2 от 01.07.1983 (рег. 23.11.1981) «Срок действия продлен»
№3 от 01.02.1986 (рег. 27.09.1985) «Срок действия продлен»
№4 от 01.03.1991 (рег. 26.09.1990) «Срок действия продлен»
№5 от 01.10.1992 (рег. 04.06.1992) «Срок действия продлен»


ГОСТ 6611.1-73
ГОСТ 6611.1-73
ГОСТ 6611.1-73
ГОСТ 6611.1-73
ГОСТ 6611.1-73
ГОСТ 6611.1-73
ГОСТ 6611.1-73
ГОСТ 6611.1-73
ГОСТ 6611.1-73
ГОСТ 6611.1-73
ГОСТ 6611.1-73
ГОСТ 6611.1-73
ГОСТ 6611.1-73
ГОСТ 6611.1-73
ГОСТ 6611.1-73
ГОСТ 6611.1-73
ГОСТ 6611.1-73
ГОСТ 6611.1-73
ГОСТ 6611.1-73
ГОСТ 6611.1-73
ГОСТ 6611.1-73
ГОСТ 6611.1-73
ГОСТ 6611.1-73
ГОСТ 6611.1-73
ГОСТ 6611.1-73
ГОСТ 6611.1-73
ГОСТ 6611.1-73
ГОСТ 6611.1-73
ГОСТ 6611.1-73
ГОСТ 6611.1-73
Автор: 
Домашняя страница автора: 

ГОСТ 6344-73

E-mail автора: 

Реактивы. Тиомочевина. Технические условия

Обозначение: ГОСТ 6344-73
Статус: действующий
Название рус.: Реактивы. Тиомочевина. Технические условия
Название англ.: Reagents. Thiourea. Specifications
Дата актуализации текста: 19.06.2012
Дата актуализации описания: 19.06.2012
Дата введения в действие: 01.01.1975
Область и условия применения: Настоящий стандарт распространяется на тиомочевину, представляющую собой блестящие бесцветные кристаллы
Взамен: ГОСТ 6344-52
Список изменений: №1 от 01.01.1980 (рег. 30.07.1979) «Срок действия продлен»
№2 от 01.01.1990 (рег. 27.06.1989) «Срок действия продлен»


ГОСТ 6344-73
ГОСТ 6344-73
ГОСТ 6344-73
ГОСТ 6344-73
ГОСТ 6344-73
ГОСТ 6344-73
ГОСТ 6344-73
ГОСТ 6344-73
ГОСТ 6344-73
ГОСТ 6344-73
ГОСТ 6344-73
Автор: 
Домашняя страница автора: 

Страницы