Наша группа Вконтакте vk.com/4ertimcom

ГОСТ 6001-10000

ГОСТ Р ИСО 9355-3-2010

E-mail автора: 

Эргономические требования к проектированию дисплеев и механизмов управления. Часть 3. Механизмы управления

Обозначение: ГОСТ Р ИСО 9355-3-2010
Статус: действующий
Название рус.: Эргономические требования к проектированию дисплеев и механизмов управления. Часть 3. Механизмы управления
Название англ.: Ergonomic requirements for the design of displays and control actuators. Part 3. Control actuators
Дата актуализации текста: 19.06.2012
Дата актуализации описания: 19.06.2012
Дата введения в действие: 01.12.2011
Область и условия применения: Настоящий стандарт устанавливает эргономические требования по выбору, разработке конструкции и размещению механизмов управления, адаптированных к потребностям оператора и особенностям выполняемых задач управления и учитывающих условия применения этих механизмов.
Настоящий стандарт распространяется на механизмы управления, используемые в машинах, находящихся как в промышленном, так и в индивидуальном применении


ГОСТ Р ИСО 9355-3-2010
ГОСТ Р ИСО 9355-3-2010
ГОСТ Р ИСО 9355-3-2010
ГОСТ Р ИСО 9355-3-2010
ГОСТ Р ИСО 9355-3-2010
ГОСТ Р ИСО 9355-3-2010
ГОСТ Р ИСО 9355-3-2010
ГОСТ Р ИСО 9355-3-2010
ГОСТ Р ИСО 9355-3-2010
ГОСТ Р ИСО 9355-3-2010
ГОСТ Р ИСО 9355-3-2010
ГОСТ Р ИСО 9355-3-2010
ГОСТ Р ИСО 9355-3-2010
ГОСТ Р ИСО 9355-3-2010
ГОСТ Р ИСО 9355-3-2010
ГОСТ Р ИСО 9355-3-2010
ГОСТ Р ИСО 9355-3-2010
ГОСТ Р ИСО 9355-3-2010
ГОСТ Р ИСО 9355-3-2010
ГОСТ Р ИСО 9355-3-2010
ГОСТ Р ИСО 9355-3-2010
ГОСТ Р ИСО 9355-3-2010
ГОСТ Р ИСО 9355-3-2010
ГОСТ Р ИСО 9355-3-2010
ГОСТ Р ИСО 9355-3-2010
ГОСТ Р ИСО 9355-3-2010
ГОСТ Р ИСО 9355-3-2010
ГОСТ Р ИСО 9355-3-2010
ГОСТ Р ИСО 9355-3-2010
ГОСТ Р ИСО 9355-3-2010
ГОСТ Р ИСО 9355-3-2010
ГОСТ Р ИСО 9355-3-2010
ГОСТ Р ИСО 9355-3-2010
ГОСТ Р ИСО 9355-3-2010
ГОСТ Р ИСО 9355-3-2010
ГОСТ Р ИСО 9355-3-2010
ГОСТ Р ИСО 9355-3-2010
ГОСТ Р ИСО 9355-3-2010
ГОСТ Р ИСО 9355-3-2010
ГОСТ Р ИСО 9355-3-2010
Автор: 
Домашняя страница автора: 

ГОСТ Р ИСО 9008-2011

E-mail автора: 

Бутылки стеклянные. Вертикальность. Метод испытания

Обозначение: ГОСТ Р ИСО 9008-2011
Статус: действующий
Название рус.: Бутылки стеклянные. Вертикальность. Метод испытания
Название англ.: Glass bottles. Verticality. Test method
Дата актуализации текста: 19.06.2012
Дата актуализации описания: 19.06.2012
Дата введения в действие: 01.01.2012
Область и условия применения: Настоящий стандарт устанавливает метод испытания стеклянных бутылок на вертикальность.
Настоящий метод испытания определяет не только отклонение всего корпуса бутылки от вертикальной оси, но также совокупное влияние различных деформаций, например отклонение горловины от вертикальной оси, смещение и овальность горловины


ГОСТ Р ИСО 9008-2011
ГОСТ Р ИСО 9008-2011
ГОСТ Р ИСО 9008-2011
ГОСТ Р ИСО 9008-2011
ГОСТ Р ИСО 9008-2011
ГОСТ Р ИСО 9008-2011
ГОСТ Р ИСО 9008-2011
ГОСТ Р ИСО 9008-2011
Автор: 
Домашняя страница автора: 

ГОСТ Р ИСО 6772-2011

E-mail автора: 

Техника авиационная. Системы гидравлические. Импульсные испытания гидравлических шлангов, трубопроводов и фитингов

Обозначение: ГОСТ Р ИСО 6772-2011
Статус: действующий
Название рус.: Техника авиационная. Системы гидравлические. Импульсные испытания гидравлических шлангов, трубопроводов и фитингов
Название англ.: Aerospace. Fluid systems. Impulse testing of hydraulic hose, tubing and fitting assemblies
Дата актуализации текста: 19.06.2012
Дата актуализации описания: 19.06.2012
Дата введения в действие: 01.01.2012
Область и условия применения: Настоящий стандарт устанавливает требования и порядок выполнения импульсных испытаний шлангов, трубопроводов и фитингов, применяемых в гидравлических системах в составе авиационно-космической техники. Эти требования также могут применяться к комплектующим, используемым в других жидкостных системах в составе авиационно-космической техники


ГОСТ Р ИСО 6772-2011
ГОСТ Р ИСО 6772-2011
ГОСТ Р ИСО 6772-2011
ГОСТ Р ИСО 6772-2011
ГОСТ Р ИСО 6772-2011
ГОСТ Р ИСО 6772-2011
ГОСТ Р ИСО 6772-2011
ГОСТ Р ИСО 6772-2011
Автор: 
Домашняя страница автора: 

ГОСТ Р ИСО 7661-2010

E-mail автора: 

Колодки многоручьевые для крепления трубопроводов. Технические требования и методы испытаний

Обозначение: ГОСТ Р ИСО 7661-2010
Статус: действующий
Название рус.: Колодки многоручьевые для крепления трубопроводов. Технические требования и методы испытаний
Название англ.: Clamp blocks for tube lines having axial alignment. Technical requirements and test methods
Дата актуализации текста: 19.06.2012
Дата актуализации описания: 19.06.2012
Дата введения в действие: 01.07.2011
Область и условия применения: Настоящий стандарт распространяется на колодки многоручьевые, предназначенные для крепления трубопроводов с параллельным расположением (осевой центровкой), с или без электрического заземления, используемых для различных целей в жидкостных системах самолетов и вертолетов гражданского назначения, и устанавливает конструкцию и методы квалификационных испытаний


ГОСТ Р ИСО 7661-2010
ГОСТ Р ИСО 7661-2010
ГОСТ Р ИСО 7661-2010
ГОСТ Р ИСО 7661-2010
ГОСТ Р ИСО 7661-2010
ГОСТ Р ИСО 7661-2010
ГОСТ Р ИСО 7661-2010
ГОСТ Р ИСО 7661-2010
ГОСТ Р ИСО 7661-2010
ГОСТ Р ИСО 7661-2010
ГОСТ Р ИСО 7661-2010
ГОСТ Р ИСО 7661-2010
Автор: 
Домашняя страница автора: 

ГОСТ Р ИСО 6015-2010

E-mail автора: 

Машины землеройные. Гидравлические экскаваторы и экскаваторы-погрузчики. Методы измерения усилий на рабочих органах

Обозначение: ГОСТ Р ИСО 6015-2010
Статус: действующий
Название рус.: Машины землеройные. Гидравлические экскаваторы и экскаваторы-погрузчики. Методы измерения усилий на рабочих органах
Название англ.: Earth-moving machinery. Hydraulic excavators and backhoe loaders. Methods of determining tool forces
Дата актуализации текста: 19.06.2012
Дата актуализации описания: 19.06.2012
Дата введения в действие: 01.01.2012
Область и условия применения: Настоящий стандарт устанавливает методы измерения и расчета усилий на рабочих органах гидравлических экскаваторов и экскаваторном оборудовании экскаваторов - погрузчиков по ИСО 6165


ГОСТ Р ИСО 6015-2010
ГОСТ Р ИСО 6015-2010
ГОСТ Р ИСО 6015-2010
ГОСТ Р ИСО 6015-2010
ГОСТ Р ИСО 6015-2010
ГОСТ Р ИСО 6015-2010
ГОСТ Р ИСО 6015-2010
ГОСТ Р ИСО 6015-2010
ГОСТ Р ИСО 6015-2010
ГОСТ Р ИСО 6015-2010
ГОСТ Р ИСО 6015-2010
ГОСТ Р ИСО 6015-2010
ГОСТ Р ИСО 6015-2010
ГОСТ Р ИСО 6015-2010
ГОСТ Р ИСО 6015-2010
ГОСТ Р ИСО 6015-2010
ГОСТ Р ИСО 6015-2010
ГОСТ Р ИСО 6015-2010
ГОСТ Р ИСО 6015-2010
ГОСТ Р ИСО 6015-2010
Автор: 
Домашняя страница автора: 

ГОСТ Р ИСО 7199-2010

E-mail автора: 

Системы газообмена с кровью (оксигенаторы). Технические требования и методы испытаний

Обозначение: ГОСТ Р ИСО 7199-2010
Статус: действующий
Название рус.: Системы газообмена с кровью (оксигенаторы). Технические требования и методы испытаний
Название англ.: Blood-gas exchangers (oxygenators). Technical requirements and test methods
Дата актуализации текста: 19.06.2012
Дата актуализации описания: 19.06.2012
Дата введения в действие: 01.11.2011
Область и условия применения: Настоящий стандарт устанавливает требования к стерильным экстракорпоральным системам однократного применения, предназначенным для газообмена с кровью, доставки кислорода в кровь и вывода углекислого газа из крови человека (оксигенаторов).
Настоящий стандарт также применяют к теплообменникам, являющимся встроенными деталями оксигенаторов, и к внешнему оборудованию, специфичному для применения устройства.
Настоящий стандарт не охватывает:
- имплантируемые оксигенаторы;
- жидкостные оксигенаторы;
- экстракорпоральные контуры (кровеносные магистрали);
- отдельные теплообменники;
- отдельные вспомогательные устройства


ГОСТ Р ИСО 7199-2010
ГОСТ Р ИСО 7199-2010
ГОСТ Р ИСО 7199-2010
ГОСТ Р ИСО 7199-2010
ГОСТ Р ИСО 7199-2010
ГОСТ Р ИСО 7199-2010
ГОСТ Р ИСО 7199-2010
ГОСТ Р ИСО 7199-2010
ГОСТ Р ИСО 7199-2010
ГОСТ Р ИСО 7199-2010
ГОСТ Р ИСО 7199-2010
ГОСТ Р ИСО 7199-2010
ГОСТ Р ИСО 7199-2010
ГОСТ Р ИСО 7199-2010
ГОСТ Р ИСО 7199-2010
ГОСТ Р ИСО 7199-2010
Автор: 
Домашняя страница автора: 

ГОСТ Р ИСО 6938-2010

E-mail автора: 

Материалы текстильные. Натуральное волокно. Общие наименования и определения

Обозначение: ГОСТ Р ИСО 6938-2010
Статус: действующий
Название рус.: Материалы текстильные. Натуральное волокно. Общие наименования и определения
Название англ.: Textiles. Natural fibres. Generic names and definitions
Дата актуализации текста: 19.06.2012
Дата актуализации описания: 19.06.2012
Дата введения в действие: 01.01.2012
Область и условия применения: Данный стандарт дает общие наименования и определения наиболее важных природных волокон соответственно их специфическому строению или происхождению.
Приводится алфавитный список наименований, находящихся в обычном употреблении, вместе с их соответствующими стандартными наименованиями


ГОСТ Р ИСО 6938-2010
ГОСТ Р ИСО 6938-2010
ГОСТ Р ИСО 6938-2010
ГОСТ Р ИСО 6938-2010
ГОСТ Р ИСО 6938-2010
ГОСТ Р ИСО 6938-2010
ГОСТ Р ИСО 6938-2010
ГОСТ Р ИСО 6938-2010
ГОСТ Р ИСО 6938-2010
ГОСТ Р ИСО 6938-2010
ГОСТ Р ИСО 6938-2010
ГОСТ Р ИСО 6938-2010
Автор: 
Домашняя страница автора: 

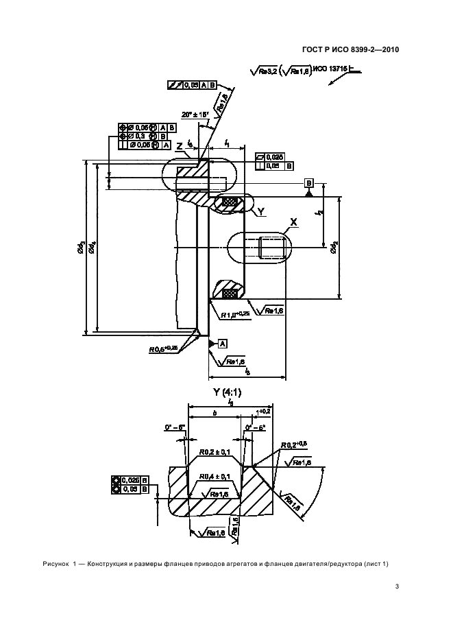
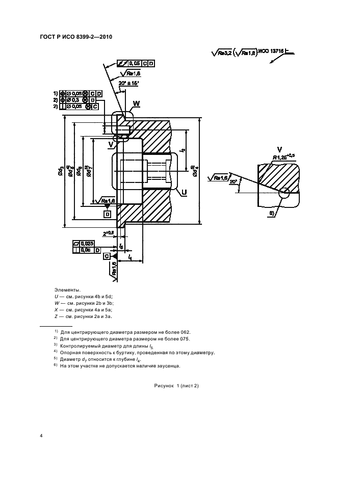
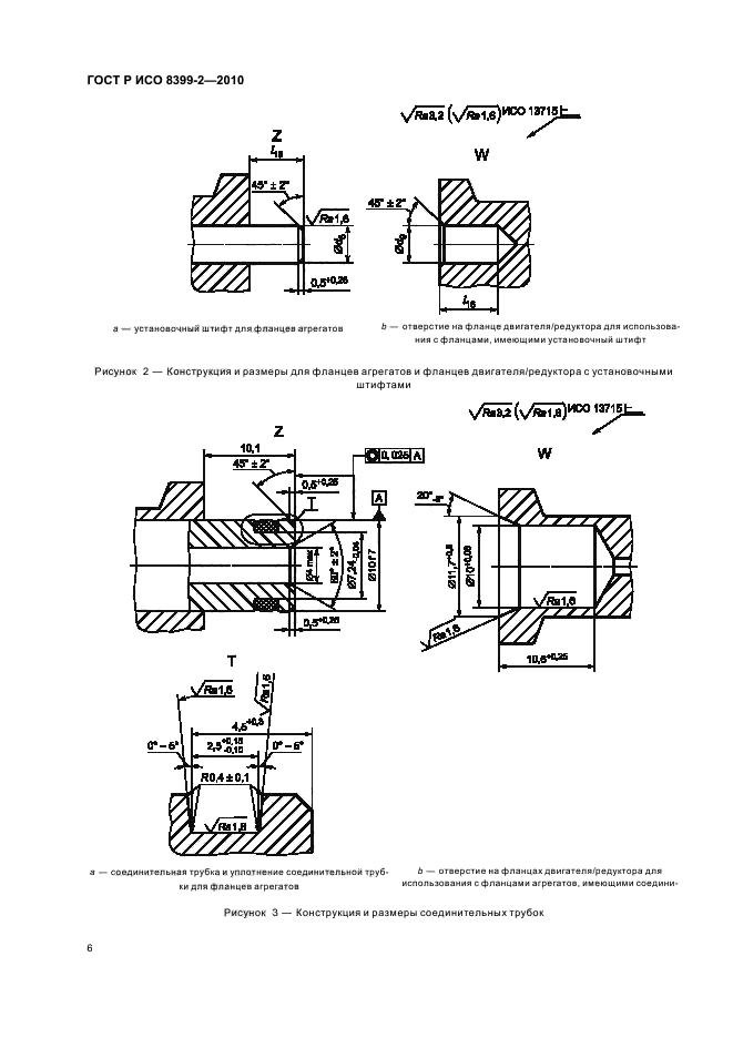
ГОСТ Р ИСО 8399-2-2010

E-mail автора: 

Авиация и космонавтика. Присоединения агрегатов к изделию. Вспомогательные приводы и монтажные фланцы (метрическая серия). Часть 2. Размеры

Обозначение: ГОСТ Р ИСО 8399-2-2010
Статус: действующий
Название рус.: Авиация и космонавтика. Присоединения агрегатов к изделию. Вспомогательные приводы и монтажные фланцы (метрическая серия). Часть 2. Размеры
Название англ.: Aerospace. Accessory connection to the product. Accessory drives and mounting flanges (Metric series). Part 2. Dimensions
Дата актуализации текста: 19.06.2012
Дата актуализации описания: 19.06.2012
Дата введения в действие: 01.07.2011
Область и условия применения: В настоящем стандарте установлены размеры фланцев для агрегатов и монтажных фланцев, обеспечивающих возможности быстрого присоединения или отсоединения, предназначенных в основном для использования в авиационных двигателях/редукторах и агрегатах двигателей


ГОСТ Р ИСО 8399-2-2010
ГОСТ Р ИСО 8399-2-2010
ГОСТ Р ИСО 8399-2-2010
ГОСТ Р ИСО 8399-2-2010
ГОСТ Р ИСО 8399-2-2010
ГОСТ Р ИСО 8399-2-2010
ГОСТ Р ИСО 8399-2-2010
ГОСТ Р ИСО 8399-2-2010
ГОСТ Р ИСО 8399-2-2010
ГОСТ Р ИСО 8399-2-2010
ГОСТ Р ИСО 8399-2-2010
ГОСТ Р ИСО 8399-2-2010
ГОСТ Р ИСО 8399-2-2010
ГОСТ Р ИСО 8399-2-2010
ГОСТ Р ИСО 8399-2-2010
ГОСТ Р ИСО 8399-2-2010
Автор: 
Домашняя страница автора: 

ГОСТ Р ИСО 8871-5-2010

E-mail автора: 

Эластомерные составляющие для парентеральных систем и изделий для фармацевтических целей. Часть 5. Функциональные требования и методы исследований

Обозначение: ГОСТ Р ИСО 8871-5-2010
Статус: действующий
Название рус.: Эластомерные составляющие для парентеральных систем и изделий для фармацевтических целей. Часть 5. Функциональные требования и методы исследований
Название англ.: Elastomeric parts for parenterals and for devices for pharmaceutical usе. Part 5. Functional requirements and test methods
Дата актуализации текста: 19.06.2012
Дата актуализации описания: 19.06.2012
Дата введения в действие: 01.11.2011
Область и условия применения: Настоящий стандарт определяет требования и методы исследования для функциональных параметров эластомерных пробок, используемых в сочетании с флаконами и при прокалывании инъекционной иглой


ГОСТ Р ИСО 8871-5-2010
ГОСТ Р ИСО 8871-5-2010
ГОСТ Р ИСО 8871-5-2010
ГОСТ Р ИСО 8871-5-2010
ГОСТ Р ИСО 8871-5-2010
ГОСТ Р ИСО 8871-5-2010
ГОСТ Р ИСО 8871-5-2010
ГОСТ Р ИСО 8871-5-2010
ГОСТ Р ИСО 8871-5-2010
ГОСТ Р ИСО 8871-5-2010
ГОСТ Р ИСО 8871-5-2010
ГОСТ Р ИСО 8871-5-2010
Автор: 
Домашняя страница автора: 

ГОСТ Р ИСО 6884-2010

E-mail автора: 

Жиры и масла животные и растительные. Определение содержания золы

Обозначение: ГОСТ Р ИСО 6884-2010
Статус: действующий
Название рус.: Жиры и масла животные и растительные. Определение содержания золы
Название англ.: Animal and vegetable fats and oils. Determination of ash content
Дата актуализации текста: 19.06.2012
Дата актуализации описания: 19.06.2012
Дата введения в действие: 01.01.2012
Область и условия применения: Настоящий стандарт распространяется на все животные и растительные жиры и масла, включая кислые масла, и устанавливает метод определения массовой доли золы


ГОСТ Р ИСО 6884-2010
ГОСТ Р ИСО 6884-2010
ГОСТ Р ИСО 6884-2010
ГОСТ Р ИСО 6884-2010
ГОСТ Р ИСО 6884-2010
ГОСТ Р ИСО 6884-2010
ГОСТ Р ИСО 6884-2010
ГОСТ Р ИСО 6884-2010
ГОСТ Р ИСО 6884-2010
ГОСТ Р ИСО 6884-2010
ГОСТ Р ИСО 6884-2010
ГОСТ Р ИСО 6884-2010
Автор: 
Домашняя страница автора: 

Страницы