Наша группа Вконтакте vk.com/4ertimcom

ГОСТ 10001-15000

ГОСТ 14990-69

E-mail автора: 

Опока литейная цельнолитая стальная круглая диаметром в свету 1200 мм, высотой 500 мм. Конструкция и размеры

Обозначение: ГОСТ 14990-69
Статус: действующий
Название рус.: Опока литейная цельнолитая стальная круглая диаметром в свету 1200 мм, высотой 500 мм. Конструкция и размеры
Название англ.: Circular steel all-cast moulding boxes having inside diameter 1200 mm, height 500 mm. Construction and dimensions
Дата актуализации текста: 19.06.2012
Дата актуализации описания: 19.06.2012
Дата введения в действие: 01.01.1971
Область и условия применения: Настоящий стандарт распространяется на литейную цельнолитую стальную круглую опоку, предназначенную для изготовления песчаных литейных форм при машинной, пескометной и ручной формовке.
Стандарт не распространяется на опоки, применяемые при формовке методом прессования под высоким удельным давлением
Взамен: МН 1995-61
Список изменений: №1 от 01.11.1980 (рег. 10.07.1980) «Срок действия продлен»


ГОСТ 14990-69
ГОСТ 14990-69
ГОСТ 14990-69
ГОСТ 14990-69
Автор: 
Домашняя страница автора: 

ГОСТ 14815-69

E-mail автора: 

Калибры-пробки гладкие проходные с насадками диаметром свыше 50 до 100 мм. Конструкция и размеры

Обозначение: ГОСТ 14815-69
Статус: действующий
Название рус.: Калибры-пробки гладкие проходные с насадками диаметром свыше 50 до 100 мм. Конструкция и размеры
Название англ.: Go plain plug gauges with headpieces of diameter over 50 to 100 mm. Design and dimensions
Дата актуализации текста: 19.06.2012
Дата актуализации описания: 19.06.2012
Дата введения в действие: 01.01.1971
Область и условия применения: Настоящий стандарт распространяется на гладкие проходные калибры-пробки, предназначенные для контроля отверстий с полями допусков по ЕСДП СЭВ и по системе ОСТ
Взамен: МН 4128-62
Список изменений: №1 от 01.05.1974 (рег. 04.04.1974) «Срок действия продлен»
№2 от 01.01.1980 (рег. 17.11.1978) «Срок действия продлен»
№3 от 01.06.1984 (рег. 21.02.1984) «Срок действия продлен»


ГОСТ 14815-69
ГОСТ 14815-69
ГОСТ 14815-69
ГОСТ 14815-69
ГОСТ 14815-69
ГОСТ 14815-69
Автор: 
Домашняя страница автора: 

ГОСТ 14818-69

E-mail автора: 

Калибры-пробки гладкие штампованные непроходные с насадками диаметром свыше 50 до 100 мм. Конструкция и размеры

Обозначение: ГОСТ 14818-69
Статус: действующий
Название рус.: Калибры-пробки гладкие штампованные непроходные с насадками диаметром свыше 50 до 100 мм. Конструкция и размеры
Название англ.: Stamped no-go plain plug gauges with headpieces of diameter over 50 to 100 mm. Design and dimensions
Дата актуализации текста: 19.06.2012
Дата актуализации описания: 19.06.2012
Дата введения в действие: 01.01.1971
Область и условия применения: Настоящий стандарт распространяется на гладкие непроходные штампованные калибры-пробки с насадками, предназначенные для контроля отверстий с полями допусков по ЕСДП СЭВ и по системе ОСТ
Список изменений: №1 от 01.05.1974 (рег. 04.04.1974) «Срок действия продлен»
№2 от 01.01.1980 (рег. 17.11.1978) «Срок действия продлен»
№3 от 01.06.1984 (рег. 21.02.1984) «Срок действия продлен»


ГОСТ 14818-69
ГОСТ 14818-69
ГОСТ 14818-69
ГОСТ 14818-69
ГОСТ 14818-69
ГОСТ 14818-69
Автор: 
Домашняя страница автора: 

ГОСТ 14820-69

E-mail автора: 

Калибры-пробки гладкие проходные неполные штампованные диаметром свыше 100 до 160 мм. Конструкция и размеры

Обозначение: ГОСТ 14820-69
Статус: действующий
Название рус.: Калибры-пробки гладкие проходные неполные штампованные диаметром свыше 100 до 160 мм. Конструкция и размеры
Название англ.: Stamped go plain plug gauges of not full-form with diameter over 100 to 160 mm. Design and dimensions
Дата актуализации текста: 19.06.2012
Дата актуализации описания: 19.06.2012
Дата введения в действие: 01.01.1971
Область и условия применения: Настоящий стандарт распространяется на гладкие проходные штампованные калибры-пробки, предназначенные для контроля отверстий с полями допусков по ЕСДП СЭВ и по системе ОСТ
Взамен: МН 2976-61 МН 4131-62
Список изменений: №1 от 01.05.1974 (рег. 04.04.1974) «Срок действия продлен»
№2 от 01.01.1980 (рег. 17.11.1978) «Срок действия продлен»
№3 от 01.06.1984 (рег. 21.02.1984) «Срок действия продлен»


ГОСТ 14820-69
ГОСТ 14820-69
ГОСТ 14820-69
ГОСТ 14820-69
ГОСТ 14820-69
ГОСТ 14820-69
ГОСТ 14820-69
Автор: 
Домашняя страница автора: 

ГОСТ 14765-69

E-mail автора: 

Механизмы исполнительные прямоходные ГСП. Места сочленения с регулирующими органами. Исполнительные размеры

Обозначение: ГОСТ 14765-69
Статус: действующий
Название рус.: Механизмы исполнительные прямоходные ГСП. Места сочленения с регулирующими органами. Исполнительные размеры
Название англ.: Straight stroke working mechanisms SSI. Joint points for controls. Sit dimensions
Дата актуализации текста: 19.06.2012
Дата актуализации описания: 19.06.2012
Дата введения в действие: 01.01.1971
Область и условия применения: Настоящий стандарт распространяется на пневматические, гидравлические и электрические прямоходные исполнительные механизмы Государственной системы промышленных приборов и средств автоматизации, предназначенные для перемещения затворов односедельных, двухседельных, шланговых, диафрагмовых и трехходовых регулирующих органов


ГОСТ 14765-69
ГОСТ 14765-69
ГОСТ 14765-69
Автор: 
Домашняя страница автора: 

ГОСТ 14976-69

E-mail автора: 

Опоки литейные цельнолитые стальные круглые диаметром в свету 400 мм; 500 мм, высотой от 100 до 200 мм. Конструкция и размеры

Обозначение: ГОСТ 14976-69
Статус: действующий
Название рус.: Опоки литейные цельнолитые стальные круглые диаметром в свету 400 мм; 500 мм, высотой от 100 до 200 мм. Конструкция и размеры
Название англ.: Circular steel all-cast moulding boxes having inside diameter 400; 500 mm, height from 100 to 200 mm. Construction and dimensions
Дата актуализации текста: 19.06.2012
Дата актуализации описания: 19.06.2012
Дата введения в действие: 01.01.1971
Область и условия применения: Настоящий стандарт распространяется на литейные цельнолитые стальные круглые опоки, предназначенные для изготовления песчаных литейных форм при машинной и ручной формовке.
Стандарт не распространяется на опоки, применяемые при формовке методом прессования под высоким удельным давлением
Взамен: МН 1981-61
Список изменений: №1 от 01.11.1980 (рег. 10.07.1980) «Срок действия продлен»


ГОСТ 14976-69
ГОСТ 14976-69
ГОСТ 14976-69
ГОСТ 14976-69
Автор: 
Домашняя страница автора: 

ГОСТ 11012-69

E-mail автора: 

Пластмассы. Метод испытания на абразивный износ

Обозначение: ГОСТ 11012-69
Статус: действующий
Название рус.: Пластмассы. Метод испытания на абразивный износ
Название англ.: Plastics. Method of test for resistance to abrasion
Дата актуализации текста: 19.06.2012
Дата актуализации описания: 19.06.2012
Дата введения в действие: 01.07.1969
Область и условия применения: Настоящий стандарт распространчется на пластмассы и устанавливает метод испытания пластмасс на истирание шлифовальной шкуркой
Взамен: ГОСТ 11012-64
Список изменений: №1 от 01.01.1988 (рег. 05.06.1987) «Срок действия продлен»


ГОСТ 11012-69
ГОСТ 11012-69
ГОСТ 11012-69
ГОСТ 11012-69
ГОСТ 11012-69
ГОСТ 11012-69
ГОСТ 11012-69
ГОСТ 11012-69
ГОСТ 11012-69
ГОСТ 11012-69
ГОСТ 11012-69
ГОСТ 11012-69
ГОСТ 11012-69
Автор: 
Домашняя страница автора: 

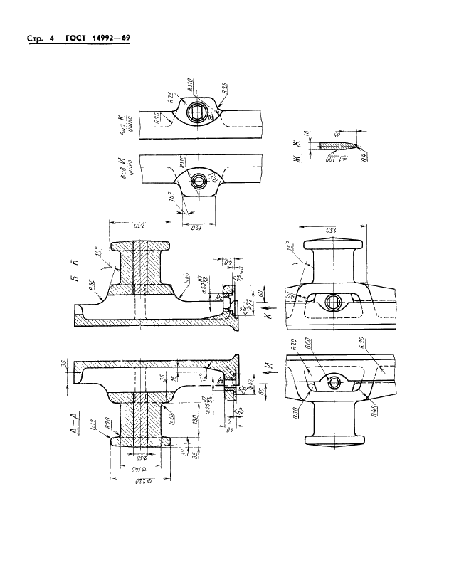
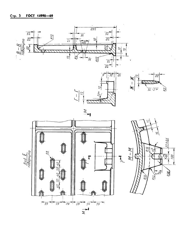
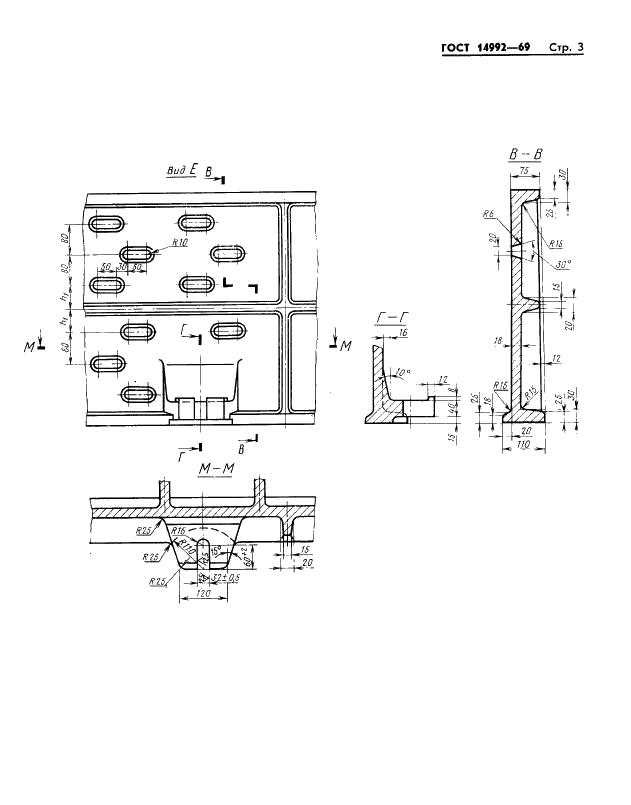
ГОСТ 14992-69

E-mail автора: 

Опоки литейные цельнолитые стальные прямоугольные размерами в свету: длиной 2000; 2200 мм, шириной от 1200 до 1800 мм, высотой 500; 600 мм. Конструкция и размеры

Обозначение: ГОСТ 14992-69
Статус: действующий
Название рус.: Опоки литейные цельнолитые стальные прямоугольные размерами в свету: длиной 2000; 2200 мм, шириной от 1200 до 1800 мм, высотой 500; 600 мм. Конструкция и размеры
Название англ.: Rectangular steel all-cast moulding boxes having inside dimensions: length 2000; 2200 mm, width from 1200 to 1800 mm, height 500; 600 mm. Construction and dimensions
Дата актуализации текста: 19.06.2012
Дата актуализации описания: 19.06.2012
Дата введения в действие: 01.01.1971
Область и условия применения: Настоящий стандарт распространяется на литейные цельнолитые стальные прямоугольные опоки, предназначенные для изготовления песчаных литейных форм при машинной, пескометной и ручной формовке
Взамен: МН 1997-61
Список изменений: №1 от 01.11.1980 (рег. 10.07.1980) «Срок действия продлен»


ГОСТ 14992-69
ГОСТ 14992-69
ГОСТ 14992-69
ГОСТ 14992-69
ГОСТ 14992-69
Автор: 
Домашняя страница автора: 

ГОСТ 14255-69

E-mail автора: 

Аппараты электрические на напряжение до 1000 В. Оболочки. Степени защиты

Обозначение: ГОСТ 14255-69
Статус: действующий
Название рус.: Аппараты электрические на напряжение до 1000 В. Оболочки. Степени защиты
Название англ.: Electrical apparatus for voltage to 1000 V. Shells. Degrees of protection
Дата актуализации текста: 19.06.2012
Дата актуализации описания: 19.06.2012
Дата введения в действие: 01.07.1969
Область и условия применения: Настоящий стандарт распространяется на оболочки, в которые встраиваются электрические аппараты общепромышленного исполнения на напряжение до 1000 В, и устанавливает степени их защиты.
Стандарт не распространяется на оболочки электрических аппаратов, предназначенных для работы во взрывоопасной среде и особых климатических условиях, а также на оболочки электробытовых приборов
Список изменений: №1 от 01.01.1980 (рег. 06.12.1979) «Срок действия продлен»
№2 от 01.02.1989 (рег. 28.09.1988) «Срок действия продлен»


ГОСТ 14255-69
ГОСТ 14255-69
ГОСТ 14255-69
Автор: 
Домашняя страница автора: 

ГОСТ 14839.1-69

E-mail автора: 

Вещества взрывчатые промышленные. Методы определения массовой доли тротила, минерального масла и нитроэфиров

Обозначение: ГОСТ 14839.1-69
Статус: действующий
Название рус.: Вещества взрывчатые промышленные. Методы определения массовой доли тротила, минерального масла и нитроэфиров
Название англ.: Industrial explosives. Method for determination of trotil, minerol oil and nitroethers total mass fraction
Дата актуализации текста: 19.06.2012
Дата актуализации описания: 19.06.2012
Дата введения в действие: 01.01.1970
Область и условия применения: Настоящий стандарт распространяется на промышленные взрывчатые вещества (ВВ) и устанавливает два метода:
экстракционный метод определения массовой доли тротила, минерального масла и нитроэфиров (для ВВ, не содержащих тротила);
потенциометрический метод определения массовой доли тротила (для ВВ, не содержащих других нитросоединений)
Взамен в части: ГОСТ 9073-64 в части пп. 31, 33, 42
Список изменений: №1 от 01.07.1980 (рег. 24.01.1980) «Срок действия продлен»
№2 от 01.09.1990 (рег. 26.02.1990) «Поправка»


ГОСТ 14839.1-69
ГОСТ 14839.1-69
ГОСТ 14839.1-69
ГОСТ 14839.1-69
ГОСТ 14839.1-69
ГОСТ 14839.1-69
ГОСТ 14839.1-69
ГОСТ 14839.1-69
ГОСТ 14839.1-69
ГОСТ 14839.1-69
ГОСТ 14839.1-69
ГОСТ 14839.1-69
ГОСТ 14839.1-69
ГОСТ 14839.1-69
ГОСТ 14839.1-69
ГОСТ 14839.1-69
ГОСТ 14839.1-69
Автор: 
Домашняя страница автора: 

Страницы