Наша группа Вконтакте vk.com/4ertimcom

ГОСТ 10001-15000

ГОСТ 11597-77

E-mail автора: 

Шкурки кошки домашней меховые выделанные. Технические условия

Обозначение: ГОСТ 11597-77
Статус: действующий
Название рус.: Шкурки кошки домашней меховые выделанные. Технические условия
Название англ.: Fur dressed skins of house cat. Specifications
Дата актуализации текста: 19.06.2012
Дата актуализации описания: 19.06.2012
Дата введения в действие: 01.01.1979
Область и условия применения: Настоящий стандарт распространяется на выделанные некрашеные и нестриженые меховые шкурки домашней кошки
Взамен: ГОСТ 11597-65
Список изменений: №1 от 01.02.1984 (рег. 31.08.1983) «Срок действия продлен»
№2 от 01.12.1987 (рег. 25.06.1987) «Срок действия продлен»
№3 от 01.01.1993 (рег. 29.07.1992) «Срок действия продлен»


ГОСТ 11597-77
ГОСТ 11597-77
ГОСТ 11597-77
ГОСТ 11597-77
ГОСТ 11597-77
ГОСТ 11597-77
ГОСТ 11597-77
ГОСТ 11597-77
Автор: 
Домашняя страница автора: 

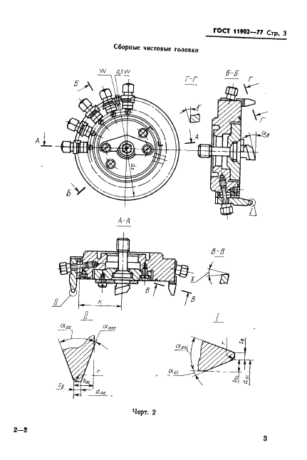
ГОСТ 11906-77

E-mail автора: 

Головки зуборезные для конических и гипоидных зубчатых колес с круговыми зубьями. Технические условия

Обозначение: ГОСТ 11906-77
Статус: действующий
Название рус.: Головки зуборезные для конических и гипоидных зубчатых колес с круговыми зубьями. Технические условия
Название англ.: Spiral bevel and hypoid gear-shaping cutter heads. Specifications
Дата актуализации текста: 19.06.2012
Дата актуализации описания: 19.06.2012
Дата введения в действие: 01.01.1979
Область и условия применения: Настоящий стандарт распространяется на цельные и сборные зуборезные головки нормальной и повышенной точности для конических и гипоидных зубчатых колес с круговыми зубьями и резцы к сборным зуборезным головкам
Взамен: ГОСТ 11906-66
Список изменений: №1 от 01.05.1981 (рег. 16.03.1981) «Срок действия продлен»
№2 от 01.09.1984 (рег. 26.03.1984) «Срок действия продлен»
№3 от 01.09.1987 (рег. 12.03.1987) «Срок действия продлен»
№4 от 01.06.1989 (рег. 16.11.1988) «Срок действия продлен»
№5 от 01.04.1990 (рег. 17.07.1989) «Срок действия продлен»


ГОСТ 11906-77
ГОСТ 11906-77
ГОСТ 11906-77
ГОСТ 11906-77
ГОСТ 11906-77
ГОСТ 11906-77
ГОСТ 11906-77
ГОСТ 11906-77
ГОСТ 11906-77
ГОСТ 11906-77
ГОСТ 11906-77
ГОСТ 11906-77
Автор: 
Домашняя страница автора: 

ГОСТ 12393-77

E-mail автора: 

Арматура контактной сети для электрифицированных железных дорог. Общие технические условия

Обозначение: ГОСТ 12393-77
Статус: действующий
Название рус.: Арматура контактной сети для электрифицированных железных дорог. Общие технические условия
Название англ.: Fittings for overhead system of electric railways. General specifications
Дата актуализации текста: 19.06.2012
Дата актуализации описания: 19.06.2012
Дата введения в действие: 01.01.1980
Область и условия применения: Настоящий стандарт распространяется на арматуру контактной сети электрифицированных железных дорог, предназначенную для подвешивания, фиксации в заданном положении, стыковки, анкеровки, механического и электрического соединения проводов контактной сети и других воздушных линий, подвешиваемых на опорах контактной сети.
Стандарт не распространяется на изделия армирования опор контактной сети (закладные детали, хомуты, фиксаторы, кронштейны, анкерные оттяжки) и другие опорные и поддерживающие конструкции, на изделия, предназначенные для соединения проводов методом сварки, а также на линейную арматуру воздушных линий электропередачи и открытых распределительных устройств, используемую на контактной сети
Взамен: ГОСТ 12393-66
Список изменений: №0 от 25.06.1987 (рег. 25.06.1987) «Срок действия продлен»
№1 от 01.03.1985 (рег. 27.08.1984) «Срок действия продлен»
№2 от 01.01.1986 (рег. 28.08.1985) «Срок действия продлен»
№3 от 01.03.1993 (рег. 14.09.1992) «Срок действия продлен»


ГОСТ 12393-77
ГОСТ 12393-77
ГОСТ 12393-77
ГОСТ 12393-77
ГОСТ 12393-77
ГОСТ 12393-77
ГОСТ 12393-77
ГОСТ 12393-77
ГОСТ 12393-77
ГОСТ 12393-77
ГОСТ 12393-77
ГОСТ 12393-77
ГОСТ 12393-77
ГОСТ 12393-77
ГОСТ 12393-77
ГОСТ 12393-77
ГОСТ 12393-77
ГОСТ 12393-77
ГОСТ 12393-77
ГОСТ 12393-77
ГОСТ 12393-77
ГОСТ 12393-77
ГОСТ 12393-77
ГОСТ 12393-77
Автор: 
Домашняя страница автора: 

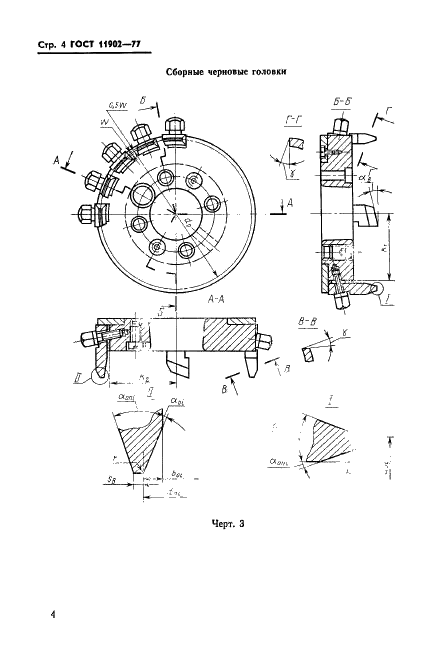
ГОСТ 11902-77

E-mail автора: 

Головки зуборезные для конических и гипоидных зубчатых колес с круговыми зубьями. Основные размеры

Обозначение: ГОСТ 11902-77
Статус: действующий
Название рус.: Головки зуборезные для конических и гипоидных зубчатых колес с круговыми зубьями. Основные размеры
Название англ.: Spiral bevel and hypoid gear cutters. Basic dimensions
Дата актуализации текста: 19.06.2012
Дата актуализации описания: 19.06.2012
Дата введения в действие: 01.01.1979
Область и условия применения: Настоящий стандарт распространяется на цельные зуборезные головки номинальными диаметрами от 20 до 80 мм и сборные головки номинальными диаметрами от 100 до 1000 мм для нарезания конических зубчатых колес с круговыми зубьями и исходным контуром, а также на сборные головки номинальными диаметрами от 160 до 500 мм с диапазонами углов профилей резцов: наружных от 10 до 26 град. и внутренних от 14 до 36 град. для нарезания гипоидных зубчатых колес
Взамен: ГОСТ 11902-66
Список изменений: №1 от 01.05.1981 (рег. 16.03.1981) «Срок действия продлен»


ГОСТ 11902-77
ГОСТ 11902-77
ГОСТ 11902-77
ГОСТ 11902-77
ГОСТ 11902-77
ГОСТ 11902-77
ГОСТ 11902-77
ГОСТ 11902-77
ГОСТ 11902-77
ГОСТ 11902-77
ГОСТ 11902-77
Автор: 
Домашняя страница автора: 

ГОСТ 10670-77

E-mail автора: 

Пилы ленточные для распиловки бревен и брусьев. Технические условия

Обозначение: ГОСТ 10670-77
Статус: действующий
Название рус.: Пилы ленточные для распиловки бревен и брусьев. Технические условия
Название англ.: Log band saws. Technical conditions
Дата актуализации текста: 19.06.2012
Дата актуализации описания: 19.06.2012
Дата введения в действие: 01.07.1978
Область и условия применения: Настоящий стандарт распространяется на пилы ленточные для распиловки бревен и брусьев
Взамен: ГОСТ 10670-63
Список изменений: №1 от 01.09.1983 (рег. 24.03.1983) «Срок действия продлен»
№2 от 01.07.1988 (рег. 16.12.1987) «Срок действия продлен»


ГОСТ 10670-77
ГОСТ 10670-77
ГОСТ 10670-77
ГОСТ 10670-77
ГОСТ 10670-77
ГОСТ 10670-77
ГОСТ 10670-77
ГОСТ 10670-77
ГОСТ 10670-77
ГОСТ 10670-77
ГОСТ 10670-77
Автор: 
Домашняя страница автора: 

ГОСТ 12711-77

E-mail автора: 

Угли бурые, каменные, антрацит и сланцы горючие. Метод определения массовой доли галлия

Обозначение: ГОСТ 12711-77
Статус: действующий
Название рус.: Угли бурые, каменные, антрацит и сланцы горючие. Метод определения массовой доли галлия
Название англ.: Brown coals, hard coals, anthracite and combustible shales. Method for the determination of mass fraction of gallium
Дата актуализации текста: 19.06.2012
Дата актуализации описания: 19.06.2012
Дата введения в действие: 01.01.1979
Область и условия применения: Настоящий стандарт распространяется на бурые и каменные угли, антрацит и горючие сланцы и устанавливает фотоколориметрический метод определения массовой доли галлия
Взамен: ГОСТ 12711-67


ГОСТ 12711-77
ГОСТ 12711-77
ГОСТ 12711-77
ГОСТ 12711-77
ГОСТ 12711-77
ГОСТ 12711-77
ГОСТ 12711-77
ГОСТ 12711-77
Автор: 
Домашняя страница автора: 

ГОСТ 12034-77

E-mail автора: 

Эмали марок МЛ-165, МЛ-165ПМ и МС-160. Технические условия

Обозначение: ГОСТ 12034-77
Статус: действующий
Название рус.: Эмали марок МЛ-165, МЛ-165ПМ и МС-160. Технические условия
Название англ.: Enamels MЛ-165, MЛ-165ПM and MC-160. Specifications
Дата актуализации текста: 19.06.2012
Дата актуализации описания: 19.06.2012
Дата введения в действие: 01.01.1979
Область и условия применения: Настоящий стандарт распространяется на рисунчатые (молотковые) полуглянцевые и полуматовые эмали марок МЛ-165, МЛ-165ПМ и МС-160, представляющие собой в зависимости от марки суспензию пигментов или пигментов с наполнителем в смеси растворов алкидных и меламиноформальдегидных смол или в алкидностирольном лаке с добавлением силиконового жира.
Эмали предназначаются для окрашивания приборов и других металлических изделий, эксплуатируемых в атмосферных условиях различных климатических районов, внутри помещений и при воздействии температуры до 130 град. С
Взамен: ГОСТ 12034-66
Список изменений: №1 от 01.12.1983 (рег. 11.07.1983) «Срок действия продлен»
№2 от 01.01.1989 (рег. 22.06.1988) «Срок действия продлен»
№3 от 01.01.1993 (рег. 29.06.1992) «Срок действия продлен»


ГОСТ 12034-77
ГОСТ 12034-77
ГОСТ 12034-77
ГОСТ 12034-77
ГОСТ 12034-77
ГОСТ 12034-77
ГОСТ 12034-77
ГОСТ 12034-77
Автор: 
Домашняя страница автора: 

ГОСТ 14261-77

E-mail автора: 

Кислота соляная особой чистоты. Технические условия

Обозначение: ГОСТ 14261-77
Статус: действующий
Название рус.: Кислота соляная особой чистоты. Технические условия
Название англ.: Hydrochloric acid super pure. Specifications
Дата актуализации текста: 19.06.2012
Дата актуализации описания: 19.06.2012
Дата введения в действие: 01.07.1978
Область и условия применения: Настоящий стандарт распространяется на соляную кислоту особой чистоты, которая представляет собой бесцветную прозрачную жидкость, дымящую на воздухе
Взамен: ГОСТ 14261-69
Список изменений: №1 от 01.07.1988 (рег. 18.12.1987) «Срок действия продлен»


ГОСТ 14261-77
ГОСТ 14261-77
ГОСТ 14261-77
ГОСТ 14261-77
ГОСТ 14261-77
ГОСТ 14261-77
ГОСТ 14261-77
ГОСТ 14261-77
ГОСТ 14261-77
ГОСТ 14261-77
ГОСТ 14261-77
ГОСТ 14261-77
ГОСТ 14261-77
ГОСТ 14261-77
ГОСТ 14261-77
ГОСТ 14261-77
ГОСТ 14261-77
ГОСТ 14261-77
ГОСТ 14261-77
ГОСТ 14261-77
ГОСТ 14261-77
ГОСТ 14261-77
ГОСТ 14261-77
ГОСТ 14261-77
ГОСТ 14261-77
ГОСТ 14261-77
ГОСТ 14261-77
ГОСТ 14261-77
ГОСТ 14261-77
ГОСТ 14261-77
ГОСТ 14261-77
Автор: 
Домашняя страница автора: 

ГОСТ 12852.5-77

E-mail автора: 

Бетон ячеистый. Метод определения коэффициента паропроницаемости

Обозначение: ГОСТ 12852.5-77
Статус: действующий
Название рус.: Бетон ячеистый. Метод определения коэффициента паропроницаемости
Название англ.: Cellular concrete. Method of steam-permeafility coefficient determination
Дата актуализации текста: 19.06.2012
Дата актуализации описания: 19.06.2012
Дата введения в действие: 01.07.1978
Область и условия применения: Настоящий стандарт распространяется на ячеистый бетон и устанавливает метод определения коэффициента его паропроницаемости измерением паропроницаемости образца при стационарном потоке водяного пара
Взамен в части: ГОСТ 12852-67 в части разд. 17


ГОСТ 12852.5-77
ГОСТ 12852.5-77
ГОСТ 12852.5-77
ГОСТ 12852.5-77
Автор: 
Домашняя страница автора: 

ГОСТ 10903-77

E-mail автора: 

Сверла спиральные с коническим хвостовиком. Основные размеры

Обозначение: ГОСТ 10903-77
Статус: действующий
Название рус.: Сверла спиральные с коническим хвостовиком. Основные размеры
Название англ.: Twist drills with taper shanks. Basic dimensions
Дата актуализации текста: 19.06.2012
Дата актуализации описания: 19.06.2012
Дата введения в действие: 01.01.1979
Область и условия применения: Настоящий стандарт распространяется на спиральные сверла с коническим хвостовиком диаметром от 5 до 80 мм
Взамен: ГОСТ 10903-64 МН 5808-65
Список изменений: №1 от 01.01.1983 (рег. 22.07.1982) «Срок действия продлен»
№2 от 01.09.1988 (рег. 27.04.1988) «Срок действия продлен»


ГОСТ 10903-77
ГОСТ 10903-77
ГОСТ 10903-77
ГОСТ 10903-77
ГОСТ 10903-77
ГОСТ 10903-77
ГОСТ 10903-77
ГОСТ 10903-77
ГОСТ 10903-77
Автор: 
Домашняя страница автора: 

Страницы