Наша группа Вконтакте vk.com/4ertimcom

ГОСТ 25001-30000

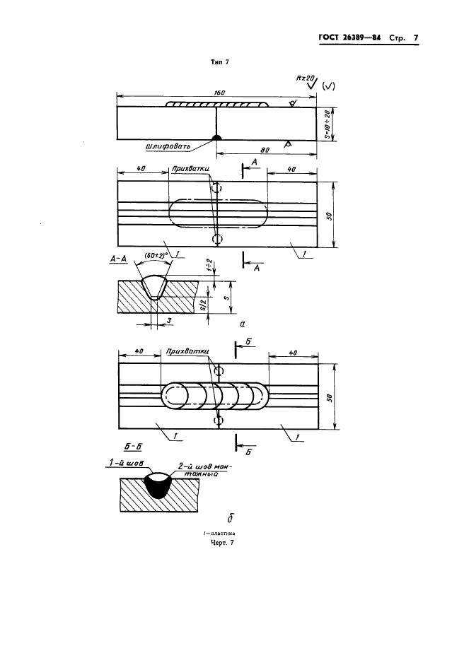
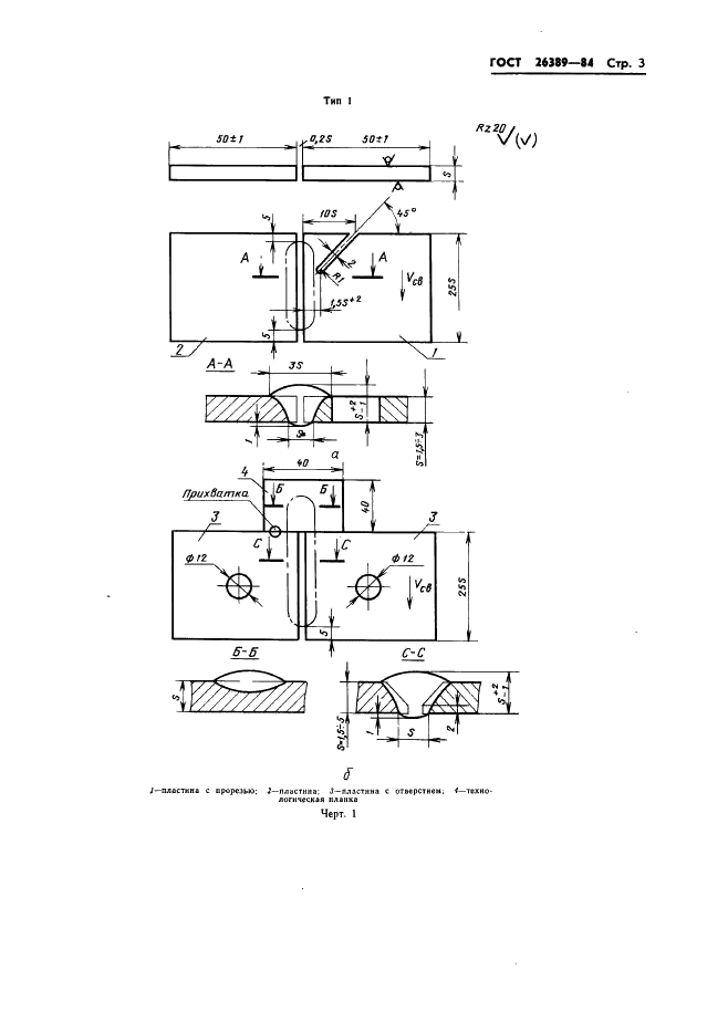
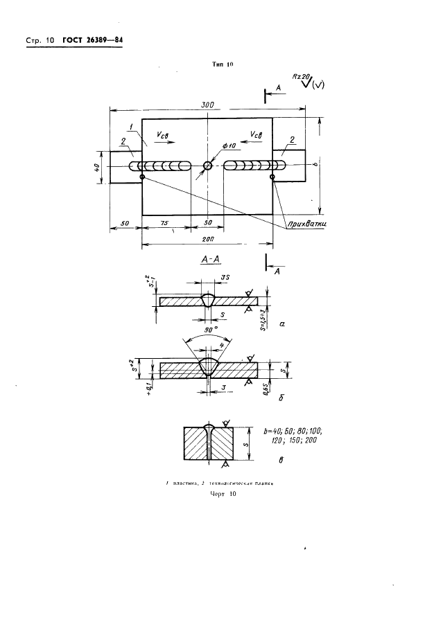
ГОСТ 26389-84

E-mail автора: 

Соединения сварные. Методы испытаний на сопротивляемость образованию горячих трещин при сварке плавлением

Обозначение: ГОСТ 26389-84
Статус: действует только в РФ
Название рус.: Соединения сварные. Методы испытаний на сопротивляемость образованию горячих трещин при сварке плавлением
Название англ.: Welded joints. Test methods on resistance to shrinkage crack formation under fusion welding
Дата актуализации текста: 19.06.2012
Дата актуализации описания: 19.06.2012
Дата введения в действие: 01.01.1986
Область и условия применения: Настоящий стандарт устанавливает методы испытаний на сопротивляемость образованию горячих трещин металла шва и зоны сплавления сварных соединений конструкционных сплавов толщиной 1,5 мм и более при всех способах сварки плавлением и имитации сварочного термического цикла
Список изменений: №0 от 01.03.2000 (рег. 14.10.1999) «Восстановлен на территории РФ»


ГОСТ 26389-84
ГОСТ 26389-84
ГОСТ 26389-84
ГОСТ 26389-84
ГОСТ 26389-84
ГОСТ 26389-84
ГОСТ 26389-84
ГОСТ 26389-84
ГОСТ 26389-84
ГОСТ 26389-84
ГОСТ 26389-84
ГОСТ 26389-84
ГОСТ 26389-84
ГОСТ 26389-84
ГОСТ 26389-84
ГОСТ 26389-84
ГОСТ 26389-84
ГОСТ 26389-84
ГОСТ 26389-84
ГОСТ 26389-84
ГОСТ 26389-84
ГОСТ 26389-84
ГОСТ 26389-84
ГОСТ 26389-84
ГОСТ 26389-84
ГОСТ 26389-84
Автор: 
Домашняя страница автора: 

ГОСТ 26095-84

E-mail автора: 

Ткани полиэфирные технические фильтровальные. Технические условия

Обозначение: ГОСТ 26095-84
Статус: действующий
Название рус.: Ткани полиэфирные технические фильтровальные. Технические условия
Название англ.: Polyester industrial filter fabrics. Specifications
Дата актуализации текста: 19.06.2012
Дата актуализации описания: 19.06.2012
Дата введения в действие: 01.01.1985
Область и условия применения: Настоящий стандарт распространяется на фильтровальные ткани из полиэфирных комплексных нитей, предназначенные для применения в угольной, химической, металлургической, пищевой и других отраслях промышленности
Заменяющий в части: ГОСТ 29104.10-91 в части п. 3.8
Список изменений: №1 от 01.09.1989 (рег. 09.03.1989) «Срок действия продлен»


ГОСТ 26095-84
ГОСТ 26095-84
ГОСТ 26095-84
ГОСТ 26095-84
ГОСТ 26095-84
ГОСТ 26095-84
ГОСТ 26095-84
ГОСТ 26095-84
ГОСТ 26095-84
ГОСТ 26095-84
ГОСТ 26095-84
ГОСТ 26095-84
ГОСТ 26095-84
ГОСТ 26095-84
Автор: 
Домашняя страница автора: 

ГОСТ 26352-84

E-mail автора: 

Модель влажности воздуха в северном полушарии

Обозначение: ГОСТ 26352-84
Статус: действующий
Название рус.: Модель влажности воздуха в северном полушарии
Название англ.: Model of air humidity in the northern hemisphere
Дата актуализации текста: 19.06.2012
Дата актуализации описания: 19.06.2012
Дата введения в действие: 01.01.1986
Область и условия применения: Настоящий стандарт устанавливает закономерности вертикального распределения характеристик влажности воздуха по широтным и меридиональным разрезам северного полушария для высот от уровня моря до 10 км.
Стандарт предназначен для оценки летно-технических характеристик проектируемых и находящихся в эксплуатации летательных аппаратов, для использования при изучении метеорологических процессов и при решении задач, в которых требуются числовые оценки характеристик влажности воздуха


ГОСТ 26352-84
ГОСТ 26352-84
ГОСТ 26352-84
ГОСТ 26352-84
ГОСТ 26352-84
ГОСТ 26352-84
ГОСТ 26352-84
ГОСТ 26352-84
ГОСТ 26352-84
ГОСТ 26352-84
ГОСТ 26352-84
ГОСТ 26352-84
ГОСТ 26352-84
ГОСТ 26352-84
Автор: 
Домашняя страница автора: 

ГОСТ 26318.8-84

E-mail автора: 

Материалы неметаллорудные. Радиометрический метод определения массовой доли оксида калия

Обозначение: ГОСТ 26318.8-84
Статус: действующий
Название рус.: Материалы неметаллорудные. Радиометрический метод определения массовой доли оксида калия
Название англ.: Non-metallic ore materials. Radiometric method for determination of potassium oxide mass fraction
Дата актуализации текста: 19.06.2012
Дата актуализации описания: 19.06.2012
Дата введения в действие: 01.01.1986
Область и условия применения: Настоящий стандарт распространяется на полевошпатовые, кварцполевошпатовые, измельченные слюдяные материалы и устанавливает радиометрический метод определения массовой доли оксида калия
Список изменений: №1 от 01.07.1991 (рег. 24.12.1990) «Поправка»


ГОСТ 26318.8-84
ГОСТ 26318.8-84
ГОСТ 26318.8-84
ГОСТ 26318.8-84
Автор: 
Домашняя страница автора: 

ГОСТ 26214-84

E-mail автора: 

Изделия из древесины и древесных материалов. Погрешности, допускаемые при измерении линейных размеров

Обозначение: ГОСТ 26214-84
Статус: действующий
Название рус.: Изделия из древесины и древесных материалов. Погрешности, допускаемые при измерении линейных размеров
Название англ.: Products of wood and wooden materials. Permissible errors in measuring linear dimensions
Дата актуализации текста: 19.06.2012
Дата актуализации описания: 19.06.2012
Дата введения в действие: 01.01.1986
Область и условия применения: Настоящий стандарт распространяется на детали и сборочные единицы из древесины и древесных материалов и устанавливает допускаемые погрешности измерения линейных размеров до 10000 мм при приемочном контроле и правила определения приемочных границ с учетом допускаемых погрешностей измерения


ГОСТ 26214-84
ГОСТ 26214-84
ГОСТ 26214-84
ГОСТ 26214-84
ГОСТ 26214-84
Автор: 
Домашняя страница автора: 

ГОСТ 26190-84

E-mail автора: 

Станки металлорежущие. Методы проверки постоянства размеров цилиндрических образцов-изделий в пределах одной партии

Обозначение: ГОСТ 26190-84
Статус: действующий
Название рус.: Станки металлорежущие. Методы проверки постоянства размеров цилиндрических образцов-изделий в пределах одной партии
Название англ.: Metal-cutting machine tools. Methods of checking cylindrical specimens for size constancy within one batch
Дата актуализации текста: 19.06.2012
Дата актуализации описания: 19.06.2012
Дата введения в действие: 01.01.1985
Область и условия применения: Настоящий стандарт устанавливает методы проверок постоянства диаметра и длины наружных и внутренних поверхностей цилиндрических образцов-изделий в пределах одной партии при обработке их на станках с автоматическим или полуавтоматическим циклом работы


ГОСТ 26190-84
ГОСТ 26190-84
ГОСТ 26190-84
ГОСТ 26190-84
ГОСТ 26190-84
ГОСТ 26190-84
ГОСТ 26190-84
ГОСТ 26190-84
Автор: 
Домашняя страница автора: 

ГОСТ 26318.9-84

E-mail автора: 

Материалы неметаллорудные. Метод определения массовой доли оксида серы (VI)

Обозначение: ГОСТ 26318.9-84
Статус: действующий
Название рус.: Материалы неметаллорудные. Метод определения массовой доли оксида серы (VI)
Название англ.: Non-metallic ore materials. Method for determination of sulphir mass fraction
Дата актуализации текста: 19.06.2012
Дата актуализации описания: 19.06.2012
Дата введения в действие: 01.01.1986
Область и условия применения: Настоящий стандарт распространяется на полевошпатовые и кварцполевошпатовые материалы, слюду, диопсид и устанавливает фототурбидиметрический метод определения массовой доли оксида серы (VI)
Взамен: ГОСТ 20543.8-75 ГОСТ 14328.7-77
Список изменений: №1 от 01.03.1987 (рег. 21.10.1986) «Срок действия продлен»
№2 от 01.07.1991 (рег. 24.12.1990) «Поправка»


ГОСТ 26318.9-84
ГОСТ 26318.9-84
ГОСТ 26318.9-84
ГОСТ 26318.9-84
Автор: 
Домашняя страница автора: 

ГОСТ 26306-84

E-mail автора: 

Источники бета-излучения радионуклидные закрытые. Методы измерения параметров

Обозначение: ГОСТ 26306-84
Статус: действующий
Название рус.: Источники бета-излучения радионуклидные закрытые. Методы измерения параметров
Название англ.: Sealed radionuclidic beta-radiation sources. Methods of parameters measurement
Дата актуализации текста: 19.06.2012
Дата актуализации описания: 19.06.2012
Дата введения в действие: 01.01.1986
Область и условия применения: Настоящий стандарт распространяется на закрытые радионуклидные источники бета-излучения и устанавливает методы измерения основных радиационных параметров источников.
Настоящий стандарт не распространяется на методы аттестации эталонных, образцовых и рабочих источников
Список изменений: №1 от 01.01.1991 (рег. 09.04.1990) «Срок действия продлен»


ГОСТ 26306-84
ГОСТ 26306-84
ГОСТ 26306-84
ГОСТ 26306-84
ГОСТ 26306-84
ГОСТ 26306-84
ГОСТ 26306-84
ГОСТ 26306-84
ГОСТ 26306-84
ГОСТ 26306-84
ГОСТ 26306-84
ГОСТ 26306-84
ГОСТ 26306-84
ГОСТ 26306-84
ГОСТ 26306-84
ГОСТ 26306-84
ГОСТ 26306-84
ГОСТ 26306-84
ГОСТ 26306-84
ГОСТ 26306-84
ГОСТ 26306-84
ГОСТ 26306-84
ГОСТ 26306-84
ГОСТ 26306-84
ГОСТ 26306-84
ГОСТ 26306-84
ГОСТ 26306-84
ГОСТ 26306-84
ГОСТ 26306-84
ГОСТ 26306-84
ГОСТ 26306-84
ГОСТ 26306-84
ГОСТ 26306-84
Автор: 
Домашняя страница автора: 

ГОСТ 26202-84

E-mail автора: 

Сосуды и аппараты. Нормы и методы расчета на прочность обечаек и днищ от воздействия опорных нагрузок

Обозначение: ГОСТ 26202-84
Статус: действующий
Название рус.: Сосуды и аппараты. Нормы и методы расчета на прочность обечаек и днищ от воздействия опорных нагрузок
Название англ.: Vessels and apparatus. Norms and methods of strength analysis of shells and heads from influence of support loads
Дата актуализации текста: 19.06.2012
Дата актуализации описания: 19.06.2012
Дата введения в действие: 01.07.1984
Область и условия применения: Настоящий стандарт распространяется на сосуды и аппараты, предназначенные для работы в химической и нефтеперерабатывающей отраслях промышленности, и устанавливает нормы и методы расчета на прочность сосудов и аппаратов, статически нагруженных опорными узлами: ексущими ушками, опорными лапами, седловыми опорами, опорными стойками.
Настоящий стандарт не распространяется на расчет самих опорных узлов


ГОСТ 26202-84
ГОСТ 26202-84
ГОСТ 26202-84
ГОСТ 26202-84
ГОСТ 26202-84
ГОСТ 26202-84
ГОСТ 26202-84
ГОСТ 26202-84
ГОСТ 26202-84
ГОСТ 26202-84
ГОСТ 26202-84
ГОСТ 26202-84
ГОСТ 26202-84
ГОСТ 26202-84
ГОСТ 26202-84
ГОСТ 26202-84
ГОСТ 26202-84
ГОСТ 26202-84
ГОСТ 26202-84
ГОСТ 26202-84
ГОСТ 26202-84
ГОСТ 26202-84
ГОСТ 26202-84
ГОСТ 26202-84
ГОСТ 26202-84
ГОСТ 26202-84
ГОСТ 26202-84
ГОСТ 26202-84
ГОСТ 26202-84
ГОСТ 26202-84
ГОСТ 26202-84
ГОСТ 26202-84
ГОСТ 26202-84
ГОСТ 26202-84
ГОСТ 26202-84
ГОСТ 26202-84
ГОСТ 26202-84
ГОСТ 26202-84
Автор: 
Домашняя страница автора: 

ГОСТ 26312.6-84

E-mail автора: 

Крупа. Метод определения кислотности по болтушке овсянных хлопьев

Обозначение: ГОСТ 26312.6-84
Статус: действующий
Название рус.: Крупа. Метод определения кислотности по болтушке овсянных хлопьев
Название англ.: Groats. Method for determination of acidity of oat flakes
Дата актуализации текста: 19.06.2012
Дата актуализации описания: 19.06.2012
Дата введения в действие: 01.01.1986
Область и условия применения: Настоящий стандарт распространяется на овсяные хлопья и устанавливает метод определения кислотности овсяных хлопьев по болтушке
Список изменений: №1 от 01.09.1990 (рег. 24.05.1990) «Срок действия продлен»


ГОСТ 26312.6-84
ГОСТ 26312.6-84
Автор: 
Домашняя страница автора: 

Страницы