Наша группа Вконтакте vk.com/4ertimcom

ГОСТ 25001-30000

ГОСТ 26616-85

E-mail автора: 

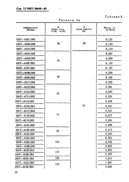
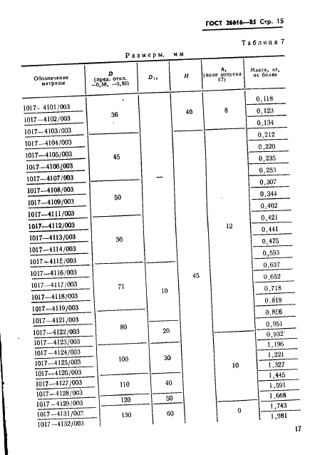
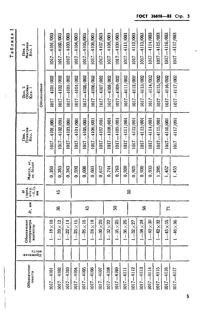
Пакеты съемных многоместных пресс-форм для изготовления манжет гидравлических устройств. Конструкция и размеры

Обозначение: ГОСТ 26616-85
Статус: действующий
Название рус.: Пакеты съемных многоместных пресс-форм для изготовления манжет гидравлических устройств. Конструкция и размеры
Название англ.: Sets of portable multi-impression press moulas for manufacturing of rubber u-packing seals. Design and dimensions
Дата актуализации текста: 19.06.2012
Дата актуализации описания: 19.06.2012
Дата введения в действие: 01.07.1986
Область и условия применения: Настоящий стандарт распространяется на пакеты для изготовления резиновых уплотнительных манжет по ГОСТ 14896-84 типов 1 и 3 размерами от 18х10 до 110х90 мм. Пакеты предназначены для установки в блоки съемных многоместных пресс-форм по ГОСТ 24342-80


ГОСТ 26616-85
ГОСТ 26616-85
ГОСТ 26616-85
ГОСТ 26616-85
ГОСТ 26616-85
ГОСТ 26616-85
ГОСТ 26616-85
ГОСТ 26616-85
ГОСТ 26616-85
ГОСТ 26616-85
ГОСТ 26616-85
ГОСТ 26616-85
ГОСТ 26616-85
ГОСТ 26616-85
ГОСТ 26616-85
ГОСТ 26616-85
ГОСТ 26616-85
ГОСТ 26616-85
ГОСТ 26616-85
ГОСТ 26616-85
ГОСТ 26616-85
Автор: 
Домашняя страница автора: 

ГОСТ 26450.1-85

E-mail автора: 

Породы горные. Метод определения коэффициента открытой пористости жидкостенасыщением

Обозначение: ГОСТ 26450.1-85
Статус: действующий
Название рус.: Породы горные. Метод определения коэффициента открытой пористости жидкостенасыщением
Название англ.: Rocks. Method for determination of open porosity coefficient by fluid saturation
Дата актуализации текста: 19.06.2012
Дата актуализации описания: 19.06.2012
Дата введения в действие: 01.07.1986
Область и условия применения: Настоящий стандарт распространяется на горные породы, насыщенные в природных условиях нефтью, газом или водой и устанавливает метод определения коэффициента открытой пористости образцов горных пород жидкостенасыщением. Стандарт не распространяется на рыхлые горные породы


ГОСТ 26450.1-85
ГОСТ 26450.1-85
ГОСТ 26450.1-85
ГОСТ 26450.1-85
ГОСТ 26450.1-85
ГОСТ 26450.1-85
ГОСТ 26450.1-85
ГОСТ 26450.1-85
Автор: 
Домашняя страница автора: 

ГОСТ 26408-85

E-mail автора: 

Колонны для сварочных полуавтоматов. Типы, основные параметры и размеры

Обозначение: ГОСТ 26408-85
Статус: действующий
Название рус.: Колонны для сварочных полуавтоматов. Типы, основные параметры и размеры
Название англ.: Columns for welding semiautomats. Types, basic parameters and dimensions
Дата актуализации текста: 19.06.2012
Дата актуализации описания: 19.06.2012
Дата введения в действие: 01.01.1986
Область и условия применения: Настоящий стандарт распространяется на стационарные колонны для сварочных полуавтоматов общего применения, предназначенные для установки и перемещения в зоне выполнения сварки подающего механизма сварочного полуавтомата и мотков сварочной проволоки
Список изменений: №1 от 01.01.1991 (рег. 12.02.1990) «Срок действия продлен»


ГОСТ 26408-85
ГОСТ 26408-85
ГОСТ 26408-85
ГОСТ 26408-85
Автор: 
Домашняя страница автора: 

ГОСТ 26717-85

E-mail автора: 

Удобрения органические. Метод определения общего фосфора

Обозначение: ГОСТ 26717-85
Статус: действующий
Название рус.: Удобрения органические. Метод определения общего фосфора
Название англ.: Organic fertilizers. Methods for determination of total phosphorus
Дата актуализации текста: 19.06.2012
Дата актуализации описания: 19.06.2012
Дата введения в действие: 01.01.1987
Область и условия применения: Настоящий стандарт распространяется на органические удобрения и устанавливает фотометрический метод определения массовой доли общего фосфора


ГОСТ 26717-85
ГОСТ 26717-85
ГОСТ 26717-85
ГОСТ 26717-85
ГОСТ 26717-85
ГОСТ 26717-85
Автор: 
Домашняя страница автора: 

ГОСТ 26676-85

E-mail автора: 

Подшипники роликовые упорные одинарные с игольчатыми роликами без колец. Технические условия

Обозначение: ГОСТ 26676-85
Статус: действующий
Название рус.: Подшипники роликовые упорные одинарные с игольчатыми роликами без колец. Технические условия
Название англ.: Roller thrust single derection needle bearings without rings. Specifications
Дата актуализации текста: 19.06.2012
Дата актуализации описания: 19.06.2012
Дата введения в действие: 01.01.1987
Область и условия применения: Настоящий стандарт распространяется на роликовые упорные одинарные подшипники с игольчатыми роликами без колец и устанавливает их основные размеры и технические требования


ГОСТ 26676-85
ГОСТ 26676-85
ГОСТ 26676-85
ГОСТ 26676-85
ГОСТ 26676-85
ГОСТ 26676-85
ГОСТ 26676-85
ГОСТ 26676-85
Автор: 
Домашняя страница автора: 

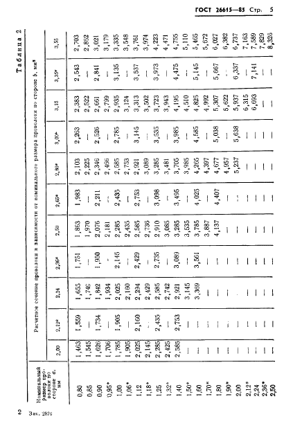
ГОСТ 26615-85

E-mail автора: 

Провода обмоточные с эмалевой изоляцией. Общие технические условия

Обозначение: ГОСТ 26615-85
Статус: действующий
Название рус.: Провода обмоточные с эмалевой изоляцией. Общие технические условия
Название англ.: Enamelled winding wires. Specifications
Дата актуализации текста: 19.06.2012
Дата актуализации описания: 19.06.2012
Дата введения в действие: 01.01.1988
Область и условия применения: Настоящий стандарт распространяется на обмоточные провода с эмалевой изоляцией, предназначенные для применения в электрических машинах, аппаратах и приборах
Список изменений: №0 от 01.10.1997 (рег. 16.07.1997) «Восстановлен на территории РФ»
№0 от 01.01.1994 (рег. 15.10.1992) «Поправка к изменению»


ГОСТ 26615-85
ГОСТ 26615-85
ГОСТ 26615-85
ГОСТ 26615-85
ГОСТ 26615-85
ГОСТ 26615-85
ГОСТ 26615-85
ГОСТ 26615-85
ГОСТ 26615-85
ГОСТ 26615-85
ГОСТ 26615-85
ГОСТ 26615-85
ГОСТ 26615-85
ГОСТ 26615-85
ГОСТ 26615-85
ГОСТ 26615-85
ГОСТ 26615-85
ГОСТ 26615-85
ГОСТ 26615-85
ГОСТ 26615-85
ГОСТ 26615-85
ГОСТ 26615-85
ГОСТ 26615-85
ГОСТ 26615-85
ГОСТ 26615-85
ГОСТ 26615-85
ГОСТ 26615-85
ГОСТ 26615-85
Автор: 
Домашняя страница автора: 

ГОСТ 26431-85

E-mail автора: 

Обувь спортивная. Метод определения прочности крепления втулки

Обозначение: ГОСТ 26431-85
Статус: действующий
Название рус.: Обувь спортивная. Метод определения прочности крепления втулки
Название англ.: Sport foot-wear. Method for determination of creepers bond strength
Дата актуализации текста: 19.06.2012
Дата актуализации описания: 19.06.2012
Дата введения в действие: 01.07.1986
Область и условия применения: Настоящий стандарт распространяется на спортивную обувь, конструкция которой предусматривает применение втулок с резьбовым отверстием для крепления сменных шипов и устанавливает метод прочности крепления втулки


ГОСТ 26431-85
ГОСТ 26431-85
ГОСТ 26431-85
ГОСТ 26431-85
ГОСТ 26431-85
ГОСТ 26431-85
ГОСТ 26431-85
Автор: 
Домашняя страница автора: 

ГОСТ 26544-85

E-mail автора: 

Средства защитные для древесины. Метод оценки коррозионной агрессивности

Обозначение: ГОСТ 26544-85
Статус: действующий
Название рус.: Средства защитные для древесины. Метод оценки коррозионной агрессивности
Название англ.: Wood protection means. Method of corrosive agressiveness evaluation
Дата актуализации текста: 19.06.2012
Дата актуализации описания: 19.06.2012
Дата введения в действие: 01.01.1986
Область и условия применения: Настоящий стандарт распространяется на растворимые в воде или органических растворителях средства для защиты древесины и устанавливает метод оценки их коррозионной агрессивности на образцах из нелигированной стали


ГОСТ 26544-85
ГОСТ 26544-85
ГОСТ 26544-85
ГОСТ 26544-85
Автор: 
Домашняя страница автора: 

ГОСТ 26515-85

E-mail автора: 

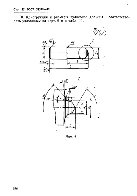
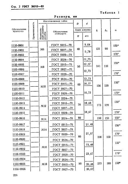
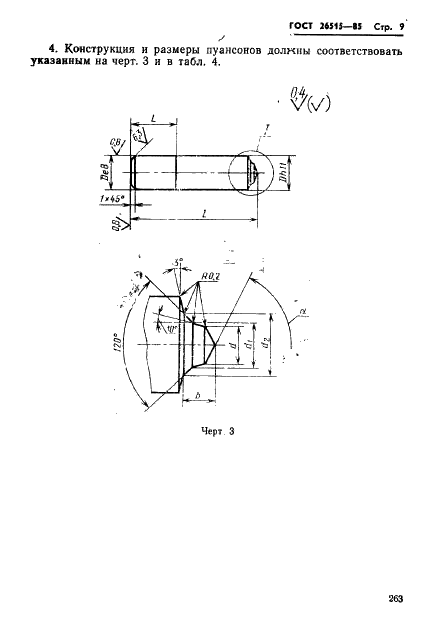
Инструмент для холодноштамповочных автоматов. Пуансоны четвертого перехода. Конструкция и размеры

Обозначение: ГОСТ 26515-85
Статус: действующий
Название рус.: Инструмент для холодноштамповочных автоматов. Пуансоны четвертого перехода. Конструкция и размеры
Название англ.: Tools for cold-forming machines. 4Th station punches. Construction and dimensions
Дата актуализации текста: 19.06.2012
Дата актуализации описания: 19.06.2012
Дата введения в действие: 01.07.1987
Область и условия применения: Настоящий стандарт распространяется на пуансоны четвертого перехода типа 1, 2 к автоматам АВ1818, АВ1819, АВ1820, АВ1821, АВ1822, АВ1823 для высадки заготовок гаек номинальным диаметром резьбы от 6 до 20 мм
Список изменений: №1 от 01.01.1991 (рег. 19.12.1989) «Срок действия продлен»


ГОСТ 26515-85
ГОСТ 26515-85
ГОСТ 26515-85
ГОСТ 26515-85
ГОСТ 26515-85
ГОСТ 26515-85
ГОСТ 26515-85
ГОСТ 26515-85
ГОСТ 26515-85
ГОСТ 26515-85
ГОСТ 26515-85
ГОСТ 26515-85
ГОСТ 26515-85
ГОСТ 26515-85
ГОСТ 26515-85
ГОСТ 26515-85
ГОСТ 26515-85
ГОСТ 26515-85
ГОСТ 26515-85
ГОСТ 26515-85
ГОСТ 26515-85
ГОСТ 26515-85
ГОСТ 26515-85
ГОСТ 26515-85
ГОСТ 26515-85
ГОСТ 26515-85
ГОСТ 26515-85
ГОСТ 26515-85
ГОСТ 26515-85
ГОСТ 26515-85
Автор: 
Домашняя страница автора: 

ГОСТ 26549-85

E-mail автора: 

Спирты высшие жирные. Метод определения числа омыления и эфирного числа

Обозначение: ГОСТ 26549-85
Статус: действующий
Название рус.: Спирты высшие жирные. Метод определения числа омыления и эфирного числа
Название англ.: Higher fatty alcohols. Method for the determination of saponification value and ester number
Дата актуализации текста: 19.06.2012
Дата актуализации описания: 19.06.2012
Дата введения в действие: 01.01.1986
Область и условия применения: Настоящий стандарт распространяется на высшие жирные спирты и устанавливает метод определения числа омыления и эфирного числа
Список изменений: №1 от 01.07.1994 (рег. 08.02.1994) «Срок действия продлен»


ГОСТ 26549-85
ГОСТ 26549-85
ГОСТ 26549-85
Автор: 
Домашняя страница автора: 

Страницы