Наша группа Вконтакте vk.com/4ertimcom

ГОСТ 25001-30000

ГОСТ 26800.2-86

E-mail автора: 

Мебель для административных помещений. Функциональные размеры кресел

Обозначение: ГОСТ 26800.2-86
Статус: действующий
Название рус.: Мебель для административных помещений. Функциональные размеры кресел
Название англ.: Office furniture. Functional dimensions of armchairs
Дата актуализации текста: 19.06.2012
Дата актуализации описания: 19.06.2012
Дата введения в действие: 01.01.1987
Область и условия применения: Настоящий стандарт распространяется на мебель для административных помещений и устанавливает функциональные размеры рабочих кресел
Список изменений: №1 от 01.01.1992 (рег. 06.09.1991) «Срок действия продлен»


ГОСТ 26800.2-86
ГОСТ 26800.2-86
Автор: 
Домашняя страница автора: 

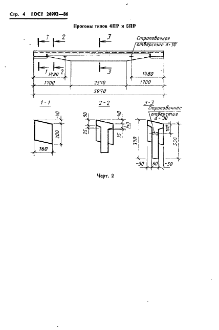
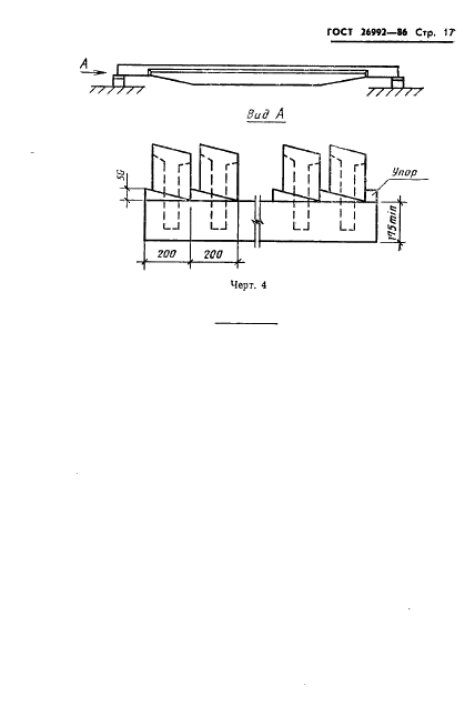
ГОСТ 26992-86

E-mail автора: 

Прогоны железобетонные для покрытий зданий промышленных и сельскохозяйственных предприятий. Технические условия

Обозначение: ГОСТ 26992-86
Статус: действующий
Название рус.: Прогоны железобетонные для покрытий зданий промышленных и сельскохозяйственных предприятий. Технические условия
Название англ.: Reinforced purlins for roofings in industrial and agricultural buildings. Specifications
Дата актуализации текста: 19.06.2012
Дата актуализации описания: 19.06.2012
Дата введения в действие: 01.01.1987
Область и условия применения: Настоящий стандарт распространяется на железобетонные прогоны таврового сечения длиной 6 м с переменной высотой стенки, изготовляемые из тяжелого бетона и предназначенные для применения в покрытиях зданий промышленных и сельскохозяйственных предприятий при уклоне кровли до 5 и до 25 % включительно


ГОСТ 26992-86
ГОСТ 26992-86
ГОСТ 26992-86
ГОСТ 26992-86
ГОСТ 26992-86
ГОСТ 26992-86
ГОСТ 26992-86
ГОСТ 26992-86
ГОСТ 26992-86
ГОСТ 26992-86
ГОСТ 26992-86
ГОСТ 26992-86
ГОСТ 26992-86
ГОСТ 26992-86
ГОСТ 26992-86
ГОСТ 26992-86
ГОСТ 26992-86
ГОСТ 26992-86
ГОСТ 26992-86
ГОСТ 26992-86
Автор: 
Домашняя страница автора: 

ГОСТ 26991-86

E-mail автора: 

Соединители оптические. Технические требования к технологическому процессу

Обозначение: ГОСТ 26991-86
Статус: действующий
Название рус.: Соединители оптические. Технические требования к технологическому процессу
Название англ.: Optical connectors. Requirements for technological process
Дата актуализации текста: 19.06.2012
Дата актуализации описания: 19.06.2012
Дата введения в действие: 01.07.1987
Область и условия применения: Настоящий стандарт распространяется на однополюсные оптические соединители типа “кабель-кабель“кварцевого многомодового оптического волокна с круглым поперечным сечением и устанавливает технические требования к технологическим процессам разделки оптического кабеля, монтажа кабельной части и сборки соединителя
Список изменений: №1 от 01.07.1992 (рег. 02.03.1992) «Срок действия продлен»


ГОСТ 26991-86
ГОСТ 26991-86
ГОСТ 26991-86
ГОСТ 26991-86
ГОСТ 26991-86
ГОСТ 26991-86
ГОСТ 26991-86
ГОСТ 26991-86
ГОСТ 26991-86
ГОСТ 26991-86
ГОСТ 26991-86
ГОСТ 26991-86
ГОСТ 26991-86
ГОСТ 26991-86
ГОСТ 26991-86
Автор: 
Домашняя страница автора: 

ГОСТ 27147-86

E-mail автора: 

Вирусвакцина против трансмиссивного гастроэнтерита свиней (ТГЭ) культуральная. Технические требования и методы испытаний

Обозначение: ГОСТ 27147-86
Статус: действующий
Название рус.: Вирусвакцина против трансмиссивного гастроэнтерита свиней (ТГЭ) культуральная. Технические требования и методы испытаний
Название англ.: Hog transmissible gastroenteritis (tge) viral vaccine cultivated. Technical requirements and test methods
Дата актуализации текста: 19.06.2012
Дата актуализации описания: 19.06.2012
Дата введения в действие: 01.01.1988
Область и условия применения: Настоящий стандарт распространяется на вирусвакцину против трансмиссивного гастроэнтерита свиней, изготовленную из авирулентного штамма вируса ТГЭ, выращенного в культуре клеток и подвергнутого сублимационному высушиванию, предназначенную для иммунизации супоросных свиноматок в пунктах, неблагополучных по ТГЭ


ГОСТ 27147-86
ГОСТ 27147-86
ГОСТ 27147-86
ГОСТ 27147-86
ГОСТ 27147-86
ГОСТ 27147-86
ГОСТ 27147-86
Автор: 
Домашняя страница автора: 

ГОСТ 27001-86

E-mail автора: 

Икра и пресервы из рыбы и морепродуктов. Методы определения консервантов

Обозначение: ГОСТ 27001-86
Статус: действующий
Название рус.: Икра и пресервы из рыбы и морепродуктов. Методы определения консервантов
Название англ.: Caviar and preserves from fish and sea products. Method for determination of preservatives
Дата актуализации текста: 19.06.2012
Дата актуализации описания: 19.06.2012
Дата введения в действие: 01.01.1988
Область и условия применения: Настоящий стандарт устанавливает методы определения консервантов: бензойнокислого натрия в пресервах из рыбы и морепродуктов, а также буры и борной кислоты в икре разных видов рыб
Взамен в части: ГОСТ 5431-50, кроме разд. 2 - 4
Список изменений: №1 от 01.10.1990 (рег. 19.03.1990) «Срок действия продлен»


ГОСТ 27001-86
ГОСТ 27001-86
ГОСТ 27001-86
ГОСТ 27001-86
ГОСТ 27001-86
ГОСТ 27001-86
ГОСТ 27001-86
Автор: 
Домашняя страница автора: 

ГОСТ 25645.131-86

E-mail автора: 

Излучение рентгеновское и гамма-излучение диффузные галактические. Характеристики углового и энергетического распределений

Обозначение: ГОСТ 25645.131-86
Статус: действующий
Название рус.: Излучение рентгеновское и гамма-излучение диффузные галактические. Характеристики углового и энергетического распределений
Название англ.: Galactic diffuse gamma and X-rays. Characteristics of angular and energy distributions
Дата актуализации текста: 19.06.2012
Дата актуализации описания: 19.06.2012
Дата введения в действие: 01.01.1987
Область и условия применения: Настоящий стандарт устанавливает исходные параметры и зависимости, характеризующие угловое и энергетическое распределения потока фотонов с энергиями от 20 кэВ до 200 МэВ диффузных галактических рентгеновского и гамма-излучений.
Стандарт предназначен для использования в расчетах потока фотонов, падающего на открытые (незатененные) поверхности элементов технических устройств в космическом пространстве


ГОСТ 25645.131-86
ГОСТ 25645.131-86
ГОСТ 25645.131-86
ГОСТ 25645.131-86
ГОСТ 25645.131-86
ГОСТ 25645.131-86
ГОСТ 25645.131-86
ГОСТ 25645.131-86
ГОСТ 25645.131-86
ГОСТ 25645.131-86
ГОСТ 25645.131-86
ГОСТ 25645.131-86
Автор: 
Домашняя страница автора: 

ГОСТ 26820-86

E-mail автора: 

Установки силовые вспомогательные пассажирских и транспортных самолетов. Допускаемые уровни шума, создаваемого на местности, и методы их определения

Обозначение: ГОСТ 26820-86
Статус: действующий
Название рус.: Установки силовые вспомогательные пассажирских и транспортных самолетов. Допускаемые уровни шума, создаваемого на местности, и методы их определения
Название англ.: Auxiliary power-plants of passenger and transport aircrafts. Acceptable noise levels made at the country and determination method
Дата актуализации текста: 19.06.2012
Дата актуализации описания: 19.06.2012
Дата введения в действие: 01.01.1987
Область и условия применения: Настоящий стандарт распространяется на вспомогательныесиловые установки (ВСУ) дозвуковых и сверхзвуковых пассажирских и транспортных самолетов, для которых заявка на сертификат летной годности прототипа подана после 6 октября 1977 г.
Стандарт устанавливает допустимые уровни шума, создаваемого ВСУ на местности в контрольных точках во время нормальной эксплуатации в наземных условиях, метод их определения, способы обработки и оформления полученных результатов


ГОСТ 26820-86
ГОСТ 26820-86
ГОСТ 26820-86
ГОСТ 26820-86
ГОСТ 26820-86
ГОСТ 26820-86
ГОСТ 26820-86
ГОСТ 26820-86
ГОСТ 26820-86
ГОСТ 26820-86
ГОСТ 26820-86
ГОСТ 26820-86
Автор: 
Домашняя страница автора: 

ГОСТ 26952-86

E-mail автора: 

Порошки огнетушащие. Общие технические требования и методы испытаний

Обозначение: ГОСТ 26952-86
Статус: утратил силу в РФ
Название рус.: Порошки огнетушащие. Общие технические требования и методы испытаний
Название англ.: Fire-extinguishing powders. General technical requirements and test methods
Дата актуализации текста: 19.06.2012
Дата актуализации описания: 19.06.2012
Дата введения в действие: 01.07.1988
Область и условия применения: Настоящий стандарт распространяется на огнетушащие порошки общего назначения и устанавливает требования к показателям технического уровня и качества и методы испытаний
Список изменений: №0 от 24.12.1986 (рег. 24.12.1986) «Утратил силу в РФ»
№0 от 01.05.2009 (рег. 18.02.2009) «Поправка к изменению»
№1 от 01.07.1991 (рег. 03.12.1990) «Срок действия продлен»


ГОСТ 26952-86
ГОСТ 26952-86
ГОСТ 26952-86
ГОСТ 26952-86
ГОСТ 26952-86
ГОСТ 26952-86
ГОСТ 26952-86
ГОСТ 26952-86
ГОСТ 26952-86
ГОСТ 26952-86
ГОСТ 26952-86
ГОСТ 26952-86
ГОСТ 26952-86
ГОСТ 26952-86
ГОСТ 26952-86
ГОСТ 26952-86
ГОСТ 26952-86
ГОСТ 26952-86
ГОСТ 26952-86
ГОСТ 26952-86
ГОСТ 26952-86
ГОСТ 26952-86
ГОСТ 26952-86
ГОСТ 26952-86
ГОСТ 26952-86
ГОСТ 26952-86
ГОСТ 26952-86
Автор: 
Домашняя страница автора: 

ГОСТ 27014-86

E-mail автора: 

Средства защитные для древесины. Метод определения проникаемости в древесину

Обозначение: ГОСТ 27014-86
Статус: действующий
Название рус.: Средства защитные для древесины. Метод определения проникаемости в древесину
Название англ.: Wood protectives. Method for determining wood permeability
Дата актуализации текста: 19.06.2012
Дата актуализации описания: 19.06.2012
Дата введения в действие: 01.01.1988
Область и условия применения: Настоящий стандарт распространяется на защитные средства для древесины и устанавливает метод определения проникаемости защитного средства в образец древесины при пропитке


ГОСТ 27014-86
ГОСТ 27014-86
ГОСТ 27014-86
ГОСТ 27014-86
ГОСТ 27014-86
Автор: 
Домашняя страница автора: 

ГОСТ 26896-86

E-mail автора: 

Радиокомпоненты электромеханические. Метод испытания прочности закрепления изолятора в корпусе в осевом направлении

Обозначение: ГОСТ 26896-86
Статус: действующий
Название рус.: Радиокомпоненты электромеханические. Метод испытания прочности закрепления изолятора в корпусе в осевом направлении
Название англ.: Radiocomponents electromechanical. Method of testing of strength of insulator fixing in housing axially
Дата актуализации текста: 19.06.2012
Дата актуализации описания: 19.06.2012
Дата введения в действие: 01.07.1987
Область и условия применения: Настоящий стандарт распространяется на сочленяемые электромеханические радиокомпоненты и устанавливает метод проверки прочности закрепления изолятора в корпусе соединителя в осевом направлении


ГОСТ 26896-86
ГОСТ 26896-86
ГОСТ 26896-86
ГОСТ 26896-86
Автор: 
Домашняя страница автора: 

Страницы