Наша группа Вконтакте vk.com/4ertimcom

ГОСТ 25001-30000

ГОСТ 26415-85

E-mail автора: 

Шнуры слаботочные. Общие технические условия

Обозначение: ГОСТ 26415-85
Статус: действующий
Название рус.: Шнуры слаботочные. Общие технические условия
Название англ.: Weak-current cords. General specifications
Дата актуализации текста: 19.06.2012
Дата актуализации описания: 19.06.2012
Дата введения в действие: 01.01.1987
Область и условия применения: Настоящий стандарт распространяется на слаботочные шнуры, предназначенные для соединения микротелефонов, телефонных гарнитур и стенных розеток с телефонными аппаратами и соединений в телефонных и телеграфных коммутаторах


ГОСТ 26415-85
ГОСТ 26415-85
ГОСТ 26415-85
ГОСТ 26415-85
ГОСТ 26415-85
ГОСТ 26415-85
ГОСТ 26415-85
ГОСТ 26415-85
ГОСТ 26415-85
ГОСТ 26415-85
ГОСТ 26415-85
ГОСТ 26415-85
ГОСТ 26415-85
ГОСТ 26415-85
ГОСТ 26415-85
Автор: 
Домашняя страница автора: 

ГОСТ 26555-85

E-mail автора: 

Резина. Методы определения технического углерода

Обозначение: ГОСТ 26555-85
Статус: действующий
Название рус.: Резина. Методы определения технического углерода
Название англ.: Rubber. Methods of carbon black content determination
Дата актуализации текста: 19.06.2012
Дата актуализации описания: 19.06.2012
Дата введения в действие: 01.01.1986
Область и условия применения: Настоящий стандарт устанавливает методы определения технического углерода в резиновых смесях, резинах, резиновых изделиях
Список изменений: №1 от 01.01.1991 (рег. 16.07.1990) «Срок действия продлен»


ГОСТ 26555-85
ГОСТ 26555-85
ГОСТ 26555-85
ГОСТ 26555-85
ГОСТ 26555-85
ГОСТ 26555-85
ГОСТ 26555-85
ГОСТ 26555-85
ГОСТ 26555-85
ГОСТ 26555-85
ГОСТ 26555-85
ГОСТ 26555-85
ГОСТ 26555-85
ГОСТ 26555-85
ГОСТ 26555-85
ГОСТ 26555-85
Автор: 
Домашняя страница автора: 

ГОСТ 26655-85

E-mail автора: 

Техническая диагностика. Диагностирование автомобилей, тракторов, строительных и дорожных машин. Датчики. Общие технические требования

Обозначение: ГОСТ 26655-85
Статус: действующий
Название рус.: Техническая диагностика. Диагностирование автомобилей, тракторов, строительных и дорожных машин. Датчики. Общие технические требования
Название англ.: Technical diagnostics. Diagnostics of motor vehicles, tractors, construstion and road machines. Pick-ups. General technical requirements
Дата актуализации текста: 19.06.2012
Дата актуализации описания: 19.06.2012
Дата введения в действие: 01.01.1987
Область и условия применения: Настоящий стандарт распространяется на вновь разрабатываемые и (или) модернизируемые датчики, применяемые для работы в составе средств технического диагностирования автомобилей, тракторов, строительных и дорожных машин и устанавливает классификацию датчиков и требования к ним


ГОСТ 26655-85
ГОСТ 26655-85
ГОСТ 26655-85
ГОСТ 26655-85
Автор: 
Домашняя страница автора: 

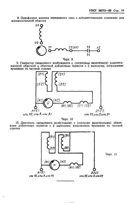
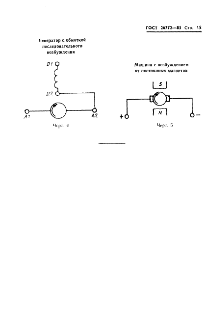
ГОСТ 26772-85

E-mail автора: 

Машины электрические вращающиеся. Обозначение выводов и направление вращения

Обозначение: ГОСТ 26772-85
Статус: действующий
Название рус.: Машины электрические вращающиеся. Обозначение выводов и направление вращения
Название англ.: Rotating electrical machines. Terminal markings and direction of rotation
Дата актуализации текста: 19.06.2012
Дата актуализации описания: 19.06.2012
Дата введения в действие: 01.01.1987
Область и условия применения: Настоящий стандарт распространяется на все виды электрических машин постоянного и переменного тока и устанавливает обозначение выводов их обмоток. Обозначения выводов буквами латинского алфавита распространяются только на вновь разрабатываемые машины. Обозначения выводов буквами русского алфавита распространяются только на ранее разработанные и модернизированные машины
Взамен в части: ГОСТ 183-74 в части пп. 5.1 - 5.9
Список изменений: №1 от 01.01.1989 (рег. 13.10.1988) «Срок действия продлен»


ГОСТ 26772-85
ГОСТ 26772-85
ГОСТ 26772-85
ГОСТ 26772-85
ГОСТ 26772-85
ГОСТ 26772-85
ГОСТ 26772-85
ГОСТ 26772-85
ГОСТ 26772-85
ГОСТ 26772-85
ГОСТ 26772-85
ГОСТ 26772-85
ГОСТ 26772-85
ГОСТ 26772-85
ГОСТ 26772-85
ГОСТ 26772-85
ГОСТ 26772-85
ГОСТ 26772-85
ГОСТ 26772-85
ГОСТ 26772-85
ГОСТ 26772-85
ГОСТ 26772-85
ГОСТ 26772-85
Автор: 
Домашняя страница автора: 

ГОСТ 26480-85

E-mail автора: 

Протяжки для квадратных отверстий со стороной от 25 до 41 мм. Конструкция и размеры

Обозначение: ГОСТ 26480-85
Статус: действующий
Название рус.: Протяжки для квадратных отверстий со стороной от 25 до 41 мм. Конструкция и размеры
Название англ.: Square broaches for holes with sides from 25 to 41 mm. Design and dimensions
Дата актуализации текста: 19.06.2012
Дата актуализации описания: 19.06.2012
Дата введения в действие: 01.07.1986
Область и условия применения: Настоящий стандарт распространяется на однопроходные протяжки универсального назначения, предназначенные для обработки квадратных отверстий со стороной от 25 до 41 мм
Взамен: МН 4936-63
Список изменений: №1 от 01.02.1988 (рег. 23.09.1987) «Срок действия продлен»


ГОСТ 26480-85
ГОСТ 26480-85
ГОСТ 26480-85
ГОСТ 26480-85
ГОСТ 26480-85
ГОСТ 26480-85
ГОСТ 26480-85
ГОСТ 26480-85
ГОСТ 26480-85
ГОСТ 26480-85
ГОСТ 26480-85
ГОСТ 26480-85
ГОСТ 26480-85
ГОСТ 26480-85
ГОСТ 26480-85
ГОСТ 26480-85
ГОСТ 26480-85
Автор: 
Домашняя страница автора: 

ГОСТ 26529-85

E-mail автора: 

Материалы порошковые. Метод испытания на радиальное сжатие

Обозначение: ГОСТ 26529-85
Статус: действующий
Название рус.: Материалы порошковые. Метод испытания на радиальное сжатие
Название англ.: Powder materials. Radial crushing test method
Дата актуализации текста: 19.06.2012
Дата актуализации описания: 19.06.2012
Дата введения в действие: 01.07.1986
Область и условия применения: Настоящий стандарт устанавливает метод определения предела прочности при радиальном сжатии образцов из порошковых материалов при температуре (20 град. Цельсия плюс пятнадцать град. Цельсия и минус десять град. Цельсия)


ГОСТ 26529-85
ГОСТ 26529-85
ГОСТ 26529-85
ГОСТ 26529-85
ГОСТ 26529-85
ГОСТ 26529-85
ГОСТ 26529-85
ГОСТ 26529-85
Автор: 
Домашняя страница автора: 

ГОСТ 26476-85

E-mail автора: 

Резцы токарные и резцы-вставки с механическим креплением режущих сменных многогранных пластин. Обозначения

Обозначение: ГОСТ 26476-85
Статус: действующий
Название рус.: Резцы токарные и резцы-вставки с механическим креплением режущих сменных многогранных пластин. Обозначения
Название англ.: Turning toolholders and catridges with mechanically clamped indexable inserts. Symbols
Дата актуализации текста: 19.06.2012
Дата актуализации описания: 19.06.2012
Дата введения в действие: 01.07.1986
Область и условия применения: Настоящий стандарт устанавливает условные обозначения токарных резцов и регулируемых резцов-вставок с механическим креплением сменных многогранных пластин


ГОСТ 26476-85
ГОСТ 26476-85
ГОСТ 26476-85
ГОСТ 26476-85
ГОСТ 26476-85
Автор: 
Домашняя страница автора: 

ГОСТ 26449.5-85

E-mail автора: 

Установки дистилляционные опреснительные стационарные. Методы химического анализа промывных растворов при очистке оборудования

Обозначение: ГОСТ 26449.5-85
Статус: действующий
Название рус.: Установки дистилляционные опреснительные стационарные. Методы химического анализа промывных растворов при очистке оборудования
Название англ.: Stationary distillation desalting units. Methods of washing solution chemical analysis at the equipment cleaning
Дата актуализации текста: 19.06.2012
Дата актуализации описания: 19.06.2012
Дата введения в действие: 01.01.1987
Область и условия применения: Настоящий стандарт устанавливает методы химического анализа промывных растворов на все контролируемые компоненты


ГОСТ 26449.5-85
ГОСТ 26449.5-85
ГОСТ 26449.5-85
ГОСТ 26449.5-85
ГОСТ 26449.5-85
ГОСТ 26449.5-85
ГОСТ 26449.5-85
Автор: 
Домашняя страница автора: 

ГОСТ 26797-85

E-mail автора: 

Защита оборудования проводной связи и обслуживающего персонала от влияния электромагнитных полей. Методы измерений

Обозначение: ГОСТ 26797-85
Статус: действующий
Название рус.: Защита оборудования проводной связи и обслуживающего персонала от влияния электромагнитных полей. Методы измерений
Название англ.: Protection of wire communication equipment and personnel from electromagnetic fields influence. Measurement methods
Дата актуализации текста: 19.06.2012
Дата актуализации описания: 19.06.2012
Дата введения в действие: 01.07.1986
Область и условия применения: Настоящий стандарт распространяется на защиту оборудования проводной связи и обслуживающего персонала от влияния электромагнитных полей


ГОСТ 26797-85
ГОСТ 26797-85
ГОСТ 26797-85
ГОСТ 26797-85
ГОСТ 26797-85
ГОСТ 26797-85
ГОСТ 26797-85
ГОСТ 26797-85
ГОСТ 26797-85
ГОСТ 26797-85
ГОСТ 26797-85
ГОСТ 26797-85
ГОСТ 26797-85
ГОСТ 26797-85
ГОСТ 26797-85
ГОСТ 26797-85
ГОСТ 26797-85
ГОСТ 26797-85
ГОСТ 26797-85
ГОСТ 26797-85
ГОСТ 26797-85
ГОСТ 26797-85
ГОСТ 26797-85
Автор: 
Домашняя страница автора: 

ГОСТ 26473.13-85

E-mail автора: 

Сплавы и лигатуры на основе ванадия. Метод спектрального анализа

Обозначение: ГОСТ 26473.13-85
Статус: действующий
Название рус.: Сплавы и лигатуры на основе ванадия. Метод спектрального анализа
Название англ.: Vanadium base alloys and alloying elements. Method of spectral analysis
Дата актуализации текста: 19.06.2012
Дата актуализации описания: 19.06.2012
Дата введения в действие: 01.07.1986
Область и условия применения: Настоящий стандарт распространяется на сплавы и лигатуры на основе ванадия и устанавливает атомно-абсорбционный метод определения компонентов
Список изменений: №1 от 01.01.1992 (рег. 14.05.1991) «Срок действия продлен»


ГОСТ 26473.13-85
ГОСТ 26473.13-85
ГОСТ 26473.13-85
ГОСТ 26473.13-85
ГОСТ 26473.13-85
ГОСТ 26473.13-85
ГОСТ 26473.13-85
ГОСТ 26473.13-85
ГОСТ 26473.13-85
ГОСТ 26473.13-85
ГОСТ 26473.13-85
ГОСТ 26473.13-85
ГОСТ 26473.13-85
ГОСТ 26473.13-85
ГОСТ 26473.13-85
ГОСТ 26473.13-85
Автор: 
Домашняя страница автора: 

Страницы