Наша группа Вконтакте vk.com/4ertimcom

ГОСТ 2001-3000

ГОСТ 2015-84

E-mail автора: 

Калибры гладкие нерегулируемые. Технические требования

Обозначение: ГОСТ 2015-84
Статус: действующий
Название рус.: Калибры гладкие нерегулируемые. Технические требования
Название англ.: Fixed plain gauges. Technical requirements
Дата актуализации текста: 19.06.2012
Дата актуализации описания: 19.06.2012
Дата введения в действие: 01.01.1985
Область и условия применения: Настоящий стандарт распространяется на предельные гладкие нерегулируемые калибры (далее калибры) для контроля отверстий диаметрами от 0,1 до 360 мм и валов диаметрами от 1 до 360 мм, с допусками по ГОСТ 25347 и системе ОСТ
Взамен: ГОСТ 2015-69
Список изменений: №1 от 01.09.1991 (рег. 20.02.1991) «Срок действия продлен»


ГОСТ 2015-84
ГОСТ 2015-84
ГОСТ 2015-84
ГОСТ 2015-84
Автор: 
Домашняя страница автора: 

ГОСТ 2016-86

E-mail автора: 

Калибры резьбовые. Технические условия

Обозначение: ГОСТ 2016-86
Статус: действующий
Название рус.: Калибры резьбовые. Технические условия
Название англ.: Thread gauges. Specifications
Дата актуализации текста: 19.06.2012
Дата актуализации описания: 19.06.2012
Дата введения в действие: 01.01.1987
Область и условия применения: Настоящий стандарт распространяется на резьбовые калибры для контроля наружных и внутренних цилиндрических резьб диаметром от 1 до 300 мм с допусками
Взамен: ГОСТ 2016-68
Список изменений: №1 от 01.01.1992 (рег. 23.05.1991) «Срок действия продлен»


ГОСТ 2016-86
ГОСТ 2016-86
ГОСТ 2016-86
ГОСТ 2016-86
ГОСТ 2016-86
ГОСТ 2016-86
Автор: 
Домашняя страница автора: 

ГОСТ 2604.2-86

E-mail автора: 

Чугун легированный. Методы определения серы

Обозначение: ГОСТ 2604.2-86
Статус: действующий
Название рус.: Чугун легированный. Методы определения серы
Название англ.: Alloy cast iron. Methods for determination of sulphur
Дата актуализации текста: 19.06.2012
Дата актуализации описания: 19.06.2012
Дата введения в действие: 01.01.1988
Область и условия применения: Настоящий стандарт устанавливает титриметрический и кулонометрический методы определения серы в легированных чугунах при массовой доле ее от 0,004 до 0,1%
Взамен: ГОСТ 2604.2-77


ГОСТ 2604.2-86
ГОСТ 2604.2-86
ГОСТ 2604.2-86
ГОСТ 2604.2-86
ГОСТ 2604.2-86
Автор: 
Домашняя страница автора: 

ГОСТ 2642.13-86

E-mail автора: 

Огнеупоры и огнеупорное сырье. Метод определения окиси бора

Обозначение: ГОСТ 2642.13-86
Статус: действующий
Название рус.: Огнеупоры и огнеупорное сырье. Метод определения окиси бора
Название англ.: Refractories and refractory raw materials. Method for the determination of boron oxide
Дата актуализации текста: 19.06.2012
Дата актуализации описания: 19.06.2012
Дата введения в действие: 01.07.1987
Область и условия применения: Настоящий стандарт распространяется на магнезиальные огнеупорные материалы и изделия и устанавливает фотометрический метод определения окиси бора при массовой доле от 0,01 до 0,4%
Список изменений: №1 от 01.07.1992 (рег. 07.02.1992) «Срок действия продлен»


ГОСТ 2642.13-86
ГОСТ 2642.13-86
ГОСТ 2642.13-86
ГОСТ 2642.13-86
ГОСТ 2642.13-86
ГОСТ 2642.13-86
Автор: 
Домашняя страница автора: 

ГОСТ 2642.2-86

E-mail автора: 

Материалы и изделия огнеупорные. Метод определения потери массы при прокаливании

Обозначение: ГОСТ 2642.2-86
Статус: действующий
Название рус.: Материалы и изделия огнеупорные. Метод определения потери массы при прокаливании
Название англ.: Refractories and refractory raw materials. Methods for the determination of mass change ignition
Дата актуализации текста: 19.06.2012
Дата актуализации описания: 19.06.2012
Дата введения в действие: 01.07.1987
Область и условия применения: Настоящий стандарт распространяется на огнеупорное сырье (глины, пески, кварциты, каолины и др.), огнеупорные материалы и изделия, огнеупорные массы, мертели, порошки и устанавливает гравиметрические методы определения потери массы при прокаливании (от 0,1 до 50%).
Настоящий стандарт не распространяется на огнеупорные материалы и изделия, содержащие бескислородные соединения кремния, например, карбид кремния
Взамен: ГОСТ 2642.2-81
Список изменений: №1 от 01.01.1991 (рег. 11.04.1990) «Срок действия продлен»
№2 от 01.07.1992 (рег. 07.02.1992) «Срок действия продлен»


ГОСТ 2642.2-86
ГОСТ 2642.2-86
ГОСТ 2642.2-86
ГОСТ 2642.2-86
ГОСТ 2642.2-86
ГОСТ 2642.2-86
ГОСТ 2642.2-86
ГОСТ 2642.2-86
Автор: 
Домашняя страница автора: 

ГОСТ 2200-86

E-mail автора: 

Соединения для водолазных рукавов. Технические требования

Обозначение: ГОСТ 2200-86
Статус: действующий
Название рус.: Соединения для водолазных рукавов. Технические требования
Название англ.: Diving hose connections. Technical requirements
Дата актуализации текста: 19.06.2012
Дата актуализации описания: 19.06.2012
Дата введения в действие: 01.01.1987
Область и условия применения: Настоящий стандарт распространяется на соединения, предназначенные для герметичного соединения водолазных рукавов между собой, а также для присоединения их к штуцерам воздухогазораспределительных водолазных щитов, к водолазному снаряжению и магистралям подачи горячей воды для обогрева водолазов
Взамен: ГОСТ 2200-79


ГОСТ 2200-86
ГОСТ 2200-86
ГОСТ 2200-86
Автор: 
Домашняя страница автора: 

ГОСТ 2124-87

E-mail автора: 

Кислота хлорсульфоновая техническая. Технические условия

Обозначение: ГОСТ 2124-87
Статус: действующий
Название рус.: Кислота хлорсульфоновая техническая. Технические условия
Название англ.: Chlorsulphonic acid for industrial use. Specifications
Дата актуализации текста: 19.06.2012
Дата актуализации описания: 19.06.2012
Дата введения в действие: 01.01.1988
Область и условия применения: Настоящий стандарт распространяется на техническую хлорсульфоновую кислоту, получаемую взаимодействием газообразных серного ангидрида и хлористого водорода. Кислоту марки А применяют в производстве химфармпрепаратов, органических красителей, синтетических моющих средств, поверхностно-активных веществ, модификаторов для химволокна и промежуточных продуктов. Марку Б используют в производстве химических средств защиты растений
Взамен: ГОСТ 2124-73


ГОСТ 2124-87
ГОСТ 2124-87
ГОСТ 2124-87
ГОСТ 2124-87
ГОСТ 2124-87
ГОСТ 2124-87
ГОСТ 2124-87
ГОСТ 2124-87
ГОСТ 2124-87
ГОСТ 2124-87
ГОСТ 2124-87
ГОСТ 2124-87
ГОСТ 2124-87
ГОСТ 2124-87
ГОСТ 2124-87
ГОСТ 2124-87
ГОСТ 2124-87
ГОСТ 2124-87
ГОСТ 2124-87
ГОСТ 2124-87
ГОСТ 2124-87
Автор: 
Домашняя страница автора: 

ГОСТ 2533-88

E-mail автора: 

Калибры для трубной цилиндрической резьбы. Допуски

Обозначение: ГОСТ 2533-88
Статус: действующий
Название рус.: Калибры для трубной цилиндрической резьбы. Допуски
Название англ.: Gauges for staight pipe thread. Tolerances
Дата актуализации текста: 19.06.2012
Дата актуализации описания: 19.06.2012
Дата введения в действие: 01.01.1989
Область и условия применения: Настоящий стандарт распространяется на резьбовые и гладкие калибры для контроля трубной цилиндрической резьбы по ГОСТ 6357-81 и устанавливает виды калибров, профиль резьбы, длину рабочей части, допуски и формулы для определения размеров резьбовых и гладких калибров
Взамен: ГОСТ 2533-79


ГОСТ 2533-88
ГОСТ 2533-88
ГОСТ 2533-88
ГОСТ 2533-88
ГОСТ 2533-88
ГОСТ 2533-88
ГОСТ 2533-88
ГОСТ 2533-88
ГОСТ 2533-88
ГОСТ 2533-88
ГОСТ 2533-88
ГОСТ 2533-88
Автор: 
Домашняя страница автора: 

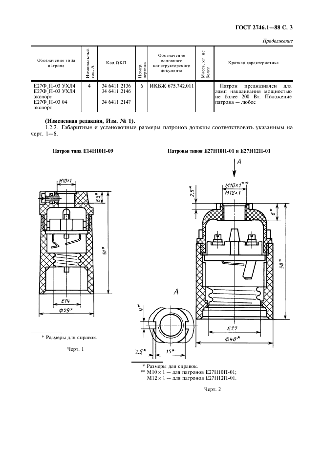
ГОСТ 2746.1-88

E-mail автора: 

Патроны резьбовые пластмассовые серии Е14 и Е27. Технические условия

Обозначение: ГОСТ 2746.1-88
Статус: действующий
Название рус.: Патроны резьбовые пластмассовые серии Е14 и Е27. Технические условия
Название англ.: Plastic Edison screw lampholders. Specifications
Дата актуализации текста: 19.06.2012
Дата актуализации описания: 19.06.2012
Дата введения в действие: 01.01.1990
Область и условия применения: Настоящий стандарт распространяется на резьбовые пластмассовые патроны серий Е14 и Е27, рассчитанные на работу в электрических сетях переменного тока с номинальным напряжением 220 В и номинальной частоты 50 или 60 Гц и предназначенные для установки в них электрических ламп с цоколем соответственно Е14 и Е27 , изготовляемые для нужд народного хозяйства и экспорта
Взамен: ГОСТ 2746.1-80 ГОСТ 2746.2-80 ГОСТ 2746.3-80 ГОСТ 2746.4-80
Список изменений: №1 от 01.12.1990 (рег. 30.05.1990) «Срок действия продлен»


ГОСТ 2746.1-88
ГОСТ 2746.1-88
ГОСТ 2746.1-88
ГОСТ 2746.1-88
ГОСТ 2746.1-88
ГОСТ 2746.1-88
ГОСТ 2746.1-88
ГОСТ 2746.1-88
ГОСТ 2746.1-88
ГОСТ 2746.1-88
ГОСТ 2746.1-88
Автор: 
Домашняя страница автора: 

ГОСТ 2591-88

E-mail автора: 

Прокат стальной горячекатаный квадратный. Сортамент

Обозначение: ГОСТ 2591-88
Статус: заменён
Название рус.: Прокат стальной горячекатаный квадратный. Сортамент
Название англ.: Square hot-rolled steel bars. Dimensions
Дата актуализации текста: 19.06.2012
Дата актуализации описания: 19.06.2012
Дата введения в действие: 01.01.1990
Область и условия применения: Настоящий стандарт распространяется на стальной горячекатаный прокат квадратного сечения с размером сторон от 6 до 200 мм включительно. Прокат размером более 200 мм изготовляют по согласованию изготовителя с потребителем
Взамен: ГОСТ 2591-71
Заменяющий: ГОСТ 2591-2006


ГОСТ 2591-88
ГОСТ 2591-88
ГОСТ 2591-88
ГОСТ 2591-88
Автор: 
Домашняя страница автора: 

Страницы